AccelSDP: A Reconfigurable Accelerator for Software Data Plane Based on FPGA SmartNIC
Abstract
:1. Introduction
- We introduce an FSNIC-based reconfigurable accelerator for software implementation of an SDN data plane. Several packet processing tasks can be offloaded to the reconfigurable accelerator, improving the data plane’s overall performance. The offloaded function units (OFUs) implemented in reconfigurable fabrics can be configured through an offered OFU API or even reprogrammed as new functions by users.
- The proposed accelerator is a general-purpose accelerator for software-implemented data planes running on a COTS server. It is easy to implement if replacing the original NIC with our accelerator because the accelerator has been developed based on the FSNIC, which is essentially an enhanced NIC with an FPGA.
- We implement our design with a use case for an Intel FSNIC. The use case involves performing a cached-rule table offloading function. A detailed workflow description and a full evaluation for this use case are given.
2. Background
2.1. Evaluating FSNIC as Accelerator
2.2. Intel N3000 Architecture
3. Motivation and Design Goals
3.1. Motivation
3.2. Design Goals
- Improve throughput and reduce latency significantly: Even if kernel bypass technology (such as DPDK) is used, the packet processing performance is still unsatisfactory when the throughput increases above 40 GbE. The bump-in-the-wire FSNIC can achieve 100 GbE or higher throughput with ultra-low latency, and this is the reason why we adopted it as the accelerator for the current software implementation SDN data plane.
- Maintain data plane programmability: Another main reason for using an FSNIC is to maintain the programmability and flexibility of the data plane as much as possible. ASICs can be lightly configured based on reserved registers, but they function poorly when the data plane is updated with new matching rules and instructions. For the FSNIC, only slight reconfiguration of the hardware logic of the FPGA is required to add new functions.
- Be easy to implement: Since the FSNIC is an enhanced NIC that has the same interfacing method as the traditional NIC, software implementation does not need to modify existing architecture.
- Save CPU cores: Achieving a high throughput of line-rate packet processing often exhausts system resources, including a large number of CPU cores and memory. Offloading some operation-intensive packet processing on FSNIC can prevent the burning out of more CPU cores.
4. System Design
4.1. Software Design
4.2. Hardware Design
4.3. Use Cases
4.3.1. Offloading LPM-Based Cached-Rule Table for IP Routing Acceleration
Parser and Deparser
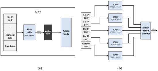
MAT Design
Configuration Logic
FIFOs
4.3.2. Offloading EM-Based Cached-Rule Table for Specific Flow Processing Acceleration
4.3.3. Other Use Cases
5. Implementation
5.1. Software
5.2. Hardware
6. Evaluation
6.1. Hardware Setup
6.2. Match Tables
6.3. Action Units
6.4. System Performance
6.5. Rule Table Configuration
7. Related Work
8. Conclusions
Author Contributions
Funding
Acknowledgments
Conflicts of Interest
References
- Pfaff, B.; Pettit, J.; Koponen, T.; Jackson, E.; Zhou, A.; Rajahalme, J.; Gross, J.; Wang, A.; Stringer, J.; Shelar, P. The design and implementation of open vswitch. In Proceedings of the 12th USENIX Symposium on Networked Systems Design and Implementation (NSDI 15), Oakland, CA, USA, 4–6 May 2015; pp. 117–130. [Google Scholar]
- Firestone, D. VFP: A Virtual Switch Platform for Host SDN in the Public Cloud. In Proceedings of the 14th USENIX Symposium on Networked Systems Design and Implementation (NSDI 17), Boston, MA, USA, 27–29 March 2017; pp. 315–328. [Google Scholar]
- Honda, M.; Huici, F.; Lettieri, G.; Rizzo, L. mSwitch: A highly-scalable, modular software switch. In Proceedings of the SOSR 2015: The Symposium on SDN Research (SOSR 15), Santa Clara, CA, USA, 17–18 June 2015; pp. 1–13. [Google Scholar]
- Molnár, L.; Pongrácz, G.; Enyedi, G.; Kis, Z.L.; Csikor, L.; Juhász, F.; Kőrösi, A.; Rétvári, G. Dataplane specialization for high-performance OpenFlow software switching. In Proceedings of the 2016 ACM SIGCOMM Conference, Florianopolis, Brazil, 22–26 August 2016; pp. 539–552. [Google Scholar]
- Shahbaz, M.; Choi, S.; Pfaff, B.; Kim, C.; Feamster, N.; McKeown, N.; Rexford, J. Pisces: A programmable, protocol-independent software switch. In Proceedings of the 2016 ACM SIGCOMM Conference, Florianopolis, Brazil, 22–26 August 2016; pp. 525–538. [Google Scholar]
- Bianchi, G.; Bonola, M.; Capone, A.; Cascone, C. Openstate: Programming platform-independent stateful openflow applications inside the switch. ACM SIGCOMM Comput. Commun. Rev. 2014, 44, 44–51. [Google Scholar] [CrossRef]
- Kohler, T.; Durr, F.; Rothermel, K. ZeroSDN: A Highly Flexible and Modular Architecture for Full-Range Distribution of Event-Based Network Control. IEEE Trans. Netw. Serv. Manag. 2018, 15, 1207–1221. [Google Scholar] [CrossRef]
- Pontarelli, S.; Bifulco, R.; Bonola, M.; Cascone, C.; Spaziani, M.; Bruschi, V.; Sanvito, D.; Siracusano, G.; Capone, A.; Honda, M.; et al. Flowblaze: Stateful packet processing in hardware. In Proceedings of the 16th USENIX Symposium on Networked Systems Design and Implementation (NSDI 19), Boston, MA, USA, 26–28 February 2019; pp. 531–548. [Google Scholar]
- Yang, J.; Yang, X.; Zhou, Z.; Wu, X.; Benson, T.; Hu, C. FOCUS: Function offloading from a controller to utilize switch power. In Proceedings of the 2016 IEEE Conference on Network Function Virtualization and Software Defined Networks (NFV-SDN), Palo Alto, CA, USA, 7–9 November 2016; pp. 199–205. [Google Scholar]
- Barefoot Tofino. Available online: https://www.intel.com/content/www/us/en/products/network-io/programmable-ethernet-switch/tofino-series/tofino.html (accessed on 13 July 2021).
- Ibanez, S.; Brebner, G.; McKeown, N.; Zilberman, N. The p4-> netfpga workflow for line-rate packet processing. In Proceedings of the 2019 ACM/SIGDA International Symposium on Field-Programmable Gate Arrays (FPGA 19), Seaside, CA, USA, 24–26 February 2019; pp. 1–9. [Google Scholar]
- Wang, H.; Soulé, R.; Dang, H.T.; Lee, K.S.; Shrivastav, V.; Foster, N.; Weatherspoon, H. P4fpga: A rapid prototyping framework for p4. In Proceedings of the SOSR 2017: The Symposium on SDN Research (SOSR 17), Santa Clara, CA, USA, 3–4 April 2017; pp. 122–135. [Google Scholar]
- Bosshart, P.; Daly, D.; Gibb, G.; Izzard, M.; McKeown, N.; Rexford, J.; Schlesinger, C.; Talayco, D.; Vahdat, A.; Varghese, G.; et al. P4: Programming protocol-independent packet processors. ACM SIGCOMM Comput. Commun. Rev. 2014, 44, 87–95. [Google Scholar] [CrossRef]
- Go, Y.; Jamshed, M.A.; Moon, Y.; Hwang, C.; Park, K. Apunet: Revitalizing GPU as packet processing accelerator. In Proceedings of the 14th USENIX Symposium on Networked Systems Design and Implementation (NSDI 17), Boston, MA, USA, 27–29 March 2017; pp. 83–96. [Google Scholar]
- Kalia, A.; Zhou, D.; Kaminsky, M.; Andersen, D.G. Raising the bar for using GPUs in software packet processing. In Proceedings of the 12th USENIX Symposium on Networked Systems Design and Implementation (NSDI 15), Oakland, CA, USA, 4–6 May 2015; pp. 409–423. [Google Scholar]
- Kaufmann, A.; Peter, S.; Sharma, N.K.; Anderson, T.; Krishnamurthy, A. High performance packet processing with flexnic. In Proceedings of the Twenty-First International Conference on Architectural Support for Programming Languages and Operating Systems (ASPLOS 16), Atlanta, GA, USA, 2–6 April 2016; pp. 67–81. [Google Scholar]
- Katta, N.; Alipourfard, O.; Rexford, J.; Walker, D. Cacheflow: Dependency-aware rule-caching for software-defined networks. In Proceedings of the SOSR 2016: The Symposium on SDN Research (SOSR 16), Santa Clara, CA, USA, 14–15 March 2016; pp. 1–12. [Google Scholar]
- Li, Y.; Miao, R.; Liu, H.H.; Zhuang, Y.; Feng, F.; Tang, L.; Cao, Z.; Zhang, M.; Kelly, F.; Alizadeh, M.; et al. HPCC: High precision congestion control. In Proceedings of the ACM Special Interest Group on Data Communication (SIGCOMM 19), Beijing, China, 19–23 August 2019; pp. 44–58. [Google Scholar]
- Huang, M.; Wu, D.; Yu, C.H.; Fang, Z.; Interlandi, M.; Condie, T.; Cong, J. Programming and runtime support to blaze FPGA accelerator deployment at datacenter scale. In Proceedings of the Seventh ACM Symposium on Cloud Computing (SoCC 16), Santa Clara, CA, USA, 5–7 October 2016; pp. 456–469. [Google Scholar]
- Byma, S.; Steffan, J.G.; Bannazadeh, H.; Garcia, A.L.; Chow, P. Fpgas in the cloud: Booting virtualized hardware accelerators with openstack. In Proceedings of the 2014 IEEE 22nd Annual International Symposium on Field-Programmable Custom Computing Machines (FCCM 14), Boston, MA, USA, 11–13 May 20214; pp. 109–116. [Google Scholar]
- Fahmy, S.A.; Vipin, K.; Shreejith, S. Virtualized FPGA accelerators for efficient cloud computing. In Proceedings of the 2015 IEEE 7th International Conference on Cloud Computing Technology and Science (CloudCom), Vancouver, BC, Canada, 30 November–3 December 2015; pp. 430–435. [Google Scholar]
- Putnam, A.; Caulfield, A.M.; Chung, E.S.; Chiou, D.; Constantinides, K.; Demme, J.; Esmaeilzadeh, H.; Fowers, J.; Gopal, G.P.; Gray, J.; et al. A reconfigurable fabric for accelerating large-scale datacenter services. In Proceedings of the 2014 ACM/IEEE 41st International Symposium on Computer Architecture (ISCA), Minneapolis, Minnesota, USA, 14–18 June 2014; pp. 13–24. [Google Scholar]
- NVIDIA Mellanox Innova-2 Flex Open Programmable SmartNIC. Available online: https://www.mellanox.com/files/doc-2020/pb-innova-2-flex.pdf (accessed on 13 July 2021).
- Intel FPGA Programmable Acceleration Card N3000. Available online: https://www.intel.com/content/dam/www/programmable/us/en/pdfs/literature/po/intel-fpga-programmable-acceleration-card-n3000-for-networking.pdf (accessed on 13 July 2021).
- Firestone, D.; Putnam, A.; Mundkur, S.; Chiou, D.; Dabagh, A.; Andrewartha, M.; Angepat, H.; Bhanu, V.; Caulfield, A.; Chung, E. Azure accelerated networking: Smartnics in the public cloud. In Proceedings of the 15th USENIX Symposium on Networked Systems Design and Implementation (NSDI 18), Rention, WA, USA, 9–11 April 2018; pp. 51–66. [Google Scholar]
- Eran, H.; Zeno, L.; Tork, M.; Malka, G.; Silberstein, M. NICA: An infrastructure for inline acceleration of network applications. In Proceedings of the 2019 USENIX Annual Technical Conference (USENIX ATC 19), San Diego, CA, USA, 10–12 July 2019; pp. 345–362. [Google Scholar]
- Marvell LiquidIO III. Available online: https://www.marvell.com/content/dam/marvell/en/public-collateral/embedded-processors/marvell-liquidio-III-solutions-brief.pdf (accessed on 13 July 2021).
- Netronome Agilio FX. Available online: https://www.netronome.com/media/documents/PB_Agilio-FX-7-20.pdf (accessed on 13 July 2021).
- Xilinx Alveo U25. Available online: https://www.xilinx.com/publications/product-briefs/alveo-u25-product-brief.pdf (accessed on 13 July 2021).
- Mellanox Bluefield SmartNIC. Available online: https://www.mellanox.com/related-docs/prod_adapter_cards/PB_BlueField_Smart_NIC.pdf (accessed on 13 July 2021).
- Viegas, B.P.; de Castro, A.G.; Lorenzon, A.; Rossi, F.; Luizelli, M.C. The Actual Cost of Programmable SmartNICs: Diving into the Existing Limits. In Proceedings of the 35th International Conference on Advanced Information Networking and Applications (AINA 2021), Toronto, ON, Canada, 12–14 May 2021; pp. 181–194. [Google Scholar]
- Gandhare, S.; Karthikeyan, B. Survey on FPGA Architecture and Recent Applications. In Proceedings of the 2019 International Conference on Vision Towards Emerging Trends in Communication and Networking (ViTECoN), Vellore, India, 30–31 March 2019; pp. 1–4. [Google Scholar]
- Zilberman, N.; Audzevich, Y.; Covington, G.A.; Moore, A.W. NetFPGA SUME: Toward 100 Gbps as research commodity. IEEE Micro. 2014, 34, 32–41. [Google Scholar] [CrossRef]
- Forencich, A.; Snoeren, A.C.; Porter, G.; Papen, G. Corundum: An open-source 100-Gbps NIC. In Proceedings of the 2020 IEEE 28th Annual International Symposium on Field-Programmable Custom Computing Machines (FCCM), Fayetteville, AR, USA, 3–5 May 2020; pp. 38–46. [Google Scholar]
- Michel, O.; Bifulco, R.; Rétvári, G.; Schmid, S. The Programmable Data Plane: Abstractions, Architectures, Algorithms, and Applications. ACM Comput. Surv. 2021, 54, 1–36. [Google Scholar] [CrossRef]
- Intel FPGA Programmable Acceleration Card N3000 Data Sheet. Available online: https://www.intel.com/content/dam/www/programmable/us/en/pdfs/literature/ds/ds-pac-n3000.pdf (accessed on 13 July 2021).
- Intel Ethernet Controller XL710-BM2. Available online: https://ark.intel.com/content/www/us/en/ark/products/93099/intel-ethernet-controller-xl710-bm2.html (accessed on 13 July 2021).
- Kaljic, E.; Maric, A.; Njemcevic, P.; Hadzialic, M. A Survey on Data Plane Flexibility and Programmability in Software-Defined Networking. IEEE Access 2019, 7, 47804–47840. [Google Scholar] [CrossRef]
- AXI DMA IP. Available online: https://www.xilinx.com/support/documentation/ip_documentation/axi_dma/v7_1/pg021_a-xi_dma.pdf (accessed on 13 July 2021).
- Intel Acceleration Stack for Intel Xeon CPU with FPGAs Core Cache Interface. Available online: https://www.intel.com/content/dam/www/programmable/us/en/pdfs/literature/manual/mnl-ias-ccip.pdf (accessed on 13 July 2021).
- Bosshart, P.; Gibb, G.; Kim, H.-S.; Varghese, G.; McKeown, N.; Izzard, M.; Mujica, F.; Horowitz, M. Forwarding metamorphosis: Fast programmable match-action processing in hardware for SDN. ACM SIGCOMM Comput. Commun. Rev. 2013, 43, 99–110. [Google Scholar] [CrossRef]
- Avalon Interface Specifications. Available online: https://www.intel.com/content/dam/www/programmable/us/en/pdfs/literature/manual/mnl_avalon_spec.pdf (accessed on 13 July 2021).
- Yang, J.; Li, T.; Yan, J.; Li, J.; Li, C.; Wang, B. PipeCache: High Hit Rate Rule-Caching Scheme Based on Multi-Stage Cache Tables. Electronics 2020, 9, 999. [Google Scholar] [CrossRef]
- Wang, Y.; Qi, Z.; Dai, H.; Wu, H.; Lei, K.; Liu, B. Statistical optimal hash-based longest prefix match. In Proceedings of the 2017 ACM/IEEE Symposium on Architectures for Networking and Communications Systems (ANCS), Beijing, China, 18–19 May 2017; pp. 153–164. [Google Scholar]
- Ray, S.S.; Singh, S.; Sengupta, C.; Ghosh, S.; Sardar, B. A Fine-grained Integrated IP Lookup Engine for Multigigabit IP Processing. In Proceedings of the 2018 IEEE International Conference on Advanced Networks and Telecommunications Systems (ANTS), Radisson Blu, Indore, India, 16–19 December 2018; pp. 1–6. [Google Scholar]
- Abdelhadi, A.M.; Lemieux, G.G.; Shannon, L. Modular block-RAM-based longest-prefix match ternary content-addressable memories. In Proceedings of the 2018 28th International Conference on Field Programmable Logic and Applications (FPL), Dublin, Ireland, 27–30 August 2018; pp. 243–2437. [Google Scholar]
- Open Programmable Acceleration Engine. Available online: https://opae.github.io/ (accessed on 13 July 2021).
- Altera Advanced Synthesis Cookbook. Available online: https://www.intel.com/content/dam/www/programmable/us/en/pdfs/literature/manual/stx_cookbook.pdf (accessed on 13 July 2021).
- Longest Prefix Match (LPM) Engine. Available online: https://www.axonerve.com/download/img/LPMIPv4.pdf (accessed on 13 July 2021).
- Ultra-Low-Latency Exact Match Search Engine. Available online: https://www.algo-logic.com/sites/default/files/Algo-Logic_ULL_EMSE_0.pdf (accessed on 13 July 2021).
- Hu, W.; Chen, J. Implement of OVS Based on DPDK Technology. J. Network New Media 2018, 7, 47–53. [Google Scholar]
- Hamadi, S.; Snaiki, I.; Cherkaoui, O. Fast path acceleration for open vSwitch in overlay networks. In Proceedings of the 2014 Global Information Infrastructure and Networking Symposium (GIIS), Montreal, QC, Canada, 1–7 July 2014; pp. 1–5. [Google Scholar]
- Yan, Y.; Wang, H. Open vSwitch Vxlan performance acceleration in cloud computing data center. In Proceedings of the 2016 5th International Conference on Computer Science and Network Technology (ICCSNT), Changchun, China, 10–11 December 2016; pp. 567–571. [Google Scholar]
- Ricart-Sanchez, R.; Malagon, P.; Salva-Garcia, P.; Perez, E.C.; Wang, Q.; Calero, J.M.A. Towards an FPGA-Accelerated programmable data path for edge-to-core communications in 5G networks. J. Netw. Comput. Appl. 2018, 124, 80–93. [Google Scholar] [CrossRef] [Green Version]
- Fu, W.; Li, T.; Sun, Z. FAS: Using FPGA to Accelerate and Secure SDN Software Switches. Secur. Commun. Netw. 2018, 2018, 1–13. [Google Scholar] [CrossRef] [Green Version]
- Li, J.; Sun, Z.; Yan, J.; Yang, X.; Jiang, Y.; Quan, W. DrawerPipe: A reconfigurable pipeline for network processing on FPGA-based SmartNIC. Electronics 2020, 9, 59. [Google Scholar] [CrossRef] [Green Version]

























| Action Type | Description | Required Operands |
|---|---|---|
| SUB | TTL decremental | Void |
| DROP | Drop the packet | Void |
| SFD | Set the specific field | {field name, value} |
| CAL | Calculate checksum | Void |
| INSERT | Insert a field | {field name, value} |
| DEL | Delete a field | field name |
| OUTP | Forward to a specific port | Port id |
| Function | Description |
|---|---|
| int ofu_init(uint16_t ofu_id) | Enable an OFU and initialize it |
| int rule_table_ops(uint16_t ofu_id, struct ofu_istr *istr) | Operation for rule table |
| int ofu_uninit(uint16_t ofu_id) | Disable an OFU |
| Module | Area (% of Total) | |||
|---|---|---|---|---|
| ALMs | BRAM | |||
| System | Eth Wrapper | 19.7% | 9.2% | |
| Vendor Shell | 3.7% | 0.6% | ||
| OFUs | IP Routing Acceleration | LPM Table | 3.9% | 5% |
| Others | 0.6% | 0.8% | ||
| Flow Processing Acceleration | EM Table | 6.9% | 17.7% | |
| Others | 0.6% | 0.9% | ||
| Entry ID | IP address | Mask |
|---|---|---|
| 0 | 34.34.0.0 | FFFF0000 |
| 1 | 17.17.17.17 | FFFFFFFF |
| 2 | 17.17.17.0 | FFFFFF00 |
| 3 | 34.34.34.34 | FFFFFFFF |
| Operation Type | Speed (Million Times/s) | |
|---|---|---|
| LPM Table | EM Table | |
| Populate | 0.78 | 0.71 |
| Delete | 0.78 | 0.78 |
| Update | 1.89 | 1.89 |
| Design | Hardware Device | Accelerated Function (s) | Flexibility | Implemented Throughput |
|---|---|---|---|---|
| [16] | ASIC | RMT-Based NFs | Low | 20 Gbps |
| [52] | Network Processing Unit (NPU) | Elephant Flow Detection and Offloading | Low | 20 Gbps |
| [53] | FPGA | VXLAN Process | High | 20 Gbps |
| [54] | FPGA | Data Path for Edge-to-Core Communications | High | 40 Gbps |
| [25] | FSNIC | VM-VM Communications in Data Center | High | 40 Gbps |
| [55] | SoC FPGA | Security Functions | High | 8 Gbps |
| [56] | SoC FPGA | Multiple NFs | High | 4 Gbps |
| Our Work | FSNIC | Multiple NFs | High | 100 Gbps |
Publisher’s Note: MDPI stays neutral with regard to jurisdictional claims in published maps and institutional affiliations. |
© 2021 by the authors. Licensee MDPI, Basel, Switzerland. This article is an open access article distributed under the terms and conditions of the Creative Commons Attribution (CC BY) license (https://creativecommons.org/licenses/by/4.0/).
Share and Cite
Huang, X.; Guo, Z.; Song, M.; Guo, Y. AccelSDP: A Reconfigurable Accelerator for Software Data Plane Based on FPGA SmartNIC. Electronics 2021, 10, 1927. https://doi.org/10.3390/electronics10161927
Huang X, Guo Z, Song M, Guo Y. AccelSDP: A Reconfigurable Accelerator for Software Data Plane Based on FPGA SmartNIC. Electronics. 2021; 10(16):1927. https://doi.org/10.3390/electronics10161927
Chicago/Turabian StyleHuang, Xiaoying, Zhichuan Guo, Mangu Song, and Yunfei Guo. 2021. "AccelSDP: A Reconfigurable Accelerator for Software Data Plane Based on FPGA SmartNIC" Electronics 10, no. 16: 1927. https://doi.org/10.3390/electronics10161927
APA StyleHuang, X., Guo, Z., Song, M., & Guo, Y. (2021). AccelSDP: A Reconfigurable Accelerator for Software Data Plane Based on FPGA SmartNIC. Electronics, 10(16), 1927. https://doi.org/10.3390/electronics10161927

