Next Article in Journal
Research on Value Co-Creation Evolution Mechanism of Cross-Border Cooperation in Intelligent Connected Vehicle Industry
Previous Article in Journal
Implications of Second-Order Cybernetics and Autopoiesis on Systems-of-Systems Engineering
 
 
Font Type:
Arial Georgia Verdana
Font Size:
Aa Aa Aa
Line Spacing:
Column Width:
Background:
Article

Digital Twin Integration for Workforce Training: Transforming SMEs in the Ornamental Stone Industry †

by
Carlos E. Cremonini
1,
Carlos Capela
1,2,
Agostinho da Silva
1,3,
Marcelo C. Gaspar
1,4 and
Joel C. Vasco
1,5,*
1
ESTG-IPLeiria—School of Technology and Management, Polytechnic Institute of Leiria, 2411-901 Leiria, Portugal
2
CEMMPRE—Centre for Mechanical Engineering, Materials and Processes, University of Coimbra, 3030-788 Coimbra, Portugal
3
CISE—Electromechatronic Systems Research Centre, University of Beira Interior, 6201-001 Covilhã, Portugal
4
ADAI-LAETA—Industrial Aerodynamics Development Association, Coimbra University, 3030-289 Coimbra, Portugal
5
IPC—Institute for Polymers and Composites, University of Minho, 4800-058 Guimarães, Portugal
*
Author to whom correspondence should be addressed.
This paper is an extended version of the paper published in Cremonini, C.; Vasco, J.; Capela, C.; da Silva, A.; Gaspar, M. Design and implementation of a digital twin for a stone-cutting machine: A case study. Procedia Comput. Sci. 2024, 232, 990–1000. https://doi.org/10.1016/j.procs.2024.01.098.
Systems 2025, 13(2), 120; https://doi.org/10.3390/systems13020120
Submission received: 13 December 2024 / Revised: 1 February 2025 / Accepted: 10 February 2025 / Published: 13 February 2025
(This article belongs to the Section Systems Practice in Social Science)

Abstract

Digital twin technology offers immersive and cost-effective solutions for workforce training, yet its practical implementation within SME training frameworks remains limited. This study develops and evaluates the Digital Twin Framework for Workforce Training (DT4WFT), addressing key challenges such as resource constraints and precision through tools like Siemens NX Mechatronic Concept Design (MCD) and StoneCUT@Line®. Employing a mixed-methods approach, qualitative insights from managers, and quantitative analysis demonstrated the framework’s potential to enhance operator performance, improve efficiency, and reduce lead times. However, the validation was based solely on managerial perceptions, as the framework has not yet been implemented in real-world settings. Statistical analysis confirmed strong correlations between the framework’s perceived implementation and improved training outcomes, highlighting its scalability and adaptability. Future research should focus on practical implementation, cross-industry applications, and longitudinal studies to evaluate sustained impacts, ensuring the DT4WFT framework’s broader relevance and effectiveness in workforce development.

1. Introduction

Adopting advanced manufacturing technologies has revolutionized production processes, significantly enhancing productivity and competitiveness in global markets [1]. As manufacturing systems evolve toward greater automation, digitalization, and intelligence, the digital twin concept has emerged as a key enabler of intelligent manufacturing. [2]. A digital twin is a high-fidelity virtual representation of a physical system that synchronizes in real-time, reflecting its physical counterpart’s behaviour, condition, and interactions. This capability allows for detailed simulations, predictive analytics, and operational optimization, enabling seamless integration between the physical and digital domains [3].
By leveraging digital twins, manufacturers can reduce design and maintenance costs, improve efficiency, and enhance product quality [4]. These features make digital twins essential tools for optimizing production, diagnosing faults, and supporting advanced maintenance strategies. However, transitioning to such sophisticated systems brings challenges, especially for small and medium enterprises (SMEs), which often face financial constraints, limited resources, and a lack of the specialized expertise required to operate and maintain advanced digital systems [5]. Addressing these challenges requires robust, agile, and scalable workforce training solutions tailored to the specific needs of SMEs undergoing digital transformation.

1.1. Research Gap and Motivation

Traditional workforce training methods rely heavily on direct, hands-on engagement with machinery under supervision [6]. While effective in ensuring technical proficiency, these approaches are resource-intensive, inflexible, and difficult to scale. They require physical access to equipment and consume significant time and resources, making them increasingly impractical in modern industrial contexts where cost optimization and environmental sustainability are paramount [7].
Digital twin technology presents a transformative solution by enabling the creation of immersive virtual environments that replicate real-world systems [8]. These environments provide operators with dynamic, context-rich training experiences, allowing them to acquire and refine critical skills without direct interaction with physical assets [3]. While digital twins have demonstrated substantial potential in manufacturing and production, research primarily focuses on generalized frameworks or safety-oriented applications, leaving critical gaps in the literature.
Specifically, the following challenges remain underexplored: (1) there is limited research on how digital twins can address workforce training challenges specific to SMEs, which face financial and technological barriers to adopting advanced solutions [9]; (2) existing studies rarely examine domain-specific applications of digital twins for industries that require specialized tools, workflows, and skills [10]; and (3) the potential for digital twins to create accessible, scalable, and cost-effective workforce training solutions remains mostly untapped, particularly for SMEs in industries undergoing rapid digital transformation [8].
This research addresses these gaps by focusing on the ornamental stone industry, an important sector of the Portuguese economy [11]. This sector faces unique challenges, including high precision requirements, limited budgets, and the need for rapid workforce adaptation to operate advanced systems like the StoneCUT@Line®.

1.2. Research Objective and Methodology

This study seeks to bridge the gap in digital twin applications for workforce training by designing and validating the Digital Twin Framework for Workforce Training (DT4WFT). This framework is specifically tailored to the unique needs of SMEs in the ornamental stone industry, providing scalable, cost-effective, and immersive solutions for skill development and operational improvement. The Design Science Research (DSR) methodology underpins the framework’s development and evaluation, offering a structured, iterative approach to creating artefacts that balance theoretical rigour and practical application [12].
The research is guided by two primary questions: (1) how does the DT4WFT framework enhance the agility of operator training and enable operators to utilize advanced machinery better, and (2) what is the impact of the Digital Twin training module across five critical dimensions of business performance?
To answer these questions, the framework is evaluated in Portuguese SMEs within the ornamental stone industry. Anchored in ornamental stone challenges [13], the study explores improvements in (1) operator performance (gains in skills, accuracy, and productivity); (2) lead time (reductions in training duration and optimization of processes); (3) efficiency (better resource utilization and streamlined workflows); (4) customer satisfaction (indirect benefits from improved workforce capabilities); and (5) innovation (enhanced capacity for creativity and the development of novel solutions).
The evaluation of the DT4WFT employs a mixed-methods approach to ensure a comprehensive assessment of its general design and its specific implementation [14] within the ornamental stone industry. Quantitative data is captured through surveys evaluating five critical dimensions of business performance: operator performance, lead time, efficiency, customer satisfaction, and innovation. Complementing this, qualitative insights from SME managers provide a deeper understanding of the framework’s relevance, usability, and alignment with industry needs. Combining these methods, the study evaluates the DT4WFT framework, emphasizing its adaptability and scalability across diverse industrial contexts.
This research addresses key gaps in workforce training by leveraging digital twin technology to develop innovative, accessible, and cost-effective training solutions tailored to the needs of SMEs. It contributes to advancing the capabilities of SMEs in navigating the challenges of digital transformation and offers a replicable model for workforce training innovation across industries.

2. Literature Review

Integrating humans and machines introduces a transformative dimension to workforce training, requiring a multidisciplinary approach that combines technical expertise with competencies in artificial intelligence, data analysis, and ergonomics [5]. This synergy is particularly significant in industries such as ornamental stone processing, where operations demand high precision, technical knowledge, and continuous skill enhancement to sustain efficiency and innovation. As advanced technologies reshape industrial practices, the need for updated technical expertise and comprehensive training programs becomes increasingly critical [15].
In the ornamental stone industry, workforce training must address the complexities of assembly, machining, and data management while preparing workers to adopt emerging technologies like digital twins. However, disparities in training quality and accessibility remain a significant challenge. Some institutions leverage cutting-edge technologies, while others face resource limitations that hinder their ability to prepare their workforce for global markets [9]. This disparity underscores the urgent need for innovative, scalable, and universally accessible training solutions to bridge these gaps.
Digital twins have emerged as a cornerstone of Industry 4.0, offering powerful capabilities in simulation, analysis, and process optimization [16]. A digital twin is a virtual representation of a physical system that enables safe experimentation, scenario testing, and learning through simulated operations. This technology has proven effective in managing complex processes, such as robotic milling and machining, where precision and adaptability are crucial [17]. Digital twins also allow trainees to engage with complex systems, test solutions, and learn from mistakes without risking physical equipment, significantly reducing costs and accelerating learning while ensuring alignment with industrial practices [18].
The research underscores the effectiveness of digital twins in fostering immersive and interactive learning experiences. For example, Erdei et al. (2022) developed a digital twin-based training centre for industrial robotic arms, replicating movements like Point-To-Point (PTP), Linear (LIN), and Circular (CIRC) [19]. Their system allowed users to program movements, interact with the virtual robot, and receive immediate feedback, emphasizing the importance of accurately recreating industrial complexities. Similarly, Zhu et al. (2023) extended this concept to milling robots, incorporating real-time visualization and monitoring to address challenges such as cutting speeds and path strategies. Their system enabled operators to analyse processes, identify deviations, and improve precision and training effectiveness [17].
Despite these advancements, gaps remain in the research on applying digital twins for workforce training, particularly for SMEs. Existing research predominantly focuses on high-tech industries or generalized frameworks, neglecting SMEs’ specific challenges, such as limited resources and the complexity of specialized operations. Furthermore, current studies have yet to explore how digital twin frameworks can be improved to create scalable, cost-effective solutions for industries transitioning from traditional to digital operations [10].
Building on these insights, the following section outlines the methodology employed in designing, evaluating, and validating the DT4WFT framework. This includes a detailed discussion of the DSR methodology and the mixed-methods validation process that forms the foundation of this study.

3. Methodology

This study employs the DSR methodology to develop and evaluate the DT4WFT. DSR provides a structured, iterative approach focused on creating and refining artefacts (frameworks, systems, or tools) that address real-world challenges while maintaining scientific rigour and practical relevance [12]. It is particularly suited to addressing the workforce training challenges faced by SMEs, such as limited resources, high training costs, and the need for operational precision.

3.1. Overview of DSR

The DSR methodology involves a series of interconnected stages, including (1) problem identification and motivation (practical challenges to be addressed and their significance); (2) requirements for a solution (establishing goals for the artefact to address the identified challenges); (3) design and development (creating the artefact using theoretical and practical knowledge); and (4) demonstration and evaluation (applying the artefact in a relevant context to demonstrate its utility and assessing its effectiveness in solving the problem) [20].
Following these principles, the DT4WFT framework is conceptualized, developed, and evaluated. The process begins with the general design of the framework, emphasizing adaptability and scalability for workforce training across industries. This general framework is then tailored to meet the specific needs of the ornamental stone industry, serving as a concrete demonstration of its application.

3.2. Requirements for DT4WFT

The DT4WFT framework leverages digital twin technology to provide scalable, cost-effective, and immersive training solutions. It is designed to address workforce training challenges across diverse industries by incorporating the following key features: (1) virtual simulations—realistic training environments replicate critical operational tasks, enabling trainees to interact with machinery and processes without disrupting real-world operations; (2) modularity and adaptability—the framework can be customized for various industrial contexts and technologies; (3) real-time feedback and diagnostics—dynamic learning is facilitated by reducing trial-and-error inefficiencies; and (4) integration with mechatronic principles—precise modelling of machinery dynamics ensures high-fidelity simulations.
This general framework bridges the gap between theoretical advancements in digital twin technology and practical applications, establishing a foundation for implementing digital twin-based training solutions across multiple sectors.

3.3. Designing DT4WFT for the Ornamental Stone Industry

The DT4WFT framework is designed to meet the specific needs of the Portuguese ornamental stone industry. It uses the StoneCUT@Line® system as a demonstration platform. Preliminary studies supported the development of an exploratory setup to test the reliability of a remotely connected digital twin [2]. This system integrates advanced mechatronics and virtual simulations, providing an ideal environment for validating the framework’s relevance and effectiveness.
Key improvements include the following: (1) industry-specific simulations: the framework replicates critical tasks such as stone cutting, polishing, and product customization, aligning with the industry’s workflows; (2) technological integration: synchronizing virtual and physical systems using the StoneCUT@Line® as a real-world platform; (3) operational focus: addressing SME-specific challenges, such as high precision requirements, limited budgets, and the need for rapid operator training; and (4) security and confidentiality: embedding robust security measures to ensure reliability and protect proprietary data.
These adaptations ensure that the DT4WFT framework meets the unique demands of the ornamental stone industry while maintaining its modular and scalable design.

3.4. Evaluation Methodology

The evaluation process follows DSR principles, combining quantitative and qualitative methods to assess the framework’s general applicability and its specific implementation within the ornamental stone industry [14].
The validation involves (1) a quantitative survey for assessing the framework’s impact across five critical dimensions (operator performance, lead time, efficiency, customer satisfaction, and innovation) and (2) qualitative input for capturing insights from SME managers to assess the framework’s relevance, usability, and alignment with industry needs.
Statistical techniques, such as regression analysis, ensure a robust evaluation of the framework’s effectiveness. Additionally, mapping its general components to the specific requirements of the ornamental stone industry highlights the DT4WFT framework’s adaptability [2].
This methodology strikes a balance between generality and specificity. The DT4WFT framework is a replicable model for digital twin-based workforce training, applicable across a wide range of industries. At the same time, its application to the ornamental stone industry demonstrates its practicality and relevance, showcasing how digital twin technology can address real-world challenges. This dual approach provides both a scalable solution and a roadmap for adaptation to other sectors.
The following section designs and structures the DT4WFT framework, providing insights into its innovative approach to workforce training and its potential to transform SME operations.

4. Requirements for a Solution of a Digital Twin Framework for Workforce Training (DT4WFT)

A digital twin’s effectiveness lies in its virtual model’s accuracy [21]. Any misalignment between the digital twin and its physical counterpart can lead to suboptimal decisions or operational inefficiencies [2]. Achieving high fidelity requires meticulous mapping of every component, movement, and interaction within the physical system, ensuring a precise and dynamic representation in the virtual environment [8].
Among SMEs’ advanced technologies in the ornamental stone industry, Cut-To-Size Smart Lines (CtSSL) exemplify state-of-the-art innovation. These systems are engineered to produce customized stone components for high-precision construction applications, setting a benchmark for operational excellence and technological sophistication in the sector.
Integrating digital twin technology with CtSSL systems creates a Cyber-Physical System (CPS) that bridges the physical and virtual realms. This integration allows operators to monitor, simulate, and optimize machine performance in real-time, either locally or remotely [3]. Such a feedback-driven system promotes continuous precision, efficiency, and adaptability improvement, representing a transformative leap for the ornamental stone industry [22].
CtSSL systems are characterized by a gantry line with three linear axes (X, Y, Z) and two rotational axes (B, C), making them ideal for high-precision cutting and shaping of ornamental stones. Key components include the following:
  • Cutting Tool: Equipped with a rotating cutting disc capable of tilting up to 45 degrees on the B-axis, enabling angled and precision cuts for intricate designs.
  • Cutting Head Module: Provides 360-degree rotation on the C-axis, facilitating multi-directional cuts and improving processing efficiency.
  • Z-Axis Module: Ensures vertical motion for precise depth cuts tailored to specific design requirements.
  • X-Axis Module: This module supports horizontal motion for longitudinal and transverse cuts, complemented by Y-axis movement to ensure complete surface coverage.
  • Feed System: Automated systems stabilize and move stone slabs during cutting, reducing errors and ensuring high precision.
These components work harmoniously to transform raw stone slabs into precisely shaped parts. Integrating CtSSLs with their digital twins enables advanced simulation, real-time monitoring, and predictive optimization. This seamless coordination underscores the transformative potential of digital twin technology, mainly when applied to traditional industries like ornamental stone manufacturing.
In this context, advanced workforce training must integrate methodologies, technologies, and operational practices to ensure effectiveness and safety. SMEs like ornamental stone manufacturers demand training programs beyond knowledge transfer to focus on adapting to advanced technologies and optimizing existing processes [23]. Effective training programs are critical, especially given the stakes in maintaining precision and efficiency [19].
A robust training program relies on key building blocks, including technical content, training tools, and procedural workflows. Figure 1 outlines the fundamental assumptions necessary for constructing a successful training session.
The virtual training cockpit is central to this ecosystem, incorporating the digital twin of the CtSSL equipment into a controlled virtual environment. This allows trainees to engage with simulated scenarios and gain hands-on experience without the risks associated with live operations. Key stakeholders play vital roles: (1) industrial training centres or schools, providing physical facilities connected to the real-world equipment used in ornamental stone companies; and (3) equipment suppliers, offering updated 3D models and physics-based simulations that form the foundation of the digital twin, along with physical equipment that mirrors the digital twin, ensuring consistency between virtual and physical environments.
Figure 2 illustrates how resources and information flow from equipment suppliers to the training cockpit, enabling seamless transitions between virtual and physical environments and maximizing training effectiveness.
Stakeholder collaboration ensures that digital twins remain aligned with real-world changes. Equipment suppliers continuously update 3D models and simulations based on technological advancements, while training centres integrate these updates into their curricula. This alignment enhances training quality and ensures that workforce skills match industrial demands. Research highlights the importance of stakeholder collaboration in digital twin environments. Schneider et al. (2021) emphasize the value of realistic training scenarios enabled by 3D simulations [24], while Stavropoulos and Papacharalampopoulos (2022) underscore the role of equipment suppliers in bridging virtual and physical environments [10]. Alexopoulos et al. (2020) also demonstrate how integrating machine learning insights into digital twin environments creates adaptive and efficient training ecosystems [25].
By integrating digital twin technology into workforce training, SMEs in the ornamental stone industry can overcome traditional barriers, including geographic constraints, high training costs, and limited access to advanced equipment. This innovative approach enhances workforce skill sets, modernizes training practices, and positions SMEs for success in a technologically advanced industrial landscape.
The Siemens NX Mechatronic Concept Design (MCD) software exemplifies cutting-edge technology that integrates mechanics, electronics, and computer science to develop efficient and adaptable systems [26]. This integration is critical for optimizing processes and enhancing the operational efficiency of advanced machinery like CtSSLs [27]. Digital twins, inherently embodying cyber-physical systems, enable dynamic interaction, simulation, and optimization of industrial processes [26]. Siemens NX MCD provides several features for virtual modelling, including the following:
  • Rigid Body Definition: Models mobile components with high accuracy in the virtual environment.
  • Collision Body Definition: Ensures spatial constraints are respected, mitigating proximity risks.
  • Virtual Commissioning: This technology supports testing and debugging control code on virtual prototypes, minimizing the risks and costs associated with physical commissioning.
  • Real-Time Data Integration: Dynamically adjusts virtual models to reflect changing operating conditions, which is particularly valuable for machinery like CtSSLs with complex moving components.
The complexity of CtSSL systems makes them ideal candidates for Siemens NX MCD, which supports testing configurations, debugging control logic, and visualizing motion dynamics for precise operations. Figure 3 illustrates the physics of CtSSL systems as defined in Siemens NX MCD.
By leveraging these advanced mechatronic design concepts, Siemens NX MCD enhances the precision, efficiency, and reliability of CtSSL digital twins. This integration optimizes current machinery and lays the foundation for future technological advancements in the ornamental stone industry.

4.1. Ensuring Confidentiality and Reliability

The success of digital twin-based training depends on three interconnected pillars: technological infrastructure, pedagogical design, and security and reliability [19]. Technological infrastructure ensures that robust digital twin systems can accurately simulate real-world scenarios, providing real-time feedback and seamless integration with manufacturing processes [24]. Pedagogical design tailors training modules to meet trainees’ cognitive and skill-level needs, ensuring clarity, engagement, and skill transferability. Security and reliability provide the foundation for uninterrupted and trusted access to training systems, addressing critical concerns in operational and data integrity [9].
Digital twin technologies are versatile tools for creating dynamic and interactive training environments. For instance, Schneider et al. (2021) demonstrated their effectiveness in simulating wafer transportation systems, where immersive interactions significantly enhanced trainee understanding [24]. Similarly, Stavropoulos and Papacharalampopoulos (2022) emphasized the role of precise simulations in micromanufacturing training, enabling trainees to experiment with complex systems without risking physical errors or damages [10]. These applications highlight the value of virtual environments, where trainees can gain hands-on experience, test hazardous scenarios, and benefit from interactive learning.
Virtual Reality (VR) and Augmented Reality (AR) complement digital twins by bridging theoretical knowledge and practical applications. Kaarlela et al. (2020) explored VR’s role in safety training, demonstrating how immersive simulations enhance situational awareness and decision-making [9]. These technologies integrate seamlessly with digital twins, providing opportunities for interactive troubleshooting, safety protocol simulations, and enhanced visualization of intricate systems. Erdei et al. (2022) further highlight the potential of such integration to foster meaningful learning experiences [19].
Integrating supervised machine learning with digital twins enables the creation of adaptive training systems. As Alexopoulos et al. (2020) discuss, these systems dynamically adjust training content based on trainee progress, offering personalized learning paths [25]. This approach ensures real-time performance assessment, identifies skill gaps, and provides tailored interventions, improving training efficiency and outcomes.
Remote access to digital twin systems introduces challenges related to confidentiality and reliability. Confidentiality safeguards sensitive information, while reliability ensures seamless and accurate system operation. Measures to protect confidentiality include encryption protocols, which secure data during transmission, and authentication mechanisms, which restrict access to authorized users [28]. Reliability is achieved through strategies such as maintaining uninterrupted data transmission, ensuring smooth operation of simulation models, and preventing errors in motion control systems [29].
Balancing confidentiality and reliability is critical. While encryption enhances security, it can slow communication speeds. For example, VPNs provide secure connections but may introduce delays due to encryption processes, while IIoT devices offer faster communication but require robust cybersecurity measures to prevent vulnerabilities [30]. These trade-offs underscore the need for tailored security solutions that align with operational requirements.
Confidentiality and reliability are paramount in digital twin systems like the CtSSLs due to real-time data exchanges for performance monitoring, predictive maintenance, and virtual simulations. Data security breaches could compromise the training process and the system’s operational integrity [19]. Similarly, unreliable connections could disrupt motion simulations, leading to errors and operational inefficiencies in virtual and physical systems [8].
Effective training programs built on digital twins must address these concerns holistically. Encryption safeguards sensitive data, while authentication mechanisms and robust firewalls ensure secure access. Simultaneously, strategies to enhance reliability—such as redundant connections and real-time data optimization—maintain seamless operations. The integration of VR, AI, and adaptive learning further ensures a comprehensive approach that meets the training needs of SMEs in the ornamental stone industry.
Integrating confidentiality and reliability principles into digital twin systems, like CtSSLs, showcases the transformative potential of these technologies in aligning workforce training with industry requirements. These considerations set the stage for describing the DT4WFT, which builds on these foundations to offer SMEs a scalable and adaptable solution.
The foundations of confidentiality, reliability, and interactive learning provide DT4WFT’s backbone. The following subsection delves into this framework’s design principles and structural components, demonstrating how it addresses industry-specific challenges and transforms workforce training practices.

4.2. Describing the Digital Twin Framework for Workforce Training Framework (DT4WFT)

DT4WFT addresses a critical research gap in applying digital twin technologies to workforce training in SMEs, particularly in traditional sectors like the ornamental stone industry. While digital twins have gained widespread adoption for optimizing industrial processes, their potential to revolutionize workforce training has remained underexplored. DT4WFT bridges this gap by offering an adaptable, systematic approach tailored to this domain’s unique workforce development challenges.
Custom Digital Twin Integration forms the core of the framework. DT4WFT leverages tailored digital twin models, such as those designed for CtSSLs, to align closely with the operational and training requirements of the ornamental stone sector. These high-fidelity virtual replicas simulate real-world machinery with precision, enabling trainees to engage with accurate representations of actual operations. By incorporating physics-based simulations and real-time data integration, the framework ensures that virtual environments reflect the dynamics of physical systems, enhancing the relevance and effectiveness of the training.
The DT4WFT framework establishes an Advanced Training Ecosystem integrating virtual training cockpits, real-world equipment, and iterative feedback loops. This ecosystem allows trainees to engage in immersive, context-specific learning experiences replicating complex scenarios, such as machine calibration, fault detection, and precision cutting. As depicted in Figure 4, the workflow for implementing a training digital twin involves creating digital twin models tailored to specific training objectives, conducting sessions in virtual environments, and applying the insights gained to physical systems at industrial facilities. The iterative nature of this workflow ensures continuous alignment with evolving industry needs and technological advancements.
DT4WFT directly addresses the workforce training challenges of traditional methods in the ornamental stone industry. On-site, hands-on training often faces geographic and logistical constraints, further exacerbated by global disruptions like pandemics or regional conflicts, which limit access to physical facilities and equipment. The framework overcomes these barriers by enabling remote training through advanced simulation environments, allowing trainees to acquire critical machining skills flexibly while maintaining technical depth and specificity.
Distinctive contributions set DT4WFT apart from general-purpose platforms. It is not a product but a replicable methodology that systemizes integrating digital twins into training environments. Its scalability, adaptability, and scientific rigour emphasize its utility across various industrial contexts. By fostering collaboration among stakeholders (including training centres, SMEs, and equipment suppliers) the framework facilitates the continuous refinement of training content, keeping it aligned with technological advancements and industry demands.
While designed for the ornamental stone sector, DT4WFT’s modular and flexible design extends its applicability beyond this industry. In manufacturing, it can train operators on robotic systems and assembly lines; in healthcare, it can simulate surgical procedures and patient workflows; and in construction, it supports training for heavy machinery operation and technical installations. This adaptability makes the framework a versatile solution for diverse industrial applications.
DT4WFT also bridges the gap between practical implementation and scientific inquiry by integrating real-time data feedback, predictive analytics, and rigorous evaluation metrics. Its structured approach ensures scalability to emerging industries and technologies, providing a robust foundation for future research and development in digital twin applications.
Finally, DT4WFT represents a significant advancement in workforce training methodologies by integrating tailored digital twin applications, fostering stakeholder collaboration, and ensuring adaptability for evolving industry needs. Its ability to address gaps in training accessibility, relevance, and effectiveness underscores its potential as both a scientific contribution and a practical model for workforce development in traditional and emerging sectors.
Having outlined the conceptual foundations and structural components of the DT4WFT framework, the following section delves into its development. It details how the framework is operationalized, highlighting the processes, technologies, and collaborative efforts that bring it to life and ensure its alignment with industrial demands.

5. Designing the Digital Twin Framework for Workforce Training (DT4WFT)

The Portuguese ornamental stone industry is crucial to the nation’s economy, contributing significantly to local employment and international trade. Comprised predominantly of SMEs, the sector supports over 16,600 jobs, providing critical economic stability to inland regions. Despite challenges such as intense global competition and the pressure to adopt advanced technologies, the industry has demonstrated resilience, achieving sustained export growth. This success has solidified Portugal’s position as a leading global player in the ornamental stone market.
SMEs are the backbone of this industry, driving production, processing, and exports while adopting innovative technologies to meet evolving market demands. Among these advancements, CtSSLs have emerged as transformative systems, enhancing operational efficiency and enabling precision manufacturing. The StoneCUT@Line®, one of the most advanced CtSSL systems globally, exemplifies this innovation. Designed to meet the specific needs of the ornamental stone industry, the system integrates state-of-the-art technologies that offer (1) precision cutting, achieving high accuracy in shaping natural stones; (2) high-quality finishes, delivering superior aesthetic and functional outcomes for architectural applications; and (3) customization capabilities, enabling tailor-made products to meet diverse project requirements.
Central to StoneCUT@Line® is its detailed 3D model, which comprehensively represents its construction and operation. This model allows users and technicians to understand the system’s functionality in depth, analyse the engineering principles underlying its operation, and interact with components for advanced training and maintenance through visualization and simulation [8].
The integration of DT4WFT within the Portuguese ornamental stone industry addresses both the technological and workforce challenges SMEs face. By combining virtual environments with advanced machinery like the StoneCUT@Line®1, the framework provides innovative solutions to optimize operations, enhance workforce capabilities, and sustain competitive advantages in a rapidly evolving global market. This approach demonstrates the potential of leveraging cutting-edge technology with tailored training methodologies to meet industry-specific demands. Equipping SMEs with modern tools and techniques positions them for long-term success in a dynamic industrial landscape.
The StoneCUT@Line® features specialized application modules that interface with the Enterprise Resource Planning (ERP) system and customer operations. These modules enable real-time data collection via the OPC Unified Architecture (OPC-UA) [31] protocol, seamlessly gathering information from sensors and actuators. The system’s software ecosystem, detailed in Table 1, underscores its role in enabling efficient shop floor operations.
The InoProd® platform2, a robust Manufacturing Execution System (MES), seamlessly integrates with the StoneCUT@Line® through functional apps. This platform collects and manages real-time data, facilitating single-machine and multi-machine setups. Its network architecture, depicted in Figure 5, ensures efficient communication and coordination across shop floor operations.
The OPC-UA protocol, a secure and platform-independent communication framework, facilitates remote communication in the StoneCUT@Line®. This protocol eliminates bottlenecks and reduces data translation errors, ensuring enhanced interoperability, real-time data collection, and scalability. It also supports digital twin integration by enabling seamless communication between the StoneCUT@Line® and platforms like Siemens NX Mechatronic Concept Design, fostering precise simulation and informed operational decision-making [32].
By combining the capabilities of the InoProd® platform, its functional apps, and OPC-UA protocols, the StoneCUT@Line® exemplifies the seamless integration of advanced data collection and communication tools [33]. This architecture enables real-time monitoring, predictive analytics, and virtual simulations, supporting performance optimization and driving innovation. These capabilities position SMEs in the ornamental stone industry to thrive in a competitive global market.
The next step in this development process involves integrating advanced mechatronic concepts, as detailed in the following subsection. This integration ensures that the StoneCUT@Line® digital twin achieves the precision and adaptability required for practical workforce training and operational excellence.
Building on this robust technological foundation, the following subsection explores the incorporation of mechatronic principles into the StoneCUT@Line® digital twin. This step enhances the system’s modelling capabilities, delivering realistic and actionable training and operational outcomes.

5.1. Mechatronic Concept in StoneCUT@Line® Digital Twin Integration

The Siemens NX Mechatronic Concept Design (MCD) software is a state-of-the-art tool that integrates mechanics, electronics, and computer science to develop efficient and adaptable manufacturing systems. This interdisciplinary approach is critical in modern industrial environments, particularly for complex machinery like the StoneCUT@Line®, where precision, adaptability, and operational efficiency are essential [27]. Siemens NX MCD enhances manufacturing processes by enabling seamless integration across domains and bridging the gap between virtual design and physical implementation.
Central to Siemens NX MCD’s application is its ability to create and manage digital twins—virtual representations of physical systems that enable simulation, analysis, and optimization in controlled environments [26]. These digital twins replicate the physical system’s behaviours, empowering engineers to refine designs, troubleshoot issues, and optimize performance before deployment, reducing risks and associated costs.
The software offers several advanced features essential for digital twin development. Rigid bodies simulate the physical behaviour of mobile components, ensuring realistic modelling. Collision bodies define spatial constraints and interactions between components, safeguarding operational integrity and safety. Virtual commissioning enables engineers to test and debug control systems on virtual prototypes, ensuring optimized functionality before physical implementation. Real-time data integration incorporates live inputs into virtual models, allowing for dynamic adjustments and responsiveness to changing conditions.
The application of Siemens NX MCD to the StoneCUT@Line® system highlights its transformative potential. With multiple moving components and intricate operational requirements, the StoneCUT@Line® benefits from the software’s ability to simulate motion dynamics and refine system interactions. Engineers can identify and resolve design flaws early, reducing disruptions and development costs. Configurations can be optimized to enhance system performance, while control systems can be debugged in a risk-free virtual environment to ensure reliability and precision.
A key feature of Siemens NX MCD is its ability to visualize the StoneCUT@Line®’s mechanics through detailed modelling of rigid bodies, collision boundaries, and motion dynamics. Figure 6 illustrates the solid model of the StoneCUT@Line® as defined within Siemens NX MCD, showcasing the system’s physical interactions and configurations.
By integrating mechatronic design principles with digital twin technology, Siemens NX MCD bridges virtual simulations and real-world applications, ensuring complex machinery operates with precision, adaptability, and efficiency. This approach simplifies the design and commissioning process and sets a benchmark for innovation in the ornamental stone industry. Siemens NX MCD’s enhanced understanding of system mechanics also supports advanced workforce training, equipping operators with the tools to engage effectively with cutting-edge machinery.
The following section delves into the electrical configurations facilitated by signal adapters. These adapters synchronize virtual models with physical systems to enable seamless operation and real-time communication.

5.2. Electrical Configurations Using Signal Adapter

Accurate electrical configurations are essential for ensuring complex machinery’s precise and efficient operation in manufacturing and simulation contexts. Within MCD, the signal adapter acts as a critical intermediary, translating signals between physical equipment and its digital twin. This integration is vital for systems like the StoneCUT@Line®, which generates multiple operational signals—such as position, velocity, and force parameters—for its actuators and sensors [8].
Signal mapping and velocity calculation are crucial in ensuring the system operates seamlessly. In Siemens NX MCD, signal mapping assigns specific parameters, such as position and velocity, to corresponding components in the 3D model. For example, velocity signals along the X, Y, and Z axes (Vx, Vy, Vz) are processed by the signal adapter to calculate the resultant velocity (Vf) of the cutting tool, as shown in Equation (1):
V f = V x 2 + V y 2 + V z 2
This calculation is critical for defining the tool’s entry and exit strategies, particularly for non-orthogonal cuts involving rotational movement around the Z-axis.
Entry and exit ramps for cutting tools are essential for protecting the cutting tool’s integrity and minimizing energy consumption during operation. When an external entry is not feasible, a gradual entry ramp allows the tool to descend smoothly to the desired cutting depth. Figure 7 illustrates the tool’s entry, cutting, and exit movements.
These movements’ parameters depend on material hardness, stone slab thickness, and the tool’s maximum cutting depth. After completing a cut, the tool follows an exit ramp that gradually decreases Vf and retracts to the retract height (ReH) for subsequent fast motions or rotations. Table 2 details the pre-configured motion parameters for the entry, exit, and retract phases.
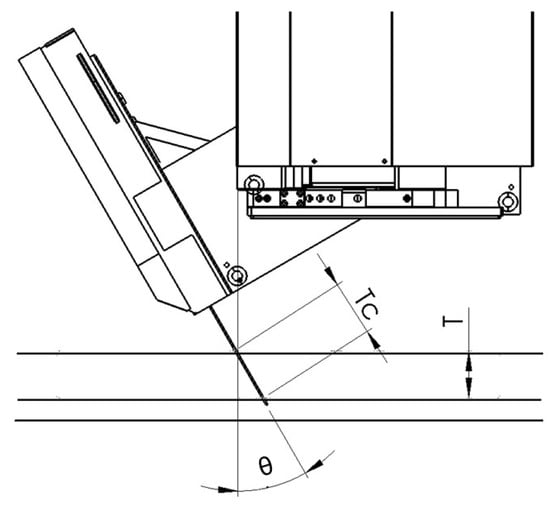
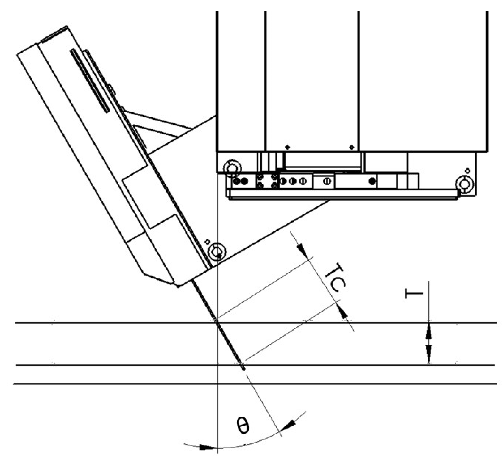
For angled cuts, where the tool rotates around the C-axis, the cutting depth (CD) increases due to the tilt angle (θ). Slab thickness (Tc) corrections are necessary to maintain precision and minimize tool wear. Figure 8 illustrates the adjustments required for cutting depth during angled cuts.
The cutting force (F) is calculated using Equation (2) based on material-specific cutting pressure (σc), cutting depth (CD), and tool width:
F = σ c × C D × w
During the entry phase, the cutting force increases linearly as the cutting depth rises, while it decreases during the exit phase to reduce tool stress. Figure 9 demonstrates an outside entry strategy, emphasizing precise parameter configurations to avoid unintended tool–material contact.
The signal adapter’s integration within Siemens NX MCD provides significant benefits, including real-time feedback, which enables dynamic updates to the virtual model; enhanced accuracy, ensuring that motion simulations closely replicate real-world behaviours; and increased efficiency, which facilitates quick identification and resolution of discrepancies, reducing downtime and boosting productivity. Additionally, the rolling force (Fr) can be analysed using Equations (3) and (4), which depend on cutting force (F) and geometric parameters:
F r = F × sin β
β = φ 2 ;   φ = cos 1 ( R C D R )
These calculations ensure precise cutting depth and trajectory alignment configurations, optimizing cutting performance and avoiding overlaps.
Figure 10 demonstrates that entry length EnL should depend on the cutting depth of the CD and cutting disc diameter. Therefore, the K value must be calculated, and the offset distance must be added to ensure perfect cutting of stone parts and avoid overlapping with other cutting trajectories. The K value is given by Equation (5):
K = R × sin φ
These calculations ensure precise cutting depth and trajectory alignment configurations, avoiding overlaps and optimizing cutting performance. Figure 10 displays the Physics Navigator tab in Siemens NX MCD, showcasing pre-configured electrical signals for sensors and actuators.
The signal adapter ensures accurate, efficient, and adaptive processes by bridging the gap between physical systems and their digital twins. This seamless translation of electrical configurations drives innovation and precision in modern manufacturing, solidifying the StoneCUT@Line® as a benchmark for advanced industrial systems.
Building on these precise configurations, the following section delves into diagnosing motion simulations and control in the StoneCUT@Line®, exploring how these elements optimize training and operational performance.

5.3. Diagnosing Motion Simulation and Control in StoneCUT@Line®

Motion simulation within the StoneCUT@Line® is a pivotal tool for anticipating potential faults, inefficiencies, and areas requiring optimization. Engineers and technicians gain critical insights into the system’s performance by simulating axis movements under diverse scenarios and operating conditions. These iterative simulations validate the digital twin’s fidelity, ensuring it accurately mirrors the physical asset and reliably predicts motion behaviours and system dynamics [8].
Motion simulation serves two essential purposes. First, it acts as a diagnostic tool, identifying potential faults and inefficiencies before they escalate into operational issues. Second, it provides an educational platform for training operators and technicians by offering an interactive virtual model elucidating system processes and operations. This dual functionality prepares trainees for real-world challenges specific to the ornamental stone industry while ensuring the digital twin remains a reliable predictive tool.
The diagnostic environment within the CPS facilitates fault identification, operator training, and the digital twin’s integration into simulation, validation, and educational contexts. Figure 11 illustrates the iterative simulation process, emphasizing its diagnostic and training potential.
Validation through motion simulation provides critical insights into the system’s capabilities, particularly discrepancies between computed signals generated by the digital twin and actual data from the physical asset. Such discrepancies highlight opportunities for refining motion control algorithms, power management, and safety protocols. When computed and measured signals align closely, the digital twin demonstrates its accuracy and reliability, enhancing its diagnostic and predictive effectiveness. Figure 12 depicts the comprehensive digital twin model of the StoneCUT@Line®.
Specific conditions, such as angled cuts and entry/exit procedures, place unique demands on the system. During angled cuts, where the cutting disc tilts around the C-axis, varying forces necessitate precise control. Similarly, cutting forces fluctuate significantly during the entry and exit phases, requiring careful observation to maintain tool integrity and ensure system safety. The cutting head plays a central role in managing these conditions. Its digital monitoring architecture, depicted in Figure 13, showcases actuators and system simulations under demanding scenarios.
The digital twin of the StoneCUT@Line® provides transformative advantages, including proactive fault identification, enhanced operator training, and reliable validation of motion simulation and control systems under varied conditions. These capabilities improve operational reliability, safety, and equipment lifespan, demonstrating the value of digital twin technology in advancing the ornamental stone industry.
The cockpit integrates the virtual machine controller, the remote physical asset, and the digital twin to form a unified CPS. The virtual machine controller replicates the actual machine’s console, enabling trainees to interact with identical functional apps, generate CNC trajectories to feed the signal adapter in Siemens NX MCD, and gain practical experience. This integration mirrors real-world operations, connecting training and industrial applications seamlessly.
Communication approaches for remote training further enhance the system’s utility. Two primary methods support remote training: (1) cloud-based connections, which offer lower latency and centralized data management but pose higher cybersecurity risks requiring encryption protocols and multi-layered authentication [24], 2021, and (2) peer-to-peer connections, operating through secure VPN bridges for enhanced reliability and security. The latter are particularly advantageous for industrial shop floors, where localized control and data security are priorities [9].
For the StoneCUT@Line®, a peer-to-peer connection was chosen due to its security and reliability. The facility’s training cockpit connects to the remote machine through a secure VPN network, utilizing InoServer and Apache Tomcat® to deliver OPC-UA data directly [31]. This setup eliminates the need for external programmable logic controllers (PLCs), enhancing system compatibility, security, and real-time control.
Beyond workforce training, the digital twin framework supports applications in equipment condition monitoring, enabling real-time diagnostics and predictive maintenance, and equipment optimization, analysing performance parameters to ensure peak operational capacity [10]. By linking the training cockpit to the StoneCUT@Line®’s communication shell, this framework empowers SMEs to develop a highly skilled workforce while maximizing equipment utilization and ensuring operational excellence.
This comprehensive approach to motion simulation and control sets the stage for the next phase of this study, where the DT4WFT’s validation and preliminary testing are explored. These efforts assess the framework’s practical application, scalability, and impact on workforce development and industrial innovation.

6. Evaluating the DT4WFT Framework in Portuguese Stone SMEs

The evaluation of DT4WFT was conducted through a study involving 31 managers from Portuguese stone manufacturing SMEs, all of whom actively utilized the StoneCUT@Line® system. This advanced system, part of the CtSSL, is a cornerstone technology in the ornamental stone sector. Its integration with the DT4WFT framework provided an ideal platform for assessing the capabilities of digital twin technologies to transform workforce training and operational performance. Recognized as a vital contributor to the national economy [34], the ornamental stone industry represents a high-value context for exploring scalable, domain-specific applications of digital twin technology.
To enhance the evaluation’s effectiveness, the StoneCUT@Line® incorporated two key technologies integral to the DT4WFT framework. First, the OPC-UA protocol facilitates real-time synchronization and seamless communication between the physical StoneCUT@Line® system and its digital twin. OPC-UA’s ability to integrate heterogeneous devices and systems ensures interoperability, making the DT4WFT framework adaptable and scalable for diverse industrial environments. Second, the NX MCD provides high-fidelity simulations for DT4WFT. By integrating advanced mechatronic principles, Siemens NX MCD enabled the creation of virtual training environments that accurately replicated the dynamics and behaviour of the StoneCUT@Line®. These simulations allowed operators to interact with realistic models of stone-cutting tasks, enhancing training precision and effectiveness.
The StoneCUT@Line®, integrating with these technologies and the DT4WFT framework, empowered operators to perform immersive simulations, test configurations, and anticipate potential failures with high precision. These capabilities facilitated safer and more efficient training processes, minimized operational downtime, and improved overall system productivity. By aligning virtual training environments with real-world workflows, the StoneCUT@Line® demonstrated the DT4WFT framework’s practical benefits, positioning it as a robust case study for evaluating its effectiveness and adaptability.
This evaluation provides critical insights into the DT4WFT framework’s ability to address workforce training challenges specific to SMEs while highlighting its broader applicability to other industrial sectors navigating digital transformation.

6.1. Sample Characteristics

The participants were selected to ensure a diverse representation of the stone manufacturing industry, encompassing varying levels of digital integration. Key characteristics of the sample included the following: (1) managerial expertise: participants had an average of 15 years of experience in the industry; (2) educational background: most managers held at least a bachelor’s degree, with some possessing advanced qualifications in engineering or business management; and (3) diverse representation: the study included companies at different stages of digital maturity, all of which utilized the StoneCUT@Line® system.

6.2. Evaluation Objectives

The evaluation focused on two primary objectives: (1) impact: assess the framework’s influence on key business dimensions, namely operator performance, lead time, efficiency, customer satisfaction, and innovation; (2) relevance: determine how effectively the DT4WFT framework enhances operator training and improves the ability of workers to leverage advanced machinery.

6.3. Evaluation Approach

The study employed a face-to-face survey conducted in November 2024, using a structured questionnaire to capture quantitative and qualitative data. Each respondent participated in a short session, completing the questionnaire in approximately three minutes. The survey began with an introduction explaining the research objectives, confidentiality assurances, and the importance of their input.
The questionnaire comprised two sections: (1) quantitative assessment: participants rated DT4WFT’s effectiveness across five dimensions using a Likert scale (1 = Strongly Disagree to 5 = Strongly Agree), enabling a standardized evaluation; (2) qualitative input: an open-ended question invited respondents to share insights on whether the DT4WFT module in the StoneCUT@Line® enhanced operator training and improved system productivity.
All participants were assured that their responses would remain anonymous and be used solely for academic purposes. All 31 managers agreed to provide feedback, ensuring a comprehensive dataset for analysis.

7. Key Findings and Discussion

The analysis of survey responses revealed overwhelmingly positive feedback on the DT4WFT framework’s efficacy. Pretesting for reliability and clarity yielded a Cronbach’s Alpha of 0.81, indicating strong internal consistency. The average ratings across the five dimensions are summarized below and illustrated in Figure 14: (1) operator performance: rated 4.2/5, reflecting significant improvements in skills, accuracy, and productivity; (2) efficiency: scored 4.0/5, indicating smoother workflows and better resource utilization; (3) lead time: achieved a score of 3.8/5, highlighting reductions in training durations and process optimization; (4) customer satisfaction: rated 4.1/5, emphasizing the indirect benefits of better-trained operators on client satisfaction; and (5) innovation: scored 3.9/5, showcasing the framework’s ability to foster creative problem-solving and adaptability.
To further validate these findings, regression analysis was conducted, yielding robust results: (1) R2: 0.97, demonstrating a strong correlation between the framework’s implementation and its perceived benefits; (2) adjusted R2: 0.72, accounting for potential biases and ensuring reliability; (3) standard error: 0.55, confirming precise predictions; (4) ANOVA results: an F-statistic of 141.26 (p < 0.01) validated the model’s reliability; and (5) regression coefficient: 0.711 (p = 0.0003), highlighting the significant impact of the framework on key dimensions, as shown on Table 3.
These statistical insights, summarized in Table 1, provide compelling evidence of the DT4WFT framework’s ability to deliver measurable benefits to SMEs.
The open-ended responses provided rich qualitative insights, further reinforcing the quantitative findings. Participants unanimously recognized the DT4WFT module as a transformative addition to the StoneCUT@Line®. Managers noted that the framework significantly accelerated operator training and reduced the time required for equipment to achieve optimal productivity in customizing natural stone products. Additionally, respondents highlighted the value of simulation tools and real-time feedback in addressing complex training needs, enhancing adaptability, and improving overall operational efficiency.
The evaluation confirmed the DT4WFT framework’s relevance and impact within Portuguese SMEs in the ornamental stone industry. The strong feedback from managers underscores the framework’s potential to address workforce training challenges while driving efficiency and innovation among the ornamental stone SMEs. Furthermore, the qualitative insights reveal the practical benefits of integrating digital twin technologies into industry-specific solutions, paving the way for broader adoption and scalability across other sectors.

8. Conclusions

This study showcases the transformative potential of DT4WFT in addressing critical workforce training challenges faced by SMEs in the ornamental stone industry. By integrating advanced digital twin technologies with tailored training methodologies, the DT4WFT framework has proven to be an effective and scalable solution, enhancing both the agility of operator training and the ability of workers to utilize advanced machinery such as the StoneCUT@Line®.
The findings reveal that the DT4WFT framework offers significant improvements across multiple business dimensions. Managers reported substantial gains in operator performance, with better skill levels, accuracy, and productivity. Efficiency in workflows and resource utilization was notably enhanced, while training and production optimization lead times saw measurable reductions. Furthermore, the framework contributed to improved customer satisfaction, driven by the indirect benefits of a more capable workforce. Finally, its ability to foster creativity and innovation among operators highlighted its potential to adapt to evolving industry needs.
Addressing the first research question, the results affirm that the DT4WFT framework enhances the agility of workforce training by providing immersive and simulation-based tools. These tools allow operators to experiment with real-time scenarios and receive immediate feedback, enabling faster skill acquisition and reducing the time required to maximize the use of advanced equipment. In response to the second research question, the evaluation demonstrated positive impacts across all five key dimensions of business performance, underscoring the practical and strategic value of the DT4WFT framework for SMEs.
Despite these promising outcomes, the study is not without limitations. The validation relied solely on the perceptions of managers, as the framework has not yet been implemented in real-world training environments. While these insights are valuable, they lack the depth that direct application would provide. Additionally, the focus on the ornamental stone industry may limit the broader applicability of the findings without further adaptation to other sectors. Although sufficient for an initial analysis, the sample size could be expanded to enhance statistical robustness and reliability. Moreover, the study primarily focused on immediate training outcomes, leaving unexplored questions about long-term impacts on workforce skills, operational efficiency, and organizational transformation. Lastly, the reliance on advanced systems such as the StoneCUT@Line® and Siemens NX MCD may present accessibility challenges for resource-constrained SMEs, raising concerns about the framework’s scalability across diverse industrial contexts.
Looking ahead, the following steps should address these limitations to expand the framework’s applicability and ensure its broader adoption. Future research should prioritize real-world implementation of the DT4WFT framework across various industries, such as construction, healthcare, and high-tech manufacturing, to evaluate its adaptability and refine its design. Longitudinal studies are essential to assess its sustained impacts on workforce development, operational efficiency, and organizational transformation. Expanding the scope of participants to include diverse industries and geographic regions would also improve the generalizability of findings. Emerging technologies, such as AI-driven analytics, augmented reality, and IoT connectivity, could enhance the framework’s predictive and adaptive capabilities. Furthermore, developing cost-effective, modular designs would make DT4WFT accessible to SMEs with limited resources, ensuring its scalability and inclusivity. Finally, fostering partnerships among governments, industries, and academic institutions could accelerate the adoption of digital twin-based training solutions, paving the way for widespread industrial transformation.
This study provides evidence of the DT4WFT framework’s capacity to improve workforce training in the ornamental stone industry and beyond. By aligning theoretical advancements in digital twin technology with practical needs, it offers a powerful tool for addressing workforce development challenges in an era of rapid digital transformation.

Author Contributions

Conceptualization, A.d.S., C.C. and J.C.V.; methodology, M.C.G. and C.E.C.; software, M.C.G. and C.E.C.; validation, A.d.S. and M.C.G.; formal analysis, C.C. and J.C.V.; investigation, C.E.C.; resources, A.d.S.; data curation, A.d.S.; writing-original draft preparation, C.E.C.; writing-review-and-editing, A.d.S. and J.C.V., visualization, C.C. and M.C.G.; supervision, A.d.S. and J.C.V.; project administration, A.d.S., M.C.G. and J.C.V.; funding acquisition, A.d.S. All authors have read and agreed to the published version of the manuscript.

Funding

This research was funded by InovMineral-4.0—Tecnologias Avançadas e Software para os Recursos Minerais; LISBOA-01-0247-FEDER-046083, Portugal-2020.

Data Availability Statement

Dataset available on request from the authors.

Conflicts of Interest

The authors declare no conflicts of interest.

Notes

1
https://www.ceigroup.net/ (assessed on 4 November 2024)
2
https://inocam.com/ (assessed on 4 November 2024)

References

  1. den Hartigh, E.; Stolwijk, C.C.M.; Ortt, J.R.; Punter, L.M. Configurations of digital platforms for manufacturing: An analysis of seven cases according to platform functions and types. Electron. Mark. 2023, 33, 30. [Google Scholar] [CrossRef]
  2. Cremonini, C.; Vasco, J.; Capela, C.; da Silva, A.; Gaspar, M. Design and implementation of a digital twin for a stone-cutting machine: A case study. Procedia Comput. Sci. 2024, 232, 990–1000. [Google Scholar] [CrossRef]
  3. Mariani, S.; Picone, M.; Ricci, A. Agents and Digital Twins for the engineering of Cyber-Physical Systems: Opportunities, and challenges. Ann. Math. Artif. Intell. 2024, 92, 953–974. [Google Scholar] [CrossRef]
  4. Xu, Y.; Sun, Y.; Liu, X.; Zheng, Y. A Digital-Twin-Assisted Fault Diagnosis Using Deep Transfer Learning. IEEE Access 2019, 7, 19990–19999. [Google Scholar] [CrossRef]
  5. Kulinan, A.S.; Park, M.; Aung, P.P.W.; Cha, G.; Park, S. Advancing construction site workforce safety monitoring through BIM and computer vision integration. Autom. Constr. 2024, 158, 105227. [Google Scholar] [CrossRef]
  6. Lyons, A.C.; Vidamour, K.; Jain, R.; Sutherland, M. Developing an understanding of lean thinking in process industries. Prod. Plan. Control 2013, 26, 475–494. [Google Scholar] [CrossRef]
  7. Gillani, F.; Chatha, K.A.; Jajja, S.S.; Cao, D.; Ma, X. Unpacking Digital Transformation: Identifying key enablers, transition stages and digital archetypes. Technol. Forecast. Soc. Chang. 2024, 203, 123335. [Google Scholar] [CrossRef]
  8. Tao, C.; Chunhui, L.; Hui, X.; Zhiheng, Z.; Guangyue, W. A review of digital twin intelligent assembly technology and application for complex mechanical products. Int. J. Adv. Manuf. Technol. 2023, 127, 4013–4033. [Google Scholar] [CrossRef]
  9. Kaarlela, T.; Pieska, S.; Pitkaaho, T. Digital Twin and Virtual Reality for Safety Training. In Proceedings of the 2020 11th IEEE International Conference on Cognitive Infocommunications (CogInfoCom), Online, 23–25 September 2020; pp. 000115–000120. [Google Scholar]
  10. Stavropoulos, P.; Papacharalampopoulos, A. Designing a digital twin for micromanufacturing processes. Adv. Mech. Eng. 2022, 14, 6. [Google Scholar] [CrossRef]
  11. da Silva, A.; Marques Cardoso, A.J. Enhancing operational scale in SMEs through coopetition: Insights from the Portuguese ornamental stone industry. J. Open Innov. Technol. Mark. Complex. 2024, 10, 100363. [Google Scholar] [CrossRef]
  12. Peffers, K.; Tuunanen, T.; Rothenberger, M.A.; Chatterjee, S. A Design Science Research Methodology for Information Systems Research. J. Manag. Inf. Syst. 2007, 24, 45–77. [Google Scholar] [CrossRef]
  13. da Silva, A.; Cardoso, A.J.M. Value Creation in Technology-Driven Ecosystems: Role of Coopetition in Industrial Networks. J. Theor. Appl. Electron. Commer. Res. 2024, 19, 2343–2359. [Google Scholar] [CrossRef]
  14. Creswell, J.; Clark, P. Designing and Conducting Mixed Methods Research; Sage Publications: New York, NY, USA, 2017; ISBN 9781412975179. [Google Scholar]
  15. Kasmi, M.; Amir, S.M.; Aman, A.; Haruna, B.; Usman, A.F. Implementation of Science and Technology for Regional Development: Improving the Quality of Ornamental Fish Production with a Concentration of Clove Oil Alternative to Sustainable Fishing Gear. Mattawang J. Pengabdi. Masy. 2022, 3, 370–379. [Google Scholar] [CrossRef]
  16. Udeh, C.A.; Orieno, O.H.; Daraojimba, O.D.; Ndubuisi, N.L.; Oriekhoe, O.I. Big Data Analytics: A Review of Its Transformative Role in Modern Business Intelligence. Comput. Sci. IT Res. J. 2024, 5, 219–236. [Google Scholar] [CrossRef]
  17. Zhu, Z.; Lin, Z.; Huang, J.; Zheng, L.; He, B. A digital twin-based machining motion simulation and visualization monitoring system for milling robot. Int. J. Adv. Manuf. Technol. 2023, 127, 4387–4399. [Google Scholar] [CrossRef]
  18. Hagedorn, L.; Riedelsheimer, T.; Stark, R. Project-based learning in engineering education—Developing digital twins in a case study. Proc. Des. Soc. 2023, 3, 2975–2984. [Google Scholar] [CrossRef]
  19. Erdei, T.I.; Krakó, R.; Husi, G. Design of a Digital Twin Training Centre for an Industrial Robot Arm. Appl. Sci. 2022, 12, 8862. [Google Scholar] [CrossRef]
  20. Legner, C.; Pentek, T.; Otto, B. Accumulating Design Knowledge with Reference Models: Insights from 12 Years’ Research into Data Management. J. Assoc. Inf. Syst. 2020, 21, 735–770. [Google Scholar] [CrossRef]
  21. Arowoiya, V.A.; Moehler, R.C.; Fang, Y. Digital twin technology for thermal comfort and energy efficiency in buildings: A state-of-the-art and future directions. Energy Built Environ. 2024, 5, 641–656. [Google Scholar] [CrossRef]
  22. Ke, G.; Dashun, Z.; Liqin, M.; Jing, W.; Juan, D.; Shubo, L.; Huan, Q.; Lizhong, S. Intelligent machine plus production line digital twin model construction technology. J. Phys. Conf. Ser. 2023, 2478, 102011. [Google Scholar] [CrossRef]
  23. Itohan Oviawe, J. Bridging Skill Gap to Meet Technical, Vocational Education and Training School-Workplace Collaboration in the 21. Int. J. Vocat. Educ. Train. Res. 2017, 3, 7. [Google Scholar] [CrossRef]
  24. Schneider, G.; Wendl, M.; Kucek, S.; Leitner, M. A Training Concept Based on a Digital Twin for a Wafer Transportation System. In Proceedings of the 2021 IEEE 23rd Conference on Business Informatics (CBI), Online, 1–3 September 2021; pp. 20–28. [Google Scholar]
  25. Alexopoulos, K.; Nikolakis, N.; Chryssolouris, G. Digital twin-driven supervised machine learning for the development of artificial intelligence applications in manufacturing. Int. J. Comput. Integr. Manuf. 2020, 33, 429–439. [Google Scholar] [CrossRef]
  26. Berriche, A.; Mhenni, F.; Mlika, A.; Choley, J.-Y. Towards Model Synchronization for Consistency Management of Mechatronic Systems. Appl. Sci. 2020, 10, 3577. [Google Scholar] [CrossRef]
  27. Zhong, R.Y.; Xu, X.; Klotz, E.; Newman, S.T. Intelligent Manufacturing in the Context of Industry 4.0: A Review. Engineering 2017, 3, 616–630. [Google Scholar] [CrossRef]
  28. Sadeghi, A.-R.; Wachsmann, C.; Waidner, M. Security and privacy challenges in industrial internet of things. In Proceedings of the Proceedings of the 52nd Annual Design Automation Conference, San Francisco, CA, USA, 7–11 June 2015; ACM: New York, NY, USA, 2015; pp. 1–6. [Google Scholar]
  29. Madruga, R.P.; Renato Silva, É.; Francisco Moreira Pessanha, J.; Henriques de Arruda, H.; Naked Haddad, A. From IFCX to CXMMI: Validation and Evolution of a Customer Experience Management Maturity Model. IEEE Access 2024, 12, 119350–119370. [Google Scholar] [CrossRef]
  30. Yazdinejad, A.; Zolfaghari, B.; Dehghantanha, A.; Karimipour, H.; Srivastava, G.; Parizi, R. Accurate threat hunting in industrial internet of things edge devices. Digit. Commun. Networks 2023, 9, 1123–1130. [Google Scholar] [CrossRef]
  31. Hoppe, S. OPC Unified Architecture-Interoperability for Industrie 4.0 and the Internet of Things. 2023. Available online: https://opcfoundation.org/wp-content/uploads/2023/05/OPC-UA-Interoperability-For-Industrie4-and-IoT-EN.pdf (accessed on 27 November 2024).
  32. Borchert, M.; Bonefeld-Dahl, C. A Stronger Digital Europe: Our Call to Action Towards 2025, DigitalEurope. 2018. Available online: https://www.digitaleurope.org/wp/wp-content/uploads/2019/02/DIGITALEUROPE-–-Our-Call-to-Action-for-A-STRONGER-DIGITAL-EUROPE.pdf (accessed on 27 November 2024).
  33. Mahmoud, M.S.; Sabih, M.; Elshafei, M. Using OPC technology to support the study of advanced process control. ISA Trans. 2015, 55, 155–167. [Google Scholar] [CrossRef]
  34. Silva, A.; Pata, A. Value Creation in Technology Service Ecosystems—Empirical Case Study. In Innovations in Industrial Engeneering II; Springer International Publishing: Cham, Switzerland, 2022; pp. 26–36. [Google Scholar] [CrossRef]
Figure 1. Fundamental Assumptions for a Successful Training Session.
Figure 1. Fundamental Assumptions for a Successful Training Session.
Systems 13 00120 g001
Figure 2. Digital Twin in the Context of Technical Training.
Figure 2. Digital Twin in the Context of Technical Training.
Systems 13 00120 g002
Figure 3. Cut-To-Size Smart Lines Physics Defined in Siemens NX MCD.
Figure 3. Cut-To-Size Smart Lines Physics Defined in Siemens NX MCD.
Systems 13 00120 g003
Figure 4. Workflow for Implementing a Training Digital Twin for Cut-To-Size Smart Lines.
Figure 4. Workflow for Implementing a Training Digital Twin for Cut-To-Size Smart Lines.
Systems 13 00120 g004
Figure 5. The Architecture of the InoProd® Platform for a Single Machine.
Figure 5. The Architecture of the InoProd® Platform for a Single Machine.
Systems 13 00120 g005
Figure 6. StoneCUT@Line® Solid Model as Defined on Siemens NX MCD.
Figure 6. StoneCUT@Line® Solid Model as Defined on Siemens NX MCD.
Systems 13 00120 g006
Figure 7. Entry, Cutting, and Exit Movements of the Cutting Tool.
Figure 7. Entry, Cutting, and Exit Movements of the Cutting Tool.
Systems 13 00120 g007
Figure 8. Correction of Cutting Depth Due to Angled Cuts.
Figure 8. Correction of Cutting Depth Due to Angled Cuts.
Systems 13 00120 g008
Figure 9. Definition of Entry Length (EnL) for an Outside Entry.
Figure 9. Definition of Entry Length (EnL) for an Outside Entry.
Systems 13 00120 g009
Figure 10. StoneCUT@Line® Physics Defined on Siemens NX MCD.
Figure 10. StoneCUT@Line® Physics Defined on Siemens NX MCD.
Systems 13 00120 g010
Figure 11. Iterative Simulations for Diagnosing the StoneCUT@Line®.
Figure 11. Iterative Simulations for Diagnosing the StoneCUT@Line®.
Systems 13 00120 g011
Figure 12. Digital Model of the StoneCUT@Line®’s Digital Twin.
Figure 12. Digital Model of the StoneCUT@Line®’s Digital Twin.
Systems 13 00120 g012
Figure 13. Digital Model of the StoneCUT@Line® Cutting Head Actuators.
Figure 13. Digital Model of the StoneCUT@Line® Cutting Head Actuators.
Systems 13 00120 g013
Figure 14. DT4WFT Effectiveness Across Five Dimensions (Average Ratings by Respondents).
Figure 14. DT4WFT Effectiveness Across Five Dimensions (Average Ratings by Respondents).
Systems 13 00120 g014
Table 1. Software Packages Included in the StoneCUT@Line® System.
Table 1. Software Packages Included in the StoneCUT@Line® System.
Software PackagePurpose/Function
InoAlloc®Selection of stone slabs from the company’s database
InoDigi®Scanning of stone slabs
MinoCam®Performs CAD/CAM operations
InoNest®2D nesting of parts
InoDriver®Management of actuators and sensors
InoControl®Performs the CNC code execution
Table 2. Pre-configured Parameters for Cutting Tool Motions.
Table 2. Pre-configured Parameters for Cutting Tool Motions.
VariableValueUnitsSituation of Use
Entry Height (EnH)10mmEntry on the stone slab’s top surface
Entry Length (EnL)60mm
Exit Height (ExH)10mmExit on the stone slab’s top surface
Exit Length (ExL)50mm
Entry Offset (EnO)10mmOvercome cutting length and tool protection
Exit Offset (ExO)10mm
Retract Height (ReH)100mmHeight for fast motions
Table 3. Key Regression Statistics.
Table 3. Key Regression Statistics.
Regression Statistics
Multiple R0.98614
R Square0.97246
Adjusted R Square0.72246
Standard Error0.55659
Observations155
ANOVAdfSSMSFSignificance F
Regression143.7608543.76085141.260500.00128
Residual41.239150.30979
CoefficientsStandard Errort Statp-valueLower 95%Upper 95%Lower 95.0%Upper 95.0%
Average Rating of the respondents0.711560.0598711.885310.000290.545340.877780.545340.87778
Disclaimer/Publisher’s Note: The statements, opinions and data contained in all publications are solely those of the individual author(s) and contributor(s) and not of MDPI and/or the editor(s). MDPI and/or the editor(s) disclaim responsibility for any injury to people or property resulting from any ideas, methods, instructions or products referred to in the content.

Share and Cite

MDPI and ACS Style

Cremonini, C.E.; Capela, C.; da Silva, A.; Gaspar, M.C.; Vasco, J.C. Digital Twin Integration for Workforce Training: Transforming SMEs in the Ornamental Stone Industry. Systems 2025, 13, 120. https://doi.org/10.3390/systems13020120

AMA Style

Cremonini CE, Capela C, da Silva A, Gaspar MC, Vasco JC. Digital Twin Integration for Workforce Training: Transforming SMEs in the Ornamental Stone Industry. Systems. 2025; 13(2):120. https://doi.org/10.3390/systems13020120

Chicago/Turabian Style

Cremonini, Carlos E., Carlos Capela, Agostinho da Silva, Marcelo C. Gaspar, and Joel C. Vasco. 2025. "Digital Twin Integration for Workforce Training: Transforming SMEs in the Ornamental Stone Industry" Systems 13, no. 2: 120. https://doi.org/10.3390/systems13020120

APA Style

Cremonini, C. E., Capela, C., da Silva, A., Gaspar, M. C., & Vasco, J. C. (2025). Digital Twin Integration for Workforce Training: Transforming SMEs in the Ornamental Stone Industry. Systems, 13(2), 120. https://doi.org/10.3390/systems13020120

Note that from the first issue of 2016, this journal uses article numbers instead of page numbers. See further details here.

Article Metrics

Back to TopTop