Buckling Characteristics of Different Cross-Sectioned LGFR-PP Stiffeners under Axial Compression
Abstract
1. Introduction
2. Experimental Study
2.1. Experimental Setup
2.2. Experimental Results
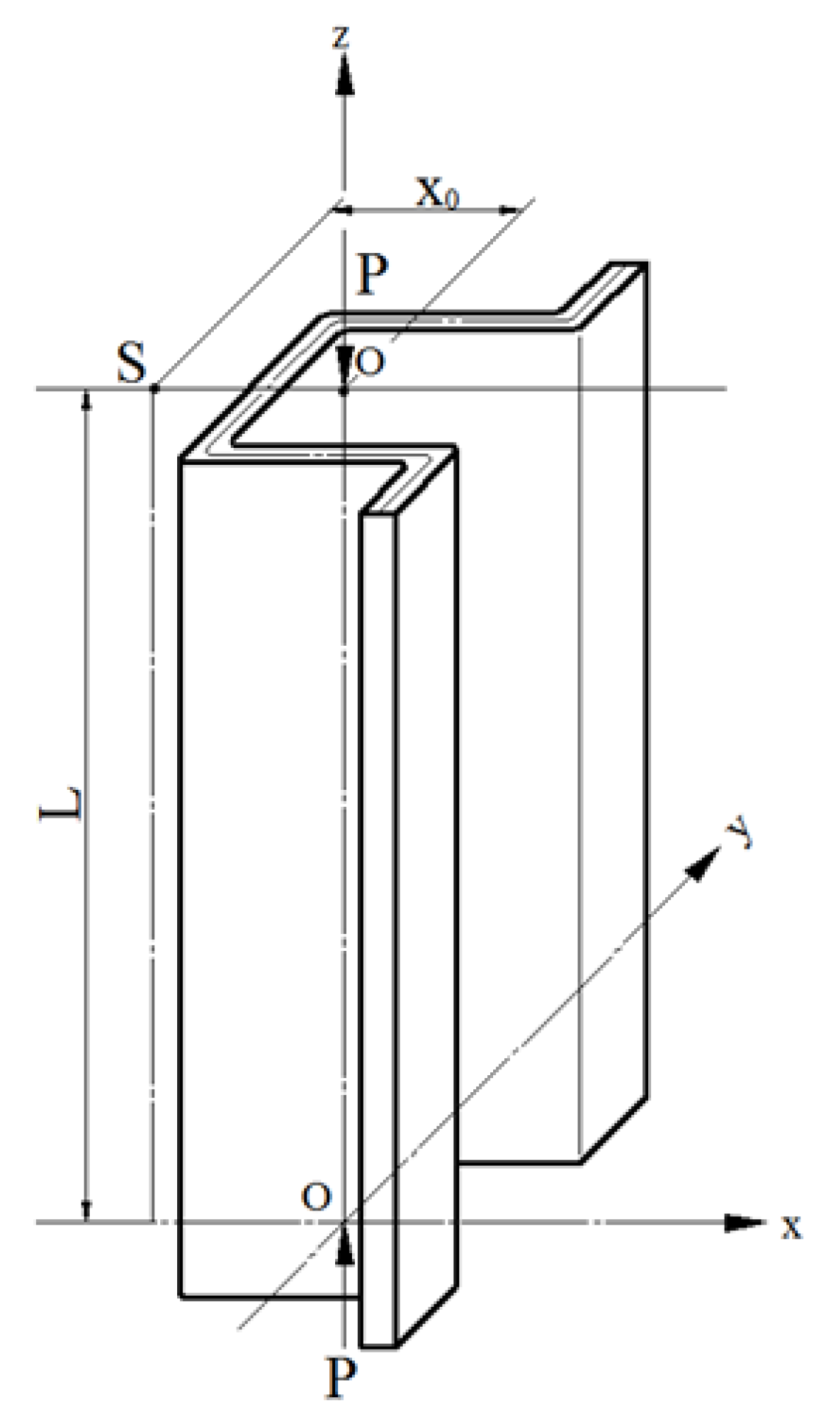
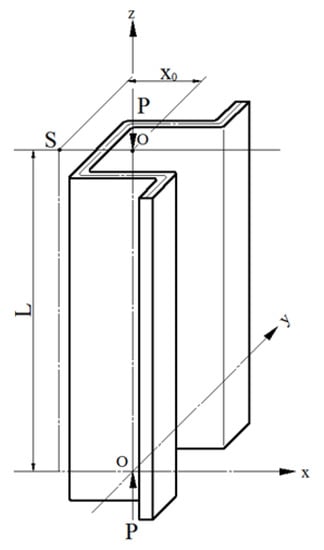
3. Theoretical Study
4. Discussion
5. Conclusions
Author Contributions
Funding
Institutional Review Board Statement
Informed Consent Statement
Data Availability Statement
Conflicts of Interest
References
- Gao, D.; Zhang, Y.; Wen, F.; Pang, Y.; Fang, D.; Lv, M. Transverse shear properties of fiber reinforced polymer bars with different reinforced phases. J. Compos. Mater. 2021, 55, 4063–4078. [Google Scholar] [CrossRef]
- Bureau, M.N.; Denault, J. Fatigue resistance of continuous glass fiber/polypropylene composites: Consolidation dependence. Compos. Sci. Technol. 2004, 64, 1785–1794. [Google Scholar] [CrossRef]
- Brown, K.A.; Brooks, R.; Warrior, N.A. The static and high strain rate behaviour of a commingled E-glass/polypropylene woven fabric composite. Compos. Sci. Technol. 2010, 70, 272–283. [Google Scholar] [CrossRef]
- Duan, S.; Mo, F.; Yang, X.; Tao, Y.; Wu, D.; Peng, Y. Experimental and numerical investigations of strain rate effects on mechanical properties of LGFRP composite. Compos. Part B 2016, 88, 101–107. [Google Scholar] [CrossRef]
- Friedrich, K.; Hou, M. On stamp forming of curved and flexible geometry components from continuous glass fiber/polypropylene composites. Compos. Part A 1998, 29, 217–226. [Google Scholar] [CrossRef]
- Madra, A.; Hajj, N.E.; Benzeggagh, M. X-ray microtomography applications for quantitative and qualitative analysis of porosity in woven glass fiber reinforced thermoplastic. Compos. Sci. Technol. 2014, 95, 50–58. [Google Scholar] [CrossRef]
- Simeoli, G.; Acierno, D.; Meola, C. The role of interface strength on the low velocity impact behaviour of PP/glass fibre laminates. Compos. Part B 2014, 62, 88–96. [Google Scholar] [CrossRef]
- Trudel-Boucher, D.; Fisa, B.; Denault, J.; Gagnon, P. Experimental investigation of stamp forming of unconsolidated commingled E-glass/polypropylene fabrics. Compos. Sci. Technol. 2006, 66, 555–570. [Google Scholar] [CrossRef]
- Fiorotto, M.; Lucchetta, G. Experimental investigation of a new hybrid molding process to manufacture high-performance composites. Int. J. Mater. Form. 2013, 6, 179–185. [Google Scholar] [CrossRef]
- Mo, F.; Zhang, H.; Yang, X.; Duan, S.; Xiao, Z. Coupling investigation on tensile and acoustic absorption properties of lightweight porous LGF/PP composite. Polym. Compos. 2019, 40, 1315–1321. [Google Scholar] [CrossRef]
- Nassiraei, H.; Rezadoost, P. Static capacity of tubular x-joints reinforced with fiber reinforced polymer subjected to compressive load. Eng. Struct. 2021, 236, 112041. [Google Scholar] [CrossRef]
- Nassiraei, H.; Rezadoost, P. Local joint flexibility of tubular T/Y-joints retrofitted with GFRP under in-plane bending moment. Mar. Struct. 2021, 77, 102936. [Google Scholar] [CrossRef]
- Nassiraei, H.; Rezadoost, P. SCFs in tubular X-connections retrofitted with FRP under in-plane bending load. Compos. Struct. 2021, 274, 114314. [Google Scholar] [CrossRef]
- Ashaab, A.; Rodriguez, K.; Molina, A. Internet-based collaborative design for an injection-moulding system. Concurr. Eng. 2003, 11, 289–299. [Google Scholar] [CrossRef]
- Davoodi, M.M.; Sapuan, S.M.; Yunus, R. Conceptual design of a polymer composite automotive bumper energy absorber. Mater. Des. 2008, 29, 1447–1452. [Google Scholar] [CrossRef]
- Davoodi, M.M.; Sapuan, S.M.; Ali, A.; Ahmad, D. Effect of the strengthened ribs in hybrid toughened kenaf/glass epoxy composite bumper beam. Life Sci. J. 2012, 9, 285–289. [Google Scholar]
- Zhou, Z.; Gan, D.; Zhou, X. Cyclic-shear behavior of square thin-walled concrete-filled steel tubular columns with diagonal ribs. Eng. Struct. 2022, 259, 114177. [Google Scholar] [CrossRef]
- Gan, D.; Zhou, Z.; Zhou, X. Axially loaded thin-walled square concrete-filled steel tubes stiffened with diagonal binding ribs. ACI Struct. J. 2019, 116, 265–280. [Google Scholar] [CrossRef]
- Zhang, Z.; Liu, S.; Tang, Z. Design optimization of cross-sectional configuration of rib-reinforced thin-walled beam. Thin Walled Struct. 2009, 47, 868–878. [Google Scholar] [CrossRef]
- Murata, S.; Shioya, S.; Suffis, B. Expanded polypropylene (EPP): A global solution for pedestrian safety bumper systems. In Proceedings of the SAE 2004 World Congress & Exhibition, Detroit, MI, USA, 8 March 2004. [Google Scholar]
- Ephraim, M.; Adetiloye, A. Mechanical properties of glass fibre reinforced polymer based on resin from recycled plastic. Int. J. Sci. Eng. Res. 2015, 6, 145–152. [Google Scholar]
- Sheikh, A.H.; Thomsen, O.T. An efficient beam element for the analysis of laminated composite beams of thin-walled open and closed cross sections. Compos. Sci. Technol. 2008, 68, 2273–2281. [Google Scholar] [CrossRef]
- Wang, S.J. Torsional-flexural buckling of open thin-walled columns with battens. Thin-Walled Struct. 1985, 3, 323–344. [Google Scholar] [CrossRef]
- Zhou, X.H.; Wang, S.J. Thin-Walled Component Stability Theory and Its Application; Beijing Science Press: Beijing, China, 2009; pp. 28–33. (In Chinese) [Google Scholar]
- Djerrad, A.; Fan, F.; Zhi, X.; Wu, Q. Experimental and FEM analysis of AFRP strengthened short and long steel tube under axial compression. Thin-Walled Struct. 2019, 139, 9–23. [Google Scholar] [CrossRef]
- Liang, C.; Hsu, C.; Chen, W. Curvature effect on stress concentrations around circular hole in opened shallow cylindrical shell under external pressure. Int. J. Press. Vessel. Pip. 1998, 75, 749–763. [Google Scholar] [CrossRef]
- Zakora, S.V.; Chekhov, V.N.; Shnerenko, K.I. Stress concentration around a circular hole in a transversely isotropic spherical shell. Int. Appl. Mech. 2004, 40, 1391–1397. [Google Scholar] [CrossRef]
- Zhu, G.; Sun, G.; Li, G.; Cheng, A.; Li, Q. Modeling for CFRP structures subjected to quasi-static crushing. Compos. Struct. 2018, 184, 41–55. [Google Scholar] [CrossRef]
- Maleki, S.; Tahani, M. Non-linear analysis of fiber-reinforced open conical shell panels considering variation of thickness and fiber orientation under thermo-mechanical loadings. Compos. Part B 2013, 52, 245–261. [Google Scholar] [CrossRef]





| Specimen Type | Type I | Type II | Type III | |
|---|---|---|---|---|
| Moment of inertia (cm4) | Ix | 24.51 | 24.31 | 24.25 |
| Iy | 1.11 | 1.80 | 1.46 | |
| (xc, yc) (mm, mm) | (12.739; 0) | (23.138; 0) | (33.077; 0) | |
| It (cm4) | 25.643 | 26.11 | 25.717 | |
| Iw (cm6) | 1.058 | 1.277 | 9.31 | |
| x0 (cm) | 0.713 | 1.714 | 2.689 | |
| i02 (cm2) | 8.022 | 9.498 | 14.625 | |
| Specimen Type | Length L (mm) | 145 | 185 | 220 |
|---|---|---|---|---|
| Type I | Experimental (KN) | 24.89 | 17.91 | 13 |
| Theoretical (KN) | 859.35 | 548.42 | 399.44 | |
| Ratio | 0.029 | 0.0327 | 0.0325 | |
| The average ratio = 0.0314 | ||||
| Type II | Experimental (KN) | 19.86 | 16.09 | 11.79 |
| Theoretical (KN) | 694.36 | 480.61 | 357.41 | |
| Ratio | 0.029 | 0.033 | 0.033 | |
| The average ratio = 0.0317 | ||||
| Type III | Experimental (KN) | 17.89 | 12.16 | 9.35 |
| Theoretical (KN) | 532.2 | 398.89 | 311.59 | |
| Ratio | 0.034 | 0.03 | 0.03 | |
| The average ratio = 0.031 | ||||
Disclaimer/Publisher’s Note: The statements, opinions and data contained in all publications are solely those of the individual author(s) and contributor(s) and not of MDPI and/or the editor(s). MDPI and/or the editor(s) disclaim responsibility for any injury to people or property resulting from any ideas, methods, instructions or products referred to in the content. |
© 2023 by the authors. Licensee MDPI, Basel, Switzerland. This article is an open access article distributed under the terms and conditions of the Creative Commons Attribution (CC BY) license (https://creativecommons.org/licenses/by/4.0/).
Share and Cite
Nie, J.; Gao, W.; Li, G. Buckling Characteristics of Different Cross-Sectioned LGFR-PP Stiffeners under Axial Compression. Coatings 2023, 13, 763. https://doi.org/10.3390/coatings13040763
Nie J, Gao W, Li G. Buckling Characteristics of Different Cross-Sectioned LGFR-PP Stiffeners under Axial Compression. Coatings. 2023; 13(4):763. https://doi.org/10.3390/coatings13040763
Chicago/Turabian StyleNie, Jin, Wenbo Gao, and Guibing Li. 2023. "Buckling Characteristics of Different Cross-Sectioned LGFR-PP Stiffeners under Axial Compression" Coatings 13, no. 4: 763. https://doi.org/10.3390/coatings13040763
APA StyleNie, J., Gao, W., & Li, G. (2023). Buckling Characteristics of Different Cross-Sectioned LGFR-PP Stiffeners under Axial Compression. Coatings, 13(4), 763. https://doi.org/10.3390/coatings13040763
