Carbon Nanotube Coatings’ Role in Transparency, Mechanical Hardness, and Wetting Angle Increase
Abstract
:1. Introduction
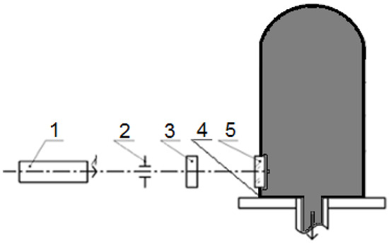
2. Materials and Methods
3. Results
4. Conclusions
Author Contributions
Funding
Institutional Review Board Statement
Informed Consent Statement
Data Availability Statement
Acknowledgments
Conflicts of Interest
References
- Krzysztof, K.; Boskovic, B.O.; Noorhana, Y. Synthesis of Carbon Nanostructures by CVD Method. In Carbon and Oxide Nanostructures. Advanced Structured Materials; Springer: Berlin/Heidelberg, Germany, 2010; Volume 5, pp. 23–49. [Google Scholar] [CrossRef]
- Nishide, D.; Kataura, H.; Suzuki, S.; Okubo, S.; Achiba, Y. Growth of single-wall carbon nanotubes from ethanol vapor on cobalt particles produced by pulsed laser vaporization. Chem. Phys. Lett. 2004, 392, 309–313. [Google Scholar] [CrossRef]
- Rui, S.; Lu, J.; Chunxu, P. A Single-Step Process for Preparing Supercapacitor Electrodes from Carbon Nanotubes. Soft Nanosci. Lett. 2011, 1, 11–15. [Google Scholar] [CrossRef]
- Ángel, P.d.P.; Enikö, G.; Laura, C.; Belén, B.; Gerard, T. Deposition of functionalized single wall carbon nanotubes through matrix assisted pulsed laser evaporation. Carbon 2012, 50, 4450–4458. [Google Scholar] [CrossRef]
- Watanabe, T.; Yamazaki, S.; Yamashita, S.; Inaba, T.; Muroga, S.; Morimoto, T.; Kobashi, K.; Okazaki, T. Comprehensive Characterization of Structural, Electrical, and Mechanical Properties of Carbon Nanotube Yarns Produced by Various Spinning Methods. Nanomaterials 2022, 12, 593. [Google Scholar] [CrossRef]
- Jean-Christophe, C.; Xavier, B.; Stephan, R. Electronic and transport properties of nanotubes. Rev. Mod. Phys. 2007, 79, 677–732. [Google Scholar] [CrossRef]
- Hua, B.; Xiulin, R.; Timothy, S.F. Optical properties of ordered vertical arrays of multi-walled carbon nanotubes from FDTD simulations. Opt. Express 2010, 18, 6347–6359. [Google Scholar]
- Clancy, A.J.; Bayazit, M.K.; Hodge, S.A.; Skipper, N.T.; Howard, C.A.; Shaffer, M.S.P. Charged Carbon Nanomaterials: Redox Chemistries of Fullerenes, Carbon Nanotubes, and Graphenes. Chem. Rev. 2018, 118, 7363–7408. [Google Scholar] [CrossRef]
- Belonenko, M.B.; Dvuzhilov, I.S.; Dvuzhilova, Y.V.; Boroznin, S.V. Light Bullets in a Periodically Inhomogeneous Medium of Oriented Carbon Nanotubes in an Optical Cavity. Opt. Spectrosc. 2019, 126, 394–399. [Google Scholar] [CrossRef]
- Robertson, J. Realistic applications of CNTs. Mater. Today 2004, 7, 46–52. [Google Scholar] [CrossRef]
- Namilae, S.; Chandra, N.; Shet, C. Mechanical behavior of functionalized nanotubes. Chem. Phys. Lett. 2004, 387, 247–252. [Google Scholar] [CrossRef]
- Alexander, D.P.; Beresnev, V.M. Nanocoatings Nanosystems Nanotechnologies; Bentham Science Publishers: Sharjah, United Arab Emirates, 2012. [Google Scholar] [CrossRef]
- Ferriera, M.; Martino, A.D.; Kasumov, A.; Guéron, S.; Kociak, M.; Egger, R.; Bouchiat, H. Superconductivity in ropes of carbon nanotubes. Solid State Commun. 2004, 131, 615–623. [Google Scholar] [CrossRef]
- Santos, A.; Amorim, L.; Nunes, J.P.; Rocha, L.A.; Silva, A.F.; Viana, J.C. A Comparative Study between Knocked-Down Aligned Carbon Nanotubes and Buckypaper-Based Strain Sensors. Materials 2019, 12, 2013. [Google Scholar] [CrossRef]
- Hazarika, M.; Chinnamuthu, P.; Borgohain, C.; Borah, J.P. Role of MWCNT concentration in MWCNT/ZnFe2O4 nanocomposites for enhanced photocatalytic performance. J. Mater. Sci. Mater. Electron. 2020, 31, 10783–10794. [Google Scholar] [CrossRef]
- Bonegardt, D.; Klyamer, D.; Kuksoy, B.; Durmuş, M.; Basova, T. Hybrid materials of carbon nanotubes with fluoroalkyl- and alkylsubstituted zinc phthalocyanines. J. Mater. Sci. Mater. Electron. 2020, 31, 11021–11028. [Google Scholar] [CrossRef]
- Ibrahim, S.O.; Isah, K.U.; Abdulkareem, A.S.; Ahmadu, U.; Tijani, J.O.; Roos, W.D. Synthesis and characterization of platinum multi-walled carbon nanotubes nanocomposite film electrode. J. Mater. Sci. Mater. Electron. 2021, 32, 12800–12811. [Google Scholar] [CrossRef]
- Rossella, A.; Giulio, M. Rheological Behavior of Polymer/Carbon Nanotube Composites: An Overview. Materials 2020, 13, 2771. [Google Scholar] [CrossRef]
- Shafique, S.; Karimov, K.S.; Abid, M.; Ahmed, M.M.; Akhmedov, K.M.; Aziz-ur-Rehman. Carbon nanotubes, orange dye, and graphene powder based multifunctional temperature, pressure, and displacement sensors. J. Mater. Sci. Mater. Electron. 2020, 31, 8893–8899. [Google Scholar] [CrossRef]
- Andreev, A.S.; Kazakova, M.A.; Ishchenko, A.V.; Selyutin, A.G.; Lapina, O.B.; Kuznetsov, V.L.; de Lacaillerie, J.-B.d.E. Magnetic and dielectric properties of carbon nanotubes with embedded cobalt nanoparticles. Carbon 2017, 114, 39–49. [Google Scholar] [CrossRef]
- Valadão, D.R.B.; Pires, D.G.; Alencar, M.A.R.C.; Hickmann, J.M.; Fantini, C.; Pimenta, M.A.; Fonseca, E.J.S. Investigation of the electronic nonlinear refraction index of single-wall carbon nanotubes wrapped with different surfactants. Opt. Mater. Express 2012, 2, 749–756. [Google Scholar] [CrossRef]
- Srivastava, A.K.; Pozhidaev, E.P.; Chigrinov, V.G.; Manohar, R. Single walled carbon nano-tube, ferroelectric liquid crystal composites: Excellent diffractive tool. Appl. Phys. Lett. 2011, 99, 201106. [Google Scholar] [CrossRef]
- Kamanina, N.; Borodianskiy, K.; Kvashnin, D. Surface Heterostructure of Aluminum with Carbon Nanotubes Obtained by Laser-Oriented Deposition. Coatings 2021, 11, 674. [Google Scholar] [CrossRef]
- Kamanina, N.; Toikka, A.; Kvashnin, D. Nanostructuration Impact on the Basic Properties of the Materials: Novel Composite Carbon Nanotubes on a Copper Surface. J. Compos. Sci. 2022, 6, 181. [Google Scholar] [CrossRef]
- Kamanina, N.; Toikka, A.; Valeev, B.; Kvashnin, D. Carbon Nanotubes Use for the Semiconductors ZnSe and ZnS Material Surface Modification via the Laser-Oriented Deposition Technique. C 2021, 7, 84. [Google Scholar] [CrossRef]
- Kamanina, N.; Toikka, A.; Barnash, Y.; Kuzhakov, P.; Kvashnin, D. Advanced and Functional Structured Ceramics: MgF2 and ZnS. Materials 2022, 15, 4780. [Google Scholar] [CrossRef]
- Kamanina, N.V.; Likhomanova, S.V.; Kuzhakov, P.V. Advantages of the Surface Structuration of KBr Materials for Spectrometry and Sensors. Sensors 2018, 18, 3013. [Google Scholar] [CrossRef]
- Kamanina, N.; Kuzhakov, P.; Kukharchik, A.; Kvashnin, D. A nanostructuring approach for modification of the features of optical materials: Lithium fluoride. IOP Conf. Ser. Mater. Sci. Eng. 2019, 693, 012008. [Google Scholar] [CrossRef]
- Kuzhakov, P.V.; Kamanina, N.V. Spectral Investigations and Wettability of Nanostructured Potassium Bromide, Sodium Chloride, and Magnesium Fluoride Single Crystals. Opt. Spectrosc. 2014, 117, 643–646. [Google Scholar] [CrossRef]
- Kamanina, N.V.; Kukharchik, A.A.; Kuzhakov, P.V.; Zubtcova, Y.A.; Stepanov, R.O.; Baryshnikov, N.V. Modification of the conductive ITO layer by carbon nanotubes for orientation of liquid crystals in electro-optical optical information conversion devices. Liq. Cryst. Appl. 2015, 15, 109–118. [Google Scholar] [CrossRef]
- Kamanina, N.; Toikka, A.; Gladysheva, I. ITO conducting coatings properties improvement via nanotechnology approach. Nano Express 2021, 2, 010006. [Google Scholar] [CrossRef]
- Kamanina, N.V.; Vasilyev, P.Y. Optical Coatings Based on CNTs for the Optical Devises and Nanoelectronics. Patent RU 2007, 2, 1. [Google Scholar]
- Kamanina, N.V.; Vasilyev, P.Y.; Studeonov, V.I. Optical Coating Based on Oriented in the Electric Field CNTs for the Optical Devises, Micro- and Nanoelectronics under the Conditions When the Interface: Solid Substrate-Coating Can Be Eliminated. Patent RU 2008, 2, 177. [Google Scholar]
- Beake, B.D. Nano- and Micro-Scale Impact Testing of Hard Coatings: A Review. Coatings 2022, 12, 793. [Google Scholar] [CrossRef]
- Piperopoulos, E.; Grifò, G.; Scionti, G.; Atria, M.; Calabrese, L.; Consolo, G.; Proverbio, E. Study of Intumescent Coatings Growth for Fire Retardant Systems in Naval Applications: Experimental Test and Mathematical Model. Coatings 2022, 12, 1180. [Google Scholar] [CrossRef]
- Vereschaka, A.; Seleznev, A.; Gaponov, V. Wear Resistance, Patterns of Wear and Plastic Properties of Cr,Mo-(Cr,Mo,)N-(Cr,Mo,Al)N Composite Coating with a Nanolayer Structure. Coatings 2022, 12, 758. [Google Scholar] [CrossRef]
- Botas, A.M.P. New Frontiers in Novel Optical Materials and Devices. Coatings 2022, 12, 856. [Google Scholar] [CrossRef]
- Drozda, M.; Miszczyk, A. Selection of Organic Coating Systems for Corrosion Protection of Industrial Equipment. Coatings 2022, 12, 523. [Google Scholar] [CrossRef]
- Laube, T.; Weisser, J.; Sachse, S.; Seemann, T.; Wyrwa, R.; Schnabelrauch, M. Comparable Studies on Nanoscale Antibacterial Polymer Coatings Based on Different Coating Procedures. Nanomaterials. 2022, 12, 614. [Google Scholar] [CrossRef]
- Bulatova, M.I.; Shatsova, A.A. Strength and Fracture Resistance of Quartz Fibers with Polyimide Coatings. Russ. J. Non-Ferr. Met. 2021, 62, 756–762. [Google Scholar] [CrossRef]
- Atta, A.M.; El-Newehy, M.H.; Abdulhameed, M.M.; Wahby, M.H.; Hashem, A.I. Seawater Absorption and Adhesion Properties of Hydrophobic and Superhydrophobic Thermoset EpoxyNanocomposite. Coatings. Nanomaterials 2021, 11, 272. [Google Scholar] [CrossRef]
- Ress, J.; Martin, U.; Bastidas, D.M. Improved Corrosion Protection of Acrylic Waterborne Coating by Doping with Microencapsulated Corrosion Inhibitors. Coatings 2021, 11, 1134. [Google Scholar] [CrossRef]
- Qi, Y.; Weicheng, N.; Chaofan, L.; Ping, C.; Hanlin, C.; Yiyi, W. Synthesis of reduced graphene oxides with magnetic Co nanocrystals coating for electromagnetic absorption properties. J. Mater. Sci. Mater. Electron. 2020, 31, 22616–22628. [Google Scholar] [CrossRef]

| Materials | Indenter Value, g | Micro-Hardness Increase, % | Refs. |
|---|---|---|---|
| NaCl | 2 | 6–8 | Current |
| KCl | 10 | 4–6 | Current |
| LiF | 20 | 10 | [28] |
| KBr | 10 | 6–10 | [27] |
| MgF2 | 40 | 6 | [26] |
| BaF2 | 2 | 12–15 | Current |
| CaF2 | 40 | 9–10 | Current |
| Al | 20 | 7 | [23] |
| Cu | 30 | 9 | [24] |
| ZnS | 30 | 5–6.5 | [25,26] |
| ZnSe | 20 | 5 | [25] |
| ITO | 2 | in 1.5 times | [31] |
| Materials | Wetting Angle Before, ° | Wetting Angle after CNTs Deposition, ° | Refs. |
|---|---|---|---|
| NaCl | 7 | 27 | [29] |
| KCl | 10 | 30 | Current |
| KBr | 7 | 27 | [27] |
| BaF2 | 56 | 67 | Current |
| CaF2 | 82 | 97 | Current |
| MgF2 | 58; 86–87 | 82; 89–90 | [26,29] |
| Al | 108 | 111 | [23] |
| Cu | 110 | 114 | [24] |
| ZnS | 103 | 106 | [25] |
| ZnSe | 97 | 102 | [25] |
| ITO | 76–78 | 86–87 | [30] |
| Roughness Parameters | The Roughness Data before CNT Treatment | The Roughness Data after CNT Treatment |
|---|---|---|
| Rmax | 67 | 26 |
| Ra | 6.2 | 2.9 |
| Sq | 8.4 | 3.8 |
Publisher’s Note: MDPI stays neutral with regard to jurisdictional claims in published maps and institutional affiliations. |
© 2022 by the author. Licensee MDPI, Basel, Switzerland. This article is an open access article distributed under the terms and conditions of the Creative Commons Attribution (CC BY) license (https://creativecommons.org/licenses/by/4.0/).
Share and Cite
Kamanina, N. Carbon Nanotube Coatings’ Role in Transparency, Mechanical Hardness, and Wetting Angle Increase. Coatings 2022, 12, 1279. https://doi.org/10.3390/coatings12091279
Kamanina N. Carbon Nanotube Coatings’ Role in Transparency, Mechanical Hardness, and Wetting Angle Increase. Coatings. 2022; 12(9):1279. https://doi.org/10.3390/coatings12091279
Chicago/Turabian StyleKamanina, Natalia. 2022. "Carbon Nanotube Coatings’ Role in Transparency, Mechanical Hardness, and Wetting Angle Increase" Coatings 12, no. 9: 1279. https://doi.org/10.3390/coatings12091279
APA StyleKamanina, N. (2022). Carbon Nanotube Coatings’ Role in Transparency, Mechanical Hardness, and Wetting Angle Increase. Coatings, 12(9), 1279. https://doi.org/10.3390/coatings12091279