Health and Durability of Protective and Thermal Barrier Coatings Monitored in Service by Visual Inspection
Abstract
1. Introduction
2. Materials and Methods
2.1. Engine
2.2. HPT Blade
2.3. Coatings
2.4. Engine Testing
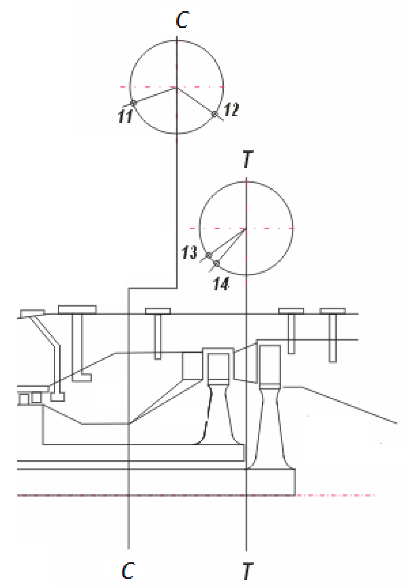
2.5. Inspection
3. Results
3.1. CVD
3.2. APS + VPA
3.3. APS
3.4. APS + SLURRY
3.5. APS + TBC
4. Discussion
5. Conclusions
- Despite its limitations, borescope inspection is one of the few tools available for the in-service monitoring of blade coatings.
- The observed pace and mechanism of degradation were specific to the type of coating.
- APS is a cost-effective technology that can replace PVD methods on turbine blades when the proper coating structure and adhesion are ensured.
- The presence of damage at this stage of development is not a problem, and it absolutely does not exclude any of the tested processes.
Author Contributions
Funding
Institutional Review Board Statement
Informed Consent Statement
Data Availability Statement
Conflicts of Interest
Abbreviations
| AB | Afterburner |
| AMT | Accelerated mission test |
| APS | Atmospheric plasma spraying |
| CCD | Charge-coupled device |
| CVD | Chemical Vapor Deposition |
| CT | Computed tomography |
| EB-PVD | Electron Beam Physical Vapor Deposition |
| FH | Flight hours |
| HPT | High pressure turbine |
| ITWL | The Air Force Institute of Technology in Warsaw |
| MIL | Military power |
| LE | Leading edge |
| LED | Light-emitting diode |
| LPT | Low pressure turbine |
| PVD | Physical Vapor Deposition |
| SEM | Scanning Electron Microscopy |
| TBC | Thermal Barrier Coating |
| TBO | Time between overhauls |
| TGO | Thermally grown oxides |
| TE | Trailing edge |
| VPA | Vapor phase aluminide |
References
- Ozgurluk, Y.; Doleker, K.M.; Ozkan, D.; Ahlatci, H.; Karaoglanli, A.C. Cyclic hot corrosion failure behaviors of EB-PVD TBC systems in the presence of sulfate and vanadate molten salts. Coatings 2019, 9, 166. [Google Scholar] [CrossRef]
- Song, D.; Song, T.; Paik, U.; Lyu, G.; Jung, Y.G.; Choi, B.G.; Kim, I.S.; Zhang, J. Crack-growth behavior in thermal barrier coatings with cyclic thermal exposure. Coatings 2019, 9, 365. [Google Scholar] [CrossRef]
- Kopec, M.; Kukla, D.; Yuan, X.; Rejmer, W.; Kowalewski, Z.L.; Senderowski, C. Aluminide Thermal Barrier Coating for High Temperature Performance of MAR 247 Nickel Based Superalloy. Coatings 2021, 11, 48. [Google Scholar] [CrossRef]
- Goral, M.; Pytel, M.; Ochal, K.; Drajewicz, M.; Kubaszek, T.; Simka, W.; Nieuzyla, L. Microstructure of aluminide coatings modified by Pt, Pd, Zr and Hf formed in low-activity CVD process. Coatings 2021, 11, 421. [Google Scholar] [CrossRef]
- Kościelniak, B.; Chmiela, B.; Sozańska, M.; Swadźba, R.; Drajewicz, M. Oxidation Behavior of Inconel 740H Nickel Superalloy in Steam Atmosphere at 750 °C. Materials 2021, 14, 4536. [Google Scholar] [CrossRef]
- Tamarin, Y. Protective Coatings for Turbine Blades; ASM International: Materials Park, OH, USA, 2002; p. 247. [Google Scholar]
- Mishra, R.K.; Kumar, P.; Muduli, S.K. Failure Prevention of Gas Turbine Blades Through Pack Aluminization. J. Fail. Anal. Prev. 2018, 18, 1120–1126. [Google Scholar] [CrossRef]
- Maricocchi, A.; Bartz, A.; Wortman, D. PVD TBC experience on GE aircraft engines. J. Therm. Spray Technol. 1997, 6, 193–198. [Google Scholar] [CrossRef][Green Version]
- Swadźba, R.; Wiedermann, J.; Hetmańczyk, M.; Swadźba, L.; Mendala, B.; Witala, B.; Komendera, Ł. Microstructure degradation of EB-PVD TBCs on Pd-Pt-modified aluminide coatings under cyclic oxidation conditions. Surf. Coat. Technol. 2013, 237, 16–22. [Google Scholar] [CrossRef]
- Ebach-Stahl, A.; Schulz, U.; Swadźba, R.; Munawar, A.U. Lifetime improvement of EB-PVD 7YSZ TBCs by doping of Hf or Zr in NiCoCrAlY bond coats. Corros. Sci. 2021, 181, 109205. [Google Scholar] [CrossRef]
- Guo, D.; Wang, Y.; Fernandez, R.; Zhao, L.; Jodoin, B. Cold spray for production of in-situ nanocrystalline MCrAlY coatings – Part I: Process analysis and microstructure characterization. Surf. Coat. Technol. 2021, 409, 126854. [Google Scholar] [CrossRef]
- Li, X.; Peng, X.Y.; Dong, H.; Zhou, Y.; Wang, T.; Ren, K.; Sun, L. The Evaluation of Durability of Plasma-Sprayed Thermal Barrier Coatings with Double-layer Bond Coat. Coatings 2019, 9, 241. [Google Scholar] [CrossRef]
- Nicolaus, M.; Möhwald, K.; Maier, H.J. Thermally Sprayed Nickel-Based Repair Coatings for High-Pressure Turbine Blades: Controlling Void Formation during a Combined Brazing and Aluminizing Process. Coatings 2021, 11, 725. [Google Scholar] [CrossRef]
- Liebert, C.H.; Levine, S.R. Further Industrial Tests of Ceramic Thermal-Barrier Coatings; NASA Technical Paper 2057; NASA Lewis Research Center: Cleveland, OH, USA, 1982. [Google Scholar]
- Savinkin, V.V.; Vizureanu, P.; Sandu, A.V.; Ratushnaya, T.Y.; Ivanischev, A.A.; Surleva, A. Improvement of the turbine blade surface phase structure recovered by plasma spraying. Coatings 2020, 10, 62. [Google Scholar] [CrossRef]
- Ghadami, F.; Davoudabadi, M.A.; Ghadami, S. Cyclic Oxidation Properties of the Nanocrystalline AlCrFeCoNi High-Entropy Alloy Coatings Applied by the Atmospheric Plasma Spraying Technique. Coatings 2022, 12, 372. [Google Scholar] [CrossRef]
- Yun, J.; Kim, Y.; Lee, J.M.; Song, H.; Wee, S.; Koo, J.M.; Lee, Y.Z.; Seok, C.S. The Study on Delamination Life of TBC through Burner-Rig Test. Int. J. Precis. Eng. Manuf. 2017, 18, 555–560. [Google Scholar] [CrossRef]
- Shahoo, P.; Sobieski, P.A. Performance Characteristics of Thermal Barrier Coatings: A Case Study. In Proceedings of the ASME Turbo Expo 2007: Power for Land, Sea and Air, Montreal, QC, Canada, 14–17 May 2007; Volume 5, pp. 191–197. [Google Scholar] [CrossRef]
- Witz, G.; Schaudinn, M.; Sopka, J.; Buecklers, T. Development of Advanced Thermal Barrier Coatings with Improved Temperature Capability. In Proceedings of the ASME Turbo Expo 2016: Turbomachinery Technical Conference and Exposition, Seoul, Korea, 13–17 June 2016; pp. 1–8. [Google Scholar] [CrossRef]
- Ghadami, F.; Sabour Rouh Aghdam, A.; Ghadami, S. Microstructural characteristics and oxidation behavior of the modified MCrAlX coatings: A critical review. Vacuum 2021, 185, 109980. [Google Scholar] [CrossRef]
- Hu, Z.C.; Liu, B.; Wang, L.; Cui, Y.H.; Wang, Y.W.; Ma, Y.D.; Sun, W.W.; Yang, Y. Research Progress of Failure Mechanism of Thermal Barrier Coatings at High Temperature via Finite Element Method. Coatings 2020, 10, 732. [Google Scholar] [CrossRef]
- Chang, S.; Oh, K.Y. Contribution of High Mechanical Fatigue to Gas Turbine Blade Lifetime during Steady-State Operation. Coatings 2019, 9, 229. [Google Scholar] [CrossRef]
- Wei, Z.Y.; Cai, H.N. Understanding the Failure Mechanism of Thermal Barrier Coatings Considering the Local Bulge at the Interface between YSZ Ceramic and Bond Layer. Materials 2021, 15, 275. [Google Scholar] [CrossRef]
- Kumar, S.; Kant, S.; Suri, N.M.; Verma, R. Effects of Thermal Barrier Coatings on Diesel and Gas turbine engines: A review. Int. Res. J. Eng. Technol. 2016, 3, 134–139. [Google Scholar]
- Abdul-Aziz, A.; Wroblewski, A. Durability Analysis and Experimental Validation of Environmental Barrier Coating (EBC) Performance Using Combined Digital Image Correlation and NDE. Coatings 2016, 6, 70. [Google Scholar] [CrossRef]
- Mevissen, F.; Meo, M. A Review of NDT/Structural Health Monitoring Techniques for Hot Gas Components in Gas Turbines. Sensors 2019, 19, 711. [Google Scholar] [CrossRef] [PubMed]
- Moskal, G.; Swadźba, R.; Witala, B. Non-Destructive Measurement of Top Coat Thickness in TBC Systems by 3D Optical Topometry. Nondestruct. Test. Eval. 2015, 30, 39–48. [Google Scholar] [CrossRef]
- Aschenbruck, J.; Adamczuk, R.; Seume, J.R. Recent Progress in Turbine Blade and Compressor Blisk Regeneration. Procedia CIRP 2014, 22, 256–262. [Google Scholar] [CrossRef]
- Kukla, D.; Kopec, M.; Sitek, R.; Olejnik, A.; Kachel, S.; Kiszkowiak, Ł. A Novel Method for High Temperature Fatigue Testing of Nickel Superalloy Turbine Blades with Additional NDT Diagnostics. Materials 2021, 14, 1392. [Google Scholar] [CrossRef]
- Bruchwald, O.; Nicolaus, M.; Frackowiak, W.; Reimche, W.; Möhwald, K.; Maier, H.J. Material characterization of thin coatings using high frequency eddy current technology. In Proceedings of the 19th World Conference on Non-Destructive Testing (WCNDT 2016), Munich, Germany, 13–17 June 2016; pp. 1–6. [Google Scholar]
- Chen, H.L.R.; Zhang, B.; Alvin, M.A.; Lin, Y. Ultrasonic Detection of Delamination and Material Characterization of Thermal Barrier Coatings. J. Therm. Spray Technol. 2012, 21, 1184–1194. [Google Scholar] [CrossRef]
- Zhang, S.; Lv, G.; Guo, S.; Zhang, Y.; Feng, W. Porosity Characterization of Thermal Barrier Coatings by Ultrasound with Genetic Algorithm Backpropagation Neural Network. Complexity 2021, 2021, 8869928. [Google Scholar] [CrossRef]
- Hastie, S.; Chan, A.; Wiens, K.; Nagy, D.; Tollett, R.; Lowden, P. Computed Tomography Wall Thickness Inspection to Support Gas Turbine Blade Life Extension. In Proceedings of the ASME Turbo Expo 2021: Turbomachinery Technical Conference and Exposition, Virtual, 7–11 June 2021; American Society of Mechanical Engineers: Huston, TX, USA, 2021. [Google Scholar] [CrossRef]
- Przysowa, R.; Chalimoniuk, M.; Grzelka-Gajek, D.; Shakalo, R.; Karpenko, A. CT Inspection of Cooled Turbine Blades. J. KONBiN 2020, 50, 307–331. [Google Scholar] [CrossRef]
- Zhao, Y.; Shinmi, A.; Zhao, X.; Withers, P.J.; Van Boxel, S.; Markocsan, N.; Nylen, P.; Xiao, P. Investigation of Interfacial Properties of Atmospheric Plasma Sprayed Thermal Barrier Coatings with Four-Point Bending and Computed Tomography Technique. Surf. Coat. Technol. 2012, 206, 4922–4929. [Google Scholar] [CrossRef]
- Błachnio, J.; Chalimoniuk, M.; Kułaszka, A.; Borowczyk, H.; Zasada, D. Exemplification of Detecting Gas Turbine Blade Structure Defects Using the X-ray Computed Tomography Method. Aerospace 2021, 8, 119. [Google Scholar] [CrossRef]
- Panas, A.J.; Senderowski, C.; Fikus, B. Thermophysical properties of multiphase Fe-Al intermetallic-oxide ceramic coatings deposited by gas detonation spraying. Thermochim. Acta 2019, 676, 164–171. [Google Scholar] [CrossRef]
- Curry, N.; VanEvery, K.; Snyder, T.; Markocsan, N. Thermal conductivity analysis and lifetime testing of suspension plasma-sprayed thermal barrier coatings. Coatings 2014, 4, 630–650. [Google Scholar] [CrossRef]
- Ptaszek, G.; Cawley, P.; Almond, D.; Pickering, S. Artificial Disbonds for Calibration of Transient Thermography Inspection of Thermal Barrier Coating Systems. NDT E Int. 2012, 45, 71–78. [Google Scholar] [CrossRef]
- Kidd, G.; Nunn, J. Application of Pulsed Thermography to Quality Assurance of Thermal Barrier Coatings. Proc. Inst. Mech. Eng. Part G J. Aerosp. Eng. 2012, 226, 873–880. [Google Scholar] [CrossRef]
- Chung, Y.; Lee, S.; Kim, W. Latest Advances in Common Signal Processing of Pulsed Thermography for Enhanced Detectability: A Review. Appl. Sci. 2021, 11, 12168. [Google Scholar] [CrossRef]
- Bogdan, M.; Błachnio, J.; Spychała, J.; Zasada, D. Assessment of usability of the exploited gas turbine blade heat-resistant coatings. Eng. Fail. Anal. 2019, 105, 337–346. [Google Scholar] [CrossRef]
- Wang, Y.; Gao, X.; Netzelmann, U. Detection of Surface Cracks in Metals under Coatings by Induction Thermography. In Proceedings of the 2018 International Conference on Quantitative InfraRed Thermography, QIRT Council, Berlin, Germany, 25–29 June 2018; pp. 602–611. [Google Scholar] [CrossRef]
- Liu, Z.; Jiao, D.; Shi, W.; Xie, H. Linear Laser Fast Scanning Thermography NDT for Artificial Disbond Defects in Thermal Barrier Coatings. Opt. Express 2017, 25, 31789. [Google Scholar] [CrossRef]
- Muzika, L.; Svantner, M.; Honner, M.; Houdkova, S. Laser Scanning Thermography for Coating Thickness Inspection. Eng. Proc. 2021, 8, 17. [Google Scholar] [CrossRef]
- Fukuchi, T.; Ozeki, T.; Okada, M.; Fujii, T. Nondestructive Inspection of Thermal Barrier Coating of Gas Turbine High Temperature Components. IEEJ Trans. Electr. Electron. Eng. 2016, 11, 391–400. [Google Scholar] [CrossRef]
- Isern, L.; Waddie, A.J.; Chalk, C.; Moore, A.J.; Nicholls, J.R. Non-Destructive Thickness Measurement of Thermal Barrier Coatings Using Terahertz Radiation. Emergent Mater. 2021, 4, 1547–1557. [Google Scholar] [CrossRef]
- Unnikrishnakurup, S.; Dash, J.; Ray, S.; Pesala, B.; Balasubramaniam, K. Nondestructive Evaluation of Thermal Barrier Coating Thickness Degradation Using Pulsed IR Thermography and THz-TDS Measurements: A Comparative Study. NDT E Int. 2020, 116, 102367. [Google Scholar] [CrossRef]
- Marinetti, S.; Robba, D.; Cernuschi, F.; Bison, P.G.; Grinzato, E. Thermographic Inspection of TBC Coated Gas Turbine Blades: Discrimination between Coating over-Thicknesses and Adhesion Defects. Infrared Phys. Technol. 2007, 49, 281–285. [Google Scholar] [CrossRef]
- Frackowiak, W.; Barton, S.; Reimche, W.; Bruchwald, O.; Zaremba, D.; Schlobohm, J.; Li, Y.; Kaestner, M.; Reithmeier, E. Near-Wing Multi-Sensor Diagnostics of Jet Engine Components. In Proceedings of the ASME Turbo Expo 2018: Turbomachinery Technical Conference and Exposition, Oslo, Norway, 11–15 June 2018; American Society of Mechanical Engineers: Huston, TX, USA, 2018; pp. 1–8. [Google Scholar] [CrossRef]
- Schlobohm, J.; Bruchwald, O.; Fra̧ckowiak, W.; Li, Y.; Kästner, M.; Pösch, A.; Reimche, W.; Maier, H.J.; Reithmeier, E. Advanced Characterization Techniques for Turbine Blade Wear and Damage. Procedia CIRP 2017, 59, 83–88. [Google Scholar] [CrossRef]
- Yang, D.; Pankov, V.; Zhao, L.; Patnaik, P. Laser deposited high temperature thin film sensors for gas turbines. Aircr. Eng. Aerosp. Technol. 2020, 92, 2–7. [Google Scholar] [CrossRef]
- Feist, J. Luminescent Thermal History Sensors Fundamentals and Applications for Thermal Profiling. In Proceedings of the STO-MP-AVT-229—Test Cell and Controls Instrumentation and EHM Technologies for Military Air, Land and Sea Turbine Engines, NATO STO, Rzeszów, Poland, 20–23 April 2015; pp. 1–15. [Google Scholar]
- Jenkins, T.P.; Hess, C.F.; Allison, S.W.; Eldridge, J.I. Measurements of turbine blade temperature in an operating aero engine using thermographic phosphors. Meas. Sci. Technol. 2020, 31, 044003. [Google Scholar] [CrossRef]
- Aust, J.; Pons, D.; Mitrovic, A. Evaluation of Influence Factors on the Visual Inspection Performance of Aircraft Engine Blades. Aerospace 2022, 9, 18. [Google Scholar] [CrossRef]
- Szczepankowski, A.; Przysowa, R. Thermal degradation of turbine components in a military turbofan. Eng. Fail. Anal. 2022, 134, 106088. [Google Scholar] [CrossRef]
- Bogdan, M.; Błachnio, J.; Kułaszka, A.; Zasada, D. Investigation of the Relationship between Degradation of the Coating of Gas Turbine Blades and Its Surface Color. Materials 2021, 14, 7843. [Google Scholar] [CrossRef]
- Kozakiewicz, A.; Jóźwiak, S.; Jóźwiak, P.; Kachel, S. Material Origins of the Accelerated Operational Wear of RD-33 Engine Blades. Materials 2021, 14, 336. [Google Scholar] [CrossRef]
- Kablov, E.; Muboyadzhyan, S.; Budinovskii, S.; Lutsenko, A. Ion-plasma protective coatings for gas-turbine engine blades. Russ. Metall. 2007, 2007, 364–372. [Google Scholar] [CrossRef]
- Yakovchuk, K.Y.; Rudoi, Y.É.; Onoprienko, E.V.; Malysheva, V.G. Effect of Protective Coatings on Mechanical Properties of ZhS32-VI Heat-Resistant Alloy. Strength Mater. 2010, 42, 352–361. [Google Scholar] [CrossRef]
- Swadzba, L.; Maciejny, A.; Mendala, B. Overaluminising of NiCoCrAlY Coatings by Arc PVD on Ni-Base Superalloys. In Proceedings of the Superalloys 2000 (Ninth International Symposium), Champion, PA, USA, 17–21 September 2000; pp. 693–701. [Google Scholar] [CrossRef]
- Guo, X.; Zheng, W.; Xiao, C.; Li, L.; Antonov, S.; Zheng, Y.; Feng, Q. Evaluation of microstructural degradation in a failed gas turbine blade due to overheating. Eng. Fail. Anal. 2019, 103, 308–318. [Google Scholar] [CrossRef]
- Wee, S.; Do, J.; Kim, K.; Lee, C.; Seok, C.; Choi, B.G.; Choi, Y.; Kim, W. Review on mechanical thermal properties of superalloys and thermal barrier coating used in gas turbines. Appl. Sci. 2020, 10, 5476. [Google Scholar] [CrossRef]
- Chen, K.; Seo, D.; Canteenwalla, P. The Effect of High-Temperature Water Vapour on Degradation and Failure of Hot Section Components of Gas Turbine Engines. Coatings 2021, 11, 1061. [Google Scholar] [CrossRef]
- Ułanowicz, L.; Dudziński, A.; Szczepaniak, P.; Nowakowski, M. Applying Protective Coating on the Turbine Engine Turbine Blades by Means of Plasma Spraying. J. Konbin 2020, 50, 193–213. [Google Scholar] [CrossRef]
- Budinovskij, S.; Mubojadzhjan, S.; Gajamov, A.; Kos’min, A. Udalenie zharostojkih pokrytij s poverhnosti pera lopatok turbin v vodnyh malokoncentrirovannyh rastvorah (Removal of heat-resistant coatings from the surface of the turbine blade airfoil in aqueous low-concentrated solutions). Technol. Met. 2006, 11, 40–45. [Google Scholar]
- Gazturbinny Dwigatel RD-33. Rukawodstwo po Techniczeskoj Ekspluatcji (RD-33 Gas-Turbine Engine. Technical Maintenance Manual) 0088.00.1700 RE; Chernyshev Moscow Machine-Building Enterprise: Moscow, Russia, 2010; Volume 1–4. [Google Scholar]
- Mentor Visual iQ VideoProbe Intelligent Inspection Solutions. Available online: https://www.everestvit.pl/images/pdf/Mentor-Visual-iQ-Everest-Waygate-03-2020.pdf (accessed on 6 March 2022).
- Mentor Visual iQ VideoProbe User’s Manual. Available online: https://www.instrumart.com/assets/MVIQ-manual.pdf (accessed on 6 March 2022).










| Material | Mass Fraction % | ||||||
|---|---|---|---|---|---|---|---|
| Cobalt (Co) | Chrome (Cr) | Aluminum (Al) | Yttrium (Y) | Hafnium (Hf) | Silicon (Si) | Nickel (Ni) | |
| AMDRY 386-4 | 22 | 17 | 12 | 0.5 | 0.5 | 0.4 | Base |
| Id | Coating Type | Blades | Damaged |
|---|---|---|---|
| A | SDP-2 + VSDP-16 | 37 | 0 |
| B | CVD | 5 | 5 |
| C | APS + VPA | 8 | 1 |
| D | Other | 4 | 0 |
| E | APS | 6 | 3 |
| F | APS + SLURRY | 5 | 5 |
| G | APS + TBC | 3 | 2 |
| H | Other | 5 | 0 |
| J | Other | 5 | 0 |
| K | Other | 4 | 0 |
| L | Other | 2 | 0 |
| Total | 84 | 16 |
| FH | Cycles | AB | MIL | MIL (FH) | MIL (min) | |
|---|---|---|---|---|---|---|
| 1 | 350 | 437 | 773 | 4998 | 45 | 2700 |
| 2 | 200 | 253 | 440 | 2818 | 26 | 1560 |
| 3 | 50 | 250 | 500 | 2750 | 25.0 | 1500 |
| 4 | 1 | 5 | 10 | 55 | 0.5 | 30 |
| 5 | 0.2 | 1 | 2 | 11 | 0.1 | 6 |
| Test Day | Total Test Hours | Total Test Cycles |
|---|---|---|
| 1 | 0 | 0 |
| 2 | 1 h 52′ | 5 |
| 3 | 5 h 52′ | 28 |
| 4 | 11 h 23′ | 52 |
| 5 | 15 h 01′ | 72 |
| 6 | 20 h 36′ | 98 |
| 7 | 26 h 18′ | 128 |
| 8 | 31 h 44′ | 155 |
| 9 | 37 h 09′ | 182 |
| 10 | 41 h 59′ | 206 |
| 11 | 46 h 38′ | 229 |
| 12 | 50 h 52′ | 250 |
| Coating | Blade | Operating Time | Cycles |
|---|---|---|---|
| B | 1 | 0 | 0 |
| B | 7 | 0 | 0 |
| B | 43 | 0 | 0 |
| B | 45 | 0 | 0 |
| B | 47 | 0 | 0 |
| C | 27 | 5 h 52′ | 28 |
| E | 11 | 11 h 23′ | 52 |
| E | 65 | 11 h 23′ | 52 |
| E | 71 | 11 h 23′ | 52 |
| F | 13 | 26 h 18′ | 128 |
| F | 55 | 15 h 01′ | 72 |
| F | 57 | 15 h 01′ | 72 |
| F | 61 | 15 h 01′ | 72 |
| F | 79 | 26 h 18′ | 128 |
| G | 15 | 0 | 0 |
| G | 21 | 0 | 0 |
Publisher’s Note: MDPI stays neutral with regard to jurisdictional claims in published maps and institutional affiliations. |
© 2022 by the authors. Licensee MDPI, Basel, Switzerland. This article is an open access article distributed under the terms and conditions of the Creative Commons Attribution (CC BY) license (https://creativecommons.org/licenses/by/4.0/).
Share and Cite
Szczepankowski, A.; Przysowa, R.; Perczyński, J.; Kułaszka, A. Health and Durability of Protective and Thermal Barrier Coatings Monitored in Service by Visual Inspection. Coatings 2022, 12, 624. https://doi.org/10.3390/coatings12050624
Szczepankowski A, Przysowa R, Perczyński J, Kułaszka A. Health and Durability of Protective and Thermal Barrier Coatings Monitored in Service by Visual Inspection. Coatings. 2022; 12(5):624. https://doi.org/10.3390/coatings12050624
Chicago/Turabian StyleSzczepankowski, Andrzej, Radoslaw Przysowa, Jerzy Perczyński, and Artur Kułaszka. 2022. "Health and Durability of Protective and Thermal Barrier Coatings Monitored in Service by Visual Inspection" Coatings 12, no. 5: 624. https://doi.org/10.3390/coatings12050624
APA StyleSzczepankowski, A., Przysowa, R., Perczyński, J., & Kułaszka, A. (2022). Health and Durability of Protective and Thermal Barrier Coatings Monitored in Service by Visual Inspection. Coatings, 12(5), 624. https://doi.org/10.3390/coatings12050624

