Next Article in Journal
Green Nanocomposite for the Adsorption of Toxic Dyes Removal from Colored Waters
Previous Article in Journal
Considering Thermal Diffusivity as a Design Factor in Multilayer Hybrid Ice Protection Systems
 
 
Font Type:
Arial Georgia Verdana
Font Size:
Aa Aa Aa
Line Spacing:
Column Width:
Background:
Article

Study of Anti-Stripping Measures to Improve the Adhesion of Asphalt to Granite Aggregates

1
School of Transportation and Civil Engineering, Shandong Jiaotong University, Jinan 250357, China
2
Design Institute Branch, Zhejiang Communications Construction Group Co., Ltd., Hangzhou 310051, China
*
Author to whom correspondence should be addressed.
Coatings 2022, 12(12), 1954; https://doi.org/10.3390/coatings12121954
Submission received: 3 November 2022 / Revised: 7 December 2022 / Accepted: 9 December 2022 / Published: 13 December 2022

Abstract

Granite is very widely distributed in the world, but granite is an acidic aggregate with poor adhesion to asphalt. In untreated asphalt mixtures, asphalt pavement water damage and loose disease are more prominent, affecting the service life of the pavement and service level. Enhancing the road performance of granite asphalt mixture generally improves the adhesion properties of asphalt and granite. Qingchuan rock asphalt, anti-stripping agent KH5, aliphatic amine anti-stripping agent AJ-1 and two groups of the composite anti-stripping agents were used to modify the asphalt and analyze the effect of different anti-stripping agents on the improvement of asphalt-granite aggregate adhesion properties based on the surface free energy (SFE) theory. Second, the effect of anti-stripping agents on the rheological properties of asphalt were analyzed by rheological tests, and the modification effect of granite asphalt mixture road performance was evaluated by Marshall tests. The aging of asphalt and asphalt mixture was simulated by thermal oxygen aging, and the durability of different anti-stripping agents was investigated by comparing the performance of asphalt and asphalt mixtures before and after aging. The results showed that Qingchuan rock asphalt can effectively enhance the high-temperature stability and anti-aging properties of asphalt mixes, but the low temperature performance was relatively poor. KH5 and AJ-1 can make up for the lack of low temperature performance of rock asphalt, but the water stability of asphalt mixes decreases after aging. All five groups of anti-stripping agents improve the adhesion of granite-asphalt and the water stability of the asphalt mixture to some extent. Considering the aging effect, the order of granite-asphalt mixture water stability is: KH/RAMA > AJ/RAMA > RAMA > KHMA > AJMA.

1. Introduction

Asphalt mixtures are mainly comprised of asphalt, filler, and skeleton aggregate, in which the skeleton aggregate mass accounts for about 95% of the total mass of the asphalt mixture, which is an important component of it, and the nature of skeleton aggregate has an important impact on the operational quality and maintenance cost of asphalt pavement [1,2,3]. According to the skeleton aggregate, chemical properties can be classified as acidic aggregate, neutral aggregate, and alkaline aggregate. As asphalt is weakly acidic, in order to ensure good adhesion between asphalt and aggregate, neutral or alkaline aggregates are usually chosen as the skeletal aggregate for asphalt mixtures in road engineering construction. However, with the rapid development of road engineering in China, high-quality neutral or alkaline stone resources are consumed in large quantities [4,5]. As stone is a non-renewable resource, the over-exploitation and use not only causes irreversible damage to the natural environment, but has also lead to a tight supply of stone resources in some areas of China. The national transportation industry requirements advocated by “green transportation” greatly increased the construction cost and construction cycle of asphalt pavement. Therefore, in order to alleviate the supply of alkaline stone tension and achieve the healthy development of road construction, the application of acid aggregates such as granite in road engineering construction has gradually become an important research topic.
China’s granite and other acidic rocks are widely distributed and abundant and have the advantages of being a hard stone, having a dense structure, strong abrasion resistance, and skeleton-embedded prominence. If local materials such as granite acid stone are widely used in road construction and maintenance, this can significantly reduce costs, shorten the construction period, and achieve the rational use of resources [6]. Due to the strong hydrophilicity and lipophilicity of acidic aggregates such as granite, when water molecules invade the granite-asphalt interface, the asphalt adsorbed on the surface of the aggregate is easily repositioned by water molecules, resulting in stripping between the asphalt and the aggregate. In the absence of special technical treatments, there is a general lack of adhesion between the granite aggregates and the asphalt [7,8]. At present, there are three main measures to improve the adhesion between granite and asphalt: replacing part of the mineral powder with active materials such as slaked lime powder or cement, modifying asphalt with anti-stripping agents, and pretreating granite coarse aggregates with lime water [9,10,11]. Because asphalt anti-stripping agents not only have the advantages of convenient use and remarkable effect, but also have good development potential, the asphalt anti-stripping agent is mainly used at home and abroad to improve the adhesion of granite aggregates and asphalt, and a lot of research has been conducted on the effect and mechanism of using asphalt as an anti-stripping agent. After a long period of research, many studies have been completed, and more papers in this area have been published. and technical specifications.
In the 1980s, the US Federal Highway Administration (FDA) studied the effects of solid inorganic anti-stripping agents and liquid organic anti-stripping agents on asphalt mixtures. It has been noted that asphalt mixtures using a combination of slaked lime powder and liquid anti-stripping agents have better water stability than those using a single anti-stripping agent. At the same time, the study also pointed out that some liquid anti-stripping agents can effectively improve the water stability of an asphalt mixture in the early stages of use. However, as the deepening of asphalt mixture ages, the anti-stripping agent gradually decomposes and fails, resulting in the insufficient durability of the asphalt mixture, and the problem of water damage in asphalt pavements thus continues to exist [12]. In 1988, the Strategic Highway Research Program (SHRP) project was proposed in the United States to improve the water stability of asphalt mixtures and reduce the water damage to asphalt pavement caused by insufficient adhesion between the asphalt and the aggregate. The SHRP program proposed the addition of asphalt anti-spalling agents as the main method to improve the water stability of asphalt mixtures [13,14]. At the same time, the SHRP program classified and categorized different types of anti-stripping agents according to their characteristics, chemical composition, and mechanisms of action. In the technical specifications for the construction of asphalt mixtures for highways in Japan, it was proposed that anti-stripping agents such as cement, lime, and amines can be used to improve the adhesion between asphalt and aggregates if the water stability of asphalt concrete pavement was insufficient. At the same time, the specification indicates the amount of asphalt mixture to be mixed with slaked lime powder, cement, and other anti-stripping agents, in addition to the methods of use [15]. Ding used a molecular dynamics simulation to study the effect of silane coupling agents on the adhesion properties of granite and asphalt. The results showed that the silane coupling agent can effectively improve the adhesion of asphalt and granite aggregates, which was comparable to alkaline aggregates. At the molecular scale, the addition of silane coupling agents can significantly increase the concentration distribution of asphalt molecules on the aggregate surface [16]. Wang used a silane coupling agent and slaked lime to improve the water stability of the granite asphalt mixture, and the experimental results showed that both the silane coupling agent and slaked lime can effectively improve the road performance of granite and asphalt, and the combination of the two achieved the best effect [17]. Peng investigated the effect of a new composite anti-spalling additive DMA-NSDD, consisting of the marine biomimetic materials dopamine methacrylamide (DMA) and nano-silica dispersion (NSDD), on the properties of asphalt and its mixtures, and the results showed that the asphalt-aggregate adhesion and water stability of asphalt mix with DMA-nSDD were significantly improved, and the improvement effect of DMA-NSDD on the performance of granite aggregate asphalt mixture was better than that of the limestone aggregate asphalt mixture [18]. Zhang explored the feasibility of using low-grade granite aggregates, solid waste fillers (desulfurization gypsum residue, DGR), and binders (waste tire rubber modified asphalt, RMA) in asphalt mixes, and the results showed that both RMA and DGR had positive effects on the low-temperature crack resistance and fatigue performance of granite asphalt mixes. DGR enhanced the moisture stability, and RMA contributed more to the high-temperature deformation resistance of the granite asphalt mixture, which compensated for the lack of high temperature stability of DGR. The results demonstrated that the granite, DGR, and RMA-formulated asphalt combination had good road performance [19]. Li used waste plastic derivatives as a novel anti-stripping agent to improve the road performance of granite asphalt mixtures. The experimental results found that the waste plastic derivative could effectively improve the water damage resistance of the asphalt mixture [20]. Ye used a variety of anti-stripping agents to improve the adhesion properties and road performance of granite asphalt mixtures. The test results demonstrated that Qingchuan rock asphalt and SBS may substantially enhance the water stability and road performance of granite asphalt mixtures [21]. Arabani used liquid anti-stripping agents (Wetfix BE and Wetfix AP17) to modify No. 70 matrix asphalt, and the test results showed that Wetfix AP17 could more effectively improve the water stability of granite asphalt mixture compared with Wetfix BE [22]. Peng et al. used KH550, KH560, KH570, and KH792 to modify the matrix asphalt and investigated the effect of the four anti-stripping agents on the improvement of adhesion between the matrix asphalt and the aggregate from macroscopic and microscopic perspectives [23]. To ascertain the impact of steel slag on the road performance of granite asphalt mixtures, Zhao employed asphalt mixes produced with granite and steel slag (GSAM) and compared them to asphalt mixes made with limestone aggregates. The findings demonstrated that steel slag may successfully enhance the granite asphalt mixture’s high-temperature stability, low-temperature crack resistance, and water stability [24]. Muniandy used waste ceramics to replace part of the granite aggregates, showing that the strength of the mixture peaked at 20% of ceramic aggregates smaller than 5 mm [25]. Liu used plant ash by-products as anti-stripping agents to improve asphalt-granite aggregate adhesion properties. According to scanning electron microscope observations, it can be observed that the plant ash by-products formed reticular crystals at the interface between the asphalt and aggregate, which can enhance the interfacial bond between the asphalt and aggregate and prevent asphalt film spalling [26].
Researchers have confirmed that adding anti-stripping agents to asphalt can effectively improve the adhesion of granite aggregates to asphalt. However, at present, the improvement effect of the anti-stripping agent is mainly devoted to the direction of the mixture, and the mechanism of the anti-stripping agent’s action and the change of asphalt adhesion performance before and after aging are less studied. Therefore, in this paper, three anti-stripping agents, namely Qingchuan rock asphalt, amine anti-stripping agent AJ-1 and anti-stripping agent KH5, were selected to modify the asphalt. Based on the surface energy theory, the surface energy parameters of asphalt and granite were determined by using the lying drop method, and the effect of the anti-spalling agent on the adhesion strength and cohesion strength of asphalt-granite aggregate interface was evaluated by calculating the spalling work and cohesion work of asphalt and granite aggregate. This study also gives scientific and technical advice for the design of granite asphalt mixes while thoroughly examining the rheological characteristics of asphalt and the road attributes of mixtures.

2. The Surface Free Energy Theory

2.1. Fundamentals of Surface Free Energy

The change in the surface area of an object in a constant temperature vacuum environment is bound to produce energy exchange with the external environment, mainly because the intermolecular force inside the material and the surface molecules of the material are not the same. The internal molecules of the material are in the symmetric force field generated by the surrounding molecules, while the molecules on the surface of the material are in the asymmetric force field only by the internal molecules, thus giving the surface of the material a contracting nature [27]. According to this property, the surface tension or surface energy of liquids can be determined by a liquid tensiometer, but it is difficult to determine the surface tension or surface energy of solid materials. Therefore, to determine the surface energy parameters of solid materials more accurately, Fowkes, Good and van Oss developed an indirect method for measuring the surface energy of materials in 1964 and pointed out that the surface free energy of materials can be composed of dispersive and polar components, while the polar component includes two parts, the Lewis acid and Lewis base [28,29], whose expression is shown in Equation (1).
Γ = Γ L W + Γ A B = Γ L W + 2 Γ + Γ
where Γ is the material surface free energy, ΓLW is the dispersion component, ΓAB is the polarity component, Γ+ is the Lewis acid component, and Γ is the Lewis base component. For the convenience of expression, the subscripts A, S, L, W and SL for the following surface energy components denote asphalt, solid (aggregate), test liquid, water, and solid-liquid interface, respectively.
For solid-liquid interfaces, Ones and Wendt stated that there is a geometric average relationship between the polar acid-base components, non-polar dispersion components, and surface acid-base components for liquids and solids [30]. Therefore, the surface free energy of the solid-liquid interface is calculated as shown in Equation (2).
Γ S L = Γ S + Γ L 2 Γ S L W Γ L L W 2 Γ S + Γ L 2 Γ S Γ L +
Thomas Young first used the contact angle of the solid-liquid-gas contact interface to depict the equilibrium state of the liquid on the solid surface, as shown in Figure 1, and proposed the well-known Young’s model to characterize the interaction forces between the solid and the liquid [31], and the computational model is expressed in the form of Equation (3).
Γ L cos θ = Γ S Γ S L
where θ indicates the magnitude of the solid-liquid-gas contact angle.
Combined with Equation (2), the relationship between the solid-liquid-gas contact angle and the solid-liquid interface free energy can be obtained, as shown in Equation (4).
Γ L 1 + cos θ = 2 Γ L L W γ S L W + Γ S + Γ L + Γ S Γ L +
Assuming that the surface energy parameters Γ S L W , Γ S + , and Γ S of the solid material are x1, x2 and x3, Equation (4) can be deformed to Equation (5).
Γ L 1 + cos θ = 2 Γ L d x 1 + Γ L x 2 + Γ L + x 3
If the surface energy parameter liquid of multiple sets of reagents is determined, and the contact angle between the reagent and the solid is determined, the matrix equation for solving the surface energy parameters of the solid can be obtained by substituting Equation (5), as shown in Equation (6).
Γ L 1 L W Γ L 1 + Γ L 1 Γ L 2 L W Γ L 2 + Γ L 2 Γ L 3 L W Γ L 3 + Γ L 3 x 1 x 2 x 3 = 1 2 1 + cos θ 1 Γ L 1 1 + cos θ 2 Γ L 2 1 + cos θ 3 Γ L 3

2.2. Fundamentals of Surface Free Energy

Cohesion work is an important parameter in fracture mechanics and is used to account for the energy required for microcrack growth in asphalt binders. The cohesive work characterizes the adhesion properties of the asphalt itself; the larger the value, the better the crack resistance, and the more difficult it is for moisture to penetrate the asphalt film into the asphalt-aggregate interface. The cohesive work is the energy required to fracture a homogeneous substance at a constant vacuum temperature and produce two identical interfaces, so the cohesive energy of an asphalt material can be considered as twice the surface energy of asphalt [32,33], which can be expressed in Equation (7) as:
W A A = 2 Γ A L W + 2 Γ A A B
where WAA is the cohesive work of asphalt.
Adhesion work refers to the external work required to separate the interface of two phases in a vacuum constant temperature environment. Under water-free conditions, the energy present inside the asphalt mixture is the asphalt-aggregate adhesion bond energy, whose expression is shown in Equation (8), Under the condition of water, the internal energy of the system can be considered as the asphalt-water and aggregate-water two-phase system adhesion bond energy [34]. Therefore, the adhesion model of the three-phase system can be expressed in Equation (9) as:
W A S = 2 Γ A L W Γ S L W + Γ A + Γ S + Γ A Γ S +
W A W S = 2 Γ A L W Γ W L W + Γ S L W Γ W L W Γ A L W Γ S L W Γ W + Γ W + Γ A + Γ S + Γ A + Γ W Γ S + Γ S + Γ W Γ A
where WAS is the work of adhesion between asphalt and aggregate in an anhydrous state, and WAWS is the work of adhesion between asphalt and aggregate in an aqueous state.
The adhesion work under anhydrous conditions characterizes the amount of the energy released to the outside world when the asphalt and aggregate are combined into an asphalt-aggregate system; the greater the adhesion work, the more stable the asphalt-aggregate system, the better the adhesion. The adhesion work under water conditions can also be referred to as the stripping work, which characterizes the internal structure of the asphalt mixture, and the dynamic water pressure formed inside the mixture under the action of external load will flush the asphalt mixture, and the moisture will gradually replace the asphalt film wrapped around the aggregate surface; therefore, the asphalt-aggregate system inside the mixture is dispersed into two systems of asphalt-water and water-aggregate. In this process, the energy released from the system to the outside world is the spalling work, and the greater its value, that is, the more energy released from the system to the outside, the easier it is to replace the asphalt paste film that wraps the surface of the aggregate, and the greater the likelihood of water damage disease in the asphalt mixture [34].

2.3. Energy Ratios (ER1 and ER2)

Cohesive work, adhesion work and peeling work of granite asphalt mixture is used to evaluate the bonding performance of asphalt and aggregate or the water damage resistance of asphalt mixes from one side, and cannot comprehensively evaluate the water stability strength of asphalt-aggregate systems. Therefore, to better evaluate the water stability of the asphalt-aggregate system, Bhasin et al. proposed a water stability index based on the use of asphalt cohesion work, asphalt-aggregate adhesion work, and spalling work based on a large number of experiments; a larger value of ER means a better water stability of the asphalt-aggregate system [35], whose expressions are shown in Equations (10) and (11). ER1 and ER2 both characterize the strength of water stability of asphalt mixtures, but ER2 considers the cohesive function of asphalt material, so this paper takes ER2 as the evaluation index of water stability of the asphalt-aggregate system.
E R 1 = W A S W A W S
E R 2 = W A S W A A W A W S

3. Materials and Test Methods

3.1. Experimental Materials

3.1.1. Asphalt

The asphalt used in this paper was Qilu 70-A matrix asphalt, according to the “Standard Test Methods of bitumen and Bituminous Mixtures for Highway Engineering” (JTG E20-2011) [36] for the performance indexes related to the 70-A base asphalt of the relevant tests, and the index results are shown in Table 1.

3.1.2. Aggregate

The granite acidic aggregate selected for this paper was produced in the coastal area of Weihai, Shandong Province. The specifications of granite coarse aggregate used were 10~20 mm, 10~15 mm and 5~10 mm, 3~5 mm. The road performance of the granite coarse aggregate aggregates used was tested according to the test procedure, and the test results are shown in Table 2.
The granite fine aggregate used in this paper was 3~5 mm and 0~3 mm granite machine-made sand. According to the test protocols, the technical performance indexes of granite machine-made sand were tested, and the indexes are shown in Table 3.
Mineral powder is obtained by crushing and grinding water-repellent and strongly alkaline stones such as limestone. Mineral powder accounts for a small percentage of the asphalt mixture, but it has an important impact on the overall performance of the asphalt mixture and is one of the determinants of the overall performance of asphalt pavement. Mineral powder performance indicators were tested, and the results are shown in Table 4.

3.1.3. Anti-Stripping Agent

Three anti-stripping agents were used in this test, namely Qingchuan rock asphalt RA, anti-stripping agent KH5, and the amine anti-stripping agent AJ-1.
Qingchuanyan asphalt is a kind of natural asphalt, black solid, and has similar composition with the base asphalt. In engineering application, Qingchuanyan asphalt can reduce the segregation of modified asphalt and has good storage stability.KH5 is soluble in organic solvents, but acetone and carbon tetrachloride are not suitable as diluents. It has good compatibility with asphalt and plays an important role in improving the adhesion of asphalt and aggregate.
AJ-1 asphalt anti stripping agent is a new type of aliphatic amine asphalt anti stripping material, which can be applied to two kinds of stone polymer active compounds, acid and alkali.

3.2. Test Scheme

The technical results of KH5, AJ-1, and Qingchuan rock asphalt were studied [37,38], the proposed mixture of KH5 and AJ-1 was 0.8%, and the yield of Qingchuan rock asphalt was 4.5%, as shown in Table 5.
To better study the improvement effect of different anti-stripping agents on the adhesion of asphalt and granite aggregates, two groups of asphalt and aggregates commonly used in road engineering were added as blank control groups, namely 70-A with alkaline aggregate limestone combination and 70-A with neutral aggregate basalt combination, and the test scheme is shown in Table 6. The road performance test scheme of the asphalt mixture is shown in Table 7.

3.3. Preparation of Modified Asphalt and Mixture

3.3.1. Asphalt Mixture

This study selected the AC-13 asphalt mixture for testing, and the AC-13 granite asphalt mixture of mineral material gradation: 10–16 mm: 5–10 mm: 3–5 mm: 0–3 mm: ore powder = 29%: 30%: 7%: 31.5%: 2.5%. In this section, according to the “Standard Test Methods of bitumen and Bituminous Mixtures for Highway Engineering” (JTG E20-2011) [36], combined with the practical experience of actual asphalt pavement engineering and with experience and formulas, five sets of standard Mar stress specimens with different oil-to-rock ratios were prepared and the estimated oil-to-rock ratio of granite asphalt mixture was calculated to be 4.5%, and five different oil-to-rock ratios were taken at 0.5% intervals. It determined the volume index and mechanical index of the molded Marshall specimen according to the test procedures, and determined the optimal oil-to-stone ratio of granite asphalt mixture to be 4.9%.

3.3.2. KHMA

The 70-A matrix asphalt was heated in the oven at 145 °C for 2 h and sheared at 3000 r/min. KH5 was added during the shearing process, and the temperature was raised to 165 °C after the addition was completed and sheared at 165 °C for 30 min. After the shearing was completed, it was put into the oven at 100 °C for 30 min development.

3.3.3. AJMA

The 70-A base asphalt and anti-spalling agent AJ-1 were heated in 145 °C ovens to a flowing state, and the asphalt was sheared at 3000 r/min while adding the AJ-1 in flowing state to the asphalt for shearing. After adding, the temperature was raised to 165 °C for 30 min. after shearing, and the asphalt was put into the oven at 100 °C for 30 min.

3.3.4. RAMA

70-A base asphalt was heated in a 145 °C oven for 2 h and the shear temperature was set to 165 °C. When the temperature was stabilized, it was added and then sheared in asphalt at 3000 r/min for 30 min in a 165 °C environment and sheared asphalt after completing 30 min of development in a 165 °C oven [39].

3.3.5. KH/RAMA

The 70-A base asphalt was heated in the oven at 145 °C for 2 h and sheared at 3000 r/min. KH5 was added during the shearing process, and the temperature was raised to 165 °C after the addition was completed, and then the asphalt was sheared at 3000 r/min for 30 min under the environment of 165 °C. After the shearing was completed, the asphalt was placed in the oven at 165 °C for 30 min.

3.3.6. AJ/RAMA

The 70-A base asphalt and the anti-spalling agent AJ-1 were heated to the flowing state in the oven at 145 °C. The asphalt was sheared at 3000 r/min, while the AJ-1 in the flowing state was added to the asphalt for shearing. After adding, the temperature was increased to 165 °C and the temperature was stabilized, and the asphalt was then sheared at 3000 r/min for 30 min at 165 °C before the asphalt was placed in the oven at 165 °C for 30 min.

3.4. Contact Angle Test

Aggregates were prepared by a rock slicer, and the rocks were cut into cuboids of approximately 15 mm × 15 mm × 10 mm in size and sanded sequentially using sandpaper of fineness from coarse to fine to ensure that both sides of the stone were smooth. The six types of asphalt selected for the test were heated to a molten state, poured on washed slides, and then hung in an oven at 160 °C. The asphalt was left for 2 min to flow freely on the slides to form a thin layer and to prepare the asphalt specimens. Three sets of each asphalt were prepared in parallel and, finally, the slides were placed in a desiccator for 12 h before use.
The contact angle was determined by the lying drop method, and the dynamic contact angle measuring instrument produced by Shanghai was chosen, as shown in Figure 2a. Three test liquids were selected to determine the contact angles between various types of asphalt and granite aggregates, and the size of adhesion between granite aggregates and different asphalt was calculated by the surface energy theory formulas. Distilled water, ethylene glycol and formamide were selected as the test liquids with the surface energy parameters shown in Table 8. The test temperature was controlled at 25 °C, the test liquid was slowly dropped on the sample surface with a syringe, and the contact angle of the droplet was measured by the ring method, as shown in Figure 2b, and the test was repeated five times for each group of tests, with its average value as the final contact angle of this measurement.

3.5. Rheological Properties of Asphalt

3.5.1. Multiple Stress Creep Recovery Test

According to the test method of AASHTO T, 350-2019 on multi-stress creep recovery test for asphalt [40], a Gemini II ADS type dynamic shear rheometer with strain control was used in this paper with a test start temperature of 58 °C and loading stresses of 0.1 kPa and 3.2 kPa. The test results were evaluated using the irrecoverable creep elasticity Jnr and creep recovery rate R to assess the high-temperature rheological properties of the asphalt with the following meanings.
Creep recovery rate R indicates the proportion of elastic deformation in the multiple stress creeps recovery test. A larger R value indicates that the asphalt material can be recovered under high-temperature conditions, and the greater the deformation, the better the high-temperature stability. The unrecoverable creep flexibility Jnr represents the energy consumption generated by plastic deformation after the end of the loading cycle under different stress conditions; the smaller the Jnr, the smaller the irrecoverable deformation of the asphalt and the better the resistance to deformation at high temperatures.

3.5.2. Bending Beam Rheological Test

The bending beam rheological test was performed on asphalt according to the test method of AASHTO TP 125 [41], and the instrument used in this test was a TE-BBR-F thermoelectric bending beam rheometer manufactured by CANNON, USA, with the test temperature of −12 °C. The results of the test adopted the creep stiffness S and creep rate m at the 60th s in the bending beam rheological test as an index to evaluate the low-temperature crack resistance, with the following meanings.
Creep stiffness S indicates the asphalt’s low-temperature deformation resistance, and the larger the value of S, the more likely the asphalt is to crack. The creep rate m is the tangent slope of the creep curve in a logarithmic coordinate system, which can be seen as the rate of change in creep stiffness.

3.5.3. Asphalt Aging Test

Short-term aging and long-term aging of asphalt are two different aging processes. Short-term aging is the aging of asphalt caused by heat during the construction period of asphalt pavement, starting from the mixing station and ending when the temperature drops to the natural temperature after asphalt pavement compaction. Long-term aging is the aging of asphalt pavement through the mixing station operation, under the combined effect of light, temperature, precipitation and traffic load, and the temperature drops to terminate after asphalt pavement compaction; the short-term aging of asphalt was simulated with a rotating film oven, and the residue after RTFOT was simulated with a pressure aging instrument at 100 °C, 2.1 MPa and 20 h. The test methods were referred to as AASHTO T 240 and AASHTO R 28 [42,43].

3.6. Road Performance Test of Mixture

3.6.1. High Temperature Performance Test of Mixture

This paper uses a rutting test to determine the high-temperature stability of granite asphalt mixes. The test specimen was prepared by the wheel rolling method with the size of 300 mm × 300 mm × 50 mm granite asphalt mixture rutting plate. The test piece and the mold were cooled at room temperature for 12 h and then placed in the oven at 60 °C for five hours. The rutting plates were then rolled using a rutting tester with a wheel pressure size of 0.7 ± 0.05 MPa and a travel speed of 42 ± 1 times/min. In the rutting test, the dynamic stability DS is used to evaluate the high-temperature stability of the asphalt mixture with the formula shown in Equation (12).
D S = t 2 t 1 × N d 2 d 1 × C 1 × C 2
where DS donates asphalt mixture dynamic stability, times/mm; d1 donates t1 moment rutting plate deformation, mm; d2 donates t2 moment rutting plate deformation, mm; C1 donates test machine correction factor, C1 = 1.5; C2 donates test correction coefficient, the value is 1.0; N donates crushing speed, times/min.

3.6.2. Low Temperature Performance Test of Mixture

In this paper, the maximum bending strain of trabecular is used as an index to evaluate the low-temperature performance of the asphalt mixture, the test temperature is −10 °C, the specimen size is 250 mm × 30 mm × 35 mm, the test instrument is an MTS-810, the middle point loading adopts the three-point bending damage loading mode, the loading rate is 50 mm/min, and the bending tensile strength, maximum damage strain and bending stiffness modulus are used to evaluate the low-temperature performance of granite asphalt mixture.

3.6.3. Water Stability Test of Mixture

This section studies the effects of different anti-stripping agents on the water stability of a granite asphalt mixture by a freeze-thaw splitting experiment. The specimens used in the freeze-thaw splitting test were Marshall specimens compacted 50 times on both sides, and the specimens were divided into two groups; one group of specimens was immersed in a constant temperature water bath at 25 °C for 2 h to test the splitting strength and recorded as R1, while the other group of Marshall specimens was immersed in a constant temperature water bath at 25 °C for 2 h. The sample is then immersed in water and vacuumized for 15 min, then placed in an environmental chamber at −18 ° C for 16 h, and then placed in a constant temperature water bath at 60 ° C for 24 h. The specimens were then put in a constant temperature water bath at 25 °C for 2 h to test splitting strength, and recorded as R2. Their residual strength ratios f were calculated according to Equation (12) as an evaluation index for the water stability of asphalt mixes.
R 0 = R 2 R 1 × 100 %

3.6.4. Mixture Aging Test

Due to the disadvantages of poor long-term stability of the anti-stripping agent, that is, a good anti-stripping effect in the early stages, but serious water damage in the later stage after a period of aging and degradation or loss of anti-stripping agent components, the thermal oxygen aging method of granite asphalt mixture was used to evaluate the long-term stability of granite asphalt mixtures. The aging phenomenon of asphalt mixtures is one of the most important factors affecting the quality and life of asphalt pavement, thus it is particularly important to fully consider the influence of aging factors in the performance evaluation of asphalt and asphalt mixtures and to use accurate and reasonable aging simulation test methods [2]. In this study, oven heating was used to simulate the aging of the asphalt mixture, and the aging of asphalt mixtures was controlled by controlling the oven temperature and heating time.

4. Results and Discussion

4.1. SFE Properties

4.1.1. SFE Components of Asphalt and Aggregate

To ensure the accuracy of the test, the contact angle data were re-measured if the coefficient of variation CV of the test results exceeded 5% in the tests measuring the contact angle θ. The test data are shown in Table 9 and Table 10. The contact angle data were substituted into Equation (6) and the matrix equation was solved to obtain the ΓA of the asphalt and aggregate, the dispersion component Γ A L W , and the polarity component Γ A A B , as shown in Figure 3.
As shown in Figure 3a, compared with the matrix asphalt, the surface free energy of all five groups of modified asphalt showed significant increases in AJMA (10.2%), KHMA (32.0%), RAMA (35.4%), AJ/RAMA (39.5%), and KH/RAMA (50.3%), respectively. It can be seen that both AJ-1 and KH5 can effectively enhance the surface energy of asphalt, but the effect of AJ-1 was much smaller than that of KH5. Meanwhile, compared with the surface energy fraction of the matrix asphalt, the polar fraction and dispersion fraction of KHMA and AJMA was larger than that of the matrix asphalt, indicating that KH5 and AJ-1 increase the polar force and dispersion force between asphalt molecules, and the increase of polar force was slightly larger than that of the dispersion force, primarily because the main components of KH5 and AJ-1 contain a large number of organic functional groups, and the functional groups can react with asphalt to produce a large number of polar chemical bonds. The reaction between the functional groups and the asphalt molecules generates many polar chemical bonds, effectively increasing the polar force between the asphalt molecules.
Although the surface energies of KHMA and RAMA were quite similar, their surface energy components were very different. The growth of the polar and dispersive components of KHMA was fairly comparable to that of the matrix asphalt, but the increase of the dispersive component of RAMA was much more than the polar component. This was mostly due to the chemical similarities between matrix asphalt and rock asphalt and their favorable compatibility. Moreover, rock asphalt contained many asphaltenes, metal ions and mineral ions such as calcium carbonate, which made a great increase in the average molecular weight of asphalt, thus making the asphalt molecular dispersion force enhanced. Compared with RAMA, the increase of surface free energy of the composite-modified asphalt was AJ/RAMA (3.0%) and KH/RAMA (11.1%), respectively. C The largest increase in surface free energy of the composite modified asphalt is mainly due to the increase in asphalt dispersion fraction.
It can be seen from Figure 3b that the surface energy of different aggregates differed greatly, the dispersion components of the three aggregates were very close, and the difference in surface energy was mainly due to the different polar acid-base fractions of the aggregates.

4.1.2. SFE Components of Asphalt and Aggregate

Cohesion work indicates that the amount of energy required for cohesive damage of the asphalt material itself under strain, and the larger the cohesion work value, the better the effect of its resistance to cohesive damage, and the more difficult it is for water molecules to diffuse in the asphalt film. According to the definition of Gibbs free energy, when the cohesion work of asphalt was positive in the absence of water, it indicated that the cohesive destruction of asphalt requires the process of absorbing energy from the outside world to be carried out. Consequently, the larger the value, the higher the adhesion and cohesion strength.
From Figure 4, it can be seen that the cohesive work of KHMA and AJMA was increased compared with the matrix asphalt, which indicated that both KH5 and AJ-1 can effectively improve the cohesive strength of the matrix asphalt, which was mainly because the organic functional groups inside KH5 and AJ-1 can chemically react with the carboxyl groups in the asphalt molecules to form complexes, and the compounds inside KH5 and AJ-1 have stronger polarity, which can form hydrogen bonds with nitrogen-containing groups and oxygen-containing groups in asphalt, thus enhancing the cohesive strength between asphalt molecules [4]. The cohesive work of KHMA was greater than that of AJMA compared with KHMA, indicating that silane coupling agent KH5 enhanced the cohesive strength of asphalt due to the aliphatic amine anti-stripping agent AJ-1.
Compared with matrix asphalt, the cohesion work of RAMA was improved, indicating that rock asphalt can effectively improve the cohesion strength of matrix asphalt, mainly because rock asphalt contains more asphaltenes, mineral ions and metal ions. It decreased the intermolecular gaps inside the asphalt and increased the cohesive strength, reduced the generation of microcracks inside the asphalt and reduced the degree of diffusion of water molecules in the asphalt, thus improving the cohesive strength of the asphalt. Compared with RAMA, the cohesive work of KH/RAMA had increased significantly, while the increase of AJ/RAMA cohesion work was small. It is evident that the beneficial effect created by the composite superposition of rock asphalt and silane coupling agent was more obvious. This was primarily because the organic functional groups in the silane coupling agent can cross-link and polymerize with the reactive groups in rock asphalt (carboxyl, carbonyl, aldehyde, naphthalene, etc.) to form macromolecular functional groups, which greatly increased the dispersive and polar forces of RAMA [21].
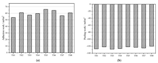
Adhesion work is characterized by the amount of energy released to the external environment when asphalt and aggregate produced a unit area of the asphalt-aggregate interface. The greater the adhesion work, the greater the energy required for stripping off the interface between asphalt and aggregate, and the greater the adhesion strength between asphalt and aggregate. The spalling work indicated shows that the greater the absolute value of the energy released by moisture displacement at the structure-asphalt-aggregate interface of asphalt, the more easily the asphalt is replaced by water molecules and the more easily the asphalt mixture is destroyed by moisture.
From Figure 5, it can be seen that from the adhesion performance of granite and asphalt, KHMA and AJMA adhesion work was larger than that of matrix asphalt, and stripping work was smaller than that of matrix asphalt, which meant that both KH5 and AJ-1 can effectively improve the adhesion strength of asphalt and granite aggregates. This is mainly because the amine anti-stripping agent contains many organic functional groups with strong polarity, which makes the non-polar part of asphalt molecules point to the inside after mixing with matrix asphalt evenly, which improves the polarity of the asphalt surface layer and increases the wettability of asphalt to granite aggregates. At the same time, KHMA adhesion work is greater than AJMA, and KHMA stripping work is less than AJMA, indicating that KH5 has a better effect than AJ-1 in improving the adhesion performance of asphalt and granite aggregates.
The adhesion and spalling work of RAMA and granite aggregate are greater than that of matrix bitumen, indicating that rock asphalt can enhance the water stability of the asphalt mixture. The reason is that rock asphalt can enhance the dispersion component of asphalt, increase the intermolecular force between asphalt and aggregate, and at the same time, rock asphalt contains metal ions and nitrogen oxide, functional groups, to increase the polarity of the asphalt surface, thereby increasing the adhesion between asphalt and granite. Compared with RAMA, KH/RAMA and AJ/RAMA showed a slight increase in adhesion work and a significant decrease in stripping work. It can be seen that both amine anti-stripping agents can improve the water stability of RAMA.
By comparing the adhesion properties of limestone, basalt and matrix asphalt, it can be seen that the adhesion properties of AJMA and granite are smaller than those of matrix asphalt and basalt, and the adhesion properties of KHMA and RAMA are larger than those of matrix asphalt and basalt, but lower than those of matrix asphalt and limestone. It can be seen that the adhesion properties of single anti-stripping agent modified asphalt and granite are smaller than those of matrix asphalt and limestone. The fundamental reason why composite-modified asphalt KH/RAMA, AJ/RAMA, and granite adhere better than matrix asphalt and limestone is that the amine anti-stripping agent enhances the polar component of RAMA and noticeably improves RAMA and granite aggregate wettability.

4.1.3. Energy Ratios Analysis

According to Equation (11), the water stability between asphalt and aggregate is calculated, and the improvement effect of different anti-stripping agents on the adhesion performance of asphalt and granite was quantitatively analyzed, as shown in Figure 6.
It can be seen from the above figure that compared with the matrix asphalt-granite aggregate, the water stability of modified asphalt and granite aggregate improved AJMA (3.84%), KHMA (32.24%), RAMA (29.18%), AJ/RAMA (48.02%) and KH/RAMA (57.71%), respectively. It is evident that the aliphatic amine anti-stripping agent AJ-1 has little effect on the improvement of asphalt-granite aggregate adhesion, while KH5 and Qingchuan rock asphalt can significantly improve the water stability of the granite asphalt mixture. Furthermore, the improvement effect of rock asphalt is weaker than KH5, which is mainly due to the fact that KH5 can more effectively increase the polar fraction of asphalt, allowing asphalt to more effectively wet the surface of the granite. The composite modified asphalt AJ/RAMA and KH/RAMA have the greatest improvement effect on water stability. This is primarily because KH5 and AJ-1 enhance the polar fraction of RAMA, which increases RAMA’s capacity to boost the water stability of granite asphalt mixtures. The adhesion performance of a single anti-stripping agent modified asphalt and granite aggregate is less than the water stability of a matrix asphalt-limestone aggregate system, and the adhesion performance of a composite modified asphalt and granite aggregate is marginally better than that of a limestone asphalt mixture when compared to matrix asphalt-limestone aggregate and matrix asphalt-basalt aggregate.

4.2. Rheological Properties of Asphalt

4.2.1. Multiple Stress Creep Recovery Test Results

In this paper, we chose 58 °C as the test temperature to conduct multiple stress creep recovery tests on the original asphalt, asphalt after short-term aging (RTFOT), and asphalt after long-term aging (PAV), to obtain the non-recoverable creep flexibility and creep recovery rate. We compared these with the original asphalt to analyze the effect of aging on asphalt creep recovery characteristics with the test results shown in Figure 7 and Figure 8.
It can be seen from the figure that as the asphalt aging deepens, the irrecoverable creep elasticity of asphalt decreases and the creep recovery rate increases. This is mainly due to the change in the ratio of viscoelastic components after asphalt aging, and the viscous component decreases while the elastic component increases, and the elastic mechanical response characteristics of asphalt gradually increase with the increase of asphalt aging. The main cause of this is the oxidation of some asphalt material constituents during the aging process, which results in the formation of macromolecular strong polar functional groups, an increase in the van der Waals force between molecules, and the phenomenon of agglomeration and association between molecules. From the microscopic point of view, the network structure formed by asphaltene is enhanced, and the free volume between molecules is reduced; From the macro point of view, the stiffness modulus of asphalt material becomes larger as it hardens. The Jnr of asphalt after short-term aging decreases by more than 50%, and the Jnr of asphalt after long-term aging decreases by more than 80%. Among them, RAMA decreases much more than the other five modified asphalts, and its irrecoverable creep flexibility decreases to 30% of the irrecoverable creep flexibility of the original asphalt after short-term aging, and its irrecoverable creep flexibility tends to 0 after long-term aging, which is close to the elastic solid. The remaining five groups of asphalt had approximately the same rate of change of irrecoverable flexibility. Among them the irrecoverable creep flexibility of KHMA and AJMA is very close to that of the matrix asphalt after long-term aging, indicating that some KH5 and AJ-1 in the asphalt decompose and fail after long-term aging. The irrecoverable flexibility of composite-modified asphalt gradually decreases with the deepening of the aging degree, and the irrecoverable creep flexibility of composite-modified bitumen and rock asphalt-modified asphalt after long-term aging is close to 0.

4.2.2. Rheological Test Results of the Bending Beam

In order to study the effect of six groups of asphalt in thermal oxygen aging on the low temperature creep performance of asphalt, this paper conducted bending beam rheological tests on the original sample asphalt, short-term aging (RTFOT) after asphalt, long-term aging (PAV) after asphalt in the low-temperature environment at −12 ℃, and the test results are shown in Figure 9.
From Figure 9, as the degree of aging increases, the asphalt stiffness modulus increases and the creep rate decreases, indicating that the low-temperature crack resistance of asphalt decreases. This is mainly due to the thermal decomposition and volatilization of the light components with viscous properties inside the asphalt material during the thermal oxygen aging process. Asphalt components with elasticity at low temperatures react with oxygen in the air to form strong polar groups, thus increasing the intermolecular frictional resistance. Macroscopically, the stiffness of asphalt increases and the deformation ability decreases, which weakens the deformation ability of asphalt at low temperatures and increases the risk of asphalt cracking. After comparison, RAMA has the highest stiffness modulus and the lowest creep rate under different aging degrees. As the aging level deepens, the difference between the test results and the matrix asphalt gradually increases, which shows that the use of rock asphalt modified asphalt alone not only significantly reduces the low temperature performance of asphalt, but also increases the aging of asphalt. With the deepening of the aging degree, the KHMA stiffness modulus and creep rate values are getting closer to the matrix bitumen, indicating that aging will gradually decompose and fail KH5. At the same time, the low-temperature performance of AJMA is still much greater than that of matrix asphalt after long-term aging, indicating that the viscous components in AJ-1 have certain aging resistance. The changes in low-temperature cracking resistance of the two groups of composite-modified asphalt after aging are significantly different. While the low-temperature performance of KH/RAMA significantly declines after aging and is lower than that of the matrix asphalt after long-term aging, its low-temperature cracking resistance moves closer to that of RAMA as the aging degree deepens. In contrast, the low-temperature performance of AJ/RAMA decreases after long-term aging but is still higher than that of the matrix asphalt after long-term aging.

4.3. Road Performance of Asphalt Mixture

4.3.1. High-Temperature Rutting Resistance

According to the “Test Regulations for Asphalt and Asphalt Mixtures for Highway Engineering” (JTG E20-2011) [36], seven groups of granite asphalt mixtures were tested for high-temperature rutting, and the test results are shown in Figure 10.
From Figure 10, the dynamic stability of granite asphalt mixes in all six groups is greater than 2800 times/mm, which meets the requirements of highway asphalt pavement construction specifications for the high-temperature performance of asphalt mixes. When compared to M1, M3’s dynamic stability declined, showing that the amine anti-stripping agent AJ-1 had a negative impact on the granite asphalt mixture’s high-temperature stability. This is mainly because the amine anti-stripping agent contains more light components such as oil, which reduces the elastic component ratio of the asphalt mixture. The irreversible deformation rises when the combination is exposed to external stress, which reduces the granite asphalt mixture’s high-temperature stability. The dynamic stability of both M2 and M4 was improved compared with M1, indicating that the silane coupling agent and glauconite asphalt enhanced the deformation resistance of the granite asphalt mixture under a high-temperature environment. This is mainly because the silane coupling agent can establish a “molecular bridge” with special functions between inorganic stone and organic polymer asphalt, forming an interface layer between stone and asphalt, and the interface layer can transmit stress, thereby enhancing the deformation resistance of the asphalt mixture. The chemical formula of Qingchuan rock asphalt is similar to that of matrix asphalt, and there is good compatibility between them. Therefore, when Qingchuan rock asphalt is added to the matrix asphalt, the asphaltene in Qingchuan rock asphalt is cross-linked with the macromolecular group of the matrix asphalt, which increases the strength of the asphalt molecular network structure and reduces the intermolecular voids, thereby significantly increasing the high-temperature stability of the granite asphalt mixture. M5 has the highest dynamic stability, indicating that the composite superposition of rock asphalt and silane coupling agent has a positive effect. The dynamic stability of M6 is slightly lower than that of M4. The oil molecules in AJ-1 reduce the high-temperature stability of RAMA.

4.3.2. Low-Temperature Crack Resistance

Figure 11 shows that KH5 and AJ-1 improved the low temperature deformation capacity and the stress relaxation capacity of granite. This is mainly due to KH5 and AJ-1 increasing the viscous component in the matrix asphalt, increasing the flexible deformation capacity of asphalt at low temperatures, thereby reducing the risk of low-temperature cracking of the granite asphalt mixture. The maximum bending strain of the beam is significantly lower in M4 compared to M1, indicating that the addition of rock asphalt makes the asphalt mixture harder and reduces its ability to deform at low temperatures. This is mainly due to a large amount of asphaltene in the Qingchuan rock asphalt, and the addition of Qingchuan rock asphalt increases the proportion of the elastic component of the matrix asphalt. Compared with MA, M5 and M6 have significantly higher maximum bending and tensile strains, and the maximum bending and tensile strains of M5 and M6 are higher than those of M1, indicating that KH5 and AJ-1 can make up for the low-temperature performance degradation of granite asphalt mixes caused by Qingchuan rock asphalt.

4.3.3. Water Stability Evaluation

To better understand the durability of different anti-stripping measures, freeze-thaw cycle tests were conducted on the asphalt mixture before and after aging in this paper, and the test results are shown in Figure 12.
Figure 12 shows that the granite asphalt mixture without the addition of an anti-stripping agent has the lowest freeze-thaw splitting strength, falling short of the required freeze-thaw splitting strength of TSR > 75%. This indicates that the water stability of granite asphalt mixture without anti-stripping treatment is insufficient and that it is easy to produce water damage, which is mainly due to more SiO2 content in the granite aggregate, the aggregate surface with more anions, due to the strong polarity of water molecules, so the cations in the water molecules can be combined with the anions on the surface of the aggregate in the form of hydrogen bonding. The adsorption of granite aggregate and asphalt mainly depends on the intermolecular dispersion force, so when moisture invades the granite aggregate-asphalt interface, the structural asphalt adsorbed on the surface of the aggregate can be replaced by water molecules causing the spalling of the asphalt film, resulting in insufficient water stability of the granite asphalt mixture.
Compared with M1, the freeze-thaw splitting strength of M2 and M3 increased slightly. KH5 and AJ-1 can effectively improve the water stability of the granite asphalt mixture. At the same time, the freeze-thaw splitting strength of M2 is greater than that of M3, indicating that the effect of KH5 is better than that of AJ-1. Compared with M1, the freeze-thaw splitting strength of M4 was significantly improved, indicating that rock asphalt can significantly improve the water stability of granite asphalt mixture, which is mainly because rock asphalt can enhance the asphaltene mesh structure in the matrix asphalt, thus enhancing the cohesive strength of asphalt. On the other hand, rock asphalt contains nitrogen-based functional groups, which can enhance the polarity of asphalt and increase the adhesion strength of asphalt and granite aggregates.
The TSR of the six groups of granite asphalt mixes had different degrees of reduction after long-term aging, and there were some differences in the changes of residual stability after long-term thermal-oxidative aging. The greatest reduction was observed for the matrix asphalt. It can be seen that the adhesion of the matrix asphalt without an anti-stripping agent to granite aggregate decreased significantly after aging, and the asphalt was more easily replaced by water molecules under pressure. It can be seen that the residual stability of Qingchuan rock asphalt added is significantly greater than the residual stability of other anti-stripping agents, indicating that the aging resistance of Qingchuan rock asphalt is strong and is primarily due to the presence of nitrogen. After long-term aging, the residual stability of M2 and M3 does not meet the requirements of the specification greater than 85%, and the residual stability of M4, M5, and M6 is greater than 85%. Moreover, rock asphalt has undergone long-term oxidation and condensation in the natural environment, its oxidation resistance is enhanced, and its properties are very stable, thereby greatly improving the durability of modified asphalt. The residual stability of M5 and M6 is the highest after aging, and the residual stability of composite modifiers is significantly higher than that of a single anti-stripping agent.

5. Conclusions

In this study, the evaluation of different anti-stripping agents to improve the adhesion between granite and asphalt was investigated. For this purpose, surface energy theory, rheological tests and a mixture of road performance tests were designed and validated for anti-stripping agent improvement. The results of the research are summarized as follows:
  • The cohesive strength of asphalt may be increased using Qingchuan rock asphalt, KH5, and AJ-1, although rock asphalt and KH5 were superior to AJ-1. Qingchuan rock asphalt, KH5 and AJ-1 can effectively improve the adhesion work between asphalt and the granite aggregate, while KH/RAMA and AJ/RAMA had a more obvious effect on improving the adhesion performance;
  • Based on the calculation of the adhesion work and spalling work between asphalt and granite aggregates, the adhesion properties of modified asphalt and granite prepared by a single anti-stripping agent were less than those of matrix asphalt and limestone. The adhesion properties of modified asphalt KH/RAMA, AJ/RAMA and granite prepared by the composite anti-stripping agent were slightly higher than those of matrix asphalt and limestone;
  • Qingchuan rock asphalt can improve the high-temperature rheological performance of asphalt, and the addition of KH5 and AJ-1 can make up for the lack of low-temperature performance of Qingchuan rock bitumen. KH5 and AJ-1 were prone to decomposition failure under the action of hot oxygen aging, while Qingchuan rock asphalt had good aging resistance, and the composite blending had the best anti-aging performance;
  • The use of an anti-stripping agent improved the water stability and durability of the granite asphalt mixture, as shown by the results of the freeze-thaw splitting test used to compare the granite asphalt mixture before and after the application of the anti-stripping agent. The improvement effect was KH/RAMA and AJ/RAMA > RAMA > KHMA > AJMA;
  • The low-temperature performance of the granite asphalt mixture was lower than the design specification after adding rock asphalt. The lack of low temperature performance may be compensated for by the addition of KH5 and AJ-1. The improvement effect of KH5 on the road performance of the granite asphalt mixture was better than that of the aliphatic amine anti-stripping agent AJ-1.

Author Contributions

Conceptualization, S.S., C.Z. and S.Z.; Methodology, C.Z.; Formal analysis, S.Z. and H.G.; Investigation, Y.H.; Resources, C.Z. and Y.H.; Data curation, S.S.; Writing—original draft, S.S., C.Z. and Y.Y.; Writing—review and editing, S.S.; Visualization, S.S.; Project administration, C.Z., H.G. and Y.H.; Funding acquisition, C.Z. All authors have read and agreed to the published version of the manuscript.

Funding

This work was financially supported by National Key R&D Program of China (Grant Number: 2018YFB1600100), National Natural Science Foundation of China (No. 52078279), Shandong Transportation Science and Technology Innovation Project (Grant Number: 2016B41) and Postgraduate Science and Technology Innovation Project (2022YK018).

Institutional Review Board Statement

Not applicable.

Informed Consent Statement

Not applicable.

Data Availability Statement

Data are available upon request due to limitations such as privacy or ethics. The data presented in this study are available on request from the corresponding author. The data are not publicly available due to the study data was not linked to publicly archived datasets.

Acknowledgments

We express our sincere gratitude to the experts, teachers and students who have provided help for this article.

Conflicts of Interest

The authors declare that they have no conflict of interest.

References

  1. Ba, H.D.; Park, D.W.; Phan, T.M. Healing Performance of Granite and Steel Slag Asphalt Mixtures Modified with Steel Wool Fibers. KSCE J. Civ. Eng. 2018, 22, 2064–2072. [Google Scholar]
  2. Haider, S.; Hafeez, I.; Jamal; Ullah, R. Sustainable Use of Waste Plastic Modifiers to Strengthen the Adhesion Properties of Asphalt Mixtures. Constr. Build. Mater. 2020, 235, 117496. [Google Scholar] [CrossRef]
  3. Shtayat, A. A review of monitoring systems of pavement condition in paved and unpaved roads. J. Traffic Transp. Eng. 2020, 7, 629–638. [Google Scholar] [CrossRef]
  4. Lv, J. Research on the Method and Pavement Performance of Acidic Aggregate Modified by Silane Coupling Agent. Master’s Thesis, Jilin University, Changchun, China, 2013. (In Chinese). [Google Scholar]
  5. Zhang, Y. Study on Adhesion of Interface between Asphalt and Aggregate. Master’s Thesis, Chang’an University, Xi’an, China, 2014. (In Chinese). [Google Scholar]
  6. Kong, Z.Z.; Zhang, Y.M.; Zhang, A.Q. Influence of Granite Powder Filler on Water Stability of Asphalt Concrete. China Foreign Highw. 2014, 34, 287–290. (In Chinese) [Google Scholar]
  7. Xu, G.J.; Wang, H. Study of Cohesive an Adhesive Properties of Asphalt Concrete with Molecular Dynamics Simulation. Constr. Build. Mater. 2016, 112, 161–169. [Google Scholar]
  8. Xu, S.A.; Wang, S.N.; Gu, Y.Y. Microstructure and adhesion properties of cerium conversion coating modified with silane coupling agent on the aluminum foil for lithiumion battery. Results Phys. 2019, 13, 102262. [Google Scholar] [CrossRef]
  9. Naquib Alam, M.; Aggarwal, P. Effectiveness of Anti Stripping Agents on Moisture Susceptibility of Bituminous Mix. Constr. Build. Mater. 2020, 264, 120274. [Google Scholar] [CrossRef]
  10. Han, S.; Dong, S.; Liu, M. Study on improvement of asphalt adhesion by hydrated lime based on surface free energy method. Constr. Build. Mater. 2019, 227, 116794.1–116794.9. [Google Scholar] [CrossRef]
  11. Canestrari, F.; Cardone, F.; Graziani, A. Adhesive and Cohesive Properties of Asphalt-Aggregate Systems Subjected to Moisture Damage. Road Mater. Pavement Des. 2011, 11, 11–32. [Google Scholar] [CrossRef]
  12. JTG E42-2005; Test Methods of Aggregate for Highway Engineering. People’s Communications Press: Beijing, China, 2005.
  13. JTG F40-2004; Technical Specifications for Construction of Highway Asphalt Pavement. People’s Communications Press: Beijing, China, 2004.
  14. Mazumder, M.; Ahmed, R.; Ali, A.W. SEM and ESEM techniques used for analysis of asphalt binder and mixture: A state of the art review. Constr. Build. Mater. 2018, 186, 313–329. [Google Scholar] [CrossRef]
  15. Kim, Y.; Pinto, I.; Park, S. Experimental evaluation of anti-stripping additives in bituminous mixtures through multiple scale laboratory test results. Constr. Build. Mater. 2012, 29, 386–393. [Google Scholar] [CrossRef]
  16. Ding, G.; Yu, X.; Dong, F.; Ji, Z.; Wang, J. Using Silane Coupling Agent Coating on Acidic Aggregate Surfaces to Enhance the Adhesion between Asphalt and Aggregate: A Molecular Dynamics Simulation. Materials 2020, 13, 5580. [Google Scholar] [CrossRef] [PubMed]
  17. Wang, F.Q.; Yang, L.J.; Mo, P.J. Experimental Study on Improving Water Stability of Granite Asphalt Mixture. Highway 2020, 65, 328–330. (In Chinese) [Google Scholar]
  18. Peng, Y.; Yu, Z.; Long, Y.; Li, Y. Experimental investigation on the effects of a new anti-stripping additive on performance properties of asphalt and its mixtures. Constr. Build. Mater. 2022, 353, 129173. [Google Scholar] [CrossRef]
  19. Zhang, X.; Zhang, B.; Chen, H.; Kuang, D. Feasibility Evaluation of Preparing Asphalt Mixture with Low-Grade Aggregate, Rubber Asphalt and Desulphurization Gypsum Residues. Materials 2018, 11, 1481. [Google Scholar] [CrossRef] [PubMed]
  20. Li, R. Innovative application of waste polyethylene terephthalate (PET) derived additive as an antistripping agent for asphalt mixture: Experimental investigation and molecular dynamics simulation. Fuel 2021, 300, 121015. [Google Scholar] [CrossRef]
  21. Ye, Y.; Hao, Y.; Zhuang, C.; Shu, S.; Lv, F. Evaluation on Improvement Effect of Different Anti-Stripping Agents on Pavement Performance of Granite–Asphalt Mixture. Materials 2022, 15, 915. [Google Scholar] [CrossRef] [PubMed]
  22. Ameri, M.; Vamegh, M.; Naeni, S.F.C.; Molayem, M. Moisture Susceptibility Evaluation of Asphalt Mixtures Containing Evonik, Zycotherm and Hydrated Lime. Constr. Build. Mater. 2018, 165, 958–965. [Google Scholar] [CrossRef]
  23. Peng, C. Effect of silane coupling agent on improving the adhesive properties between asphalt binder and aggregates. Constr. Build. Mater. 2018, 169, 591–600. [Google Scholar] [CrossRef]
  24. Zhao, X.; Sheng, Y.; Lv, H.; Jia, H.; Liu, Q.; Ji, X.; Xiong, R.; Meng, J. Laboratory investigation on road performances of asphalt mixtures using steel slag and granite as aggregate. Constr. Build. Mater. 2022, 315, 125655. [Google Scholar] [CrossRef]
  25. Muniandy, R.; Ismail, D.H.; Hassim, S. Performance of Recycled Ceramic Waste as Aggregates in Hot Mix Asphalt (HMA). J. Mater. Cycles Waste Manag. 2018, 20, 844–849. [Google Scholar] [CrossRef]
  26. Liu, Z.; Huang, X.; Sha, A.; Wang, H.; Chen, J.; Li, C. Improvement of Asphalt-Aggregate Adhesion Using Plant Ash Byproduct. Materials 2019, 12, 605. [Google Scholar] [CrossRef] [PubMed]
  27. Oss, C.J.V.; Chaudhury, M.K.; Good, R.J. Interfacial Lifshitz-van der Waals and polar interactions in macroscopic systems. Chem. Rev. Rev. 1988, 88, 927–941. [Google Scholar]
  28. Good, R.J.; van Oss, C.J. The Modern Theory of Contact Angles and the Hydrogen Bond Components of Surface Energies. In Modern Approaches to Wettability; Springer: Boston, MA, USA, 1992; pp. 1–27. [Google Scholar]
  29. Fowkes, F.M. Attractive forces at interfaces. Ind Eng. Chem. 1964, 12, 40–52. [Google Scholar] [CrossRef]
  30. Owens, D.K.; Wendt, R.C. Estimation of the Surface Free Energy of Polymers. J. Appl. Polym. Sci. 1969, 13, 1741–1747. [Google Scholar] [CrossRef]
  31. Young, T. An essay on the cohesion of fluids. Philos. Trans. R. Soc. London. 1805, 95, 65–87. [Google Scholar]
  32. Moraes, R.; Velasquez, R.; Bahia, R. Using bond strength and surface energy to estimate moisture resistance of asphalt-aggregate systems. Constr. Build. Mater. 2017, 130, 156–170. [Google Scholar] [CrossRef]
  33. Tan, Y.; Guo, M. Using Surface Free Energy Method to Study the Cohesion and Adhesion of Asphalt Mastic. Constr. Build. Mater. 2013, 47, 254–260. [Google Scholar] [CrossRef]
  34. Bhasin, A.; Masad, E.; Little, D.; Lytton, R. Limits on adhesive bond energy for improved resistance of hot-mix asphalt to moisture damage. Transp. Res. Rec. 1970, 1, 213. [Google Scholar]
  35. Bhasin, A.; Little, D.N.; Vasconcelos, K.L. Surface free energy to identify moisture sensitivity of materials for asphalt mixes. Transport. Res. Rec. 2007, 1, 37–45. [Google Scholar] [CrossRef]
  36. JTG E20-2011; Standard Test Methods of Bitumen and Bituminous Mixtures for Highway Engineering. People’s Communications Press: Beijing, China, 2011.
  37. Song, X.J.; Jiang, F.; Shen, Q.J. A Study on Pavement Performance of Chinese-Made Natural Rock Asphalt Modified Asphalt Mixture. Highway 2009, 12, 135–139. (In Chinese) [Google Scholar]
  38. Lv, S.T.; Fan, X.Y.; Lu, W.W. Preparation and characterization of surface modification of aggregate by silane coupling agent. J. Funct. Materials 2020, 51, 4199–4206. (In Chinese) [Google Scholar]
  39. Fan, X.; Lu, W.; Lv, S. Improvement of Low-Temperature Performance of Buton Rock Asphalt Composite Modified Asphalt by Adding Styrene-Butadiene Rubber. Materials 2019, 12, 2358. [Google Scholar] [CrossRef] [PubMed]
  40. AASHTO T 350; Standard Method of Test for Multiple Stress Creep Recovery (MSCR) Test of Asphalt Binder Using a Dynamic Shear Rheometer (DSR). American Association of State Highway and Transportation Officials: Washington, DC, USA, 2019.
  41. AASHTO TP 125; Standard Method of Test for Determining the Flexural Creep Stiffness of Asphalt Mixtures Using the Bending Beam Rheometer (BBR). American Association of State Highway and Transportation Officials: Washington, DC, USA, 2016.
  42. AASHTO T 240; Standard Method of Test for Effect of Heat and Air on a Moving Film of Asphalt Binder (Rolling Thin-Film Oven Test). American Association of State Highway and Transportation Officials: Washington, DC, USA, 2013.
  43. AASHTO R 28; Standard Practice for Accelerated Aging of Asphalt Binder Using a Pressurized Aging Vessel (PAV). American Association of State Highway and Transportation Officials: Washington, DC, USA, 2012.
Figure 1. Contact Angle Model.
Figure 1. Contact Angle Model.
Coatings 12 01954 g001
Figure 2. (a) Contact Angle Measuring Instrument; (b) Image Imaging with Ring Method.
Figure 2. (a) Contact Angle Measuring Instrument; (b) Image Imaging with Ring Method.
Coatings 12 01954 g002
Figure 3. The SFE components of asphalt: (a) Asphalt; (b) Aggregate.
Figure 3. The SFE components of asphalt: (a) Asphalt; (b) Aggregate.
Coatings 12 01954 g003
Figure 4. Cohesive work of asphalt.
Figure 4. Cohesive work of asphalt.
Coatings 12 01954 g004
Figure 5. (a) Adhesion Work; (b) Aggregate.
Figure 5. (a) Adhesion Work; (b) Aggregate.
Coatings 12 01954 g005
Figure 6. Evaluation of asphalt aggregate water stability.
Figure 6. Evaluation of asphalt aggregate water stability.
Coatings 12 01954 g006
Figure 7. 0.1 kPa stress: (a) Irrecoverable creep compliance; (b) Creep recovery rate.
Figure 7. 0.1 kPa stress: (a) Irrecoverable creep compliance; (b) Creep recovery rate.
Coatings 12 01954 g007
Figure 8. 3.2 kPa stress: (a) Irrecoverable creep compliance; (b) Creep recovery rate.
Figure 8. 3.2 kPa stress: (a) Irrecoverable creep compliance; (b) Creep recovery rate.
Coatings 12 01954 g008
Figure 9. (a) Stiffness Modulus; (b) Creep Rate.
Figure 9. (a) Stiffness Modulus; (b) Creep Rate.
Coatings 12 01954 g009
Figure 10. Dynamic stability of AC-13 granite asphalt mixture.
Figure 10. Dynamic stability of AC-13 granite asphalt mixture.
Coatings 12 01954 g010
Figure 11. Bending tensile strain of AC-13 granite asphalt mixture.
Figure 11. Bending tensile strain of AC-13 granite asphalt mixture.
Coatings 12 01954 g011
Figure 12. AC-13 granite asphalt mixture TSR before and after aging.
Figure 12. AC-13 granite asphalt mixture TSR before and after aging.
Coatings 12 01954 g012
Table 1. Qilu 70-A Base Asphalt Test Results.
Table 1. Qilu 70-A Base Asphalt Test Results.
Experimental IndexResultTechnical Requirement
Penetration (25 °C)/0.1 mm6960.0~80.0
Softening point/°C48.0≥46.0
10 °C ductility/cm34≥20.0
15 °C ductility/cm>150≥100.0
Mass change/%−0.121≤±0.80
Residual penetration ratio/%68.6≥61.0
Residual ductility (10 °C)/cm13≥6.0
Residual ductility (15 °C)/cm51.2≥15.0
Table 2. Technical Performance of Coarse Aggregate.
Table 2. Technical Performance of Coarse Aggregate.
Technical Performance IndexResultTechnical Requirement
Apparent relative density of coarse aggregate3~52.712≥2.60
5~102.662
10~152.601
10~202.680
Crushing value/%17.3%≤26
Water absorption/%1.7%≤2.0
Abrasion value/%21%≤28
Table 3. Technical Performance of Fine Aggregate.
Table 3. Technical Performance of Fine Aggregate.
Technical Performance IndexResultTechnical Requirement
Apparent relative density of fine aggregate2.642≥2.50
The sand equivalent of fine aggregate/%84≥60
Methylene blue value of fine aggregate/g kg−151.2≥15.0
Table 4. Technical Indexes of Mineral Powder.
Table 4. Technical Indexes of Mineral Powder.
Technical Performance IndexResultTechnical Requirement
Apparent density2.569≮2.4
water content0.61%≯1.0
Table 5. Asphalt Modification Scheme.
Table 5. Asphalt Modification Scheme.
SchemeAsphalt and AdditiveAbbreviation
170-A70-A
270-A + KH5KHMA
370-A + AJ-1AJMA
470-A + rock asphaltRAMA
570-A + brock asphalt + KH5KH/RAMA
670-A + rock asphalt + AJ-1AJ/RAMA
Table 6. Test Scheme for Adhesion of Asphalt and Aggregate.
Table 6. Test Scheme for Adhesion of Asphalt and Aggregate.
Scheme AsphaltAggregateScheme Name
170-AGraniteTS1
2KHMAGraniteTS2
3AJMAGraniteTS3
4RAMAGraniteTS4
5KH/RAMAGraniteTS5
6AJ/RAMAGraniteTS6
770-ALimestoneTS7
870-ABasaltTS8
Table 7. Test Scheme for Road Performance of Asphalt Mixture.
Table 7. Test Scheme for Road Performance of Asphalt Mixture.
Scheme AsphaltAggregateScheme Name
170-AGraniteM1
2KHMAGraniteM2
3AJMAGraniteM3
4RAMAGraniteM4
5KH/RAMAGraniteM5
6AJ/RAMAGraniteM6
Table 8. Surface free energy and component of chemical reagent (mJ/m2).
Table 8. Surface free energy and component of chemical reagent (mJ/m2).
Test Liquid Γ L Γ L L W Γ L A B   Γ L +   Γ L  
Formamide57.90 38.87 18.932.27 39.47
Glycol48.30 29.37 19.231.94 47.60
Distilled water72.80 21.80 51.0025.5025.50
Table 9. Asphalt contact angle (°).
Table 9. Asphalt contact angle (°).
Test Liquid70-AAJMAKHMARAMAAJ/RAMAKH/RAMA
Formamide74.87 68.17 71.39 69.87 66.48 68.97
Glycol62.45 56.48 59.58 58.96 58.93 62.18
Distilled water88.56 78.18 86.40 83.06 73.85 76.50
Table 10. Aggregate contact angle (°).
Table 10. Aggregate contact angle (°).
Test LiquidGraniteLimestoneBasalt
Formamide52.50 44.83 40.41
Glycol39.12 26.76 16.91
Distilled water69.02 64.69 55.97
Publisher’s Note: MDPI stays neutral with regard to jurisdictional claims in published maps and institutional affiliations.

Share and Cite

MDPI and ACS Style

Shu, S.; Zhuang, C.; Zhao, S.; Hao, Y.; Guo, H.; Ye, Y. Study of Anti-Stripping Measures to Improve the Adhesion of Asphalt to Granite Aggregates. Coatings 2022, 12, 1954. https://doi.org/10.3390/coatings12121954

AMA Style

Shu S, Zhuang C, Zhao S, Hao Y, Guo H, Ye Y. Study of Anti-Stripping Measures to Improve the Adhesion of Asphalt to Granite Aggregates. Coatings. 2022; 12(12):1954. https://doi.org/10.3390/coatings12121954

Chicago/Turabian Style

Shu, Shiqi, Chuanyi Zhuang, Shuqian Zhao, Yan Hao, Hao Guo, and Yali Ye. 2022. "Study of Anti-Stripping Measures to Improve the Adhesion of Asphalt to Granite Aggregates" Coatings 12, no. 12: 1954. https://doi.org/10.3390/coatings12121954

APA Style

Shu, S., Zhuang, C., Zhao, S., Hao, Y., Guo, H., & Ye, Y. (2022). Study of Anti-Stripping Measures to Improve the Adhesion of Asphalt to Granite Aggregates. Coatings, 12(12), 1954. https://doi.org/10.3390/coatings12121954

Note that from the first issue of 2016, this journal uses article numbers instead of page numbers. See further details here.

Article Metrics

Back to TopTop