Application of Surface-Modified Nanoclay in a Hybrid Adsorption-Ultrafiltration Process for Enhanced Nitrite Ions Removal: Chemometric Approach vs. Machine Learning
Abstract
:1. Introduction
2. Materials and Methods
2.1. Materials
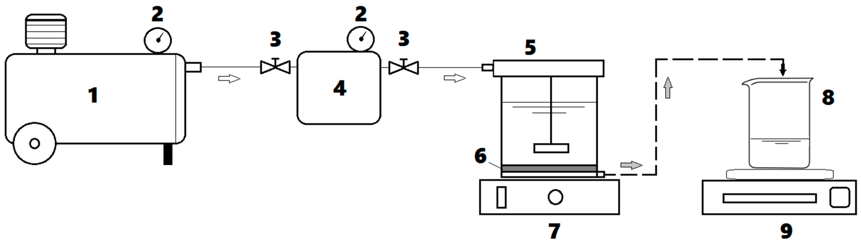
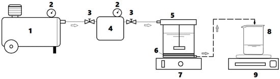
2.2. Experimental Methods
3. Computational Protocol
3.1. Multiple-Regression Modeling by Response Surface Methodology (RSM)
3.2. Machine Learning by Artificial Neural Network (ANN)
3.3. Machine Learning by Support Vector Machine (SVM)
4. Results and Discussions
4.1. Design of Experiments (DoE)
4.2. Data-Driven Modeling: RSM vs. Machine Learning (ANN and SVM)
4.3. Multivariate Optimization of Adsorption-Ultrafiltration Hybrid Process
4.4. Testing Optimal Conditions on a New Composite Membrane
5. Conclusions
Supplementary Materials
Author Contributions
Funding
Institutional Review Board Statement
Informed Consent Statement
Data Availability Statement
Acknowledgments
Conflicts of Interest
References
- Brandao, G.C.; Matos, G.D.; Pereira, R.N.; Ferreira, S.L.C. Development of a simple method for the determination of nitrite and nitrate in groundwater by high-resolution continuum source electrothermal molecular absorption spectrometry. Anal. Chim. Acta 2014, 806, 101–106. [Google Scholar] [CrossRef]
- Cesar, A.; Roš, M. Long-term study of nitrate, nitrite and pesticide removal from groundwater: A two-stage biological process. Int. Biodeterior. Biodegrad. 2013, 82, 117–123. [Google Scholar] [CrossRef]
- Cojocaru, C.; Duca, G.; Gonta, M. Chemical kinetic model for methylurea nitrosation reaction: Computer-aided solutions to inverse and direct problems. Chem. Eng. J. 2013, 82, 385–397. [Google Scholar] [CrossRef]
- Xiang, X.; Wang, J.; Liu, Q.-Y.; Peng, M.; Zhao, Y.-Z.; Li, Q.-Y.; Li, Q.; Tang, A.; Liu, Y.; Liu, H.-B. Fabrication of PVDF/CdS/Bi2S3/Bi2MoO6 and Bacillus/PVA hybrid membrane for efficient removal of nitrite. Sep. Purif. Technol. 2021, 275, 119195. [Google Scholar] [CrossRef]
- Awual, M.R.; Asiri, A.M.; Rahman, M.M.; Alharthi, N.H. Assessment of enhanced nitrite removal and monitoring using ligand modified stable conjugate materials. Chem. Eng. J. 2019, 363, 64–72. [Google Scholar] [CrossRef]
- Marlinda, A.R.; An’amt, M.N.; Yusoff, N.; Sagadevan, S.; Wahab, Y.A.; Johan, M.R. Recent progress in nitrates and nitrites sensor with graphene-based nanocomposites as electrocatalysts. Trends Environ. Anal. Chem. 2022, 34, e00162. [Google Scholar] [CrossRef]
- Roba, C.; Balc, R.; Creta, F.; Andreica, D.; Padurean, A.; Pogacean, P.; Chertes, T.; Moldovan, F.; Mocan, B.; Rosu, C. Assessment of groundwater quality in NW of Romania and its suitability for drinking and agricultural purposes. Environ. Eng. Manag. J. 2021, 20, 435–447. [Google Scholar] [CrossRef]
- Dharmapriya, T.N.; Shih, H.-Y.; Huang, P.-J. Facile Synthesis of Hydrogel-Based Ion-Exchange Resins for Nitrite/Nitrate Removal and Studies of Adsorption Behavior. Polymers 2022, 14, 1442. [Google Scholar] [CrossRef]
- Liu, Y.; Zhang, X.; Wang, J. A critical review of various adsorbents for selective removal of nitrate from water: Structure, performance and mechanism. Chemosphere 2022, 291, 132728. [Google Scholar] [CrossRef]
- Hui, C.; Guo, X.; Sun, P.; Khan, R.A.; Zhang, Q.; Liang, Y.; Zhao, Y.-H. Removal of nitrite from aqueous solution by Bacillus amyloliquefaciens biofilm adsorption. Biores. Technol. 2018, 248, 146–152. [Google Scholar] [CrossRef]
- Scholes, R.C.; Vega, M.A.; Sharp, J.O.; Sedlak, D.L. Nitrate removal from reverse osmosis concentrate in pilot-scale open-water unit process wetlands. Environ. Sci.: Water Res. Technol. 2021, 7, 650–661. [Google Scholar] [CrossRef]
- Mohammadi, R.; Ramasamy, D.L.; Sillanpää, M. Enhancement of nitrate removal and recovery from municipal wastewater through single- and multi-batch electrodialysis: Process optimisation and energy consumption. Desalination 2021, 498, 114726. [Google Scholar] [CrossRef]
- Pang, Y.; Wang, J. Various electron donors for biological nitrate removal: A review. Sci. Total Environ. 2021, 794, 148699. [Google Scholar] [CrossRef]
- Öztürk, N.; Ennil Köse, T. A kinetic study of nitrite adsorption onto sepiolite and powdered activated carbon. Desalination 2008, 223, 174–179. [Google Scholar] [CrossRef]
- Öztürk, N.; Bektas, T.E. Nitrate removal from aqueous solution by adsorption onto various materials. J. Hazard. Mater. 2004, B112, 155–162. [Google Scholar] [CrossRef]
- Özcan, A.; Sahin, M.; Özcan, A.S. Adsorption of nitrate ions onto sepiolite and surfactant-modified sepiolite. Adsorp. Sci. Technol. 2005, 23, 323–333. [Google Scholar] [CrossRef]
- Xi, Y.; Mallavarapu, M.; Naidu, R. Preparation, characterization of surfactants modified clay minerals and nitrate adsorption. Appl. Clay Sci. 2010, 48, 92–96. [Google Scholar] [CrossRef]
- Mozia, S.; Tomaszewska, M. Treatment of surface water using hybrid processes—Adsorption on PAC and ultrafiltration. Desalination 2004, 162, 23–31. [Google Scholar] [CrossRef]
- Al-Bastaki, N.; Banat, F. Combining ultrafiltration and adsorption on bentonite in a one-step process for the treatment of colored waters. Resour. Conserv. Recycl. 2004, 41, 103–113. [Google Scholar] [CrossRef]
- Safeer, S.; Pandey, R.P.; Rehman, B.; Safdar, T.; Ahmad, I.; Hasan, S.W.; Ullah, A. A review of artificial intelligence in water purification and wastewater treatment: Recent advancements. J. Water Process Eng. 2022, 49, 102974. [Google Scholar] [CrossRef]
- Tsikas, D. Analysis of nitrite and nitrate in biological fluids by assays based on the Griess reaction: Appraisal of the Griess reaction in the l-arginine/nitric oxide area of research. J. Chromatogr. B 2007, 851, 51–70. [Google Scholar] [CrossRef]
- Huang, Y.; Hsieh, C.-Y. Influence analysis in response surface methodology. J. Stat. Plan. Inference 2014, 147, 188–203. [Google Scholar] [CrossRef]
- Sambucini, V. A reference prior for the analysis of a response surface. J. Stat. Plan. Inference 2007, 137, 1119–1128. [Google Scholar] [CrossRef]
- Anderson-Cook, C.M.; Borror, C.M.; Montgomery, D.C. Response surface design evaluation and comparison. J. Stat. Plan. Inference 2009, 139, 629–641. [Google Scholar] [CrossRef]
- Bezerra, M.A.; Santelli, R.E.; Oliveira, E.P.; Villar, L.S.; Escaleira, L.A. Response surface methodology (RSM) as a tool for optimization in analytical chemistry. Talanta 2008, 76, 965–977. [Google Scholar] [CrossRef]
- Mäkelä, M. Experimental design and response surface methodology in energy applications: A tutorial review. Energy Convers. Manag. 2017, 151, 630–640. [Google Scholar] [CrossRef]
- Jawad, J.; Hawari, A.H.; Zaidi, S.J. Artificial neural network modeling of wastewater treatment and desalination using membrane processes: A review. Chem. Eng. J. 2021, 419, 129540. [Google Scholar] [CrossRef]
- Cojocaru, C.; Humelnicu, A.-C.; Pascariu, P.; Samoila, P. Artificial neural network and molecular modeling for assessing the adsorption performance of a hybrid alginate-based magsorbent. J. Mol. Liquids 2021, 337, 116406. [Google Scholar] [CrossRef]
- Desai, K.M.; Survase, S.A.; Saudagar, P.S.; Lele, S.S.; Singhal, R.S. Comparison of artificial neural network (ANN) and response surface methodology (RSM) in fermentation media optimization: Case study of fermentative production of scleroglucan. Biochem. Eng. J. 2008, 41, 266–273. [Google Scholar] [CrossRef]
- Erzurumlu, T.; Oktem, H. Comparison of response surface model with neural network in determining the surface quality of moulded parts. Mater. Des. 2007, 28, 459–465. [Google Scholar] [CrossRef]
- Demuth, H.; Beale, M. Neural Network Toolbox: For Use with MATLAB (Version 4.0); The MathWorks, Inc.: Natick, MA, USA, 2004. [Google Scholar]
- Yetilmezsoy, K.; Demirel, S. Artificial neural network (ANN) approach for modeling of Pb(II) adsorption from aqueous solution by Antep pistachio (Pistacia vera L.) shells. J. Hazard. Mater. 2008, 153, 1288–1300. [Google Scholar] [CrossRef]
- Bezerra, E.M.; Bento, M.S.; Rocco, J.A.F.F.; Iha, K.; Lourenço, V.L.; Pardini, L.C. Artificial neural network (ANN) prediction of kinetic parameters of (CRFC) composites. Comput. Mater. Sci. 2008, 44, 656–663. [Google Scholar] [CrossRef]
- Zhang, S.; Wang, F.; He, D.; Jia, R. Real-time product quality control for batch processes based on stacked least-squares support vector regression models. Comput. Chem. Eng. 2012, 36, 217–226. [Google Scholar] [CrossRef]
- Urtubia, A.; León, R.; Vargas, M. Identification of chemical markers to detect abnormal wine fermentation using support vector machines. Comput. Chem. Eng. 2021, 145, 107158. [Google Scholar] [CrossRef]
- Serfidan, A.C.; Uzman, F.; Türkay, M. Optimal estimation of physical properties of the products of an atmospheric distillation column using support vector regression. Comput. Chem. Eng. 2020, 134, 106711. [Google Scholar] [CrossRef]
- Golkarnarenji, G.; Naebe, M.; Badii, K.; Milani, A.S.; Jazar, R.N.; Khayyam, H. Support vector regression modelling and optimization of energy consumption in carbon fiber production line. Comput. Chem. Eng. 2018, 109, 276–288. [Google Scholar] [CrossRef]
- Tsirikoglou, P.; Abraham, S.; Contino, F.; Lacor, C.; Ghorbaniasl, G. A hyperparameters selection technique for support vector regression models. Appl. Soft Comput. 2017, 61, 139–148. [Google Scholar] [CrossRef]
- Alam, M.S.; Sultana, N.; Hossain, S.M.Z. Bayesian optimization algorithm based support vector regression analysis for estimation of shear capacity of FRP reinforced concrete members. Appl. Soft Comput. 2021, 105, 107281. [Google Scholar] [CrossRef]
- Hu, J.; Zheng, K. A novel support vector regression for data set with outliers. Appl. Soft Comput. 2015, 31, 405–411. [Google Scholar] [CrossRef]
- Fałdziński, M.; Fiszeder, P.; Orzeszko, W. Forecasting Volatility of Energy Commodities: Comparison of GARCH Models with Support Vector Regression. Energies 2021, 14, 6. [Google Scholar] [CrossRef]
- Tao, D.; Ma, Q.; Li, S.; Xie, Z.; Lin, D.; Li, S. Support Vector Regression for the Relationships between Ground Motion Parameters and Macroseismic Intensity in the Sichuan–Yunnan Region. Appl. Sci. 2020, 10, 3086. [Google Scholar] [CrossRef]
- Suykens, J.A.K.; Van Gestel, T.; De Brabanter, J.; De Moor, B.; Vandewalle, J. Least Squares Support Vector Machines; World Scientific Pub. Co.: Singapore, 2002; ISBN 981-238-151-1. [Google Scholar]
- Pelckmans, K.; Suykens, J.A.K.; Van Gestel, T.; De Brabanter, J.; Lukas, L.; Hamers, B.; De Moor, B.; Vandewalle, J. LS-SVMlab Toolbox User’s Guide Version 1.5; Technical Report 02-145, ESAT-SCD-SISTA; Katholieke Universiteit Leuven: Leuven, Belgium, 2003; Available online: https://www.esat.kuleuven.be/sista/lssvmlab/ (accessed on 5 February 2023).
- Krieger, E.; Koraimann, G.; Vriend, G. Increasing the precision of comparative models with YASARA NOVA—A selfparameterizing force field. Proteins 2002, 47, 393–402. [Google Scholar] [CrossRef]
- Trott, O.; Olson, A.J. AutoDock Vina: Improving the speed and accuracy of docking with a new scoring function, efficient optimization, and multithreading. J. Comput. Chem. 2010, 31, 455–461. [Google Scholar] [CrossRef]
- Rao, S.S. Engineering Optimization Theory and Practice, 4th ed.; John Wiley and Sons: Hoboken, NJ, USA, 2009; pp. 309–314. [Google Scholar]
- Cojocaru, C.; Pascariu Dorneanu, P.; Airinei, A.; Olaru, N.; Samoila, P.; Rotaru, A. Design and evaluation of electrospun polysulfone fibers and polysulfone/NiFe2O4 nanostructured composite as sorbents for oil spill cleanup. J. Taiwan Inst. Chem. Eng. 2017, 70, 267–281. [Google Scholar] [CrossRef]
- Lalia, B.S.; Kochkodan, V.; Hashaikeh, R.; Hilal, N. A review on membrane fabrication: Structure, properties and performance relationship. Desalination 2013, 326, 77–95. [Google Scholar] [CrossRef]
- Geleta, T.A.; Maggay, I.V.; Chang, Y.; Venault, A. Recent, Advances on the Fabrication of Antifouling Phase-Inversion Membranes by Physical Blending Modification Method. Membranes 2023, 13, 58. [Google Scholar] [CrossRef]
- Liu, F.; Li, Y.; Han, L.; Xu, Z.; Zhou, Y.; Deng, B.; Xing, J. A Facile Strategy toward the Preparation of a High-Performance Polyamide TFC Membrane with a CA/PVDF Support Layer. Nanomaterials 2022, 12, 4496. [Google Scholar] [CrossRef]
- Acarer, S.; Pir, İ.; Tüfekci, M.; Erkoç, T.; Öztekin, V.; Dikicioğlu, C.; Demirkol, G.T.; Durak, S.G.; Özçoban, M.Ş.; Çoban, T.Y.T.; et al. Characterisation and Mechanical Modelling of Polyacrylonitrile-Based Nanocomposite Membranes Reinforced with Silica Nanoparticles. Nanomaterials 2022, 12, 3721. [Google Scholar] [CrossRef]
- Gao, M.; Zhu, Y.; Yan, J.; Wu, W.; Wang, B. Micromechanism Study of Molecular Compatibility of PVDF/PEI Blend Membrane. Membranes 2022, 12, 809. [Google Scholar] [CrossRef]
- Feng, C.; Shi, B.; Li, G.; Wu, Y. Preparation and properties of microporous membrane from poly(vinylidene fluoride-co-tetrafluoroethylene) (F2.4) for membrane distillation. J. Membr. Sci. 2004, 237, 15–24. [Google Scholar] [CrossRef]












| Run/Trial | Sorbent Dose | pH of Feed Aqueous Solutions | Response: Nitrite Removal Efficiency Y (%) | ||
|---|---|---|---|---|---|
| Coded x1 | Actual SD, % w/v | Coded x2 | Actual pH | ||
| 1 | −1 | 0.20 | −1 | 5.5 | 50.09 |
| 2 | +1 | 0.60 | −1 | 5.5 | 82.35 |
| 3 | −1 | 0.20 | +1 | 8.5 | 67.54 |
| 4 | +1 | 0.60 | +1 | 8.5 | 83.53 |
| 5 | −1.414 | 0.12 | 0 | 7.0 | 59.69 |
| 6 | +1.414 | 0.68 | 0 | 7.0 | 86.03 |
| 7 | 0 | 0.40 | −1.414 | 4.9 | 72.64 |
| 8 | 0 | 0.40 | +1.414 | 9.1 | 70.36 |
| 9 | 0 | 0.40 | 0 | 7.0 | 80.48 |
| 10 | 0 | 0.40 | 0 | 7.0 | 81.35 |
| 11 | 0 | 0.40 | 0 | 7.0 | 81.07 |
| Statistical Descriptor for Residuals | Sources of Residuals (Yexperimental − Ymodel) | ||
|---|---|---|---|
| RSM Model | ANN Model | SVM Model | |
| Minimal residue (min) | −4.7580 | −3.1324 | −2.0045 |
| Maximal residue (max) | 4.5140 | 0.6928 | 1.1522 |
| Amplitude (max-min) | 9.2720 | 3.8252 | 3.1567 |
| Median | 0.1030 | 0.1090 | 0.2822 |
| Average | 0.0002 | 0.3204 | 0.0672 |
| Standard deviation | 2.8035 | 1.0462 | 1.0079 |
| (LCC) | 0.939 | 0.994 | 0.999 |
| R2 (ANOVA) | 0.938 | 0.989 | 0.992 |
| Model | Sorbent Dose (% w/v) | pH of Feed Solution | Response (Removal Efficiency, %) | |||
|---|---|---|---|---|---|---|
| x1 (Coded) | SD (Actual) | x2 (Coded) | pH (Actual) | |||
| RSM | 1.393 | 0.678 | −0.365 | 6.4 | 88.05 | 85.93 |
| ANN | 1.409 | 0.682 | 0.073 | 7.1 | 85.53 | 86.18 |
| SVM | 1.372 | 0.674 | 0.007 | 7.0 | 84.95 | 86.28 |
Disclaimer/Publisher’s Note: The statements, opinions and data contained in all publications are solely those of the individual author(s) and contributor(s) and not of MDPI and/or the editor(s). MDPI and/or the editor(s) disclaim responsibility for any injury to people or property resulting from any ideas, methods, instructions or products referred to in the content. |
© 2023 by the authors. Licensee MDPI, Basel, Switzerland. This article is an open access article distributed under the terms and conditions of the Creative Commons Attribution (CC BY) license (https://creativecommons.org/licenses/by/4.0/).
Share and Cite
Cojocaru, C.; Pascariu, P.; Enache, A.-C.; Bargan, A.; Samoila, P. Application of Surface-Modified Nanoclay in a Hybrid Adsorption-Ultrafiltration Process for Enhanced Nitrite Ions Removal: Chemometric Approach vs. Machine Learning. Nanomaterials 2023, 13, 697. https://doi.org/10.3390/nano13040697
Cojocaru C, Pascariu P, Enache A-C, Bargan A, Samoila P. Application of Surface-Modified Nanoclay in a Hybrid Adsorption-Ultrafiltration Process for Enhanced Nitrite Ions Removal: Chemometric Approach vs. Machine Learning. Nanomaterials. 2023; 13(4):697. https://doi.org/10.3390/nano13040697
Chicago/Turabian StyleCojocaru, Corneliu, Petronela Pascariu, Andra-Cristina Enache, Alexandra Bargan, and Petrisor Samoila. 2023. "Application of Surface-Modified Nanoclay in a Hybrid Adsorption-Ultrafiltration Process for Enhanced Nitrite Ions Removal: Chemometric Approach vs. Machine Learning" Nanomaterials 13, no. 4: 697. https://doi.org/10.3390/nano13040697
APA StyleCojocaru, C., Pascariu, P., Enache, A.-C., Bargan, A., & Samoila, P. (2023). Application of Surface-Modified Nanoclay in a Hybrid Adsorption-Ultrafiltration Process for Enhanced Nitrite Ions Removal: Chemometric Approach vs. Machine Learning. Nanomaterials, 13(4), 697. https://doi.org/10.3390/nano13040697

