Collision Avoidance Algorithm for USV Based on Rolling Obstacle Classification and Fuzzy Rules
Abstract
:1. Introduction
2. A Collision-Avoidance Motion Model Based on VO
3. Collision Avoidance against Single Obstacle
4. Collision Avoidance against Multiple Obstacles
4.1. Four Obstacle Avoidance Schemes
4.2. Multi-Obstacle Collision Avoidance Strategy
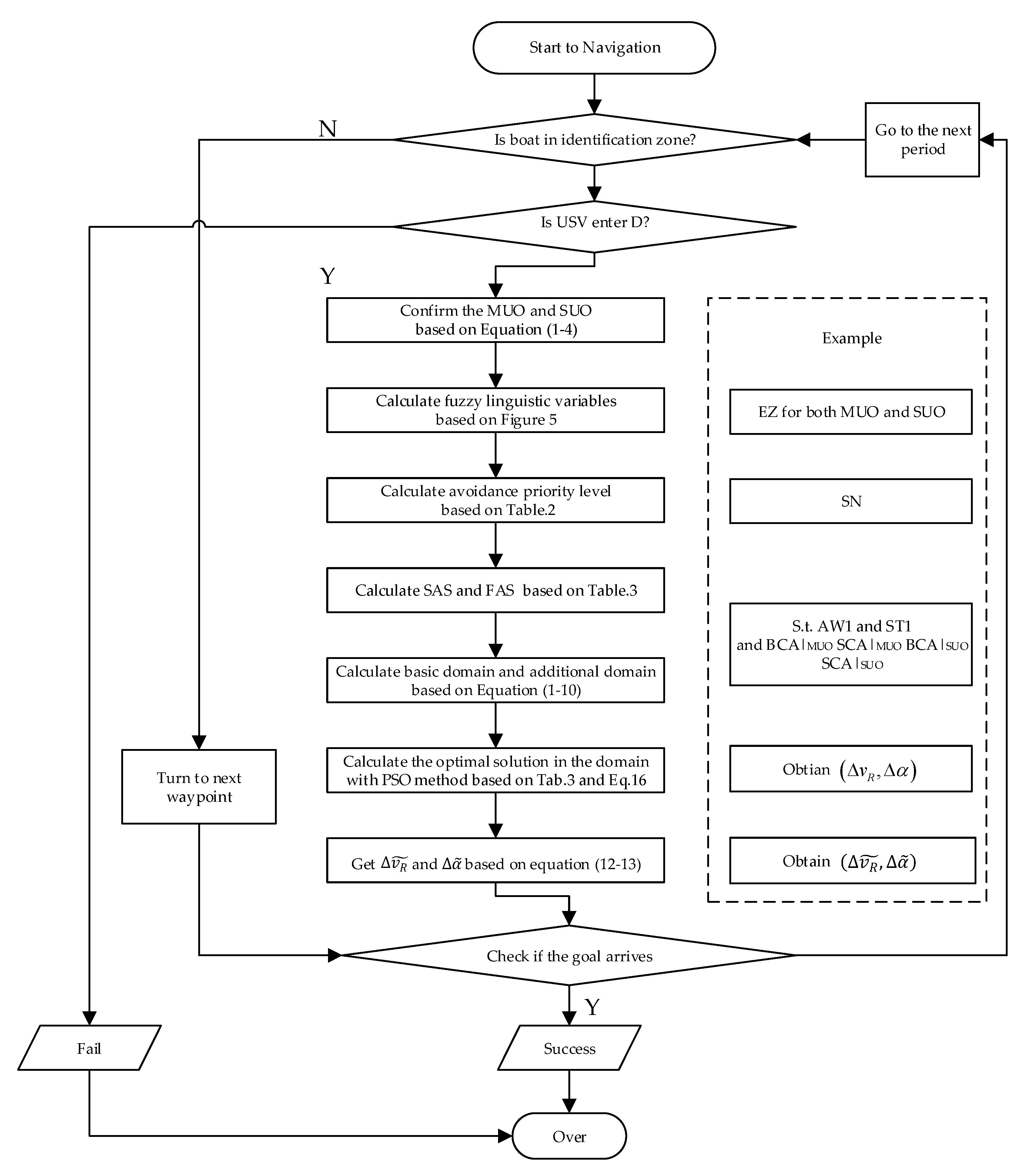
4.3. The Calculation Process of Collision Avoidance
5. Simulation Experiment and Analysis
6. Conclusions
Author Contributions
Funding
Acknowledgments
Conflicts of Interest
References
- Chen, J.H.; Zheng, T.X.; Garg, A.; Xu, L.; Li, S.F.; Fei, Y.J. Alternative maritime power application as a green port strategy: Barriers in China. J. Clean. Prod. 2019, 213, 825–837. [Google Scholar] [CrossRef]
- Chen, J.H.; Zhang, W.P.; Wan, Z.; Li, S.F.; Huang, T.C.; Fei, Y.J. Oil spills from global tankers: Status review and future governance. J. Clean. Prod. 2019, 227, 20–32. [Google Scholar] [CrossRef]
- Li, W.F.; Ma, W.Y. Simulation on Vessel Intelligent Collision Avoidance Based on Artificial Fish Swarm Algorithm. Pol. Marit. Res. 2016, 23, 138–143. [Google Scholar] [CrossRef] [Green Version]
- Qu, H.; Xing, K.; Alexander, T. An improved genetic algorithm with coevolutionary strategy for global path planning of multiple mobile robots. Neurocomputing 2013, 120, 509–517. [Google Scholar] [CrossRef]
- Borkowski, P.; Pietrzykowski, Z.; Magaj, J. The Algorithm of Determining an Anti-Collision Manoeuvre Trajectory Based on the Interpolation of Ship’s State Vector. Sensors 2021, 21, 5332. [Google Scholar] [CrossRef] [PubMed]
- Huang, Y.; Chen, L.; Chen, P.; Negenborn, R.R.; van Gelder, P.H.A.J.M. Ship Collision Avoidance Methods: State-of-the-art. Saf. Sci. 2020, 121, 451–473. [Google Scholar] [CrossRef]
- Asl, A.N.; Menhaj, M.B.; Sajedin, A. Control of leader follower formation and path planning of mobile robots using asexual reproduction optimization (ARO). Appl. Soft Comput. 2014, 14 Pt C, 563–576. [Google Scholar]
- Khatib, O. Real-time obstacle avoidance for manipulators and mobile robots. Int. J. Robot. Res. 1986, 5, 90–98. [Google Scholar] [CrossRef]
- Wang, J.; Wu, X.; Xu, Z. Potential-based obstacle avoidance in formation control. J. Control. Theory Appl. 2008, 6, 311–316. [Google Scholar] [CrossRef]
- Yang, Y.; Wang, S.X.; Wu, Z.L.; Wang, Y.H. Motion planning for multi-HUG formation in an environment with obstacles. Ocean Eng. 2011, 38, 2262–2269. [Google Scholar] [CrossRef]
- Liu, Y.H.; Shi, C.J. A fuzzy-neural inference network for ship collision avoidance. In Proceedings of the IEEE Third International Conference on Machine Learning and Cybernetics, Guangzhou, China, 18–21 August 2005; pp. 4754–4759. [Google Scholar]
- Gao, M.; Shi, G.Y. Ship-Collision Avoidance Decision-Making Learning of Unmanned Surface Vehicles with Automatic Identification System Data Based on Encoder—Decoder Automatic-Response Neural Networks. J. Mar. Sci. Eng. 2020, 8, 754. [Google Scholar] [CrossRef]
- Ayala, H.V.H.; Habineza, D.; Rakotondrabe, M.; dos Santos Coelho, L. Nonlinear black-box system identification through coevolutionary algorithms and radial basis function artificial neural networks. Appl. Soft Comput. 2019, 87, 105990. [Google Scholar] [CrossRef]
- Fiorini, P.; Shiller, Z. Motion planning in dynamic environments using velocity obstacles. Int. J. Robot. Res. 1998, 17, 760–772. [Google Scholar] [CrossRef]
- Berg, V.D.J.; Lin, M.; Manocha, D. Reciprocal velocity obstacles for real-time multi-agent navigation. In Proceedings of the 2008 International Conference on Robotics and Automation, Pasadena, CA, USA, 19–23 May 2008; 1928–1935. [Google Scholar]
- Kluge, B.; Parssler, E. Reflective navigation: Individual behaviors and group behaviors. In Proceedings of the IEEE International Conference on Robotics & Automation, New Orleans, LA, USA, 26 April–1 May 2004; Volume 4, pp. 4172–4177. [Google Scholar]
- Berg, V.D.J.; Patil, S.; Sewall, J.; Manocha, D.; Lin, M. Interactive navigation of multiple agents in crowded environments. In Proceedings of the 2008 symposium on Interactive 3D Graphics and Games, Redwood City, California, USA, 15–17 February 2008; pp. 139–147. [Google Scholar]
- Song, A.L.; Su, B.Y.; Dong, C.Z.; Shen, D.W.; Xiang, E.Z.; Mao, F.P. A two-level dynamic obstacle avoidance algorithm for unmanned surface vehicles. Ocean Eng. 2018, 170, 351–360. [Google Scholar] [CrossRef]
- Kuwata, Y.; Wolf, M.T.; Zarzhitsky, D.; Huntsberger, T.L. Safe maritime autonomous navigation with COLREGS, using velocity obstacles. IEEE J. Ocean. Eng. 2014, 39, 110–119. [Google Scholar] [CrossRef]
- Mou, J.M.; Li, M.X.; Hu, W.X.; Zhang, X.H.; Gong, S.; Chen, P.F.; He, Y.X. Mechanism of dynamic automatic collision avoidance and the optimal route in multi-ship encounter situations. J. Mar. Sci. Technol. 2021, 26, 141–158. [Google Scholar]
- Valdes-Vela, M.; Toledo-Moreo, R.; Terroso-Saenz, F.; Zamora-Izquierdo, M.A. An application of a fuzzy classifier extracted from data for collision avoidance support in road vehicles. Eng. Appl. Artif. Intell. 2013, 26, 173–183. [Google Scholar] [CrossRef]
- Qin, L.; Shen, Y. Research on Safety Classification for Vehicle Anti-collision Data by Improved Interval Fuzzy Reasoning. In Proceedings of the 2021 3rd International Conference on Robotics and Computer Vision (ICRCV), Beijing, China, 6–8 August 2021; pp. 82–85. [Google Scholar]
- Pietrzykowski, Z.; Uriasz, J. The Ship Domain-A Criterion of Navigational Safety Assessment in an Open Sea Area. J. Navig. 2009, 62, 93–108. [Google Scholar] [CrossRef]
- Perera, L.P.; Carvalho, J.P.; Soares, C.G. Autonomous Guidance and Navigation based on COLREGs Rules and Regulations of Collision Avoidance. In Proceedings of the International Workshop “Advanced Ship Design for Pollution Prevention”, Split, Croatia, 23–24 November 2009; pp. 205–216. [Google Scholar]
- Perera, L.P.; Carvalho, J.P.; Guedes, S.C. Fuzzy Logic Based Derision Making System for Collision Avoidance of Ocean Navigation under Critical Collision Conditions. J. Mar. Sci. Technol. 2011, 16, 84–99. [Google Scholar] [CrossRef]
- Perera, L.P.; Carvalho, J.P.; Guedes, S.C. Intelligent Ocean Navigation and Fuzzy-Bayesian Decision/Action Formulation. IEEE J. Ocean. Eng. 2012, 37, 204–219. [Google Scholar] [CrossRef]
- Brcko, T.; Svetak, J. Fuzzy Reasoning as a Base for Collision Avoidance Decision Support System. Promet Traffic Transp. 2013, 25, 555–564. [Google Scholar] [CrossRef] [Green Version]
- Kao, S.L.; Lee, K.T.; Chang, K.Y.; Ko, M.D. A fuzzy logic method for collision avoidance in vessel traffic service. J. Navig. 2007, 60, 17–31. [Google Scholar] [CrossRef]
- Tang, C.; Xu, Z.; Liu, Z.; Liu, J. Research on Collision Probability Model Based on Ship Domain. In Proceedings of the Second International Conference on Transportation Information & Safety, Wuhan University of Technology, Wuhan, China, 28–30 June 2013; pp. 2307–2313. [Google Scholar]
- Huang, L.; Wen, Y.; Zhang, Y.; Zhou, C.; Zhang, F.; Yang, T. Dynamic calculation of ship exhaust emissions based on real-time AIS data. Transp. Res. Part D Transp. Environ. 2020, 80, 102277. [Google Scholar] [CrossRef]










| Name | Abbreviation | Definition | Example |
|---|---|---|---|
| Irrelevant Obstacle | IO | Ship outside the identification zone of the USV that is invisible to the USV | B6, B7 |
| Nonthreatening Obstacle | NO | Ship in the identification zone of the USV that does not satisfy Equation (4) and does not pose a threat to the USV | B4, B5 |
| Threatening Obstacle | TO | Ship in the identification zone of the USV that satisfies Equation (4) and poses a threat to the USV | B1, B2, B3 |
| Most Urgent Obstacle | MUO | Ship with the highest risk of collision fem among TOs | B1 |
| Secondary Urgent Obstacle | SUO | Ship with the second highest risk of collision fem among TOs | B2 |
| TCPA|MUO | ||||
|---|---|---|---|---|
| EG | EZ | FA | ||
| TCPA|SUO | EG | SO | —— | —— |
| EZ | SO | SN | —— | |
| FA | OT | OT | SN | |
| Priority Level | OT | SO | SN |
|---|---|---|---|
| SAS | AS1∩AS2 | AS1 | AS1 |
| FAS | - | ST1∩ST2 | ST1 |
Publisher’s Note: MDPI stays neutral with regard to jurisdictional claims in published maps and institutional affiliations. |
© 2021 by the authors. Licensee MDPI, Basel, Switzerland. This article is an open access article distributed under the terms and conditions of the Creative Commons Attribution (CC BY) license (https://creativecommons.org/licenses/by/4.0/).
Share and Cite
Song, L.; Shi, X.; Sun, H.; Xu, K.; Huang, L. Collision Avoidance Algorithm for USV Based on Rolling Obstacle Classification and Fuzzy Rules. J. Mar. Sci. Eng. 2021, 9, 1321. https://doi.org/10.3390/jmse9121321
Song L, Shi X, Sun H, Xu K, Huang L. Collision Avoidance Algorithm for USV Based on Rolling Obstacle Classification and Fuzzy Rules. Journal of Marine Science and Engineering. 2021; 9(12):1321. https://doi.org/10.3390/jmse9121321
Chicago/Turabian StyleSong, Lifei, Xiaoqian Shi, Hao Sun, Kaikai Xu, and Liang Huang. 2021. "Collision Avoidance Algorithm for USV Based on Rolling Obstacle Classification and Fuzzy Rules" Journal of Marine Science and Engineering 9, no. 12: 1321. https://doi.org/10.3390/jmse9121321
APA StyleSong, L., Shi, X., Sun, H., Xu, K., & Huang, L. (2021). Collision Avoidance Algorithm for USV Based on Rolling Obstacle Classification and Fuzzy Rules. Journal of Marine Science and Engineering, 9(12), 1321. https://doi.org/10.3390/jmse9121321

