Stability Analysis of Near-Wellbore Reservoirs Considering the Damage of Hydrate-Bearing Sediments
Abstract
:1. Introduction
2. Theoretical Formulations
2.1. Damage Statistical Constitutive Model for Hydrate-Bearing Sediments
2.2. Multi-Field Coupling Model Considering Damage of Hydrate-Bearing Sediments
2.2.1. Mechanical Field Control Equations
2.2.2. Hydraulic Field Control Equations
2.2.3. Energy Conservation Equation
3. Model Verification
3.1. Verification of the Damage Statistical Constitutive Model of Hydrate-Bearing Sediments
3.2. Verification of the Multi-Field Coupling Model
4. Numerical Solution of the Multi-Field Coupling Model Considering Hydrate-Bearing Sediment Damage
4.1. Multi-Field Coupling Model Numerical Calculation Conditions
4.2. Numerical Results and Analysis
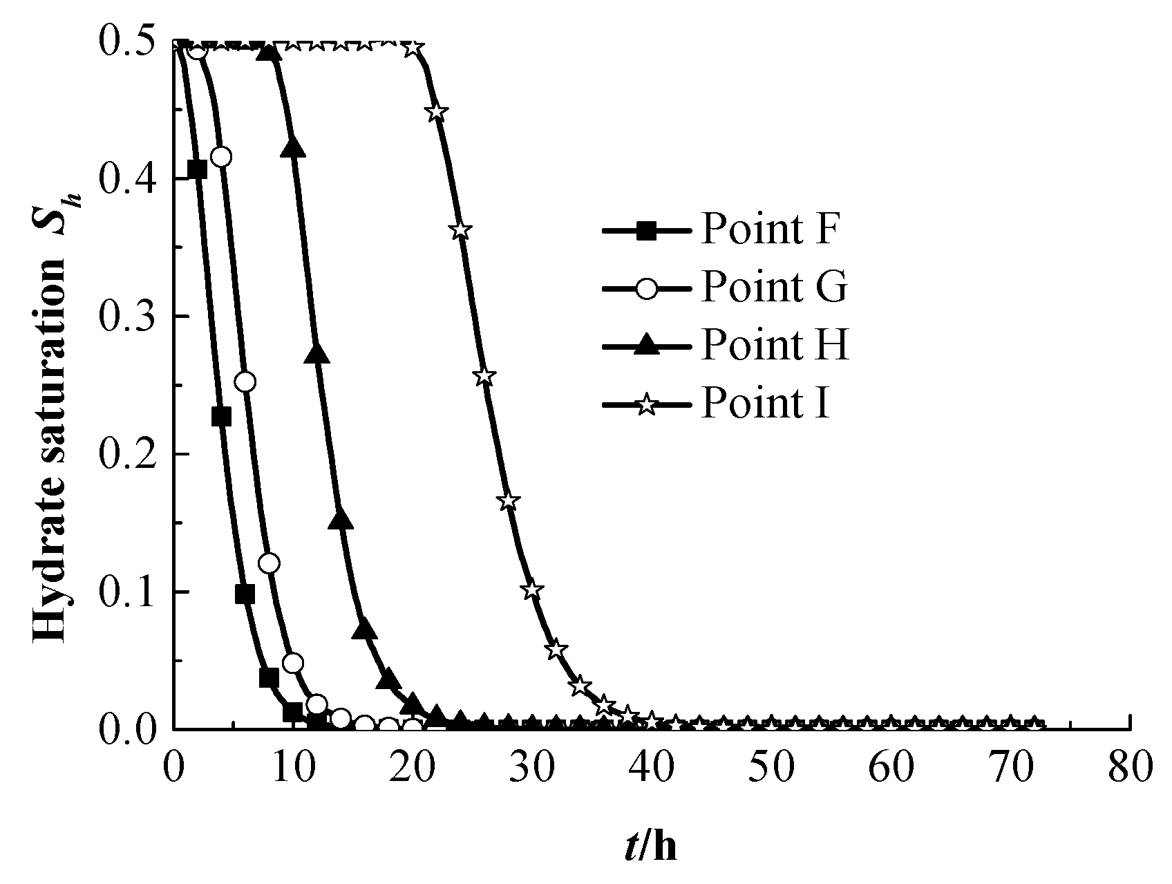
4.2.1. The Evolution of Hydrate Saturation in the Reservoir
4.2.2. The Evolution of Pore Pressure in the Reservoir
4.2.3. The Evolution of the Damage Area in the Reservoir
4.2.4. Stability Analysis of the Near-Wellbore Reservoir
5. Conclusions
- (1)
- With continuous hydrate dissociation, the cementation of the sediment gradually decreases, and the structural damage gradually increases; this will lead to the partial softening and stress release of the stratum and will result in the decline of the bearing capacity of the reservoir. Therefore, damage of hydrate-bearing sediments has an adverse impact on the stability of the near-wellbore reservoir.
- (2)
- Under the effect of non-uniform horizontal in situ stress, the stress in the direction of minimum horizontal in situ stress is the most concentrated. Coupled with the reservoir strength reduction caused by hydrate dissociation and structural damage of sediments, the reservoir instability zone in this direction which is the priority position of mechanical instability, further expands.
- (3)
- Affected by the wellbore effect and hydrate dissociation, reservoirs near the wellbore are more susceptible to instability when compared with reservoirs farther from the wellbore.
- (4)
- With continuous hydrate dissociation, the cementation structure of sediments is gradually damaged, and the capacity of the reservoir for resisting deformation also declines. In practical engineering, the hydrate dissociation caused by gas hydrate exploitation may lead to obvious seabed deformation.
Author Contributions
Funding
Conflicts of Interest
References
- Klauda, J.B.; Sandler, S.I. Global distribution of methane hydrate in ocean sediment. Energy Fuels 2005, 19, 459–470. [Google Scholar] [CrossRef]
- Sun, J.X.; Zhang, L.; Ning, F.L.; Lei, W.; Liu, L.; Hu, W.; Lu, H.; Lu, J.; Liu, C.; Jiang, G.; et al. Exploitation potential and stability of hydrate-bearing sediments at the site GMGS3-W19 in the South China Sea: A preliminary feasibility study. Mar. Pet. Geol. 2017, 86, 447–473. [Google Scholar] [CrossRef]
- Moridis, G.J.; Collett, T.S.; Pooladi-darvish, M.; Hancock, S.H.; Santamarina, J.C.; Boswell, R.; Kneafsey, T.J.; Rutqvist, H.; Kowalsky, M.B.; Reagan, M.T.; et al. Challenges, uncertainties, and issues facing gas exploitation from gas-hydrate deposits. SPE Reserv. Eval. Eng. 2011, 14, 76–112. [Google Scholar] [CrossRef]
- Freij-Ayoub, R.; Tan, C.; Clennell, B.; Tohidi, B.; Yang, J. A wellbore stability model for hydrate bearing sediments. J. Pet. Sci. Eng. 2007, 57, 209–220. [Google Scholar] [CrossRef]
- Rutqvist, J.; Moridis, G.J.; Grover, T.; Silpngarmlert, S.; Collett, T.S.; Holdich, S.A. Coupled multiphase fluid flow and wellbore stability analysis associated with gas exploitation from oceanic hydrate-bearing sediments. J. Pet. Sci. Eng. 2012, 92, 65–81. [Google Scholar] [CrossRef]
- Sun, J.X.; Ning, F.L.; Lei, H.W.; Gai, X.R.; Sánchez, M.; Lu, J.A.; Li, Y.L.; Liu, L.L.; Liu, C.L.; Wu, N.Y.; et al. Wellbore stability analysis during drilling through marine gas hydrate-bearing sediments in Shenhu area: A case study. J. Pet. Sci. Eng. 2018, 170, 345–367. [Google Scholar] [CrossRef]
- Sánchez, M.; Santamarina, C.; Teymouri, M.; Gai, X. Coupled numerical modeling of gas hydrate bearing sediments: from laboratory to field-scale analyses. J. Geophys. Res. Solid Earth 2018, 123, 10326–10348. [Google Scholar] [CrossRef]
- Sasaki, T.; Soga, K.; Mohammed, Z. Simulation of wellbore construction in offshore unconsolidated methane hydrate-bearing formation. J. Nat. Gas Sci. Eng. 2018, 60, 312–326. [Google Scholar] [CrossRef]
- Sun, X.; Luo, H.; Soga, K. A coupled thermal–hydraulic–mechanical–chemical (THMC) model for methane hydrate bearing sediments using COMSOL Multiphysics. J. Zhejiang Univ. Sci. A Appl. Phys. Eng. 2018, 19, 600–623. [Google Scholar] [CrossRef]
- Yoneda, J.; Takiguchi, A.; Ishibashi, T.; Yasui, A.; Mori, J.; Kakumoto, M.; Aoki, K.; Tenma, N. Mechanical response of reservoir and well completion of the first offshore methane-hydrate production test at the eastern Nankai Trough: A coupled thermo-hydromechanical analysis. SPE J. 2018. [Google Scholar] [CrossRef]
- Zhou, M.; Soga, K.; Yamamoto, K.; Huang, H.W. Geomechanical responses during depressurization of hydrate-bearing sediment formation over a long methane gas production period. Geomech. Energy Environ. 2018, in press. [Google Scholar] [CrossRef]
- Wu, E.L.; Wei, C.F.; Wei, H.Z.; Yan, R.T. A statistical damage constitutive model of hydrate-bearing sediments. Rock Soil Mech. 2013, 34, 60–65. [Google Scholar]
- Liu, L.L.; Zhang, X.H.; Liu, C.L.; Ye, Y.G. Triaxial shear tests and statistical analyses of damage for methane hydrate-bearing sediments. Chin. J. Theor. Appl. Mech. 2016, 48, 720–729. [Google Scholar]
- Yun, T.S.; Santamarina, J.C.; Ruppel, C. Mechanical properties of sand, silt and clay containing tetrahydrofuran hydrate. J. Geophys. Res. Solid Earth 2007, 112. [Google Scholar] [CrossRef]
- Weibull, W. A Statistical distribution function of wide applicability. J. Appl. Mech. 1951, 18, 293–297. [Google Scholar]
- Lemaitre, J. How to use damage mechanics. Nucl. Eng. Des. 1984, 80, 233–245. [Google Scholar] [CrossRef]
- Li, Y.L.; Liu, C.L.; Liu, L.L. Damage statistic constitutive model of hydrate-bearing sediments and the determination method of parameters. Acta Pet. Sin. 2016, 37, 1273–1279. [Google Scholar]
- Cao, R.L.; He, S.H.; Wei, J.; Wang, F. Study of modified statistical damage softening constitutive model for rock considering residual strength. Rock Soil Mech. 2013, 34, 1652–1660. [Google Scholar]
- Mctigue, D.F. Thermoelastic response of fluid-saturated porous rock. J. Geophys. Res. Solid Earth 1986, 91, 9533–9542. [Google Scholar] [CrossRef]
- Biot, M.A. General theory of three dimensional consolidation. J. Appl. Phys. 1941, 12, 155–164. [Google Scholar] [CrossRef]
- Sun, X.; Nanchary, N.; Mohanty, K.K. 1-D modeling of hydrate depressurization in porous media. Transp. Porous Media 2005, 58, 315–338. [Google Scholar] [CrossRef]
- Kim, H.C.; Bishnoi, P.R.; Heidemann, R.A.; Rizvi, S.S.H. Kinetics of methane hydrate decomposition. Chem. Eng. Sci. 1987, 42, 1645–1653. [Google Scholar] [CrossRef]
- Masuda, Y.S.; Naganawa, S.; Sato, K. Numerical calculation of gas hydrate production performance from reservoirs containing natural gas hydrates. In Proceedings of the SPE Asia Pacific Oil and Gas Conference, Kuala Lumpur, Malaysia, 14–16 April 1997. [Google Scholar]
- Corey, A.T. The interrelation between oil and gas relative permeabilities. Prod. Mon. 1954, 19, 38–41. [Google Scholar]
- Zhu, W.C.; Wei, C.H.; Tian, J.; Yang, T.H.; Tang, C.A. Coupled thermal-hydraulic-mechanical model during rock damage and its preliminary application. Rock Soil Mech. 2009, 30, 3851–3857. [Google Scholar]
- Selim, M.S.; Sloan, E.D. Heat and mass transfer during the dissociation of hydrates in porous media. AIChE J. 2010, 35, 1049–1052. [Google Scholar] [CrossRef]
- Masui, A.; Haneda, H.; Ogata, Y.; Aoki, K. Effect of methane hydrate formation on shear strength of synthetic methane hydrate sediments. In Proceedings of the 15th International Offshore and Polar Engineering Conference. Seoul: International Society of Offshore and Polar Engineers, Seoul, Korea, 19–24 June 2005. [Google Scholar]
- Masuda, Y.S.; Fujinaga, Y.; Naganawa, S.; Fujita, K. Modeling and experimental studies on dissociation of methane gas hydrates in berea sandstone cores. In Proceedings of the Third International Conference on Gas Hydrates, Salt Lake City, UT, USA, 18–22 July 1999. [Google Scholar]
- Liu, L.L.; Lu, X.B.; Zhang, X.H. Numerical study on porous media’s deformation due to natural gas hydrate dissociation considering fluid-soild coupling. Nat. Gas Geosci. 2013, 24, 1079–1085. [Google Scholar]
- Chen, W.F.; Saleeb, A.F. Elasticity and Plasticity; China Architecture and Building Press: Beijing, China, 2005. [Google Scholar]


















| Sh/% | σ3/MPa | E/MPa | m | F0/MPa | γ/MPa |
|---|---|---|---|---|---|
| 0 | 1 | 216.34 | 0.767 | 6.581 | 1.437 |
| 25.7 | 1 | 532.97 | 0.691 | 7.041 | 3.034 |
| 40.7 | 1 | 578.67 | 0.678 | 8.340 | 3.467 |
| 55.1 | 1 | 717.11 | 0.662 | 8.809 | 4.710 |
| 34.3 | 1 | 533.96 | 0.687 | 8.257 | 3.236 |
| 34.3 | 2 | 542.35 | 0.710 | 12.789 | 4.559 |
| 34.3 | 3 | 626.24 | 0.718 | 14.330 | 6.519 |
| Parameters | Physical Meaning | Values |
|---|---|---|
| ρs (kg/m3) | Soil skeleton density | 2150 |
| ρh (kg/m3) | Hydrate density | 917 |
| ρw (kg/m3) | Water density | 1000 |
| μw (Pa·s) | Hydrodynamic viscosity coefficient | 1 × 10−3 |
| μg (Pa·s) | Gas dynamic viscosity coefficient | 1.25 × 10−5 |
| E (MPa) | Elastic Modulus | 204.8 + 875.5 Sh |
| K0 (m2) | Absolute permeability | 0.5 × 10−14 |
| σH (MPa) | Maximum horizontal in situ stress | 1.5 |
| σh (MPa) | Minimum horizontal in situ stress | 1 |
| Parameters | Physical Meaning | Values |
|---|---|---|
| λg (W·m−1·K−1) | Gas heat conductivity coefficient | 0.056 |
| λw (W·m−1·K−1) | Water heat conductivity coefficient | 0.5 |
| λh (W·m−1·K−1) | Hydrate heat conductivity coefficient | 0.46 |
| λs (W·m−1·K−1) | Soil skeleton heat conductivity coefficient | 2.9 |
| Cg (J·kg−1·K−1) | Gas specific heat | 2180 |
| Cw (J·kg−1·K−1) | Water specific heat | 4200 |
| Ch (J·kg−1·K−1) | Hydrate specific heat | 2220 |
| Cs (J·kg−1·K−1) | Soil skeleton specific heat | 750 |
| αT (°C−1) | Volumetric thermal expansion coefficient | 1 × 10−8 |
© 2019 by the authors. Licensee MDPI, Basel, Switzerland. This article is an open access article distributed under the terms and conditions of the Creative Commons Attribution (CC BY) license (http://creativecommons.org/licenses/by/4.0/).
Share and Cite
Zhang, X.; Xia, F.; Xu, C.; Han, Y. Stability Analysis of Near-Wellbore Reservoirs Considering the Damage of Hydrate-Bearing Sediments. J. Mar. Sci. Eng. 2019, 7, 102. https://doi.org/10.3390/jmse7040102
Zhang X, Xia F, Xu C, Han Y. Stability Analysis of Near-Wellbore Reservoirs Considering the Damage of Hydrate-Bearing Sediments. Journal of Marine Science and Engineering. 2019; 7(4):102. https://doi.org/10.3390/jmse7040102
Chicago/Turabian StyleZhang, Xiaoling, Fei Xia, Chengshun Xu, and Yan Han. 2019. "Stability Analysis of Near-Wellbore Reservoirs Considering the Damage of Hydrate-Bearing Sediments" Journal of Marine Science and Engineering 7, no. 4: 102. https://doi.org/10.3390/jmse7040102
APA StyleZhang, X., Xia, F., Xu, C., & Han, Y. (2019). Stability Analysis of Near-Wellbore Reservoirs Considering the Damage of Hydrate-Bearing Sediments. Journal of Marine Science and Engineering, 7(4), 102. https://doi.org/10.3390/jmse7040102
