Research on Sea Trial Techniques for Motion Responses of HDPE Floating Rafts Used in Aquaculture
Abstract
1. Introduction
- Structural Stability: HDPE floating rafts exhibit superior structural stability, capable of supporting larger aquaculture cages, making them suitable for deep-sea farming;
- Economic Benefits: HDPE floating rafts are easy to maintain and manage, coupled with longer service life and recyclability of materials, which can lead to better economic benefits in the long run;
- Multifunctionality: HDPE floating rafts are not only suitable for aquaculture but can also be integrated with recreational fishing activities, such as marine sightseeing and fishing, enhancing the comprehensive value of the fishing industry.
2. Material and Methods
2.1. Research Area
2.2. Setup
3. Sea Trials
3.1. Current and Wave Measurements
3.2. Motion Measurements
3.3. Floating Raft Deformation Measurements
3.4. Mooring Line Force Measurements
4. Results
4.1. Current and Wave
4.2. Motion
4.3. Deformation
4.4. Mooring Line Force
5. Discussion
5.1. Selection of Testing Equipment for Sea Trials of Floating Rafts
5.2. Condition Selection
5.3. Data Analysis
6. Conclusions
- The effectiveness of sea trials is weather-dependent. Under adverse weather conditions, color differences may not be distinct, leading to difficulties in capturing images. When markers become blurry in bad weather and in good weather, their motion may be subtle, resulting in a small pixel range and relatively large relative errors. The interconnected structure of floating raft groups, formed by the interaction of ocean currents and waves, exhibits inconsistent motion forms and accelerations at different positions. Through the mutual verification of multiple sets of data, it is proven that the measurement data and motion capture method used in this sea trial are effective;
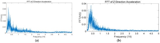
- Under the dynamic load of conventional conditions, the HDPE floating rafts exhibit a particularly significant structural response near a frequency of 0.1 Hz, which requires special attention during the design and analysis process;
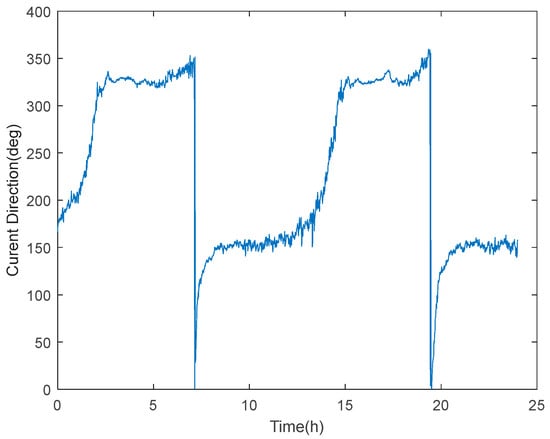
- HDPE floating rafts for aquaculture are anchored by multiple mooring lines and, under different flow directions, the tension in different mooring lines varies. Damage to a single mooring line may lead to the failure of the entire mooring system. The arrangement of mooring lines affects the overall safety performance of the floating raft and displacement of mooring lines under strong currents can cause the floating raft to roll.
Author Contributions
Funding
Institutional Review Board Statement
Informed Consent Statement
Data Availability Statement
Conflicts of Interest
References
- Food and Agriculture Organization of the United Nations. The State of World Fisheries and Aquaculture. Towards Blue Transformation. 2022. Available online: http://www.fao.org/documents/card/en/c/cc0461en (accessed on 3 June 2024).
- Whitmore, E.H.; Safford, T.G.; Hamilton, L.C. What does the public think about farming seafood? Modeling predictors of social support for aquaculture development in the U.S. Ocean Coast. Manag. 2022, 226, 106279. [Google Scholar] [CrossRef]
- Drizo, A.; Shaikh, M.O. An assessment of approaches and techniques for estimating water pollution releases from aquaculture production facilities. Mar. Pollut. Bull. 2023, 196, 115661. [Google Scholar] [CrossRef]
- Mohammed, K.S.; Nassani, A.A.; Sarkodie, S.A. Assessing the effect of the aquaculture industry, renewable energy, blue R&D, and maritime transport on GHG emissions in Ireland and Norway. Aquaculture 2024, 586, 740769. [Google Scholar] [CrossRef]
- World Economic Forum. The Global Sustainable Aquaculture Roadmap: Pathways for Systematic Change. White Paper Published in March 2023. Available online: https://www.aquacultureroadmap.org (accessed on 6 June 2024).
- Li, K.; Jiang, R.; Qiu, J.; Liu, J.; Shao, L.; Zhang, J.; Liu, Q.; Jiang, Z.; Wang, H.; He, W.; et al. How to control pollution from tailwater in large scale aquaculture in China: A review. Aquaculture 2024, 590, 741085. [Google Scholar] [CrossRef]
- Bjørndal, T.; Dey, M.; Tusvik, A. Economic analysis of the contributions of aquaculture to future food security. Aquaculture 2024, 578, 740071. [Google Scholar] [CrossRef]
- Kaleem, O.; Sabi, A.F.B.S. Overview of aquaculture systems in Egypt and Nigeria, prospects, potentials, and constraints. Aquac. Fish. 2020, 6, 535–547. [Google Scholar] [CrossRef]
- Ngarava, S.; Zhou, L.; Nyambo, P.; Chari, M.M.; Bhungeni, O. Aquaculture production, GHG emission and economic growth in Sub-Sahara Africa. Environ. Chall. 2023, 12, 100737. [Google Scholar] [CrossRef]
- Afewerki, S.; Osmundsen, T.; Olsen, M.S.; Størkersen, K.V.; Misund, A.; Thorvaldsen, T. Innovation policy in the Norwegian aquaculture industry: Reshaping aquaculture production innovation networks. Mar. Policy 2023, 152, 105624. [Google Scholar] [CrossRef]
- Pantusa, D.; Saponieri, A.; Tomasicchio, G.R. Assessment of coastal vulnerability to land-based sources of pollution and its application in Apulia, Italy. Sci. Total. Environ. 2023, 886, 163754. [Google Scholar] [CrossRef]
- Kotyza, P.; Bajan, B.; Ponsioen, T.; Smutka, L.; Shubitidze, G.; Chobaniani, N.; Andres, L. The emission intensity of the freshwater aquaculture production value chain in Georgia. Aquaculture 2024, 586, 740844. [Google Scholar] [CrossRef]
- Wu, H.; Hou, J.; Wang, X. A review of microplastic pollution in aquaculture: Sources, effects, removal strategies and prospects. ecotoxicol. Environ. Saf. 2023, 252, 114567. [Google Scholar] [CrossRef]
- Skirtun, M.; Sandra, M.; Strietman, W.J.; van den Burg, S.W.K.; De Raedemaecker, F.; Devriese, L.I. Plastic pollution pathways from marine aquaculture practices and potential solutions for the North-East Atlantic region. Mar. Pollut. Bull. 2022, 174, 113178. [Google Scholar] [CrossRef]
- Krüger, L.; Casado-Coy, N.; Valle, C.; Ramos, M.; Sánchez-Jerez, P.; Gago, J.; Carretero, O.; Beltran-Sanahuja, A.; Sanz-Lazaro, C. Plastic debris accumulation in the seabed derived from coastal fish farming. Environ. Pollut. 2020, 257, 113336. [Google Scholar] [CrossRef]
- Samat, N.; Goh, K.H.; See, K.F. Review of the application of cost–benefit analysis to the development of production systems in aquaculture. Aquaculture 2024, 587, 740816. [Google Scholar] [CrossRef]
- Tian, Y.; Yang, Z.; Yu, X.; Jia, Z.; Rosso, M.; Dedman, S.; Zhu, J.; Xia, Y.; Zhang, G.; Yang, J.; et al. Can we quantify the aquatic environmental plastic load from aquaculture? Water Res. 2022, 219, 118551. [Google Scholar] [CrossRef]
- Hou, T.; Sun, W.; Chen, C.; Yang, G.; Meng, X.; Peng, J. Marine Floating raft aquaculture extraction of hyperspectral remote sensing images based decision tree algorithm. Int. J. Appl. Earth Obs. Geoinf. 2022, 111, 102846. [Google Scholar] [CrossRef]
- Fredriksson, D.W.; DeCew, J.C.; Tsukrov, I. Development of structural modeling techniques for evaluating HDPE plastic net pens used in marine aquaculture. Ocean Eng. 2007, 34, 2124–2137. [Google Scholar] [CrossRef]
- Chu, B.; Chen, Y.; Zhang, Y.; Zhang, G.; Xiang, X.; Zhang, X. Numerical study on wave-induced hydro-elastic responses of a floating raft for aquaculture. Ocean Eng. 2021, 240, 109869. [Google Scholar] [CrossRef]
- Zhao, Y.P.; Bi, C.W.; Chen, C.P.; Li, Y.C.; Dong, G.-H. Experimental study on flow velocity and mooring loads for multiple net cages in steady current. Aquac. Eng. 2015, 67, 24–31. [Google Scholar] [CrossRef]
- Fu, S.; Moan, T. Dynamic analyses of floating fish cage collars in waves. Aquac. Eng. 2012, 47, 7–15. [Google Scholar] [CrossRef]
- Gharechae, A.; Ketabdari, M.J. A dynamical study on sea waves interaction with an array of circular elastic floaters of aquaculture fish cages. Mar. Struct. 2022, 85, 103241. [Google Scholar] [CrossRef]
- Shen, H.; Zhao, Y.P.; Bi, C.W.; Xu, Z. Nonlinear dynamics of an aquaculture cage array induced by wave-structure interactions. Ocean Eng. 2023, 269, 113711. [Google Scholar] [CrossRef]
- Xu, Z.; Bi, C.W.; Ma, C. Nonlinear dynamics of an aquaculture cage array under oblique wave attack. Ocean Eng. 2023, 288. [Google Scholar] [CrossRef]
- Ma, C.; Bi, C.W.; Xu, Z.; Zhao, Y.P. Dynamic behaviors of a hinged multi-body floating aquaculture platform under regular waves. Ocean Eng. 2022, 243, 110278. [Google Scholar] [CrossRef]
- Ma, C.; Xie, S.; Bi, C.W.; Zhao, Y.P. Nonlinear dynamic analysis of aquaculture platforms in irregular waves based on Hilbert–Huang transform. J. Fluids Struct. 2023, 117, 103831. [Google Scholar] [CrossRef]
- Ma, C.; Zhao, Y.P.; Bi, C.W.; Xie, S. Numerical study on dynamic analysis of a nine-module floating aquaculture platform under irregular waves. Ocean Eng. 2023, 285, 115253. [Google Scholar] [CrossRef]
- Bi, C.W.; Ma, C.; Zhao, Y.P.; Xin, L.X. Physical model experimental study on the motion responses of a multi-module aquaculture platform. Ocean Eng. 2021, 239, 109862. [Google Scholar] [CrossRef]
- Ma, C.; Zhao, Y.P.; Xu, Z.; Bi, C.W. Experimental investigation on the wave performance with the interference of floating aquaculture cages in single and tandem arrangements. Ocean Eng. 2022, 262, 112255. [Google Scholar] [CrossRef]
- Winthereig-Rasmussen, H.; Simonsen, K.; Patursson, Ø. Flow through fish farming sea cages: Comparing computational fluid dynamics simulations with scaled and full-scale experimental data. Ocean Eng. 2016, 124, 21–31. [Google Scholar] [CrossRef]
- Dong, S.; Park, S.; Kitazawa, D.; Zhou, J.; Yoshida, T.; Li, Q. Model tests and full-scale sea trials for drag force and deformation of a marine aquaculture net cage. Ocean Eng. 2021, 240, 109941. [Google Scholar] [CrossRef]
- Fredriksson, D.W.; DeCew, J.C.; Tsukrov, I.; Swift, M.R.; Irish, J.D. Development of large fish farm numerical modeling techniques with in situ mooring tension comparisons. Aquac. Eng. 2007, 36, 137–148. [Google Scholar] [CrossRef]
- Su, B.; Bjørnson, F.O.; Tsarau, A.; Endresen, P.C.; Ohrem, S.J.; Føre, M.; Fagertun, J.T.; Klebert, P.; Kelasidi, E.; Bjelland, H.V. Towards a holistic digital twin solution for real-time monitoring of aquaculture net cage systems. Mar. Struct. 2023, 91, 103469. [Google Scholar] [CrossRef]
- Bi, C.W.; Zhao, Y.P.; Sun, X.X.; Zhang, Y.; Guo, Z.X.; Wang, B.; Dong, G.H. An efficient artificial neural network model to predict the structural failure of high-density polyethylene offshore net cages in typhoon waves. Ocean Eng. 2020, 196, 106793. [Google Scholar] [CrossRef]
- Shi, X.W.; Zhao, Y.P.; Bi, C.W.; Liu, Q.; Fan, Z.Q.; Zhou, S.H.; Jia, N. Failure probability of offshore high-density polyethylene net cages under typhoon waves. Aquac. Eng. 2022, 98, 102254. [Google Scholar] [CrossRef]
- Klebert, P.; Patursson, Ø.; Endresen, P.C.; Rundtop, P.; Birkevold, J.; Rasmussen, H.W. Three-dimensional deformation of a large circular flexible sea cage in high currents: Field experiment and modeling. Ocean Eng. 2015, 104, 511–520. [Google Scholar] [CrossRef]
- Gansel, L.C.; Oppedal, F.; Birkevold, J.; Tuene, S.A. Drag forces and deformation of aquaculture cages—Full-scale towing tests in the field. Aquac. Eng. 2018, 81, 46–56. [Google Scholar] [CrossRef]
- DeCew, J.; Fredriksson, D.W.; Lader, P.F.; Chambers, M.; Howell, W.H.; Osienki, M.; Celikkol, B.; Frank, K.; Høy, E. Field measurements of cage deformation using acoustic sensors. Aquac. Eng. 2013, 57, 114–125. [Google Scholar] [CrossRef]
- Lader, P.; Dempster, T.; Fredheim, A.; Jensen, Ø. Current induced net deformations in full-scale sea-cages for Atlantic salmon (Salmo salar). Aquac. Eng. 2008, 38, 52–65. [Google Scholar] [CrossRef]
- Colbourne, D.B.; Allen, J.H. Observations on motions and loads in aquaculture cages from full scale and model scale measurements. Aquac. Eng. 2001, 24, 129–148. [Google Scholar] [CrossRef]
- Huang, Y.; Li, Z.; Sun, C.; Feng, Z.; Li, J.; Wei, D.; Wang, B.; Jiang, S.; Chen, K.; Sun, X. Using the roughness height and manning number in hydrodynamic model to estimate the impact of intensive oyster aquaculture by floating & fixed rafts on water exchange with an application in Qinzhou Bay, China. Ecol. Modell. 2023, 476, 110230. [Google Scholar] [CrossRef]
- Liu, Y.; Wang, Z.; Yang, X.; Zhang, Y.; Yang, F.; Liu, B.; Cai, P. Satellite-based monitoring and statistics for raft and cage aquaculture in China’s offshore waters. Int. J. Appl. Earth Obs. Geoinf. 2020, 91, 102118. [Google Scholar] [CrossRef]
- Fattal, R. Single image dehazing. ACM Trans. Graph. 2008, 27, 1–9. [Google Scholar] [CrossRef]
- He, K.; Sun, J.; Tang, X. Single image haze removal using dark channel prior. IEEE Trans. Pattern Anal. Mach. Intell. 2011, 33, 2341–2353. [Google Scholar] [CrossRef]
- Kim, C. Robust Single-Image Dehazing. Electronics 2021, 10, 2636. [Google Scholar] [CrossRef]
- Dong, C.; Loy, C.C.; He, K.; Tang, X. Image super-resolution using deep convolutional networks. IEEE Trans. Pattern Anal. Mach. Intell. 2016, 38, 295–307. [Google Scholar] [CrossRef]
- Kim, J.; Lee, J.K.; Lee, K.M. Accurate Image Super-Resolution Using Very Deep Convolutional Networks. In Proceedings of the 2016 IEEE Conference on Computer Vision and Pattern Recognition (CVPR), IEEE, Las Vegas, NV, USA, 27–30 June 2016; 1646–1654. [Google Scholar] [CrossRef]
- Lim, B.; Son, S.; Kim, H.; Nah, S.; Lee, K.M. Enhanced Deep Residual Networks for Single Image Super-Resolution. In Proceedings of the 2017 IEEE Conference on Computer Vision and Pattern Recognition Workshops (CVPRW), Honolulu, HI, USA, 21–26 July 2017; 136–144. [Google Scholar] [CrossRef]
- Hou, H.M.; Liu, Y.; Dong, G.H.; Xu, T.J. Reliability assessment of mooring system for fish cage considering one damaged mooring line. Ocean Eng. 2022, 257, 111626. [Google Scholar] [CrossRef]
- Jia, P.; Xu, H.; Du, Z.; Xie, Y.; Zhao, C. Prediction of net mouth area for trawlers based on sea trials and machine learning. Ocean Eng. 2024, 293, 116266. [Google Scholar] [CrossRef]

































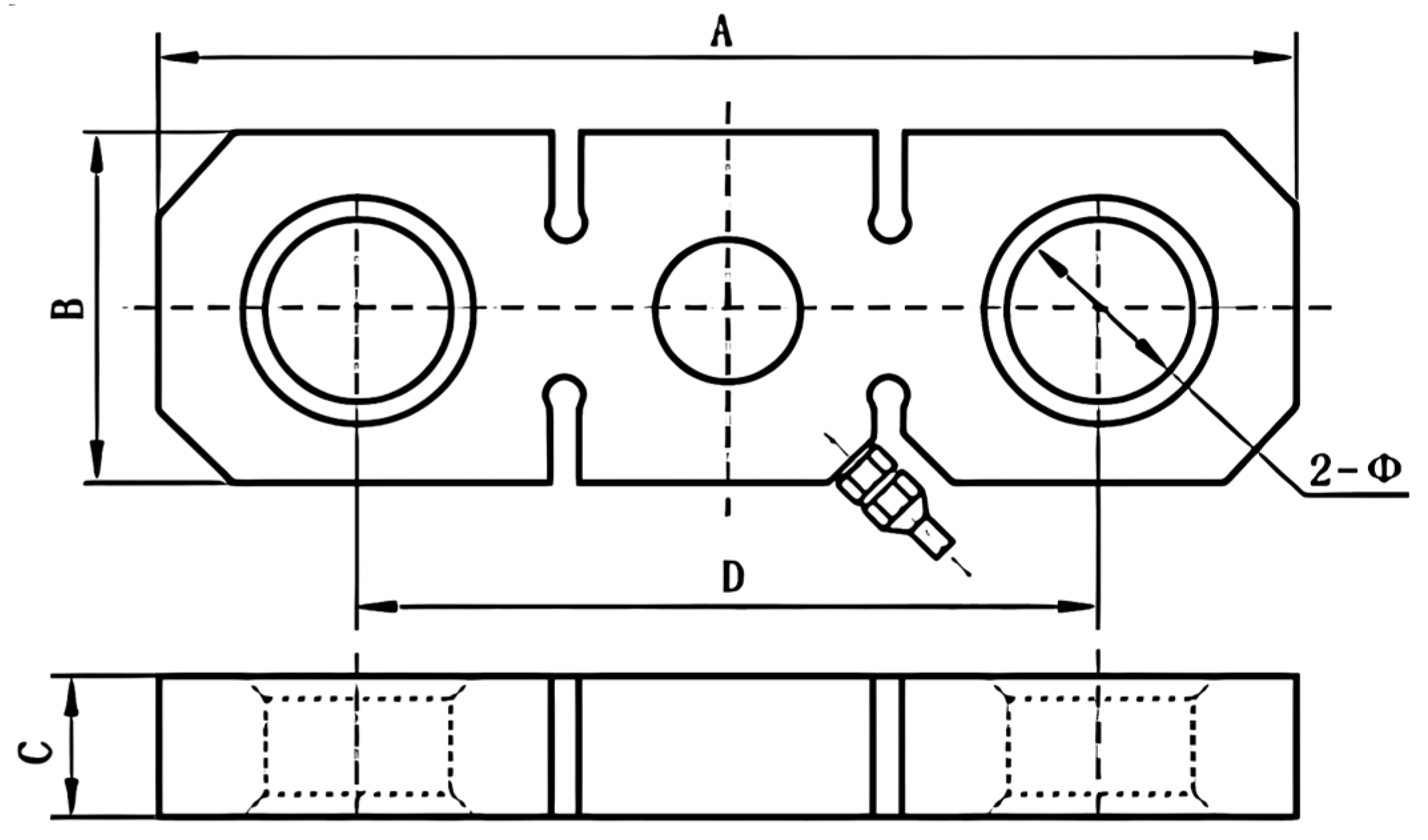
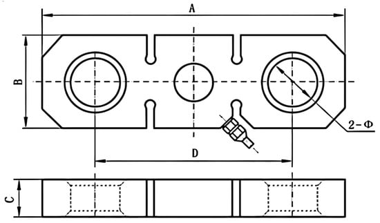
| Components | Parameters | Pipe-Type Floating Raft | Plate-Type Floating Raft |
|---|---|---|---|
| Walkway plate | Width (m) | 0.5 | 0.4 |
| Center distance (m) | 4.5 | 4.5 | |
| Pipe | Diameter (mm) | 125 | / |
| Wall thickness (mm) | 11.5 | / | |
| Center distance (mm) | 375 | / | |
| Plate | Width (mm) | / | 400 |
| Height (mm) | / | 75 | |
| Bottom wall thickness (mm) | / | 10 | |
| Vertical wall thickness (mm) | / | 10 | |
| Number of stiffeners | / | 6 | |
| Thickness of stiffeners (mm) | / | 5 | |
| Mooring rope | Diameter (mm) | 36 | 36 |
| Material | PE | PE | |
| Density (g/cm³) | 0.95 | 0.95 |
| Parameters | Values |
|---|---|
| Sensibility (23 ± 5 °C) | 42 mV/m·s−2 |
| Measuring range | 20 m·s−2 |
| Frequency response (±5%) | X and Y (0–1400), Z (0–550) |
| Resonant frequency | >5.5 kHz |
| Impact limit (No power supply) | 10,000 g |
| Driving voltage | 8–16 VDC |
| Degree of nonlinearity | |
| Operating temperature range | −20 °C to 80 °C |
| Weight | About 15 g |
| Overall dimension | 16 mm × 15 mm × 8 mm |
| Parameters | Values |
|---|---|
| Standard resistance (Ω) | 1 K, 2 K, 5 K, 10 K, 20 K |
| Maximum selectable resistance | 50 KΩ |
| Total resistance tolerance | Standard level ± 15% (L), Precision level ± 10% (K) |
| Independent linear tolerance | Standard level ± 2.0%, Precision level ± 1.0% |
| Resolution ratio | Infinitely small |
| Output smoothness | <Input voltage 0.1% |
| Contact resistance variation | <2% C.R.V. |
| Power | 0.2 W |
| Electronic stroke | 11 ± 0.5 mm |
| Mechanical stroke | About 12 mm |
| Insulation resistance | >1000 MΩ (500 V.D.C.) |
| Dielectrics voltage-resistance | 1 min (500 V.A.C) |
| Friction value | <0.3 N (30 gf) |
| Stop withstand voltage | About 10 N (1 kgf) |
| Temperature coefficient of resistance | ±400 p.p.m./°C |
| Mass | About 5 g |
Disclaimer/Publisher’s Note: The statements, opinions and data contained in all publications are solely those of the individual author(s) and contributor(s) and not of MDPI and/or the editor(s). MDPI and/or the editor(s) disclaim responsibility for any injury to people or property resulting from any ideas, methods, instructions or products referred to in the content. |
© 2024 by the authors. Licensee MDPI, Basel, Switzerland. This article is an open access article distributed under the terms and conditions of the Creative Commons Attribution (CC BY) license (https://creativecommons.org/licenses/by/4.0/).
Share and Cite
Fu, F.; Zhang, X.; Hu, Z.; Li, Y.; Wang, L.; Yu, J. Research on Sea Trial Techniques for Motion Responses of HDPE Floating Rafts Used in Aquaculture. J. Mar. Sci. Eng. 2024, 12, 1150. https://doi.org/10.3390/jmse12071150
Fu F, Zhang X, Hu Z, Li Y, Wang L, Yu J. Research on Sea Trial Techniques for Motion Responses of HDPE Floating Rafts Used in Aquaculture. Journal of Marine Science and Engineering. 2024; 12(7):1150. https://doi.org/10.3390/jmse12071150
Chicago/Turabian StyleFu, Fei, Xiaoying Zhang, Zhe Hu, Yan Li, Lihe Wang, and Jianxing Yu. 2024. "Research on Sea Trial Techniques for Motion Responses of HDPE Floating Rafts Used in Aquaculture" Journal of Marine Science and Engineering 12, no. 7: 1150. https://doi.org/10.3390/jmse12071150
APA StyleFu, F., Zhang, X., Hu, Z., Li, Y., Wang, L., & Yu, J. (2024). Research on Sea Trial Techniques for Motion Responses of HDPE Floating Rafts Used in Aquaculture. Journal of Marine Science and Engineering, 12(7), 1150. https://doi.org/10.3390/jmse12071150
