Design and Experimental Study of a Robotic Tuna with Shell-like Tensegrity Joints
Abstract
1. Introduction
2. Design of Robotic Tuna
2.1. Evolutionary Development of Tensegrity Joint
2.1.1. Previous Work
2.1.2. Improvement Work
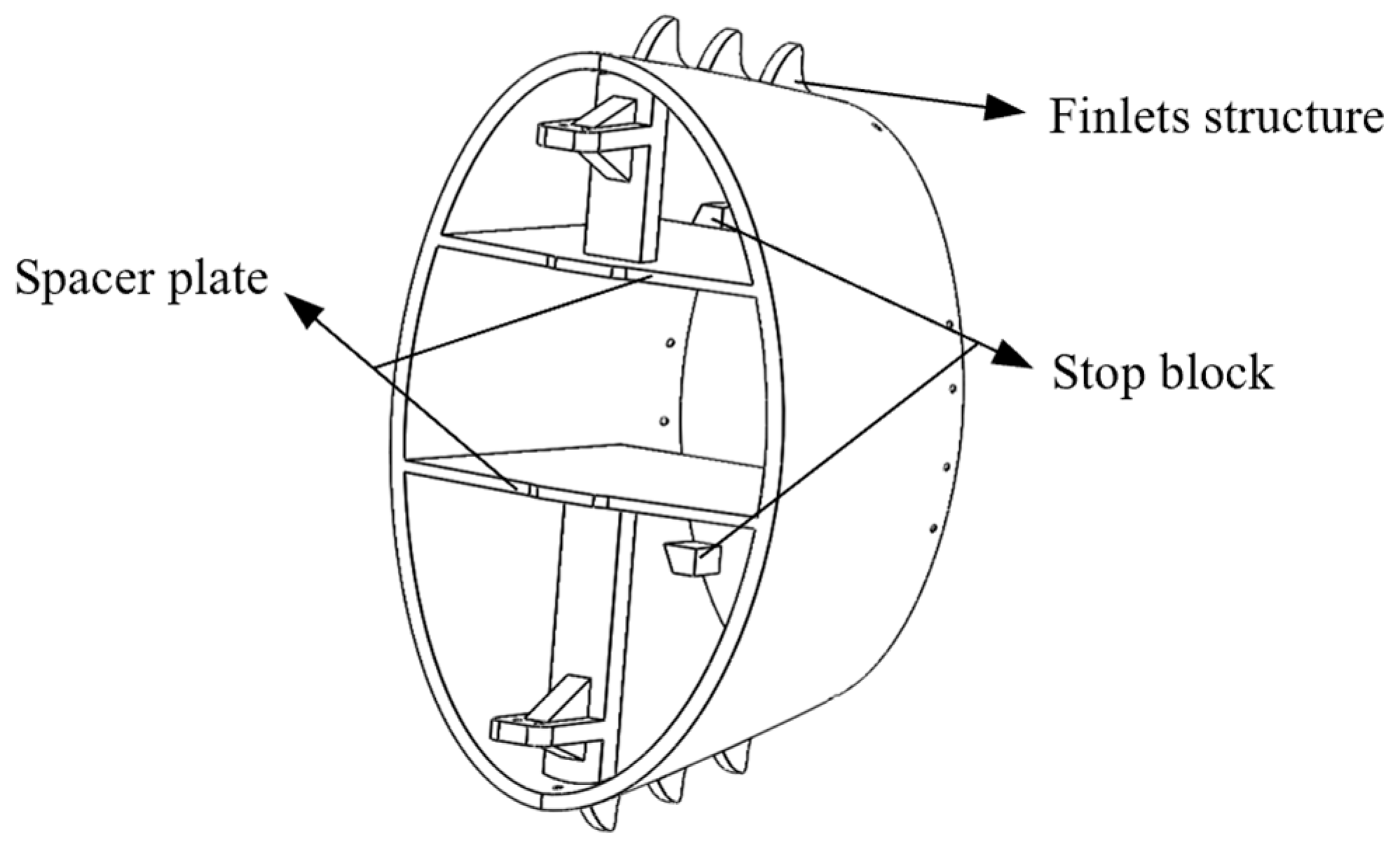
2.2. Morphology Matching Design Method
2.3. Stiffness Analysis of Shell-like Tensegrity Joint
2.4. Mechatronics Design
3. Results and Discussion with Swimming Experiments
3.1. Swimming Optimization with Predetermined Joint Angles
3.2. Swimming Optimization with Caudal Fin
3.2.1. Rotational Stiffness
3.2.2. Material Flexibility
3.2.3. Caudal Fin Height
3.2.4. Trailing Edge Shape
3.3. Discussion
4. Conclusions
Supplementary Materials
Author Contributions
Funding
Institutional Review Board Statement
Informed Consent Statement
Data Availability Statement
Acknowledgments
Conflicts of Interest
References
- Marchese, A.D.; Onal, C.D.; Rus, D. Autonomous soft robotic fish capable of escape maneuvers using fluidic elastomer actuators. Soft Robot. 2014, 1, 75–87. [Google Scholar] [CrossRef]
- Zhong, Q.; Zhu, J.; Fish, F.E.; Kerr, S.J.; Downs, A.M.; Bart-Smith, H.; Quinn, D.B. Tunable stiffness enables fast and efficient swimming in fish-like robots. Sci. Robot. 2021, 6, eabe4088. [Google Scholar] [CrossRef]
- Tong, R.; Wu, Z.; Chen, D.; Wang, J.; Du, S.; Tan, M.; Yu, J. Design and optimization of an untethered high-performance robotic tuna. IEEE-ASME Trans. Mechatron. 2022, 27, 4132–4142. [Google Scholar] [CrossRef]
- Ormonde, P.; Stasolla, M.; Zhu, J.; Bart-Smith, H.; Moored, K. Performance of Schooling Tuna-like Robotic Swimmers. Bull. Am. Phys. Soc. 2024. Available online: https://meetings.aps.org/Meeting/DFD23/Session/J07.6 (accessed on 10 October 2024).
- Katzschmann, R.K.; DelPreto, J.; MacCurdy, R.; Rus, D. Exploration of underwater life with an acoustically controlled soft robotic fish. Sci. Robot. 2018, 3, eaar3449. [Google Scholar] [CrossRef]
- Qiu, C.; Wu, Z.; Wang, J.; Tan, M.; Yu, J. Autonomous recovery control of biomimetic robotic fish based on multi-sensory system. IEEE Robot. Autom. Lett. 2024, 9, 1420–1427. [Google Scholar] [CrossRef]
- Triantafyllou, M.S.; Triantafyllou, G.S. An efficient swimming machine. Sci. Am. 1995, 272, 64–70. [Google Scholar] [CrossRef]
- Su, Z.; Yu, J.; Tan, M.; Zhang, J. Implementing flexible and fast turning maneuvers of a multijoint robotic fish. IEEE-ASME Trans. Mechatron. 2014, 19, 329–338. [Google Scholar] [CrossRef]
- Roper, D.T.; Sharma, S.; Sutton, R.; Culverhouse, P. A review of developments towards biologically inspired propulsion systems for autonomous underwater vehicles. Proc. Inst. Mech. Eng. Part M-J. Eng. Marit. Environ. 2011, 225, 77–96. [Google Scholar] [CrossRef]
- Chen, D.; Wu, Z.; Meng, Y.; Tan, M.; Yu, J. Development of a high-speed swimming robot with the capability of fish-like leaping. IEEE-ASME Trans. Mechatron. 2022, 27, 3579–3589. [Google Scholar] [CrossRef]
- Chen, D.; Wang, B.; Xiong, Y.; Zhang, J.; Tong, R.; Meng, Y.; Yu, J. Design and analysis of a novel bionic tensegrity robotic fish with a continuum body. Biomimetics 2024, 9, 19. [Google Scholar] [CrossRef] [PubMed]
- Li, K.; Jiang, H.; Wang, S.; Yu, J. A soft robotic fish with variable-stiffness decoupled mechanisms. J. Bionic Eng. 2018, 15, 599–609. [Google Scholar] [CrossRef]
- Valdivia y Alvarado, P.P.A. Design of Biomimetic Compliant Devices for Locomotion in Liquid Environments. Ph.D. Thesis, Massachusetts Institute of Technology, Cambridge, MA, USA, 2007. [Google Scholar]
- Mazumdar, A.; Alvarado, P.V.Y.; Youcef-Toumi, K. Maneuverability of a robotic tuna with compliant body. In Proceedings of the 2008 IEEE International Conference on Robotics and Automation (ICRA), Pasadena, CA, USA, 19–23 May 2008. [Google Scholar]
- Zhong, Y.; Li, Z.; Du, R. A novel robot fish with wire-driven active body and compliant tail. IEEE-ASME Trans. Mechatron. 2017, 22, 1633–1643. [Google Scholar] [CrossRef]
- Sfakiotakis, M.; Lane, D.M.; Davies, J.B.C. Review of fish swimming modes for aquatic locomotion. IEEE J. Ocean. Eng. 1999, 24, 237–252. [Google Scholar] [CrossRef]
- White, C.H.; Lauder, G.V.; Bart-Smith, H. Tunabot Flex: A tuna-inspired robot with body flexibility improves high-performance swimming. Bioinspir. Biomim. 2021, 16, 026019. [Google Scholar] [CrossRef]
- Barrett, D.S.; Triantafyllou, M.S.; Yue, D.K.P.; Grosenbaugh, M.A.; Wolfgang, M. Drag reduction in fish-like locomotion. J. Fluid Mech. 1999, 392, 183–212. [Google Scholar] [CrossRef]
- Chen, B.; Jiang, H. Swimming performance of a tensegrity robotic fish. Soft Robot. 2019, 6, 520–531. [Google Scholar] [CrossRef]
- Shah, D.S.; Booth, J.W.; Baines, R.L.; Wang, K.; Vespignani, M.; Bekris, K.; Kramer-Bottiglio, R. Tensegrity Robotics. Soft Robot. 2022, 9, 639–656. [Google Scholar] [CrossRef]
- Liu, Y.; Bi, Q.; Yue, X.; Wu, J.; Yang, B.; Li, Y. A review on tensegrity structures-based robots. Mech. Mach. Theory 2022, 168, 104571. [Google Scholar] [CrossRef]
- Bliss, T.; Iwasaki, T.; Bart-Smith, H. Central pattern generator control of a tensegrity swimmer. IEEE-ASME Trans. Mechatron. 2012, 18, 586–597. [Google Scholar] [CrossRef]
- Mirletz, B.T.; Bhandal, P.; Adams, R.D.; Agogino, A.K.; Quinn, R.D.; SunSpiral, V. Goal-directed cpg-based control for tensegrity spines with many degrees of freedom traversing irregular terrain. Soft Robot. 2015, 2, 165–176. [Google Scholar] [CrossRef]
- Mirletz, B.T.; Park, I.W.; Flemons, T.E.; Agogino, A.K.; Quinn, R.D.; SunSpiral, V. Design and control of modular spine-like tensegrity structures. In Proceedings of the World Conference of the International Association for Structural Control and Monitoring (WCSM), Barcelona, Spain, 15–17 July 2014. [Google Scholar]
- Wainwright, D.K.; Lauder, G.V. Tunas as a high-performance fish platform for inspiring the next generation of autonomous underwater vehicles. Bioinspir. Biomim. 2020, 15, 035007. [Google Scholar] [CrossRef]
- Akanyeti, O.; Di Santo, V.; Goerig, E.; Wainwright, D.K.; Liao, J.C.; Castro-Santos, T.; Lauder, G.V. Fish-inspired segment models for undulatory steady swimming. Bioinspir. Biomim. 2022, 17, 046007. [Google Scholar] [CrossRef]
- Wang, J.; Wainwright, D.K.; Lindengren, R.E.; Lauder, G.V.; Dong, H. Tuna locomotion: A computational hydrodynamic analysis of finlet function. J. R. Soc. Interface 2020, 17, 20190590. [Google Scholar] [CrossRef]
- Chakarov, D. Study of the antagonistic stiffness of parallel manipulators with actuation redundancy. Mech. Mach. Theory 2004, 39, 583–601. [Google Scholar] [CrossRef]
- Farhadi Machekposhti, D.; Tolou, N.; Herder, J.L. A review on compliant joints and rigid-body constant velocity universal joints toward the design of compliant homokinetic couplings. J. Mech. Des. 2015, 137, 032301. [Google Scholar] [CrossRef]
- Liu, S.; Liu, C.; Liang, Y.; Ren, L.; Ren, L. Design and Control of an Untethered Robotic Tuna Based on a Hydraulic Soft Actuator. IEEE/ASME Trans. Mechatron. 2024. Available online: https://ieeexplore.ieee.org/abstract/document/10547594 (accessed on 10 October 2024).
- Liu, Y.; Jiang, H.; Xu, Z. Development of novel fish-inspired robot with variable stiffness. Ocean Eng. 2024, 305, 118047. [Google Scholar] [CrossRef]
- Anderson, J.M.; Streitlien, K.; Barrett, D.S.; Triantafyllou, M.S. Triantafyllou. Oscillating foils of high propulsive efficiency. J. Fluid Mech. 1998, 360, 41–72. [Google Scholar] [CrossRef]
- Wen, L.; Wang, T.; Wu, G.; Liang, J.; Wang, C. Novel method for the modeling and control investigation of efficient swimming for robotic fish. IEEE Trans. Ind. Electron. 2011, 59, 3176–3188. [Google Scholar] [CrossRef]
- Luo, Y.; Xiao, Q.; Shi, G.; Pan, G.; Chen, D. The effect of variable stiffness of tuna-like fish body and fin on swimming performance. Bioinspir. Biomim. 2020, 16, 016003. [Google Scholar] [CrossRef]
- Xin, Z.; Wu, C. Shape optimization of the caudal fin of the three-dimensional self-propelled swimming fish. Sci. China-Phys. Mech. Astron. 2013, 56, 328–339. [Google Scholar] [CrossRef]
- Qiu, C.; Wu, Z.; Wang, J.; Tan, M.; Yu, J. Locomotion optimization of a tendon-driven robotic fish with variable passive tail fin. IEEE Trans. Ind. Electron. 2023, 70, 4983–4992. [Google Scholar] [CrossRef]
- Liao, X.; Zhou, C.; Wang, J.; Fan, J.; Zhang, Z. A wire-driven elastic robotic fish and its design and cpg-based control. J. Intell. Robot. Syst. 2022, 107, 4. [Google Scholar] [CrossRef]
- Xie, F.; Li, Z.; Ding, Y.; Zhong, Y.; Du, R. An experimental study on the fish body flapping patterns by using a biomimetic robot fish. IEEE Robot. Autom. Lett. 2019, 5, 64–71. [Google Scholar] [CrossRef]














| Case | θ1 (°) | θ2 (°) | θ3 (°) | θ4 (°) | θ (°) |
|---|---|---|---|---|---|
| 1 | 6 | 8 | 10 | 14 | 15.4 |
| 2 | 6 | 6 | 8 | 12 | 13.4 |
| 3 | 25 | 25 | 25 | 25 | 13.4 |
Disclaimer/Publisher’s Note: The statements, opinions and data contained in all publications are solely those of the individual author(s) and contributor(s) and not of MDPI and/or the editor(s). MDPI and/or the editor(s) disclaim responsibility for any injury to people or property resulting from any ideas, methods, instructions or products referred to in the content. |
© 2024 by the authors. Licensee MDPI, Basel, Switzerland. This article is an open access article distributed under the terms and conditions of the Creative Commons Attribution (CC BY) license (https://creativecommons.org/licenses/by/4.0/).
Share and Cite
Liu, Y.; Jin, G.; Cao, J.; Zhou, L.; Jiang, H. Design and Experimental Study of a Robotic Tuna with Shell-like Tensegrity Joints. J. Mar. Sci. Eng. 2024, 12, 2105. https://doi.org/10.3390/jmse12112105
Liu Y, Jin G, Cao J, Zhou L, Jiang H. Design and Experimental Study of a Robotic Tuna with Shell-like Tensegrity Joints. Journal of Marine Science and Engineering. 2024; 12(11):2105. https://doi.org/10.3390/jmse12112105
Chicago/Turabian StyleLiu, Yanwen, Guangyuan Jin, Jiekai Cao, Liang Zhou, and Hongzhou Jiang. 2024. "Design and Experimental Study of a Robotic Tuna with Shell-like Tensegrity Joints" Journal of Marine Science and Engineering 12, no. 11: 2105. https://doi.org/10.3390/jmse12112105
APA StyleLiu, Y., Jin, G., Cao, J., Zhou, L., & Jiang, H. (2024). Design and Experimental Study of a Robotic Tuna with Shell-like Tensegrity Joints. Journal of Marine Science and Engineering, 12(11), 2105. https://doi.org/10.3390/jmse12112105
