Design Longitudinal Control System Using Suitable T-Foil Modeling for the Offshore Wind Power Operation and Maintenance Vessel with Severe Sea States
Abstract
:1. Introduction
- The two degrees of freedom (2 DOF) motion (heave and pitch) model discussed in this paper contains coupled motion model, which is more general and more complex than the systems with one degree of freedom motion. The existence of coupled longitudinal motion makes the design process of ride control system more complicated;
- The most suitable installation position and the optimum strut’s height of T-foil are determined by meshing the ship hull model, setting the water channel, and a series of corresponding computer fluid dynamic (CFD) simulations at different high sea state numbers (SSN) and speeds;
- The attitude control system for ship multiple degrees of freedom (M DOF)-coupled motion is established, which increases the complexity of system modeling and analysis due to the transformation of the system model from a bare hull model to a model with control devices. The proposed control strategy in this paper effectively suppresses the ship’s heave and pitch motion.
2. Dynamics of Ship Motion
2.1. Six Degrees of Freedom Model
2.2. Coupled Equations of Heave and Pitch Motion
2.3. Wave-Induced Forces and Moments
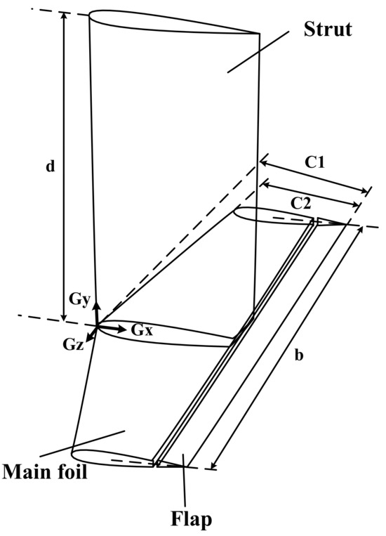
2.4. T-Foil Lift
3. Matchability Analysis of T-Foil for the O&M Vessel
3.1. CFD Simulation of the O&M Vessel
- The length of a fluid domain is about eight times the simulation model’s length;
- The height is about eleven times the model’s height;
- The width is about three times the model’s width.

3.2. Optimization Analysis of T-Foil’s Location and Strut’s Height
3.3. Characteristics of T-Foil
4. LQR Controller Design for the O&M Vessel with T-Foil
4.1. Linear Quadratic Regulator Model for the O&M Vessel with T-Foil
4.2. Solve the Matrix Algebraic Riccati Equation (ARE)
4.3. Obtain the Optimal Control
4.4. Obtain the Minimum Value of Performance Index J
5. Results and Discussion
5.1. Simulation Results Using LQR Method
5.2. T-Foil Stabilization under Multiple Operating Conditions
6. Conclusions
Author Contributions
Funding
Institutional Review Board Statement
Informed Consent Statement
Data Availability Statement
Conflicts of Interest
Abbreviations
| O&M | Operation and maintenance |
| 4 DOF | Four degrees of freedom |
| MSI | Motion sickness incidence |
| RCS | Ride control system |
| LQG | Linear quadratic Gaussian |
| 2 DOF | Two degrees of freedom |
| CFD | Computer fluid dynamic |
| SSN | Sea state numbers |
| M DOF | Multiple degrees of freedom |
| 6 DOF | Six degrees of freedom |
| LQR | Linear quadratic regulator |
| CG | Center of gravity |
| PSD | Power spectral density |
| PM | Pierson-Moskowits |
| FP | Forward perpendicular |
| MIMO | Multiple input and multiple output |
| ARE | Algebraic riccati equation |
| RMS | Root mean square |
References
- Zhang, S.; Zhao, P.; Li, C.; Song, Z.; Liang, L. Study on the Accessibility Impact of Anti-Rolling Tank on the Offshore Wind O&M Gangway. J. Mar. Sci. Eng. 2023, 11, 848. [Google Scholar]
- Fan, Q.; Wang, X.; Yuan, J.; Liu, X.; Hu, H.; Lin, P. A Review of the Development of Key Technologies for Offshore Wind Power in China. J. Mar. Sci. Eng. 2022, 10, 929. [Google Scholar] [CrossRef]
- Liang, L.; Cheng, Q.; Li, J.; Le, Z.; Cai, P.; Jiang, Y. Design of the roll and heel reduction controller on ship’s turning motion. Ocean Eng. 2023, 284, 115093. [Google Scholar] [CrossRef]
- Jin, Z.; Liu, S.; Jin, L.; Chen, W.; Yang, W. Model based robust predictive control of ship roll/yaw motions with input constraints. Appl. Sci. 2020, 10, 3377. [Google Scholar] [CrossRef]
- Ren, R.; Zou, Z.; Wang, J. Time-scale decomposition techniques used in the ship path-following problem with rudder roll stabilization control. J. Mar. Sci. Eng. 2021, 9, 1024. [Google Scholar] [CrossRef]
- Lee, S.; Hwang, S.; Kim, H.; Hyun, Y.; Lee, S.; Paik, K. A numerical study on the hydrodynamic performance of a tanker in bow sea conditions depending on restraint conditions. J. Mar. Sci. Eng. 2023, 11, 1726. [Google Scholar] [CrossRef]
- Li, M.; Shan, L.; Xu, G.; Xu, W.; Wang, J. Experimental and numerical study of the hydrodynamics of a flapping fin at zero speed. Ocean Eng. 2023, 288, 115945. [Google Scholar] [CrossRef]
- Song, J.; Zhao, P.; Liang, L.; Ji, M. Force modeling of zero/low-velocity fin stabilizer and hydrofoil profile optimization. Ocean Eng. 2020, 213, 107635. [Google Scholar] [CrossRef]
- Deniz, O. Performance of a Magnus effect-based cylindrical roll stabilizer on a full-scale Motor-yacht. Ocean Eng. 2020, 218, 108247. [Google Scholar]
- Liang, L.; Jiang, Y.; Zhang, Q.; Le, Z. Aspect ratio effects on hydrodynamic characteristics of Magnus stabilizers. Ocean Eng. 2020, 216, 107699. [Google Scholar] [CrossRef]
- Liang, L.; Yuan, J.; Zhang, S.; Zhao, P. Design a software real-time operation platform for wave piercing catamarans motion control using linear quadratic regulator based genetic algorithm. PLoS ONE 2018, 13, e0196107. [Google Scholar] [CrossRef] [PubMed]
- Li, J.; Li, Z.; Wu, Y.; Xiong, X.; Li, Z.; Xiong, W. Research on high-speed catamaran motion reduction with semi-active control of flexible pontoon. J. Mar. Sci. Eng. 2023, 11, 1747. [Google Scholar] [CrossRef]
- Esteban, S.; Giron-Sierra, J.; Andres-Toro, D.; Cruz, J.; Riola, J. Fast ships models for seakeeping improvement studies using flaps and T-Foil. Math. Comput. Model. 2005, 41, 1–24. [Google Scholar] [CrossRef]
- Zong, Z.; Sun, Y.; Jiang, Y. Experimental study of controlled T-foil for vertical acceleration reduction of a trimaran. J. Mar. Sci. Technol. 2019, 24, 553–564. [Google Scholar] [CrossRef]
- Zhu, Q.; Ma, Y. A design of T-foil and trim tab for fast catamaran based on NSGA-II. J. Hydrodyn. 2020, 32, 161–174. [Google Scholar] [CrossRef]
- Zhu, Q.; Ma, Y. Design of H∞ anti-vertical controller and optimal allocation rule for catamaran T-foil and trim tab. J. Ocean Eng. Mar. Energy 2019, 5, 205–216. [Google Scholar] [CrossRef]
- Ma, Y.; Zhu, Q. Fast trimaran anti-longitudinal motion control system based on active disturbance rejection control with controller tuning. J. Mar. Sci. Technol. 2022, 27, 1045–1064. [Google Scholar] [CrossRef]
- Lau, C.; Ali-Lavroff, J.; Holloway, D.; Shabani, B.A.; Mehr, J.; Thomas, J. Influence of an active T-foil on motions and passenger comfort of a large high-speed wave-piercing catamaran based on sea trials. J. Mar. Sci. Technol. 2022, 27, 856–872. [Google Scholar] [CrossRef]
- Jiang, Y.; Bai, J.; Liu, S.; Zong, Z.; Li, P. Experimental investigation of T-foil hybrid control strategy for ship motion reduction in head seas. Ocean Eng. 2022, 243, 110251. [Google Scholar] [CrossRef]
- Esteban, S. Modelado y Control del Movimiento Longitudinal de un Ferry de Alta Velocidad. Ph.D. Thesis, Universidad Complutense de Madrid, Madrid, Spain, 2002. [Google Scholar]
- Liang, L.; Yuan, J.; Zhang, S.; Liu, Y. Simulation study on wave piercing catamarans based on T-foil optimization model. J. Huazhong Univ. Sci. Tech. 2018, 46, 7–12. [Google Scholar]
- Davis, M.; Watson, N.; Holloway, D. Wave response of an 86m high speed catamaran with active T-foils and stern tabs. Int. J. Marit. Eng. 2003, 145, 15–34. [Google Scholar]
- Shen, Y.; Chen, M.; Skelton, R. Markov data-based reference tracking control to tensegrity morphing airfoils. Eng. Struct. 2023, 291, 116430. [Google Scholar] [CrossRef]
- Chota, T.; Takanori, H.; Youhei, T. Numerical analysis of wake wash reduction for catamaran with hydrofoils. Appl. Ocean Res. 2023, 135, 103556. [Google Scholar]
- Liu, Z.; Zheng, L.; Li, G.; Yuan, S.; Yang, S. An experimental study of the vertical stabilization control of a trimaran using an actively controlled T-foil and flap. Ocean Eng. 2021, 219, 108224. [Google Scholar] [CrossRef]
- Liang, C.; Zhang, X. Concise and economical control implemented on ship fin stabilizer system based on nonlinear feedback algorithm. J. Mar. Sci. Technol. 2021, 26, 88–96. [Google Scholar] [CrossRef]
- Chang, W.; Chang, C.; Lin, Y.; Du, J. Discrete-time robust fuzzy control synthesis for discretized and perturbed ship fin stabilizing systems subject to variance and pole location constraints. J. Mar. Sci. Technol. 2021, 26, 201–215. [Google Scholar] [CrossRef]
- Zhang, J.; Liu, Z.; Sun, T.; Bu, M. Explicit stochastic model predictive control for anti-pitching a high-speed multihull. Appl. Ocean Res. 2022, 119, 102917. [Google Scholar] [CrossRef]
- Cao, T.; Zhang, X. Nonlinear Decoration Control Based on Perturbation of Ship Longitudinal Motion Model. Appl. Ocean Res. 2023, 130, 103412. [Google Scholar] [CrossRef]
- Sicard, B. Non-Magnetic Pitch and Heave Stabilizing T-Foil. Master’s Thesis, Royal Institute of Technology University, Stockholm, Sweden, 2002. [Google Scholar]
- Fossen, T. Guidance and Control of Ocean Vehicles; John Wiley and Sons: Hoboken, NJ, USA, 1994. [Google Scholar]
- Chin, C.; Lin, W.; Lin, J. Experimental validation of open-frame ROV model for virtual reality simulation and control. J. Mar. Sci. Technol. 2018, 23, 267–287. [Google Scholar] [CrossRef]
- Prestero, T. Verification of a Six-Degree of Freedom Simulation Model for the REMUS Autonomous Underwater Vehicle; MIT Press: Cambridge, MA, USA, 2001. [Google Scholar]
- Tiwari, B.; Sharma, R. Design and analysis of a variable buoyancy system for efficient hovering control of underwater vehicles with state feedback controller. J. Mar. Sci. Eng. 2020, 8, 263. [Google Scholar] [CrossRef]
- Dai, Y.; Liu, L.; Feng, S. On the identification of coupled pitch and heave motions using opposition-based particle swarm optimization. Math. Probl. Eng. 2014, 2014, 784049. [Google Scholar] [CrossRef]
- Perez, T.; Blanke, M. Simulation of Ship Motion in Seaway; Technical Report; The University of Newcastle: Callaghan, Australia, 2005. [Google Scholar]
- Price, W.; Bishop, R. Probabilistic Theory of Ship Dynamics; Chapman and Hall: London, UK, 1974. [Google Scholar]
- Wang, Z.; Yuan, T.; Kong, X.; Wu, W. A universal similarity method and design procedure for buckling assessment of stiffened plates under compression load on real ships. Thin-Walled Struct. 2022, 181, 110025. [Google Scholar] [CrossRef]
- Khomyakov, A.; Elyukhina, I. Complete dynamic similarity for sea trials and towing tank experiments by means of polymer drag reduction. Ocean Eng. 2019, 178, 31–37. [Google Scholar] [CrossRef]
- Sclavounos, P.; Borgen, H. Seakeeping analysis of a high speed monohull with a motion control bow hydrofoil. J. Ship Res. 2004, 48, 77–117. [Google Scholar] [CrossRef]
- Lv, Y.; Li, H. Strong fixed-time dynamic inverse adaptive LQR integrated control strategy for dynamic positioning of ship. Ocean Eng. 2023, 288, 115969. [Google Scholar] [CrossRef]
- Moradi, M.; Bayat, F.; Charmi, M. A salient object detection framework using linear quadratic regulator controller. J. Vis. Commun. Image Represent. 2021, 79, 103259. [Google Scholar] [CrossRef]
- Merabet, A. Adaptive sliding mode speed control for wind energy experimental system. Energies 2018, 11, 2238. [Google Scholar] [CrossRef]
- Yuan, J. Research on Ride Control System for Wave Piercing Catamarans Based T-Foil and Stern Flaps. Ph.D. Thesis, Harbin Engineering University, Harbin, China, 2019. [Google Scholar]























| Parameters | Sign | Original Model | Reduced Model | Unit |
|---|---|---|---|---|
| Length | 90.33 | 10.04 | m | |
| Beam overall | 25.96 | 2.88 | m | |
| Height | H | 13.16 | 1.46 | m |
| Designed draft | D | 2.60 | 0.29 | m |
| Displacement | ∇ | 734.54 | 1.01 | ton |
| Parameters | Sign | Value | Unit |
|---|---|---|---|
| From FP of the O&M vessel | - | 25 | m |
| Strut’s height | d | 3.85 | m |
| Wingspan of main foil | b | 4.80 | m |
| Chord length of root | 1.50 | m | |
| Chord length of tip | 1.00 | m | |
| Aspect ratio | 3.84 | - | |
| Main foil type | - | NACA0012 | - |
| Strut type | - | NACA16021 | - |
| Rotation angle range | −15–15 | deg |
Disclaimer/Publisher’s Note: The statements, opinions and data contained in all publications are solely those of the individual author(s) and contributor(s) and not of MDPI and/or the editor(s). MDPI and/or the editor(s) disclaim responsibility for any injury to people or property resulting from any ideas, methods, instructions or products referred to in the content. |
© 2023 by the authors. Licensee MDPI, Basel, Switzerland. This article is an open access article distributed under the terms and conditions of the Creative Commons Attribution (CC BY) license (https://creativecommons.org/licenses/by/4.0/).
Share and Cite
Yuan, J.; Liu, Z.; Geng, H.; Zhang, S.; Liang, L.; Zhao, P. Design Longitudinal Control System Using Suitable T-Foil Modeling for the Offshore Wind Power Operation and Maintenance Vessel with Severe Sea States. J. Mar. Sci. Eng. 2023, 11, 2182. https://doi.org/10.3390/jmse11112182
Yuan J, Liu Z, Geng H, Zhang S, Liang L, Zhao P. Design Longitudinal Control System Using Suitable T-Foil Modeling for the Offshore Wind Power Operation and Maintenance Vessel with Severe Sea States. Journal of Marine Science and Engineering. 2023; 11(11):2182. https://doi.org/10.3390/jmse11112182
Chicago/Turabian StyleYuan, Jia, Zhen Liu, Hua Geng, Songtao Zhang, Lihua Liang, and Peng Zhao. 2023. "Design Longitudinal Control System Using Suitable T-Foil Modeling for the Offshore Wind Power Operation and Maintenance Vessel with Severe Sea States" Journal of Marine Science and Engineering 11, no. 11: 2182. https://doi.org/10.3390/jmse11112182
APA StyleYuan, J., Liu, Z., Geng, H., Zhang, S., Liang, L., & Zhao, P. (2023). Design Longitudinal Control System Using Suitable T-Foil Modeling for the Offshore Wind Power Operation and Maintenance Vessel with Severe Sea States. Journal of Marine Science and Engineering, 11(11), 2182. https://doi.org/10.3390/jmse11112182
