Next Article in Journal
Correction: Diez-Caballero et al. Environmental Compatibility of the Parc Tramuntana Offshore Wind Project in Relation to Marine Ecosystems. J. Mar. Sci. Eng. 2022, 10, 898
Next Article in Special Issue
Numerical Simulation of Oil Spill in the Arctic Ice-Covered Waters: Focusing on Different Ice Concentrations and Wave’s Impacts
Previous Article in Journal
An Approach for the Validation of a Coastal Erosion Vulnerability Index: An Application in Sicily
Previous Article in Special Issue
A Wave-Targeted Essentially Non-Oscillatory 3D Shock-Capturing Scheme for Breaking Wave Simulation
 
 
Font Type:
Arial Georgia Verdana
Font Size:
Aa Aa Aa
Line Spacing:
Column Width:
Background:
Article

Simulation and Experimental Study of Degradation of Polymetallic Nodules in Deep-Sea Multi-Stage Lifting Motor Pump

1
College of Mechanical and Electrical Engineering, Central South University, Changsha 410083, China
2
National Key Laboratory of Deep-Sea Mineral Researches Development and Utilization Technology, Changsha 410083, China
*
Author to whom correspondence should be addressed.
J. Mar. Sci. Eng. 2023, 11(1), 24; https://doi.org/10.3390/jmse11010024
Submission received: 14 October 2022 / Revised: 8 December 2022 / Accepted: 13 December 2022 / Published: 25 December 2022
(This article belongs to the Special Issue Computational and Experimental Marine Hydrodynamics)

Abstract

The impeller blades will continually strike the slurry mixture inside the pump, causing deterioration and a change in particle size. In this study, the degradation of mineral particles under various cycle times, rotational speeds, and flow rates is analyzed. The microscopic parameters of polymetallic nodules are calibrated by EDEM, and the transport of polymetallic nodules in the deep-sea lifting electric pump is simulated based on the coupled CFD-DEM solution of solid–liquid two-phase flow. The findings demonstrate that: the number of cycles through the pump has the greatest impact on particle degradation, and the number of fine particles significantly increases after the particles are impacted by the six-stage lifting electric pump several times; the higher the flow rate in the lifting electric pump, the faster the particles are dragged by the fluid, and the more easily the particles degrade; the faster the impeller speed of the lifting electric pump.

1. Introduction

With increased mining, terrestrial metallic mineral resources are becoming more and more limited, making it challenging to supply the enormous need for social development [1]. The oceans make up over 70% of the earth’s surface and are recognized to have commercial mining potential due to their vast quantities of polymetallic nodules, cobalt-rich crusts, and polymetallic sulphides [2]. The majority of the polymetallic nodules are found in 5000–6000 m of water. Long vertical pipelines of several kilometers in length are needed for the hydraulic lifting system’s transportation to the surface, as well as numerous electric pumps for lifting the ore in the midst of the pipelines [3].
A six-stage segmented deep-sea ore lifting electric pump with a 500 m 3 /h conveying flow rate, a 265 m head, a speed of 1726 r/min, a 5% conveying ore concentration, and a maximum passing particle size of 25 mm was first developed by KSB of Germany in the 1970s [4]. With the aid of CFD software, Park J carried out a fundamental investigation into a 4-stage slurry pump and numerically modelled the solid–liquid two-phase flow field and pump performance [5]. A two-stage ore slurry pump [6] with a flow rate of 150 m 3 /h, head of 70 m, and speed of 1750 r/min was later successfully created by Chi-Ho Yoon et al. and tested in June 2009 for lifting at a depth of 100 m. However, the delivery was incredibly erratic due to the pump’s low head and propensity for clogging [7]. Using a 6-stage centrifugal pump with a 500 m 3 /h flow rate, a 250 mH 2 O head, and the ability to pass particles up to 40 mm in diameter, Korea conducted a large-scale sea trial from November 2015 to December 2015 with the main goal of testing the remote operation capability of the submerged lifting pump and the working performance of the solid–liquid two-phase mixed slurry flowing through the pump [8].
Inevitably, slurry mixtures transported in pumps degrade due to the wear of the pipe wall, impact crushing of the ore raising pump’s impeller, and particle interaction. Bross et al. [9] conducted experiments and discovered that the wear of the centrifugal slurry pump’s vane head has a disproportionately large impact on the pump’s efficiency and head. Chandel et al. [10] carried out experiments to show that the Coriolis wear test riometer A. The research on slurry erosion and cavitation in centrifugal pumps has recently been reviewed by et al. [11], who also quantified the financial benefits of longer pump life and greater efficiency.
Numerous publications have studied some of the physical and mechanical characteristics of polymetallic nodules, but the observed data have not been connected to particle degradation [12]. Yamazaki [13] tested a 30-minute cycle of seafloor sediments from two different mining areas using a small centrifugal pump connected to a set of rectangular pipes to investigate the degradation of seafloor minerals. He discovered that the particle size did not continue to decrease after reaching the lower limit. With a similar test setting, Zenhorst [14] noticed that artificial nodule slurry would gradually shrink toward the minimum size over the course of ten runs in a dredge pump operating at a 4 m/s flow rate. The pressure that the particles experience in the deep ocean is different from that in the atmosphere, and nodules at a depth of 5000 m in the deep ocean have an ambient pressure of 50 MPa, making it more difficult to shatter the minerals under these high pressure conditions [15]. Van Wijk [16] evaluated the degradation rate of 16–32 mm particles at various pump speeds and tested the impact fragmentation of polymetallic nodules in a single centrifugal pump at various ambient pressures; unfortunately, the studies were unsuccessful. The degradation of nodules was then discovered to be strongly correlated with the nodule velocity and impeller speed, with the ambient pressure having no discernible impact.
With the advent of numerical simulation techniques, many academics have also utilized numerical methods to examine fluid flow difficulties because the polymetallic nodule degrading tests are constrained by the site and the sea trial is too expensive [17,18]. Using the COMSOL finite element open source software, Imtiaz Ali Shah et al. [19] investigated the convective heat and mass transfer in a Casson fluid. Rahul [20] simulated the particle size and concentration inside the slurry pump numerically using the Mixture and Eulerian–Eulerian multiphase flow models in Fluent. When compared to the experimental data, the Eulerian–Eulerian multiphase flow model is more accurate. In order to simplify the model and speed up the calculation, the two-fluid model is utilized for dense fine particles with a large particle volume fraction inside the centrifugal pump. Li and Shen [21,22] calculated the solid–liquid two-phase flow inside a spiral centrifugal pump using the DPM model, and the results revealed that the pressure surface of the vanes is the side with the most severe erosion and wear. The high flow rate is more likely to distribute the solid particles evenly inside the pump. The DPM model can effectively solve the dilute phase particle motion problem, but it does not work well in some situations where particle collisions must be taken into account, because it only accounts for the fluid’s influence on the solid phase particles and ignores particle-to-particle and particle-to-fluid interactions [23].
The impact of particle properties in the two-phase flow can be taken into account by the linked CFD-DEM solution. Gao [24] discovered that there are three typical motion trajectories of solid particles in a worm-shell pump after using the coupled CFD-DEM approach to examine the motion trajectories of particles with varying particle sizes and concentrations in a worm-shell centrifugal pump. Dong [25] employed the CFD-DEM coupling approach to model the liquid-solid flow and sodium sulfate crystal particle aggregation phenomenon in a centrifugal pump while taking into account the properties and motion behavior of the particles. Li [26] observed that controlling the particle size of mineral particles below 20 mm might prevent the pump from clogging by simulating the clogging problem caused by the pump halting backflow of mineral particles of diverse particle sizes in the conveying process. The pump can avoid clogging if the mineral particle size is kept below 20 mm, it has been discovered.
In addition to influencing the amount of recoverable ore at the surface, the actual particle size distribution of the mineral slurry after exiting the vertical lift tube is an important design factor for processing equipment [16]. The degradation of polymetallic nodules in deep-sea lifting pumps has not been thoroughly researched when combined CFD-DEM simulation methods are used. The impacts of the number of times polymetallic nodule particles were passed through an electric deep-sea lift pump, as well as the pump’s speed and flow rate, were examined in this study. Uniaxial compression experiments and Brazilian cleavage experiments were used to calibrate the microscopic parameters of the particle bonding model. Then, a large outdoor deep-sea lifting pump circulation experimental device was used to study the degradation changes of mineral particles under various cycle times, rotational speeds, and flow rates to confirm the model’s predictions.

2. Particle Degradation Model

Based on Wilson and Addie [27], Van Wijk [14] initially presented an exponentially fading degradation model of the original particle size after impact, which solely depicts the relationship between the particle size and the quantity of impacts prior to and following impact crushing. In the equation, d i , N represents the particle size with particle size category i after N times of impact crushing, d i , 0 represents the particle size with particle size category i at the beginning, and k i represents the rate of degradation.The diameter of the particles is the primary indicator of a change in particle size. The model is suitable for predicting the particle size distribution for particles with fixed size classes or few size classes, but its application needs the partition of a sizable number of size classes for numerous particles with a wide range of sizes.
d i , N d i , 0 = e k i · N
Pitchumani et al. [28] proposed an exponential decay model in terms of mass fraction of the size range using repeated impact experiments (RIT) of particles in order to forecast the degradation of particle fragmentation in a size range:
m i , N m i , 0 = e k i · N
Chapelle et al. [29,30] suggested describing the particle degradation model as a matrix after accounting for the mass migration of bigger particle size classes to different size categories as a proportion of the total mass of the particles.
B · y i = y 0
where B is the crushing matrix, y i and y 0 are the particle size class mass fraction column vectors of the particle size grade before and after the crushing, respectively. Since one size grade can be theoretically degraded to all subsequent particle size grades after impact crushing, a large amount of experimental data is required to calculate the coefficients in the crushing matrix in order to solve the crushing matrix B .
Finally, using Chapelle et aldegradation’s model as a foundation, Van Wijk [14] constructed the crushing matrix model in terms of three empirical parameters, h 1 , h 2 , and h 3 , as shown in Equation (4). The three parameters must all meet the requirements in conditions h 1 + h 2 + h 3 = 1 and h 1 h 2 h 3 0 . The three parameters are h 1 , the number that remains in the original size category after fragmentation, h 2 , the relative number that moves from the original size category to the second subcategory, and h 3 , the number that is distributed from the third category to the last category. To calculate the percentage of particles that remain in the third category after impact, the model needs to know the value of the parameter α in advance.
h 1 0 0 0 0 0 h 2 h 1 0 0 0 0 α · h 3 h 2 + α · h 3 1 0 0 0 ( 1 α ) · h 3 / ( k 3 ) ( 1 α ) · h 3 / ( k 3 ) 0 1 0 0 ( 1 α ) · h 3 / ( k 3 ) ( 1 α ) · h 3 / ( k 3 ) 0 0 0 1 · y 1 , 0 y 2 , 0 y 3 , 0 y 4 , 0 y k , 0 = y 1 , 1 y 2 , 1 y 3 , 1 y 4 , 1 y k , 1
Therefore, it is better to analyze the particle size distribution following repeated particle strikes using Equation (2) from the particle degradation model. The model is improved in this study by taking into account the effects of the number of pump stages and the number of impacts both before and after, using (2) as the foundation for the degradation analysis.
m i , N m i , 0 = e k i , 0 · S · N
m i , N m i , N 1 = e k i , N 1 · S
The initial Equation (1) ignores the relationship between particle size change between impact numbers and the influence of pump stages, reflecting the degradation change of particle size distribution with the starting particle size distribution under the current impact number. Equation (6) can more accurately reflect the real-time inflow and outflow relationship of particle size distribution of each grade as the number of impacts increases, while Equation (5) takes into account the influence of the number of deep-sea lifting electric pump stages. Equation (6) can reflect the changes of particle degradation before and after two adjacent impacts. The deep-sea ore-raising electric pump will repeatedly strike nodules to collect deterioration data for this article. Equations (5) and (6) will serve as the framework for this investigation.

3. Simulation Model

3.1. Geometric Model of Deep-Sea Lifting Motor Pump

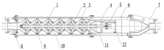
Figure 1 shows the deep-sea six-stage lifting motor pump’s overall structural makeup. Six single-stage pumps with revolving impellers and static space guide vanes, each joined by bolts, make up the pump body. Pump shaft and impeller are connected by keys that transmit torque and cause the impeller to revolve; sliding bearings are installed on the pump shaft and space guiding vane. A sleeve coupling firmly joins the motor shaft and pump shaft. The lifting motor pump’s exterior load is mostly supported by a cylindrical outer cylinder, which houses the pump body and submersible motor. Three annular flow channels are supplied at the front of the pump body, and a suction housing is provided at the point where the annular flow channels and the pump converge. This allows the mixed slurry in the annular flow channels to be transferred from the submersible motor to the pump body. The inlet and outlet flanges are used to join the lifting motor pump and the lifting hard pipe. An O-ring is used to seal off each surface of the key connection. The structural and functional characteristics of the primary hydraulic parts of the lifting motor pump are shown in Table 1.
The impeller and spatial guide vane geometry models in this work were built using TurboGrid and ICEM CFD software. With its good interface to BladeGen and expertise in the field of rotating machinery, TurboGrid is a professional meshing tool that can quickly create high-quality structured meshes based on the geometry of blades.
The Y+ value of the control boundary layer mesh in this research is approximately 50 because the wall function (including standard wall and non-equilibrium wall) used in CFD fluid calculation typically requires between 30 and 300. TurboGrid simply defines the single flow channel mesh; in ICEM, the single flow channel mesh must be expanded to the entire flow channel mesh. In addition, the inlet and outlet pipelines were extended to be three times as wide as the pipeline diameter in order to prevent the backflow phenomenon brought on by the turbulence of the outlet flow field as a result of the outlet being too close to the area of the impeller rotation during the simulation. Figure 2 displays the deep-sea mine electric pump’s final defined grid model.

3.2. Grid Irrelevance Test

The head of the hoist mine electric pump is utilized as an indicator for the grid-independent numerical simulation test, and the pump head is calculated as follows, in order to reduce the impact of the grid’s sparsity on the numerical accuracy:
H = ( p o p i ) ρ g + v o 2 v i 2 2 g + z o z i
where p o and p i represent the liquid pressure at the pump’s outlet and inlet, v o and v i represent its speed, and z o and z i represent the height difference between its outlet and intake; ρ is the liquid’s density, which for a lifting motor pump in water is 998 . 1 kg / m 3 , and g is the acceleration of gravity, which is 9 . 81 m / s 2 .
The variation of the lifting motor pump head can be calculated by keeping an eye on the pressure and velocity of the inlet and exit of the lifting motor pump. The numerical simulation was conducted using four sets of two-stage electric pump models with varied grid numbers, as indicated in Table 2, in accordance with the grid division approach outlined in the preceding section. When the lifting motor pump’s total number of grids is around 1.64 million, the head is 98.53 m, and the change in head is less than 1%, according to the data on pump head change in the table, the third set of grids is used for the subsequent numerical simulation calculation, taking the computer’s processing speed into account. The two-stage pump’s fluid pressure and 20 mm particle velocity clouds are depicted in Figure 3 and Figure 4, and it can be observed that these two figures match the design index requirements because 20 mm particles can travel through the lifting motor pump without clogging.

3.3. CFD-DEM Coupled Solution

The fluid computational dynamics software FLUENT and the discrete element software EDEM are combined with the numerical model of the solid–liquid two-phase flow in the deep-sea lifting electric pump. The fluid is handled as a continuous phase in FLUENT for the linked numerical simulation, and the estimated flow field data is transferred to EDEM by solving the Navier-Stokes (N-S) continuity equation. Figure 5 depicts the schematic representation of the FLUENT-EDEM coupling principle.
In FLUENT, the pressure-based solver and transient simulation are chosen, and the slip mesh technique is used to simulate the spinning of the impeller blades. The output is set to free flow and the velocity inlet is chosen. Turbulence intensity and turbulence viscosity ratio, with default values of 5% and 10, are used to define turbulence parameters at the inlet. The discrete phase physical model is added to, Saffman lift, pressure gradient force, virtual mass force (virtual mass percentage is assumed as 0.5), rotational traction model, and Magnus lift model are added to the injected particles, and the RNG k-turbulence model is chosen. The Magnus lift model and rotating traction model should be added. The velocity and pressure in the flow field are calculated using the SIMPLEC solution algorithm, and the pressure, momentum, turbulent kinetic energy, and specific dissipation rate are all upgraded to the second-order windward mode to increase the solution’s precision.
Duplex stainless steel with a density of 7850 kg / m 3 , a shear modulus of 77.44 GPa, and a Poisson’s ratio of 0.33 is the definition of all wall materials for deep-sea ore-raising pumps in EDEM; the physical and mechanical characteristics of particles are referred to as those of naturally occurring polymetallic nodules on the seabed [12,14]. The contact characteristics are provided in Table 3 with a density of 2000 kg / m 3 , a shear modulus of 21.3 MPa, and a Poisson’s ratio of 0.4. The inlet boundary condition is mass flow, and the particle injection volume in the inlet pipe section is computed as 5% of the particle to fluid volume proportion. In order to calculate the linked solution, the time step in FLUENT and EDEM must match the integer times of Rayleigh time step in EDEM. As a result, the time step for EDEM is 310–6 s, while the time step for FLUENT is 1.510–4 s (which is 50 times of the time step in EDEM).

3.4. Bonding Particle Model

The parameters of the particle model in discrete element numerical simulations of granular flows can be split into macroscopic and microscopic parameters. Density, Young’s modulus, compressive strength, and tensile strength are examples of macroscopic parameters that can be obtained through mechanical property tests; however, the macroscopic mechanical parameters of minerals cannot be assigned directly to the created particle models in simulation [31], and the mechanical properties associated with the particles can only be assigned by applying microscopic parameters such as particle stiffness, ultimate strength, and stiffness distribution. The calibration of the microscopic parameters is necessary in order for the developed discrete element particle model to accurately simulate the mechanical properties of the mineral materials. The most popular calibration techniques are Brazilian splitting tests and Uniaxial compression tests [12,13]. Since the mechanical property parameters of polymetallic nodules are strongly influenced by size, the mean values of the measured parameter results are taken in this paper, as shown in Table 4.
Five microscopic parameters must be established for the Bonding model: bond radius R B , normal stiffness S n , tangential stiffness S t , normal ultimate stress σ l i m , and tangential ultimate stress τ l i m . The radius of the cylindric bond between the particles is known as the bonding radius. A cylindrical Uniaxial compression model with a size of 20 × 40 was established, and the minimum particle size was 0.8 mm and the average particle size was 1 mm, as shown in Figure 6. This was conducted with reference to the calibration methods of microscopic parameters in existing studies [32,33].
The upper and lower bearing plates were constructed of duplex stainless steel with a density of 7850 kg / m 3 , a shear modulus of 77.44 GPa, and a Poisson’s ratio of 0.33, and the Uniaxial compression test simulation was run on the created particle model. The upper bearing plate was loaded at a speed of 0.05 m/s while the bottom bearing plate remained stationary during the simulation test. Figure 7 depicts the Uniaxial compression test bond breaking procedure.
Figure 8 displays the stress–strain curves from the uniaxial compression simulation test.
One of the more affordable ways to determine the tensile strength of rocks is to use the Brazilian split test, which indirectly assesses tensile strength by applying a vertical linear load on the specimen [34]. According to Figure 9, the particle size used in the particle flow test model was the same as that used in the Uniaxial compression model, and the model’s diameter was set at 40 mm.
Figure 10 depicts the Brazilian cleavage testbond bond fracture process.
Figure 11 displays the stress–strain curves from the Brazilian splitting simulation test.
The compressive strength was determined by the Uniaxial compression simulation test to be σ c = 2.235 MPa, which was close to the actual value of 2.18 MPa with an error of 2.53%; the tensile strength was determined by the Brazilian splitting simulation test to be σ t = 0.297 MPa, which was 0.3 MPa with an error of 0.96%. The microscopic characteristics of the Bonding model that were acquired from the calibration are displayed in Table 5. Both calibration results fell within the allowed error range.
As shown in Figure 12, the large particle model of small particle condensation needs to be generated first into large particles, and then by small particle replacement. After the small particle replacement is completed, the bonding bonds are then generated between the small particles in a shorter period of time (slightly larger than the particle replacement time), otherwise the small particles will spread out. Finally, 80 bonded large particles are generated, and each large particle contains 3480 small particles.

4. Simulation Results and Analysis

4.1. Effect of the Number of Cycles on Particle Degradation

In the calculation domain of the two-stage mine raising electric pump model, we place periodic boundary conditions in the directions of the entrance and exit. Figure 13 illustrates how the particles will return to the calculation domain from the pump entrance after leaving it at the pump model exit to take part in the computation. The particles degraded during each over-pump cycle can be saved in this way, followed by the degradation during the subsequent over-pump cycle. In addition, the degradation effect of a six-stage pump can be achieved with a two-stage pump model, meaning that particles passing through one six-stage pump must cycle through three times in the two-stage pump model.
The rated working parameters of the electric pump are 420 m 3 / h and 1450 rpm, and the initial particle size of the big particles in the numerical model is 20 mm. Therefore, in the simulation model, the pellets are vigorously struck by the high-speed spinning impeller 24 times while being constantly circulated through the two-stage pumps 12 times, which is similar to the pellets going through the six-stage pumps four times. After each pass through the six-stage pump, the particle size distribution after particle degradation was measured. Figure 14 illustrates the degradation of particles during repeated cycles through the six-stage pump and the speed of movement. From the figure, it can be observed that the particles were accelerated to the impeller front cover wall by the high-speed impact of the fracture and then moved along the fluid along the guide vane concave flow to the next level or outlet. The smaller the particle size, the more inertia the particles have to follow the fluid. The number of large particles degraded grows along with the number of particle circulations through the six-stage pump, and after four iterations, the majority of the particles have been reduced to fine particles. This shows that in actual deep-sea mining, the size of the particles in each six-stage electric pump will alter depending on how often the pump is used, with the bottom electric pump having coarser particles and the top electric pump having finer particles.
Figure 15 compares the particle size distribution of each grade following a cycle through the six-stage electric hoisting pump with various passage periods. Figure 15a displays the cumulative fraction of particle mass; after one pass through the six-stage pump, the cumulative fraction of particles with a diameter of d < 10 was 14.23%, and it reached 60.76% after four passes. The cumulative fraction of particles with a diameter of d < 1 mm increased from 4.14% to 23.14% after one pass through the six-stage pump. According to Figure 15b, which shows the percentage of each particle size class, the percentage of particles with a diameter of 18 < d < 20 mm or greater rapidly reduced as the number of passing times increased, leaving only 6.38 percent after the fourth passing. The mass fraction of particles with 1 < d < 3 mm and d < 1 mm rose the highest with 21.84% and 23.14%, respectively, as the passing times increased. 8 < d < 18 mm particles steadily increased with the rise of passing durations. Except for the 10 < d < 13 mm particles, which grew with the number of passes in the 8 < d < 18 mm particle size class, all the other particle size classes displayed a change in the growth trend of the fraction share, with the mass fraction of 15 < d < 18 mm particles increasing first and decreasing after the third six-stage pump, and the mass fraction of 13 < d < 15 mm particles increasing first and decreasing after the third six-stage pump. When crossing a second time, the mass fraction of 8 < d < 10 mm particles falls; but, after passing a third time, it steadily increases.
The initial degradation rate of various particle size classes after repeated pump cycles is determined using Formula (5) k i , 0 = ( 1 / S N ) · ln ( m i , N / m i , 0 ) based on the statistical findings of various particle mass fractions. Since the initial particle size of the particles is 20 mm and the initial mass fraction of the other particle size grades is 0, the initial particle size mass for particles with 18 < d < 20 mm and the other particle size classes were calculated using the particle size mass after degradation by the first six-stage pump as m i 0 . The results are shown in Table 6 and Table 7.
The link between particle input and outflow is shown by the degradation rate. When k i > 0 , there has been a net loss of mass from this particle size class as a result of larger particle outflow than particle inflow. k i < 0 denotes a net accumulation of mass from this particle size class and a particle outflow that is smaller than the particle inflow. The initial degradation rate of 18 < d < 20 mm particles is greater than 0 at different passage times, and the mass fraction is continuously lost to the smaller particle size classes, according to Table 6 and Table 7. In contrast, the initial degradation rate of 15 < d < 18 mm particles changes from negative to positive after 4 passes through the six-stage pump, and the mass is lost after 1 pass through the six-stage pump. The initial degradation rate of 8 < d < 10 mm particles is greater than 0 at different After one six-stage pump, the initial degradation rate of 8 < d < 10 mm particles shifted from positive to negative as the number of passes increased, and the mass increased for all other particle size classes as well.
If the growth trend is changing between cycles for particles in the 15 < d < 18 , 13 < d < 15 , and 8 < d < 10 mmparticle size classes, the current degradation rate should also be calculated. The initial degradation rate can only see the difference between the initial mass increase and decrease in particles under the current passing times. k i , N 1 = ( 1 / S ) · ln ( m i , N / m i , N 1 ) for a specific analysis, where m i , N 1 , k i , 0 and k i , 0 represent the mass of the six pumps running at once. The calculations’ outcomes are displayed in Table 8. The outflow of its particle mass is greater than the inflow when passing the third time and the outflow keeps growing for 18 mm particles, 13 < d < 15 mm particles, and 8 < d < 10 mm particles. For 18 mm particles, the current degradation rate is negative when passing twice and turns positive after passing three times. When the inflow of particle mass exceeds the outflow of its own particle mass, the particle mass starts to rise, and after the fourth six-stage pump, the inflow of mass keeps rising.

4.2. Effect of Flow Rate on Particle Degradation

With an initial particle size of 20 mm and an impeller speed of 900 rpm, Figure 16 depicts the global and local details of the degradation change and movement speed of particles as well as the degradation change of particle size and movement speed of the lifting electric pump at various flow rates (flow rates of 420 m 3 / h , 480 m 3 / h and 540 m 3 / h , respectively). The graphs show that when the flow rate rises, the particles’ movement in the lifting electric pump accelerates and their interaction with the wall becomes greater, making particle disintegration simpler. It can be observed that when the flow rate reaches 540 m 3 / h , the particles crack more quickly, the degradation deepens, and there are more fine particles produced after the cracking, compared to the flow rate of 480 m 3 / h when some of the large particles are impacted and broken. This shows that the flow rate has a greater degree of influence on particle degradation.
Figure 17 displays the particle size distribution of each grade following passage through the two-stage electric mine raising pump at fluid flow rates of 420 m 3 / h , 480 m 3 / h and 540 m 3 / h , respectively. According to Figure 17a’s particle mass accumulation fraction, the accumulation fraction curve changes upward more as flow rate increases, suggesting that the conversion of large particles into fine particles happens more quickly. The cumulative proportion of particles with particle size d < 10 mm increased from 6.71% to 18.09% and the cumulative fraction of particles with particle size d < 1 mm increased from 3.01% to 7.67% when the flow rate was increased from 420 m 3 / h to 540 m 3 / h . After two stages of pump degradation, the mass fraction of particles with a particle size of 18 < d < 20 mm was 81.43% (420 m 3 / h ), 70.18% (480 m 3 / h ), and 52.28% (540 m 3 / h ). The reduced mass of particles moves to a smaller size range than its particle size range, resulting in an increasing mass fraction of each particle size class for pa.
Based on the mass fraction statistics of particles following deterioration at various flow rates, as shown in Table 9, the initial degradation rate k i , 0 for 18 < d < 20 mm particles was estimated. The table shows that the initial degradation rate of 18 < d < 20 mm particles at various flow rates is more than 0, which means that the mass of the particles is being lost rather than gained, ultimately leading to a net loss of mass for that particle size class. When the flow rate increases from 420 m 3 / h to 540 m 3 / h , the initial degradation rate rises from 0.1027 to 0.3243, which shows that the ratio of the degraded mass of 18 < d < 20 mm particles to the net outflow of the starting mass likewise steadily increases.

4.3. Effect of Rotational Speed on Particle Degradation

With an initial particle size of 20 mm and a flow rate of 420 m 3 / h , Figure 18 depicts the general and local details of the degradation change and particle movement speed at various rotating speeds of the lifting motor pump (impeller rotation speed of 900 rpm, 1200 rpm and 1450 rpm, respectively). The particles produce a greater impact force with the impeller blades in a shorter period of time, as can be observed from the figure. The particles are then accelerated by the kinetic energy exerted by the impeller to hit the wall of the front cover, and then flow into the next level of the impeller to repeat the process of impact, which causes the particles to become more and more dense.
Figure 19 displays the particle size distribution for each grade after the particles were processed by a two-stage lifting motor pump at speeds of 900, 1200, and 1450 rpm, respectively. Figure 19a displays the particle mass accumulation fraction; the particle accumulation fractions of particles with particle sizes d < 10 mm are 4.07% (900 rpm), 6.20% (1200 rpm), and 6.71% (1450 rpm), respectively; the particle accumulation fractions of particles with particle sizes d < 1 mm are 1.71% (900 rpm), 2.63% (1200 rpm), and 3.01% (1450 rpm); Figure 19b displays the Following the impact of impeller blades rotating at various speeds, the mass fractions of particles with a particle size of 18 < d < 20 mm were 88.54% (900 rpm), 85.16% (1200 rpm), and 81.43% (1450 rpm). It is clear that the faster the rotational speed, the more impact it has on particle degradation. However, rotational speed’s impact on degradation is marginally less significant than the flow rate’s. This might be as a result of the fact that the impeller blades’ moment of contact and collision with the particles is where rotational speed has the greatest impact on particle impact. When the particles leave the impeller area, the flow field’s influence is more noticeable because the contact and collision between the particles and other walls lasts for a longer period of time. Additionally, certain particles in the impeller area directly cross the impeller blades under the influence of fluid and other driven impact particles even though they are not in direct contact with the impeller blades.
Based on the statistics of particle mass fraction at various rotational speeds, as shown in Table 10, the initial degradation rate k i , 0 of 18 < d < 20 mm particles was determined. The table shows that the initial degradation rate of 18 < d < 20 mm particles at various speeds is greater than 0, indicating that there is a net loss in particle mass. The initial degradation rate also gradually rises with speed, going from 0.0609 at 900 rpm to 0.1027 at 1450 rpm, showing that the rate of particle mass loss is rising.

5. Particle Transport Degradation Test

5.1. Test Systems

The deep-sea lifting motor pump transmission degradation test system is situated in the State Key Laboratory of Deep Sea Mineral Development and Utilization Technology of Changsha Mining and Metallurgical Research Institute in Hunan Province. The test system’s structure is depicted in Figure 20, and it is primarily made up of a deep-sea six-stage lifting motor pump, a particle recovery device, a feeding device, a conveyor circuit system that is about 200 m long, and other components.
The deep sea six-stage lifting motor pump is the system’s main part. Figure 21 depicts the essential elements and their placement locations. These include the six-stage pump’s main body, the submersible motor, the outlet and input flanges, and the outer cylinder that serves as a bearing and protective mechanism. A circular pit 18 m in diameter will be filled with water during the test to replicate the working environment on the seabed. The lifting motor pump has a total length of around 7.5 m and is installed in the circular pit to simulate the working environment on the seabed.
The conveying pipeline return route is made up of a 200 mm-diameter, 200 m-long pipeline circuit, a multi-stage reducer pipe, and two electric pipe clamp valves connected in series. The large head of the six-stage lifting motor pump is difficult to handle in the original test system. By using a multi-stage variable diameter increaser tube and a pinch valve, the back pressure of the test system is improved, and a certain amount of variable drag increase is achieved on the pipeline.
A multistage variable diameter increase resistance pipe produces a greater hydraulic loss by abruptly decreasing the pipe’s diameter in the presence of slurry; the more steps there are, the greater the resulting hydraulic loss. To increase the resistance control effect, use two electric pipe clamp valves in tandem form. The two pipe clamp valves can be synchronized through the control cable to achieve adjustment. TG941X-16CDN200 electric pipe clamp valve, maximum pressure 1.6 MPa, through 4–20 mA current signal proportional control valve opening. Open the two valves before and after the resistance device so that the slurry can pass through the multi-stage reducer and pipe clamp valve. The entire redesigned resistance device is situated above the continuous U-bend circuit, as shown in Figure 22. The slurry travels through the continuous U-bend below when the valve is closed.
According to Figure 23, the particle recovery unit consists of a lower particle recovery calibration box and an upper rotatable moveable elbow. The rotating movable elbow may move the elbow outlet from the return box to the calibration box when the pump circulation degrades and crushes the mineral particles, enabling the recovery calibration of the particles.

5.2. Test Protocol

This test is primarily intended to quantify the reduction in polymetallic nodule particle size following several hydraulic transport by electric pump mine raising impacts. The liquid phase was water with density ρ l = 1025 kg/m 3 , and the particle phase was natural nodules with density ρ s = 2040 kg/m 3 . Natural nodules can have a maximum particle size of more than 50 mm, so direct transport is likely to result in pump clogging. Therefore, in order to ensure the safety of the equipment during transport, the nodules must first be crushed by a crusher before the test, and then uniformly used nodules with a diameter of less than 15 mm are used for the test. In order to ensure that the nodules’ internal pores are thoroughly moistened with water before the experiment, the nodules are soaked in water for more than two weeks. The clay adhering to the nodules is removed with water before placing them in the material bin. The wet polymetallic nodules utilized in the test were around 250 kg in mass overall and came from the Chinese polymetallic nodule exploration contract area in the Clarion-Clipperton Zone (CCZ) of the Pacific Ocean.
In the conveying test, the electric pump’s frequency was changed from 50 Hz to 30 Hz using a frequency converter, and 1.6 Mpa of pressure inside the pump was guaranteed. All of the nodules used in the experiment were from the same batch, and they were evaluated at flow rates of Q V m = 450 m 3 /h and n m = 900 for six stages of the pump, following varying numbers of impacts (N = 1 to 5), respectively. Particle size redistribution was 10 min later. The entire test was carried out outside with water that was 25 °C.
Prior to the start of each test, the initial total mass of nodule input was assessed. It takes roughly 65 s to mimic a cycle in which nodule particles are discharged from the feeder and returned to the silo via a long-distance pipe circuit and a six-stage lift pump. When the designated cycle time is reached, the nodule slurry is fed from the movable elbow into the particle recovery calibration box. This is done during the degradation test using nodules, which is carried out in the test system with a six-stage pump with varying cycle times of impact.The nodules were then subjected to degradation testing in the test system using the six-stage pump with different impact cycle times. A water flush is performed after each test to remove any last bits of debris from the pipes and electric pump of the test equipment. The nodules were wet sieved using square sieves with apertures of 1 mm × 1 mm, 3 mm × 3 mm, 5 mm × 5 mm, 8 mm × 8 mm, 10 mm × 10 mm, 13 mm × 13 mm, and 15 mm × 15 mm and combined with a laboratory vibrating sifter, as illustrated in Figure 24, after the particles larger than 1 mm were removed from the slurry water. In comparison to hand sieving, the vibrating sieving machine is more effective since it can position five screens at once. When particles smaller than 1 mm are mixed with liquid, a very turbid slurry is created. Additionally, nodules that form on the pump and pipeline walls during testing will cause some paint fragments to mix with the particle debris, making it very challenging to measure the quality of the smaller particles directly. The weight of the nodule particles below 1mm is recorded as m < 1 m m = m 0 m > 1 m m , while the weight of the nodule particles over 1mm is recorded as m > 1 m m using the indirect measuring method.

5.3. Comparison of Test and Numerical Simulation Results

A two-stage lifting motor pump is numerically modeled with reference to the test conditions parameters, and periodic boundary conditions are set at the entrance and exit of the pump to realize the cyclic repeated impact of particles. The initial particle size is determined by the test’s actual particle size distribution value, and large particles are produced by taking the maximum value of each particle size range.
The impact rupture of the electric lift pump dominates the degradation of nodule particles in the vertical transport system of deep-sea mining, and wear in the vertical pipeline has a negligibly weak effect [35], so the effect of horizontal and vertical pipelines on nodule degradation is disregarded in the experiment. The multi-stage reducers and 90° elbows were modeled with reference to the test system, and the particles were allowed to continue to be transported through the reducers and 90° elbows while the particles were circulated through the two-stage electric pumps (one six-stage pump) three times each time, in order to achieve the desired results. However, there are multi-stage reducers and approximately 12 90° elbows in the test system, which may have some influence on the results of nodule degradation. The identical impact result was attained.
The solid–liquid two-phase numerical model of the reducer is depicted in Figure 25 and has ten stages with a 200 mm diameter, an orifice reducer at a 45° angle, a small diameter half its diameter, a 500 mm space between each reducer at all levels, a 450 m 3 /h inlet flow rate, and a 1 MPa outlet pressure setting. Figure 25a illustrates that the fluid has a significant pressure decrease of roughly 1.07 MPa as it passes through the multi-stage reducer. The influence of the reducer on the deterioration of the particles can be disregarded since, according to Figure 25b, the particles are ejected after the first stage immediately from the reduction’s tiny diameter and do not further damage the diameter wall.
The elbow’s pipe diameter is 200 mm, its bending radius is 290 mm, and the distance between its two elbows is 2000 mm. In order to facilitate the elbow particles’ repeated entry into the calculation domain and participation in the calculation while minimizing the size of the overall model, the test system contains 12 90° elbows. In an elbow simulation model, three 90° elbows are set, and the same periodic boundary conditions are set in the import and export, as well as the nodules. For each trip through the six-stage pump, the particles must cycle through the elbow simulation model four times. Figure 26 depicts the velocity cloud of particles passing through a 90° elbow. As can be observed, the elbow’s impact force causes some of the particles to break, and when the particles encounter 12 90° elbows, the cumulative degradation effect is not insignificant.
Figure 27 compares the experimental values of particle size distribution after nodules in the test system degraded over the course of four cycles, the values from pump simulations (which only take into account the impact of the electric pump used to raise the ore), and the values from pump and elbow simulations (which also take into account the impact of the 90° elbow). The graph shows that the mass fraction of pump simulation values for the particle class 3 < d < 5 mm and the big particle size range 8 < d < 15 mm is greater than the actual values, while the mass fraction for the particle class 8 < d < 15 mm and the tiny particle size range d < 3 mm is lower. With a difference of 3.19%, the mass fraction of d < 1 mm particles was 16.01% in 4 cycles and 12.82% in the pump simulation. This demonstrates that just taking the impact cracking of the Yang Mine Electric Pump into account does not accurately reflect the true nodule degradation in the test system.
The pump and elbow simulation value at the fourth cycle is 16.85%, which is 0.84% different from the test value, indicating that the pump simulation value with the effect of elbow is more consistent with the actual degradation of nodule particles in the test system. The difference between the pump and elbow simulation value and the test value is reduced when the effect of a 90° elbow is taken into account. Therefore, the previously developed particle bonding model can more accurately simulate the degradation of particles in the pump when there is no influence of pipe elbow in the test system and only the impact rupture of nodules in the electric pump of Yang mine is taken into account.

6. Conclusions

This essay aims to investigate the variation law of polymetallic nodule particle size degradation in the electric ore raising pump. Uniaxial compression experiments and Brazilian splitting experiments on manganese nodule particles were carried out by EDEM to determine the microscopic parameters of the particles, and a coupled CFD-DEM solution for two-phase flow was adopted, while a transport degradation test was carried out in a deep-sea six-stage hoisting electric pump, and the test results were compared with the numerical simulation results. The primary research and the resulting results are as follows.
(1) The number of cycles has the biggest impact on how much the particles carried by the pump degrade. After four times of the impact of the six-stage deep-sea electric pump, the number of large particles continued to decline while the number of fine particles increased significantly. The more times a particle was circulated, the more it was impacted and cracked. Due to changes in each of their particle size classes during the degradation process, the mass of the particles with 15 < d < 18 mm, 13 < d < 15 mm, and 8 < d < 10 mm first increased and then fell, while the mass of the particles with 13 < d < 15 mm first decreased and then increased.
(2) Particles in the second-degree flow-degrading process of the pump’s conveying operation. The speed of particles being dragged by the fluid increases with flow, impact on the pump wall following particle degradation, and overall trend of average particle size with flow rise and reduction.
(3) The lifting electric pump’s impeller rotates at a high speed, which reduces the amount of time that particles are in contact with the blades and increases the intensity of that contact and collision, which speeds up particle cleavage. However, considering how much the flow rate and cycle count affect particle degradation, the degree to which speed is affected by speed is relatively small.
(4) The pump simulation value is more in line with the test value after taking into account the effect of a 90° elbow on particle degradation. The particle bonding model can more accurately replicate the impact fracture of the nodule in the pump when there is no influence on the specially formed pipeline of the test system.
(5) It is important to take into account the geometry of nodules for this study since the effect of polymetallic nodules’ irregular shape on the degradation rate was not taken into account because this study used a circular spherical particle model for numerical simulation.

Author Contributions

Conceptualization, Y.L. and Z.L.; methodology, Y.L. and Z.L.; software, Z.L.; validation, Y.L., Z.L. and K.L.; formal analysis, Z.L.; writing—original draft preparation, Y.L. and Z.L.; writing—review and editing, K.L. All authors have read and agreed to the published version of the manuscript.

Funding

This research was funded by the national Key R&D Program (2021YFC2801701-02) and the Hunan Provincial Science and Technology Major Special Project (2020GK1022).

Institutional Review Board Statement

Not applicable.

Informed Consent Statement

Not applicable.

Data Availability Statement

Not applicable.

Acknowledgments

The authors would like to thank the editors and anonymous reviewers for their careful work and thoughtful suggestions that have helped improve this paper substantially.

Conflicts of Interest

The authors declare no conflict of interest.

References

  1. Yamazaki, T. Past present and future of deep-sea mining. Shigen-to-Sozai 2016, 131, 592–596. [Google Scholar] [CrossRef][Green Version]
  2. Mero, J.L. The Mineral Resources of the Sea; Elsevier: Amsterdam, The Netherlands, 1965. [Google Scholar]
  3. Liu, S.J.; Liu, C.; Dai, Y. Status and progress on researches and developments of deep ocean mining equipments. J. Mech. Eng. 2014, 50, 8–18. [Google Scholar] [CrossRef]
  4. Kuntz, G. The technical advantages of submersible motor pumps in deep sea technology and the delivery of manganese nodules. In Proceedings of the Offshore Technology Conference, Houston, TX, USA, 30 April–3 May 1979. [Google Scholar]
  5. Park, J.; Yoon, C.H.; Kang, J.S. Numerical prediction of a lifting pump for deep-sea mining. In Proceedings of the Eighth ISOPE Ocean Mining Symposium, Chennai, India, 20–24 September 2009. [Google Scholar]
  6. Yoon, C.; Park, H.; Kim, J.; Lee, J.; Park, Y. Design of UWB Transceiver SiP for Short Range Communication. In Proceedings of the 2007 IEEE International Symposium on Electromagnetic Compatibility, Honolulu, HI, USA, 8–13 July 2007; pp. 1–6. [Google Scholar]
  7. Yoon, C.H.; Park, J.M.; Kang, J.S.; Kim, Y.; Park, Y.C.; Park, S.G.; Kim, C.; Kang, S.S.; Kim, S.B.; Kim, W.T.; et al. Shallow lifting test for the development of deep ocean mineral resources in Korea. In Proceedings of the Ninth ISOPE Ocean Mining Symposium, Maui, HI, USA, 19–24 June 2011. [Google Scholar]
  8. Sharma, R. Environmental Issues of Deep-Sea Mining: Impacts, Consequences and Policy Perspectives; Springer: Berlin/Heidelberg, Germany, 2019. [Google Scholar]
  9. Bross, S.; Addie, G. Prediction of impeller nose wear behaviour in centrifugal slurry pumps. Exp. Therm. Fluid Sci. 2002, 26, 841–849. [Google Scholar] [CrossRef]
  10. Chandel, S.; Singh, S.; Seshadri, V. Experimental study of erosion wear in a centrifugal slurry pump using coriolis wear test rig. Part. Sci. Technol. 2012, 30, 179–195. [Google Scholar] [CrossRef]
  11. Noon, A.A.; Jabbar, A.U.; Koten, H.; Kim, M.H.; Ahmed, H.W.; Mueed, U.; Shoukat, A.A.; Anwar, B. Strive to Reduce Slurry Erosion and Cavitation in Pumps through Flow Modifications, Design Optimization and Some Other Techniques: Long Term Impact on Process Industry. Materials 2021, 14, 521. [Google Scholar] [CrossRef]
  12. Dreiseitl, I. About geotechnical properties of the deep seabed polymetallic nodules. In Proceedings of the 18th International Conference on the Transport and Sedimentation of Solid Particles, Prague, Czech Republic, 11–15 September 2017; pp. 11–15. [Google Scholar]
  13. Yamazaki, T.; Sharma, R. Preliminary Experiment OnPowderization of Deep-sea Sediment During Hydraulic Transportation. In Proceedings of the Fourth ISOPE Ocean Mining Symposium, Szczecin, Poland, 23–27 September 2001. [Google Scholar]
  14. Zenhorst, J. Degradation of Poly-Metallic Nodules in a Dredge Pump. Master’s Thesis, Delft University of Technology, Delft, The Netherlands, 2016. [Google Scholar]
  15. Helmons, R. Excavation of Hard Deposits and Rocks: On the Cutting of Saturated Rock. Ph.D. Thesis, Delft University of Technology, Delft, The Netherlands, 2017. [Google Scholar]
  16. Van Wijk, J.; Haalboom, S.; De Hoog, E.; De Stigter, H.; Smit, M. Impact fragmentation of polymetallic nodules under deep ocean pressure conditions. Miner. Eng. 2019, 134, 250–260. [Google Scholar] [CrossRef]
  17. Bilal, S.; Shah, I.A.; Akgül, A.; Tekin, M.T.; Botmart, T.; Yahia, I. A comprehensive mathematical structuring of magnetically effected Sutterby fluid flow immersed in dually stratified medium under boundary layer approximations over a linearly stretched surface. Alex. Eng. J. 2022, 61, 11889–11898. [Google Scholar] [CrossRef]
  18. Shah, I.A.; Bilal, S.; Akgül, A.; Tekin, M.T.; Botmart, T.; Zahran, H.Y.; Yahia, I.S. On analysis of magnetized viscous fluid flow in permeable channel with single wall carbon nano tubes dispersion by executing nano-layer approach. Alex. Eng. J. 2022, 61, 11737–11751. [Google Scholar] [CrossRef]
  19. Shah, I.A.; Bilal, S.; Asjad, M.I.; Tag-ElDin, E.M. Convective Heat and Mass Transport in Casson Fluid Flow in Curved Corrugated Cavity with Inclined Magnetic Field. Micromachines 2022, 13, 1624. [Google Scholar] [CrossRef]
  20. Tarodiya, R.; Gandhi, B.K. Numerical simulation of a centrifugal slurry pump handling solid-liquid mixture: Effect of solids on flow field and performance. Adv. Powder Technol. 2019, 30, 2225–2239. [Google Scholar] [CrossRef]
  21. Li, R.; Wang, H.; Han, W.; Ma, W.; Shen, Z. Study on solid-liquid two-phase unsteady flow characteristics with different flow rates in screw centrifugal pump. In Proceedings of the IOP Conference Series: Materials Science and Engineering; IOP Publishing: Bristol, UK, 2013; Volume 52, p. 062002. [Google Scholar]
  22. Shen, Z.; Li, R.; Han, W.; Zhao, W.; Wang, X. The research on particle trajectory of solid-liquid two-phase flow and erosion predicting in screw centrifugal pump. In Proceedings of the IOP Conference Series: Materials Science and Engineering; IOP Publishing: Bristol, UK, 2016; Volume 129, p. 012052. [Google Scholar]
  23. Huang, S.; Su, X.; Qiu, G. Transient numerical simulation for solid-liquid flow in a centrifugal pump by DEM-CFD coupling. Eng. Appl. Comput. Fluid Mech. 2015, 9, 411–418. [Google Scholar] [CrossRef]
  24. Gao, X.; Shi, W.; Shi, Y.; Chang, H.; Zhao, T. DEM-CFD simulation and experiments on the flow characteristics of particles in vortex pumps. Water 2020, 12, 2444. [Google Scholar] [CrossRef]
  25. Liu, D.; Tang, C.; Ding, S.; Fu, B. CFD-DEM simulation for distribution and motion feature of crystal particles in centrifugal pump. Int. J. Fluid Mach. Syst. 2017, 10, 378–384. [Google Scholar] [CrossRef]
  26. Yuanwen, L.; Shaojun, L.; Xiaozhou, H. Research on reflux in deep-sea mining pump based on DEM-CFD. Mar. Georesour. Geotechnol. 2020, 38, 744–752. [Google Scholar] [CrossRef]
  27. Wilson, K.C.; Addie, G.R. Coarse-particle pipeline transport: Effect of particle degradation on friction. Powder Technol. 1997, 94, 235–238. [Google Scholar] [CrossRef]
  28. Pitchumani, R.; Strien, S.A.; Meesters, G.M.; Schaafsma, S.H.; Scarlett, B. Breakage of sodium benzoate granules under repeated impact conditions. Powder Technol. 2004, 140, 240–247. [Google Scholar] [CrossRef][Green Version]
  29. Chapelle, P.; Abou-Chakra, H.; Christakis, N.; Bridle, I.; Patel, M.; Baxter, J.; Tuzun, U.; Cross, M. Numerical predictions of particle degradation in industrial-scale pneumatic conveyors. Powder Technol. 2004, 143, 321–330. [Google Scholar] [CrossRef]
  30. Chapelle, P.; Abou-Chakra, H.; Christakis, N.; Patel, M.; Abu-Nahar, A.; Tüzün, U.; Cross, M. Computational model for prediction of particle degradation during dilute-phase pneumatic conveying: The use of a laboratory-scale degradation tester for the determination of degradation propensity. Adv. Powder Technol. 2004, 15, 13–29. [Google Scholar] [CrossRef][Green Version]
  31. Koyama, T.; Jing, L. Effects of model scale and particle size on micro-mechanical properties and failure processes of rocks—A particle mechanics approach. Eng. Anal. Bound. Elem. 2007, 31, 458–472. [Google Scholar] [CrossRef]
  32. Shen, H.-H.; Zhang, H.; Fan, J.-K.; Xu, R.-Y.; Zhang, X.-M. A rock modeling method of multi-parameters fitting in EDEM. Rock Soil Mech. 2021, 42, 2298–2310. [Google Scholar]
  33. Tian, L.; Cai, Z.; Zhang, L.; Su, Z. Numerically Simulating Rock Cutting Process of Cutterhead of Cutter Suction Dredger with Discrete Element Method. Mech. Sci. Technol. Aerosp. Eng. 2019, 38, 1805–1811. [Google Scholar]
  34. Zechu, L. Study on Rock Model and Soft Rock Cutting Simulation Based on Discrete Element Method. Master’s Thesis, Xiangtan University, Xiangtan, China, 2019. [Google Scholar]
  35. Van Wijk, J.M. The influence of nodule degradation on the vertical hydraulic transport of manganese nodules. In Proceedings of the T&S 2017: 18th International Conferences on Transport and Sedimentation of Solid Particles, Prague, Czech Republic, 11–15 September 2017; pp. 385–392. [Google Scholar]
Figure 1. Structure diagram of the deep-sea six-stage lifting pump 1—Pump outer cylinder; 2—Impeller; 3—Spatial guide lobes; 4—Cable; 5—Rigid couplings; 6—Toroidal runner; 7—Entrance flange; 8—Export flange; 9—Plain bearings; 10—Pump shaft; 11—Suction shell; 12—Submersible motor.
Figure 1. Structure diagram of the deep-sea six-stage lifting pump 1—Pump outer cylinder; 2—Impeller; 3—Spatial guide lobes; 4—Cable; 5—Rigid couplings; 6—Toroidal runner; 7—Entrance flange; 8—Export flange; 9—Plain bearings; 10—Pump shaft; 11—Suction shell; 12—Submersible motor.
Jmse 11 00024 g001
Figure 2. Deep-sea pump fluid domain grid.
Figure 2. Deep-sea pump fluid domain grid.
Jmse 11 00024 g002
Figure 3. Under the third set of grids, there are fluid pressure clouds for two-stage pumps (20 mm particles).
Figure 3. Under the third set of grids, there are fluid pressure clouds for two-stage pumps (20 mm particles).
Jmse 11 00024 g003
Figure 4. Particle velocity cloud for the three-set of grids under the two-stage pump (20 mm particles).
Figure 4. Particle velocity cloud for the three-set of grids under the two-stage pump (20 mm particles).
Jmse 11 00024 g004
Figure 5. FLUENT-EDEM coupling schematic.
Figure 5. FLUENT-EDEM coupling schematic.
Jmse 11 00024 g005
Figure 6. Test model for Uniaxial compression.
Figure 6. Test model for Uniaxial compression.
Jmse 11 00024 g006
Figure 7. Compression test bond construction fracture process in uniaxial. (a) Bond formation; (b) Bond starts to break; (c) Fracture acceleration; (d) Complete fracture.
Figure 7. Compression test bond construction fracture process in uniaxial. (a) Bond formation; (b) Bond starts to break; (c) Fracture acceleration; (d) Complete fracture.
Jmse 11 00024 g007
Figure 8. Test model for Uniaxial compression.
Figure 8. Test model for Uniaxial compression.
Jmse 11 00024 g008
Figure 9. Model for the Brazilian splitting test.
Figure 9. Model for the Brazilian splitting test.
Jmse 11 00024 g009
Figure 10. Brazilian-built fracture process using testbond cleavage. (a) Bond formation; (b) Bond starts to break; (c) Fracture acceleration; (d) Complete fracture.
Figure 10. Brazilian-built fracture process using testbond cleavage. (a) Bond formation; (b) Bond starts to break; (c) Fracture acceleration; (d) Complete fracture.
Jmse 11 00024 g010
Figure 11. Model for the Brazilian splitting test.
Figure 11. Model for the Brazilian splitting test.
Jmse 11 00024 g011
Figure 12. Particle substitution generates a bonding model.
Figure 12. Particle substitution generates a bonding model.
Jmse 11 00024 g012
Figure 13. Schematic diagram of the boundary conditions of the calculation domain circulation of the Yang mine electric pump.
Figure 13. Schematic diagram of the boundary conditions of the calculation domain circulation of the Yang mine electric pump.
Jmse 11 00024 g013
Figure 14. Degradation change and movement speed of particles through the Lifting motor pump under different cycle times (The far left is through the six-stage pump for the first time, and the far right is the fourth time through the six-stage pump).
Figure 14. Degradation change and movement speed of particles through the Lifting motor pump under different cycle times (The far left is through the six-stage pump for the first time, and the far right is the fourth time through the six-stage pump).
Jmse 11 00024 g014
Figure 15. Particle size distribution comparison after different numbers of passages through the six-stage pump.
Figure 15. Particle size distribution comparison after different numbers of passages through the six-stage pump.
Jmse 11 00024 g015
Figure 16. Schematic diagram of the boundary conditions of the calculation domain circulation of the Yang mine electric pump.
Figure 16. Schematic diagram of the boundary conditions of the calculation domain circulation of the Yang mine electric pump.
Jmse 11 00024 g016
Figure 17. Particle size distribution comparison after different numbers of passages through the six-stage pump.
Figure 17. Particle size distribution comparison after different numbers of passages through the six-stage pump.
Jmse 11 00024 g017
Figure 18. Degradation change and motion rate of particles through lifting motor pump at different speeds (left 1450 rpm; center 1200 rpm; right 900 rpm).
Figure 18. Degradation change and motion rate of particles through lifting motor pump at different speeds (left 1450 rpm; center 1200 rpm; right 900 rpm).
Jmse 11 00024 g018
Figure 19. Particle size distribution comparison after different numbers of passages through the six-stage pump.
Figure 19. Particle size distribution comparison after different numbers of passages through the six-stage pump.
Jmse 11 00024 g019
Figure 20. Deep-sea lifting motor pump transmission degradation test system.
Figure 20. Deep-sea lifting motor pump transmission degradation test system.
Jmse 11 00024 g020
Figure 21. The main components of the deep-sea six-stage lifting motor pump are composed and placed ((a) The main body of the pump; (b) outer cylinder; (c) submersible motors; (d) import and export flanges; (e) placement).
Figure 21. The main components of the deep-sea six-stage lifting motor pump are composed and placed ((a) The main body of the pump; (b) outer cylinder; (c) submersible motors; (d) import and export flanges; (e) placement).
Jmse 11 00024 g021
Figure 22. Multistage variable diameter increasing tube and electric pipe clamp valve.
Figure 22. Multistage variable diameter increasing tube and electric pipe clamp valve.
Jmse 11 00024 g022
Figure 23. Particle recovery device.
Figure 23. Particle recovery device.
Jmse 11 00024 g023
Figure 24. Vibrating screen machine.
Figure 24. Vibrating screen machine.
Jmse 11 00024 g024
Figure 25. Solid–liquid two-phase simulation model of drag-increasing diameter varisus pipe.
Figure 25. Solid–liquid two-phase simulation model of drag-increasing diameter varisus pipe.
Jmse 11 00024 g025
Figure 26. Cloud diagram of 90° elbow particle velocity.
Figure 26. Cloud diagram of 90° elbow particle velocity.
Jmse 11 00024 g026
Figure 27. Comparison of particle size distribution between experimental values and simulated values under four cycles.
Figure 27. Comparison of particle size distribution between experimental values and simulated values under four cycles.
Jmse 11 00024 g027
Table 1. Structure and conveying parameters of major hydraulic components.
Table 1. Structure and conveying parameters of major hydraulic components.
DescriptionParameterValue
Work Flow RateQ (m 3 /h)420
StageS6
Total headH (m)270
Single headHs (m)45
Work rotation speedn (rpm)1450
Maximum particle sized (mm)20
ImpellerImpeller inlet diameter235
Impeller outer diameter410
Number of impeller blades4
Impeller inlet placement angle35°
Impeller outlet placement angle32.5°
Impeller blades are angled110°
Space Guide VanesMaximum diameter of the streamline in the guide vane395
Maximum diameter of the outer flow line of the guide vane516
The width of the annular space of the guide vane88
Number of guide leaf blades5
Guide leaf inlet placement angle12°
The outlet of the guide leaf is placed at the angle85°
The guide leaf is angled97°
Table 2. Grid-independent study (speed n = 1450 r / min , flow rate Q = 420 m 3 / h ).
Table 2. Grid-independent study (speed n = 1450 r / min , flow rate Q = 420 m 3 / h ).
Grid NumberSingle ImpellerSingle Guide VaneInlet and Outlet Pipe SectionsTotal GridLifting Range
1273,768262,16054,7841,181,42495.55
2322,608308,78084,2401,431,25696.28
3355,168339,860127,3601,644,77698.53
4436,568417,560184,9842,078,22498.54
Table 3. Table of contact parameters of polymetallic nodule particles.
Table 3. Table of contact parameters of polymetallic nodule particles.
Contact ParametersParticles to ParticlesParticles to Geometry
Recovery factor0.550.48
Coefficient of static friction0.500.10
Rolling coefficient of friction0.100.01
Table 4. Table of polymetallic nodules’ macroscopic characteristics.
Table 4. Table of polymetallic nodules’ macroscopic characteristics.
Moist Density ( kg / m 3 ) Dry Density ( kg / m 3 ) Shear Modulus MPaThe Poisson RatioCompressive Strength MPaTensile Strength MPa
2040143021.30.42.180.3
Table 5. Structure and conveying parameters of major hydraulic components.
Table 5. Structure and conveying parameters of major hydraulic components.
Normal Stiffness (N/m 3 )Tangential Stiffness (N/m 3 )Normal Limit Strength (Pa)Tangential Ultimate Strength (Pa)Bond Radius (mm)
1.405 × 10 10 5.203 × 10 8 7.544 × 10 5 6.287 × 10 5 0.675
Table 6. Initial degradation rate of particles with 18 < d < 20 mm particles at different number of passes through six pump stages.
Table 6. Initial degradation rate of particles with 18 < d < 20 mm particles at different number of passes through six pump stages.
Initial Degradation Rate1 Pass2 Passes3 Passes4 Passes
k i , 0 0.09850.09190.10340.1529
Table 7. Structure and conveying parameters of major hydraulic components.
Table 7. Structure and conveying parameters of major hydraulic components.
Number of Passes<1 mm1–3 mm3–5 mm5–8 mm8–10 mm10–13 mm13–15 mm15–18 mm
2−0.1036−0.0485−0.1205−0.14920.0854−0.0914−0.0836−0.0512
3−0.0926−0.0709−0.0695−0.09090.0059−0.0726−0.0909−0.0190
4−0.0956−0.0852−0.0590−0.0659−0.0550−0.0723−0.04100.0308
Table 8. Current degradation rates for particles of varying particle size classes with different number of passes through the six pump stages for growth trend change.
Table 8. Current degradation rates for particles of varying particle size classes with different number of passes through the six pump stages for growth trend change.
Size Rating Pass2 Passes3 Passes4 Passes
15–18 mm−0.05120.01310.1306
13–15 mm−0.0836−0.09820.0589
8–10 mm0.0854−0.0736−0.1766
Table 9. Initial degradation rate of 18 < d < 20 mm particles at different flow rates.
Table 9. Initial degradation rate of 18 < d < 20 mm particles at different flow rates.
Initial Degradation Rate420 m 3 /h480 m 3 /h540 m 3 /h
k i , 0 0.10270.17710.3243
Table 10. Initial degradation rate of 18 < d < 20 mm particles at different rotational speeds.
Table 10. Initial degradation rate of 18 < d < 20 mm particles at different rotational speeds.
Initial Degradation Rate900 rpm1200 rpm1450 rpm
k i , 0 0.06090.08030.1027
Disclaimer/Publisher’s Note: The statements, opinions and data contained in all publications are solely those of the individual author(s) and contributor(s) and not of MDPI and/or the editor(s). MDPI and/or the editor(s) disclaim responsibility for any injury to people or property resulting from any ideas, methods, instructions or products referred to in the content.

Share and Cite

MDPI and ACS Style

Li, Y.; Li, Z.; Liang, K. Simulation and Experimental Study of Degradation of Polymetallic Nodules in Deep-Sea Multi-Stage Lifting Motor Pump. J. Mar. Sci. Eng. 2023, 11, 24. https://doi.org/10.3390/jmse11010024

AMA Style

Li Y, Li Z, Liang K. Simulation and Experimental Study of Degradation of Polymetallic Nodules in Deep-Sea Multi-Stage Lifting Motor Pump. Journal of Marine Science and Engineering. 2023; 11(1):24. https://doi.org/10.3390/jmse11010024

Chicago/Turabian Style

Li, Yan, Ziyuan Li, and Kesen Liang. 2023. "Simulation and Experimental Study of Degradation of Polymetallic Nodules in Deep-Sea Multi-Stage Lifting Motor Pump" Journal of Marine Science and Engineering 11, no. 1: 24. https://doi.org/10.3390/jmse11010024

APA Style

Li, Y., Li, Z., & Liang, K. (2023). Simulation and Experimental Study of Degradation of Polymetallic Nodules in Deep-Sea Multi-Stage Lifting Motor Pump. Journal of Marine Science and Engineering, 11(1), 24. https://doi.org/10.3390/jmse11010024

Note that from the first issue of 2016, this journal uses article numbers instead of page numbers. See further details here.

Article Metrics

Back to TopTop