A Review of the Development of Key Technologies for Offshore Wind Power in China
Abstract
:1. Introduction
2. Site Selection for Offshore Wind Farm
2.1. Wind Energy Resource Assessment
2.2. Site Survey
2.3. Environmental Concerns
2.4. Current Status in China
3. Key Technologies of Offshore Wind Farm
3.1. Offshore Wind Turbines
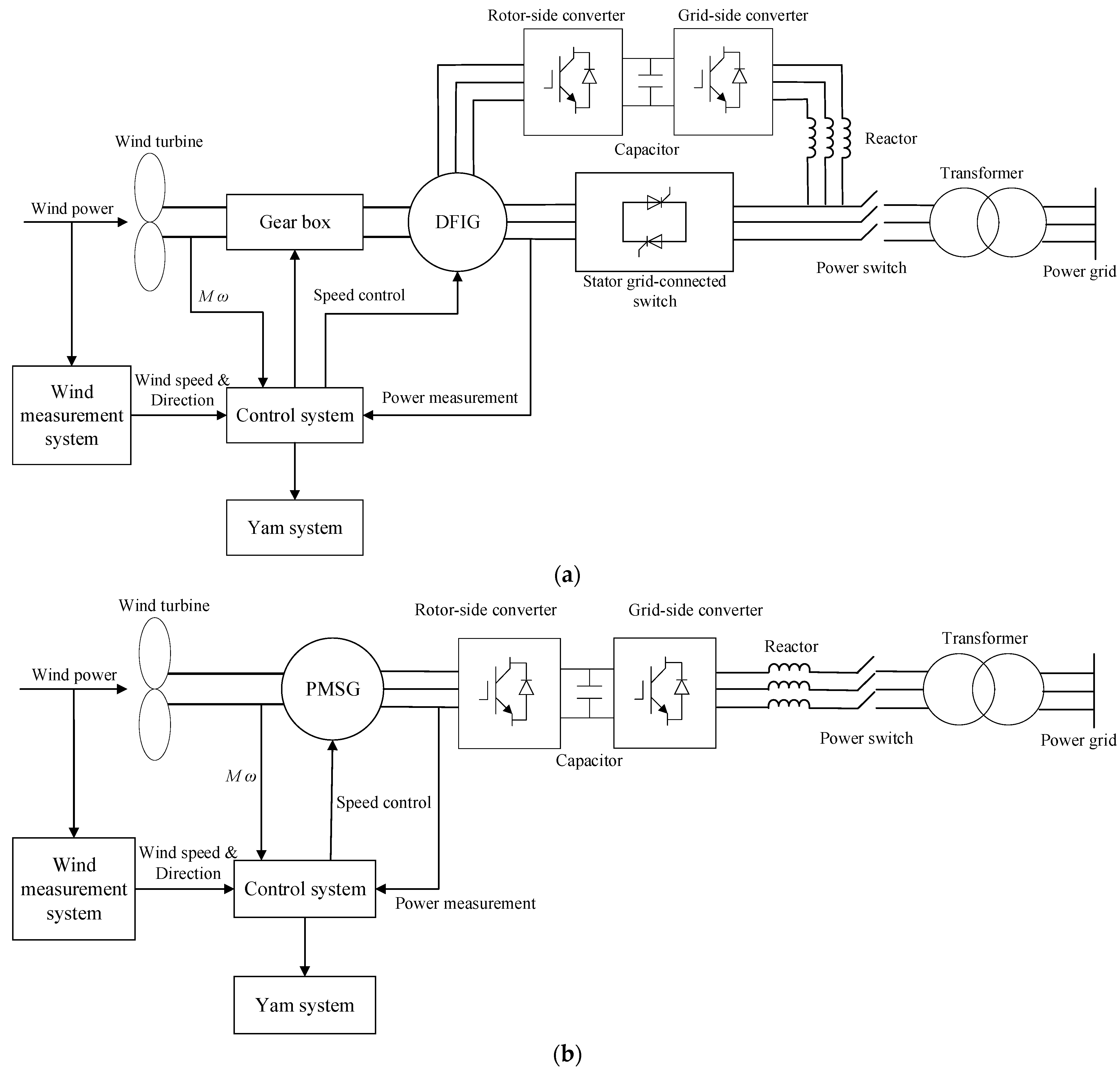
3.1.1. Generator Design
3.1.2. Blade Design
- The aeroelasticity and bending-torsion coupling of flexible blades are investigated, and the adaptive load reduction of the blades is realized through bending–torsion coupling control, thereby reducing the blade’s weight [26].
- Through the optimized arrangement of blade materials, aerodynamic damping in the blade plane is improved to achieve blade shock absorption with the smallest increase in blade weight.
- By using pneumatic accessories in conjunction with flexible blades, the range of the angle of attack for stable flow of the airfoil attached surface layer is extended, so the risk of blade stalls is reduced, and the generating capacity of the wind turbine is ensured.
- Active control technology has been introduced. By analyzing the blade’s load, movement, and inflow information to obtain local strains or displacement, the controller drives the aerodynamic control system to change the coupling mechanism of the blade and the flow field, which reduces the blade’s aerodynamic load.
3.1.3. Anti-Typhoon Design
3.1.4. Control System
3.2. Offshore Wind Turbine Foundation
3.2.1. Fixed Foundation Design
3.2.2. Floating Foundation Design
- Spar: Spar foundation is a closed cylindrical buoy anchored to the seabed by mooring lines. Its center of gravity is far lower than the center of buoyance, making the cylindrical buoy float upright. The small waterplane design can reduce the heave motion of the platform. Hywind Scotland pilot park, the first floating offshore wind farm, adopted this type of foundation. With an installation depth of 100–120 m, the wind farm is equipped with five sets of 6 MW wind turbines and is connected to the grid in the UK in 2017.
- Tension leg platform (TLP): The TLP idea comes from the offshore oil platform. The system is partially submerged below the sea surface and anchored to the seabed via pull rod or cable. The buoyancy force on the submerged part to support the wind turbine and maintain the tension of the pull rod or cable. TLP can have very little vertical movement, but its installation process is quite complex, and the applicable water depth is usually more than 40 m. In 2012, SWAY deployed a single-tension leg floating offshore wind turbine in Norway.
- Semi-submersible: The semi-submersible foundation is formed by connecting a few cylindrical pontoons in a triangular or rectangular layout, which provides buoyance force. Catenary mooring lines connect the floater to the seabed. The applicable water depth is usually more than 40 m. Principle Power, a developer of floating offshore wind turbines, installed a semi-submersible foundation named wind float on the Portuguese coast in 2011, with a capacity of 2 MW.
- Barge: The barge-type foundation platform is like a vessel. The water depth is usually more than 30 m. The barge has the advantages of simplicity, easy manufacturing, and good stability. It can be towed to any location, allowing flexible deployment and low cost. Floatgen, France’s first floating wind turbine test project, uses a concrete barge-type floating wind turbine foundation with a damping pool. One 2 MW prototype was deployed, and semi-tensioned mooring is realized by six polyester mooring lines.
3.3. Booster Station
3.3.1. Intensification and Lightweight of Substation
3.3.2. Flexible DC Transmission Technology
3.4. Current Status in China
4. Key Technology of Construction, Operation, and Maintenance
4.1. Construction
4.1.1. Construction Organization Design
4.1.2. Construction Equipment
4.2. Operation and Maintenance (O&M)
4.2.1. O&M Strategies
4.2.2. O&M Equipment and Spare Parts
4.2.3. Intelligence in O&M of Offshore Wind Farm
- Integrated information intelligent management: integrate information of wind turbine, personnel, vessels management, meteorology, O&M tools, and spare parts management, which supports the planning of various O&M tasks.
- Intelligent condition monitoring and fault diagnosis: Based on the intelligent condition monitoring technology, intelligent online diagnosis, and prediction of faults, the hidden dangers of wind turbines can be discovered and maintained in time, which could greatly improve the work efficiency of the wind farm and reduce the O&M cost.
- Intelligent monitoring and operation optimization: Utilize data from various sensors, such as wind farm meteorological data, grid power demand, wind turbine health status, etc., to adjust the operation status of wind turbines in order to improve the utilization rate of wind energy.
4.3. Current Status in China
5. Research and Development of OWP in China
5.1. China’s R&D Efforts in Offshore Wind Industry
5.2. Standardization of OWP in China
5.3. Parity Process of China’s Offshore Wind Industry
5.4. Future Development of China’s Offshore Wind Industry
6. Conclusions
Author Contributions
Funding
Institutional Review Board Statement
Informed Consent Statement
Data Availability Statement
Conflicts of Interest
References
- EMBER. World Electricity Generation by Source. Available online: https://ember-climate.org/data/data-explorer/ (accessed on 5 May 2022).
- GWEC. Global Wind Report 2020; Global Wind Energy Council: Brussels, Belgium, 2021. [Google Scholar]
- Vetter, D. China Built More Offshore Wind in 2021 Than Every Other Country Built in 5 Years. Available online: https://www.forbes.com/sites/davidrvetter/2022/01/26/china-built-more-offshore-wind-in-2021-than-every-other-country-built-in-5-years/?sh=6c9022054634 (accessed on 5 May 2022).
- Musial, W.; Ram, B. Large-Scale Offshore Wind Power in the United States: Assessment of Opportunities and Barriers; National Renewable Energy Laboratory: Golden, CO, USA, 2010.
- Adams, N.; Stein, D. Results and Findings of a Floating LIDAR Trial in the Irish Sea; The European Wind Energy Association: Messe Frankfurt, Germany, 2013. [Google Scholar]
- Gottschall, J.; Gribben, B.; Stein, D.; Würth, I. Floating lidar as an advanced offshore wind speed measurement technique: Current technology status and gap analysis in regard to full maturity. Wiley Interdiscip. Rev. Energy Environ. 2017, 6, e250.1–e250.23. [Google Scholar] [CrossRef]
- Jiang, D.; Zhuang, D.; Huang, Y.; Wang, J.; Fu, J. Evaluating the spatio-temporal variation of China′s offshore wind resources based on remotely sensed wind field data. Renew. Sustain. Energy Rev. 2013, 24, 142–148. [Google Scholar] [CrossRef]
- Li, Z.; Zhu, R.; He, X.; Zhang, D. Study on the assessment technology of wind energy resource. Acta Meteorol. Sin. 2007, 5, 708–717. [Google Scholar]
- Manwell, J.F.; Rogers, A.L.; McGowan, J.G.; Bailey, B.H. An offshore wind resource assessment study for New England. Renew. Energy 2002, 27, 175–187. [Google Scholar] [CrossRef]
- Zhou, R.; He, X.; Zhu, R.; Cheng, X. Numerical simulation of the development potential of wind energy resources over China′s offshore areas. Resour. Sci. 2010, 32, 1434–1443. [Google Scholar]
- Katic, I.; Højstrup, J.; Jensen, N.O. A simple model for cluster efficiency. In Proceedings of the European Wind Energy Association Conference and Exhibition, Rome, Italy, 7–9 October 1986; pp. 407–410. [Google Scholar]
- Ott, A.; Berg, J.; Nielsen, M. Linearised CFD Models for Wakes; Danmarks Tekniske Universitet, Risø Nationallaboratoriet for Bæredygtig Energi: Roskilde, Denmark, 2011. [Google Scholar]
- Ainslie, J.F. Development of an eddy viscosity model for wind turbine wakes. In Proceedings of the 7th British Wind Energy Association Conference, Oxford, UK, 27–29 March 1985. [Google Scholar]
- Gao, X.; Yang, H.; Lin, L.; Prentice, K. Wind turbine layout optimization using multi-population genetic algorithm and a case study in Hong Kong offshore. J. Wind Eng. Ind. Aerod. 2015, 139, 89–99. [Google Scholar] [CrossRef]
- Pillai, A.C.; Chick, J.; Khorasanchi, M.; Barbouchi, S.; Johanning, L. Application of an offshore wind farm layout optimization methodology at Middelgrunden wind farm. Ocean. Eng. 2017, 139, 287–297. [Google Scholar] [CrossRef] [Green Version]
- Sun, H.; Yang, H.; Gao, X. Investigation into spacing restriction and layout optimization of wind farm with multiple types of wind turbines. Energy 2019, 168, 637–650. [Google Scholar] [CrossRef]
- Drewitt, A.L.; Langston, R.H.W. Assessing the impacts of wind farms on birds. IBIS 2006, 148, 19–42. [Google Scholar] [CrossRef]
- Furness, R.W.; Wade, H.M.; Masden, E.A. Assessing vulnerability of marine bird populations to offshore wind farms. J. Environ. Manag. 2013, 119, 56–66. [Google Scholar] [CrossRef]
- Peterson, I.K.; Fox, A.D. Changes in Bird Habitat Utilisation around the Horns Rev 1 Offshore Wind Farm, with Particular Emphasis on Common Scoter; National Environmental Research Institute: Aarhus, Denmark, 2007. [Google Scholar]
- Shi, B.; Ding, L.; Xu, L.; Hu, W.; Zheng, L. Influence of Donghai Bridge offshore wind farm on bird composition. Chin. J. Ecol. 2014, 33, 1068–1075. [Google Scholar] [CrossRef]
- Su, W.; Wu, N.; Zhang, L. A review of research on the effect of offshore wind power project on marine organisms. Mar. Sci. Bull. 2020, 38, 291–299. [Google Scholar]
- Bergström, L.; Sundqvist, F.; Bergström, U. Effects of an offshore wind farm on temporal and spatial patterns in the demersal fish community. Mar. Ecol. Prog. Ser. 2013, 485, 199–210. [Google Scholar] [CrossRef] [Green Version]
- Scheidat, M.; Tougaard, J.; Brasseur, S. Harbour porpoises (Phocoena phocoena) and wind farms: A case study in the Dutch North sea. Environ. Res. Lett. 2011, 6, 25102–25111. [Google Scholar] [CrossRef] [Green Version]
- Antonio, C.S.; Javier, P.P.; David, B.D.; Carlos, D.R. Offshore wind energy: A review of the current status, challenges and future development in Spain. Renew. Sustain. Energy Rev. 2016, 64, 1–18. [Google Scholar] [CrossRef]
- wind-turbine-models.com. The Latest Wind Turbines in Our Database. Available online: https://www.wind-turbine-models.com/ (accessed on 20 November 2021).
- Yu, W. Investigation on Smart Load Control for a Large-Scale Wind Turbines Using Deformable Trailing Edge Flap. Master′s Thesis, Chinese Academy of Sciences, Beijing, China, 2013. [Google Scholar]
- Cheng, S. Research on Pitch Control Technology of Large Wind Turbine. Master′s Thesis, Shanghai Dianji University, Shanghai, China, 2017. [Google Scholar]
- Shen, X.; Du, W. Expectation and review of control strategy of large wind turbines yaw system. Trans. China Electrotech. Soc. 2015, 30, 196–203. [Google Scholar] [CrossRef]
- Fu, Z.; Yuan, Y. Status and prospects on condition monitoring technologies of offshore wind turbine. Autom. Electr. Power Syst. 2012, 36, 121–129. [Google Scholar] [CrossRef]
- Yang, W.; Tavner, P.J.; Crabtree, C.; Feng, Y.; Qiu, Y. Wind turbine condition monitoring: Technical and commercial challenges. Wind Energy 2014, 17, 673–693. [Google Scholar] [CrossRef] [Green Version]
- Abdelbaky, M.A.; Liu, X.; Kong, X.; IEEE. Wind Turbines Pitch Controller using Constrained Fuzzy-Receding Horizon Control. In Proceedings of the 31st Chinese Control and Decision Conference (CCDC), Nanchang, China, 3–5 June 2019; pp. 236–241. [Google Scholar]
- Sierra-Garcia, J.E.; Santos, M. Improving Wind Turbine Pitch Control by Effective Wind Neuro-Estimators. IEEE Access 2021, 9, 10413–10425. [Google Scholar] [CrossRef]
- Pérez-Collazo, C.; Greaves, D.; Iglesias, G. A review of combined wave and offshore wind energy. Renew. Sustain. Energy Rev. 2015, 42, 141–153. [Google Scholar] [CrossRef] [Green Version]
- Niu, X.; Yu, X. An analytic solution for combined wave diffraction and refraction around a vertical cylinder with idealized scour pit. Coast Eng. 2012, 67, 80–87. [Google Scholar] [CrossRef]
- Prendergast, L.J.; Gavin, K.; Doherty, P. An investigation into the effect of scour on the natural frequency of an offshore wind turbine. Ocean Eng. 2015, 101, 1–11. [Google Scholar] [CrossRef] [Green Version]
- Guo, Y.; Gao, H.; Wu, Q.; Zhao, H.; Østergaard, J.; Shahidehpour, M. Enhanced voltage control of VSC-HVDC-Connected offshore wind farms based on model predictive control. IEEE Trans. Sustain. Energy 2018, 9, 1949–3029. [Google Scholar] [CrossRef] [Green Version]
- Li, Y.; Xu, Z.; Østergaard, J.; Hill, D.J. Coordinated control strategies for offshore wind farm integration via VSC-HVDC for system frequency support. IEEE Trans. Energy Convers. 2017, 32, 843–856. [Google Scholar] [CrossRef] [Green Version]
- Liang, J.; Jing, T.; Gomis-Bellmunt, O.; Ekanayake, J.; Jenkins, N. Operation and control of multiterminal HVDC transmission for offshore wind farms. IEEE Trans. Power Deliv. 2011, 26, 2596–2604. [Google Scholar] [CrossRef]
- Yu, Y. Research on VSC-HVDC for Grid Integration for Wind Power. Master's Thesis, Nanjing University of Science & Technology, Nanjing, China, 2016. [Google Scholar]
- Zou, C.; Wei, R.; Feng, J.; Zhou, Y. Development status and application prospect of VSC-HVDC. South. Power Syst. Technol. 2022, 16, 1–7. [Google Scholar]
- Zhai, E.; Zhang, X.; Li, R. Integration design of offshore wind tower and foundation. South. Energy Constr. 2018, 5, 1–7. [Google Scholar] [CrossRef]
- Niu, X. Conditions for the occurrence of notable edge waves due to atmospheric disturbances. Appl. Ocean. Res. 2020, 101, 102255. [Google Scholar] [CrossRef]
- Liu, Z.; Liu, X.; Sun, D.; Lin, C.; Feng, K. Analysis of offshore wind installation technology and equipment development situation. Ship Eng. 2015, 37, 1–4. [Google Scholar] [CrossRef]
- Besnard, F.; Patriksson, M.; Strömberg, A.B.; Wojciechowski, A.; Bertling, L. An optimization framework for opportunistic maintenance of offshore wind power system. In Proceedings of the 2009 IEEE Bucharest PowerTech, Bucharest, Romania, 28 June–2 July 2009; pp. 1–7. [Google Scholar]
- Hofmann, M.; Sperstad, I.B. NOWIcob—A tool for reducing the maintenance costs of offshore wind farms. Energy Procedia 2013, 35, 177–186. [Google Scholar] [CrossRef] [Green Version]
- Sahnoun, M.; Baudry, D.; Mustafee, N.; Louis, A.; Smart, P.A.; Godsiff, P.; Mazari, B. Modelling and simulation of operation and maintenance strategy for offshore wind farms based on multi-agent system. J. Intell. Manuf. 2015, 30, 2981–2997. [Google Scholar] [CrossRef] [Green Version]
- Hinrichs, H. Condition monitoring based maintenance strategies for operating offshore wind farms. In Proceedings of the Sixth International Workshop on Large-Scale Integration of Wind Power and Transmission Networks for Offshore Wind Farms, Delft, The Netherlands, 1 July 2006; pp. 95–98. [Google Scholar]
- Igba, J.; Alemzadeh, K.; Anyanwu-Ebo, I.; Gibbons, P.; Friis, J. A systems approach towards reliability-centred maintenance (RCM) of wind turbine. Procedia Comput. Sci. 2013, 16, 814–823. [Google Scholar] [CrossRef] [Green Version]
- Pattison, D.; Segovia Garcia, M.; Xie, W.; Quail, F.; Revie, M.; Whitfield, R.I.; Irvine, I. Intelligent integrated maintenance for wind power generation. Wind Energy 2015, 19, 547–562. [Google Scholar] [CrossRef] [Green Version]
- Du, M.; Yi, J.; Guo, J.; Cheng, L.; Ma, S.; He, Q. Review on reliability centred maintenance strategy and applications to offshore wind farm operation and maintenance. Power Syst. Technol. 2017, 41, 2247–2254. [Google Scholar]
- Besnard, F.; Patriksson, M.; Strömberg, A.B.; Wojciechowski, A.; Fischer, K.; Bertling, L. A stochastic model for opportunistic maintenance planning of offshore wind farms. In Proceedings of the 2011 IEEE Trondheim PowerTech, Trondheim, Norway, 19–23 June 2011; pp. 1–8. [Google Scholar]
- Dai, L.; Stålhane, M.; Utne, I.B. Routing and Scheduling of Maintenance Fleet for Offshore Wind Farms. Wind Eng. 2015, 39, 15–30. [Google Scholar] [CrossRef]
- Zheng, X.; Ye, C.; Fu, Y. Research and development of operation and maintenance for offshore wind farms. Power Syst. Clean Energy 2012, 28, 90–94. [Google Scholar]
- Silva, N.; Estanqueiro, A. Impact of Weather Conditions on the Windows of Opportunity for Operation of Offshore Wind Farms in Portugal. Wind Eng. 2013, 37, 257–268. [Google Scholar] [CrossRef] [Green Version]
- Strbac, A.; Greiwe, D.H.; Hoffmann, F.; Cormier, M.; Lutz, T. Piloted Simulation of the Rotorcraft Wind Turbine Wake Interaction during Hover and Transit Flights. Energies 2022, 15, 1790. [Google Scholar] [CrossRef]
- Hu, L.; Qian, J.; Wu, L. Construction of experimental offshore wind power plant. Eng. J. Wuhan Univ. 2013, 46, 319–323. [Google Scholar]
- Wan, W. Study on transportation and installation mode for offshore wind turbines. Ship Eng. 2011, 33, 81–84. [Google Scholar] [CrossRef]
- National Natural Science Foundation of China. National Natural Science Foundation of China Big Data Knowledge Management Service Portal. Available online: https://kd.nsfc.gov.cn/finalProjectInit (accessed on 20 November 2021).
- Cao, Y.; Tu, L.; Nie, J.; Zhou, Y. European experience on standardization of offshore wind power and its enlightenment to China. South. Power Syst. Technol. 2019, 13, 3–11. [Google Scholar] [CrossRef]









| Foundation | Technical Principle | Water Depth | Advantages | Disadvantages | Applications |
|---|---|---|---|---|---|
| Monopile | Hollow steel cylinder inserted into the seabed to provide resistance | <30 m | Light weight, simple structure, convenient installation, no need to tidy up the seabed | Largely restricted by geology, need anti-scouring device | Anholt, London Array, Dantysk |
| Gravity | Mass concrete stabilized through its own weight | <30 m | Simple structure, low cost, high stability, and reliability | Need to be pre-treated, long construction period, large and heavy foundation, inconvenient T&I | Thornton Bank phase I |
| Tripod | Three diagonal braces and horizontal braces welded and connected to the steel pile, forming the frame to bear and transmit loads | 20~80 m | Light weight, good stability, suitable for hard seabed, anti-scouring. | Restricted by the geological conditions, need a fixed offshore construction platform | Alpha Ventus, Trianel Windpark, Borkum I, Global Tech I |
| Jacket | Composed of grid row trusses, three or four steel pipes are driven into the bottom to fix the foundation | 10~80 m | Light weight, high strength, low requirements for piling equipment. | High steel demand, construction is severely affected by weather | Thornton Bank phase II, III |
| Suction bucket | The negative pressure between the bottom of drum and soil keeps the whole system stable | 5~60 m | Quick installation, no need for large-scale T&I, and seabed pretreatment | Easy to tilt, need frequent correction, difficult to design | Frederikshavn, Qidong, Xiangshui |
| Technology | Technical Points | Research Projects [58] | National R&D | Importance | |
|---|---|---|---|---|---|
| 1 | Refined assessment of offshore wind resources |
| 3 | Important | |
| 2 | Floating foundation design |
| 12 | Very important | |
| 3 | Intelligent operation and maintenance |
| 8 | Very important | |
| 4 | Structural design |
| 49 | Extremely important | |
| 5 | Generator design |
| 8 | 3 | Very important |
| 6 | Blade design |
| 3 | 1 | Important |
| 7 | Power system |
| 22 | 2 | Extremely important |
| 8 | Engineering geological survey |
| 0 | Important | |
| 9 | Construction technology |
| 1 | 1 | Important |
Publisher’s Note: MDPI stays neutral with regard to jurisdictional claims in published maps and institutional affiliations. |
© 2022 by the authors. Licensee MDPI, Basel, Switzerland. This article is an open access article distributed under the terms and conditions of the Creative Commons Attribution (CC BY) license (https://creativecommons.org/licenses/by/4.0/).
Share and Cite
Fan, Q.; Wang, X.; Yuan, J.; Liu, X.; Hu, H.; Lin, P. A Review of the Development of Key Technologies for Offshore Wind Power in China. J. Mar. Sci. Eng. 2022, 10, 929. https://doi.org/10.3390/jmse10070929
Fan Q, Wang X, Yuan J, Liu X, Hu H, Lin P. A Review of the Development of Key Technologies for Offshore Wind Power in China. Journal of Marine Science and Engineering. 2022; 10(7):929. https://doi.org/10.3390/jmse10070929
Chicago/Turabian StyleFan, Qixiang, Xin Wang, Jing Yuan, Xin Liu, Hao Hu, and Peng Lin. 2022. "A Review of the Development of Key Technologies for Offshore Wind Power in China" Journal of Marine Science and Engineering 10, no. 7: 929. https://doi.org/10.3390/jmse10070929
APA StyleFan, Q., Wang, X., Yuan, J., Liu, X., Hu, H., & Lin, P. (2022). A Review of the Development of Key Technologies for Offshore Wind Power in China. Journal of Marine Science and Engineering, 10(7), 929. https://doi.org/10.3390/jmse10070929

