Next Article in Journal
The Long-Term Effect of Biochar Amendment on Soil Biochemistry and Phosphorus Availability of Calcareous Soils
Previous Article in Journal
Research on the Effect of Diversified Cropping on Crop Quality: A Review
 
 
Font Type:
Arial Georgia Verdana
Font Size:
Aa Aa Aa
Line Spacing:
Column Width:
Background:
Article

Development and Test of a Self-Propelled Peanut Combine Harvester for Hilly and Mountainous Regions

1
Nanjing Institute of Agricultural Mechanization, Ministry of Agriculture and Rural Affairs, Nanjing 210014, China
2
Chongqing Academy of Agricultural Sciences, Chongqing 401329, China
3
College of Mechanical Engineering, Henan Polytechnic Institute, Nanyang 473000, China
*
Authors to whom correspondence should be addressed.
Agriculture 2025, 15(5), 457; https://doi.org/10.3390/agriculture15050457
Submission received: 15 January 2025 / Revised: 12 February 2025 / Accepted: 19 February 2025 / Published: 20 February 2025
(This article belongs to the Section Agricultural Technology)

Abstract

Addressing the issue of complex terrain and small field plots in hilly and mountainous regions where large combine harvesters are not suitable, this paper presented the design and development of a semi-feed self-propelled peanut combine harvester. This harvester is characterized by its small size and flexible steering. Theoretical calculations were used to determine the structural parameters of the main working components. A three-factor, three-level orthogonal experimental design was implemented, focusing on forward speed, vibration frequency and picking roller rotational speed, as these parameters significantly influence operational performance. Through this experiment, regression models were established between the total loss rate, the broken pod rate, and these three above mentioned factors. Through multi-objective optimization, it was found that when the forward speed is 0.44 m/s, the picking roller rotational speed is 350 rpm, and the vibration frequency is 6.4 Hz, the total loss rate and broken pods rate of the harvester are the lowest. Validation experiments were conducted under this parameter combination, with the total loss rate and broken pods rate being effectively reduced to 3.21% and 0.85%, respectively. The experiments proved that this harvester meets the requirements for mechanized peanut harvesting in hilly and mountainous regions.

1. Introduction

Peanuts, the world’s fourth-largest oilseed crop, are a key agricultural commodity in China, serving as both a vital source of edible oil and a significant economic crop. It plays an essential role in securing China’s edible oil supply and fostering greater diversity in food consumption.
China is the second largest peanut-growing country in the world and ranks first in production. In 2023, China’s peanut cultivation area reached 4.8 million hectares with a production output of 19.23 million tons [1]. The main peanut-producing regions in China include Henan, Shandong, Guangdong, Sichuan, and Hebei provinces. Approximately one-third of the cultivated area is distributed in hilly regions such as Guangdong and Sichuan [2,3]. Due to the small field sizes, heavy clay soil, and complex and diverse agricultural practices in these areas, it is difficult to achieve large-scale mechanization. As a result, peanut planting and production primarily rely on manual labor, with a relatively low level of mechanization. In 2022, China’s mechanized peanut harvesting rate was 53.9% [4]. As shown in Figure 1, northern provinces like Henan and Shandong had mechanized harvesting rates of around 80%, while hilly region provinces such as Sichuan, Hunan, and Guangdong had mechanized harvesting rates of less than 2%, and Guangxi was below 15% [5]. These rates are far below the national mechanization level for peanut harvesting, significantly hindering the development of China’s peanut industry. Therefore, it is highly necessary to research peanut combine harvesters suitable for hilly and mountainous regions.
Currently, there is extensive research on mechanized peanut harvesting in the plains of northern China, including full-feed and semi-feed peanut combine harvesters, peanut diggers, and peanut strip paver [6,7,8,9,10]. Among these, combine harvesters are relatively large in size and not suitable for small fields in hilly and mountainous regions. Peanut diggers and strip pavers are smaller in size, but they still require manual or mechanical fruit detachment, which is inefficient. Hu Zhichao et al. [11,12,13,14,15] developed the 4LH2 and 4HLB-4 semi-feed self-propelled peanut combine harvesters using a blade-type dual-roller differential phase assembly brushing and threshing principle, as well as the 4HZB-2A semi-feed peanut picker adopting an automatic stalk guiding and bending mechanism with rear-tilted arcuate blades. Wang Qinghua [16] developed a semi-feed peanut combine harvester suitable for two ridges and four rows, designed the clamping conveyor chain, picking device, and cleaning device, and conducted single-factor and multi-factor experiments on key operational parameters that affect harvesting performance, optimizing the operational parameters. Xu Jikang and Gao Lianxing [17,18] designed the structure of a semi-feed double-roller fruit picking device and optimized the key parameters that affect picking performance. Ling Jie et al. [19,20] developed a crawler-type fresh peanut harvester designed for combined picking and harvesting. Its compact size and lightweight construction make it particularly suitable for full-feed operations in hilly and mountainous regions. However, it has issues of low picking cleanliness and high harvest loss rates. Wang Dongwei et al. [21,22] developed the 4HBL-4 and 4HJL-2 semi-feed peanut combine harvesters. Li Dongjie et al. [23,24] developed a semi-feed peanut combine harvester for three ridges and six rows. Among the various types of peanut harvesters currently being researched, there are relatively few specifically designed for mechanized harvesting of peanuts in hilly and mountainous regions. Therefore, research and development in this area should be strengthened.
According to the characteristics of complex hilly terrain and small fields, a self-propelled semi-feed peanut combine harvester was developed. The clamping conveyor, fruit picking device, cleaning device and the structure of the whole machine were designed and miniaturized, which made the whole machine smaller and more in line with the needs of hilly and mountainous production scenarios. The multi factor orthogonal test was carried out on the key parameters affecting the operating performance of the whole machine, and the multiple regression model was established. The optimal parameter combination was determined by response surface analysis and parameter optimization, and the accuracy of the model and parameters was verified by experiments.

2. Materials and Methods

2.1. General Structure and Operating Principle

2.1.1. General Structure

The self-propelled peanut combine harvester adopts a semi-feed fruit picking method and is mainly composed of a crawler chassis walking system, power system, hydraulic system, clamping and conveying system, fruit picking mechanism, cleaning mechanism, control mechanism, transmission mechanism, and fruit collection basket transfer platform. As shown in Figure 2.

2.1.2. Working Principle

The self-propelled peanut combine harvester can complete the processes of digging up the peanut plants, clamping and conveying, fruit picking, cleaning and collecting all at once. Its working principle is as follows: During field operation, the digging shovel enters the soil to dig up the peanut plants, while the clamping conveyor chain simultaneously clamps the plants and conveys them to the fruit picking mechanism for fruit removal. The picked pods fall onto the cleaning mechanism for preliminary removal of impurities. Then, the fruit is gathered into the fruit collection basket under the action of the vibrating screen. As shown in Figure 3. Its operating parameters are shown in Table 1. The suitable planting specifications are illustrated in Figure 4. Peanuts should be planted in ridges with two rows on each ridge. The ridge spacing is approximately 800 ± 100 mm, the ridge height is about 150 ± 50 mm, the row spacing is less than 250 mm, and the peanut plants grow upright with a plant height of 300–500 mm.

2.2. Key Component Design

2.2.1. Digging Device

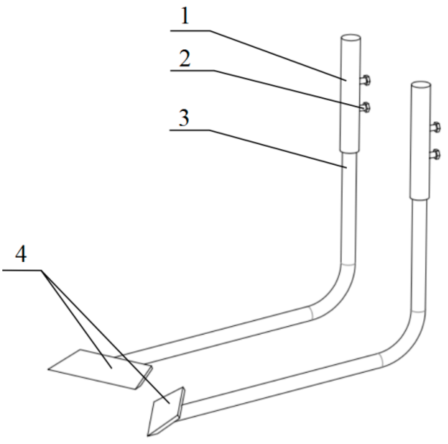
The function of the digging device is to shovel the peanut root system and loosen the soil, reduce uprooting resistance in peanut plants, so as to reduce the loss of buried fruits. The basic requirements of the digging device are: (1) maintaining a stable digging depth; (2) possessing strong soil-breaking capability; (3) minimizing digging resistance while ensuring soil-breaking capability; (4) having a blade edge with excellent wear resistance [25].
In order to meet the needs of peanut excavation, the designed digging device is composed of fixing pipe holder, shovel handle, left and right plane shovels and securing screws, and the depth limiting wheel is used to keep the excavation depth stable, as shown in Figure 5. The digging shovel is designed with double trapezoidal shovel opposed, which is symmetrically arranged on both sides of the frame of the clamping and conveying mechanism. During operation, two rows of peanuts are dug on the ridge at a time. The digging shovel can be adjusted up and down, left and right within a certain range to meet the actual operation requirements. The main parameters of the excavator are the width of the flat shovel is 200 mm, the penetration angle is 30°, the excavation width is 530 mm, and the excavation depth range is 0~120 mm [26].

2.2.2. Clamping and Conveying Device

The clamping and conveying device comprise a driving sprocket, a driven sprocket, a clamping conveyor chain, and an automatic tensioning device, etc. Its function is to pull peanut plants upwards and convey them backwards, completing the tasks of soil cleaning, fruit harvesting, and plant residue ejection. The clamping conveyor chain is a special toothed chain for the rice–wheat combine harvester. In order to stably transport the peanut plants, it is necessary to maintain a precisely controlled clamping force to ensure that the plants can be pulled out of the soil and will not fall down in the process of transportation and fruit picking. The spring-loaded automatic tensioning device is designed, and the designed clamping force is 50 N [27]. The structure of it is illustrated in Figure 6. The addendum height of clamping chain h is 10 mm, and addendum angle θ is 90°.
To ensure that the peanut plants are lifted vertically by the clamping conveyor chain, the conveying speed must be synchronized with the harvester’s forward speed [28]. The resultant motion of peanut plants represents the vector superposition of two velocity components: the horizontal translation from harvester movement and the oblique lifting from clamping chain operation. As shown in Figure 7.
The movement of peanut plants must satisfy the following equation:
v c = v m c o s α ,
where vc is the speed of clamping conveyor chain, m/s; vm is the forward speed of harvester, m/s; α is the angle between clamping conveyor chain and horizontal direction, 20°.
The forward speed significantly influences the harvester’s operational efficiency and must be maintained within an optimal range. According to the previous research, when the forward speed is about 0.6~1.2 m/s, the operation efficiency and machine performance are relatively balanced. However, kinematic analysis reveals that this speed range causes overfeeding in compact harvesters due to their reduced dimensions. Therefore, the optimal forward speed was determined to be 0.3~0.7 m/s for the developed prototype, and the clamping chain speed vc calculated according to formula (1) is about 0.32~0.74 m/s.

2.2.3. Fruit Picking Device

Among all the operations in peanut combine harvesting, fruit picking is the most essential. The performance of the fruit piking device determines the overall performance of the peanut combine harvester. In this paper, the fruit piking device adopts a dual-roller design with a differential phase configuration. The peanut plants are conveyed by the clamping chain and sequentially enter the fruit piking rollers. The two fruit picking rollers rotate opposite each other, and the peanut pods are picked from the plants by beating and pulling to realize the fruit picking operation. The structure is illustrated in Figure 8. Experiments have shown that when each roller is equipped with 6 arcuate blades, the force and frequency of beating are relatively reasonable. The arcuate shape of the blades can minimize pod damage and result in a higher picking efficiency.
(1)
Diameter of fruit picking roller
As shown in Figure 8b, the two fruit picking rollers are arranged in parallel and their outer diameters intersect. The intersecting part is the optimal fruit picking area, and the rest of the contact area with peanut pods is the picking area. The average height of peanut pods cluster is 120 mm. Due to the limitation of the spatial structure, the optimal fruit picking area cannot cover the whole peanut pods cluster. The length of AB is 80 mm, and the center distance between the two rollers O1O2 is 150 mm. According to the Pythagorean theorem, it can be calculated that O1A is 85 mm, so the diameter of fruit picking roller D is 170 mm.
(2)
Angle between fruit picking roller and clamping conveyor chain
To increase the picking efficiency and guarantee that all the pods on the entire peanut plants are harvested, the picking roller and the clamping conveyor chain are arranged at an inclined angle to each other, enabling the entire peanut pods cluster to enter the optimal peanut picking area during the picking process. As shown in Figure 9.
The peanut pods cluster is approximately regarded as a circle. At the beginning of fruit picking, the bottom of the peanut pods cluster is close to the optimal peanut picking area and enters at the tangent point D. At the end of fruit picking, the peanut pods cluster is separated at the tangent point C. During the whole process, the peanut pods cluster gradually enters the optimal fruit picking area and completes the fruit picking operation. In triangle BCD, we have
tan β = B D C D ,
β = arctan B D C D ,
where β is the angle between fruit picking roller and clamping conveyor chain, °; BD is diameter of peanut pods cluster, mm; CD is the length of picking roller, mm.
The diameter of peanut pods cluster BD is 120 mm. The length of picking roller CD is 570 mm. So, the angle formed between the clamping chain and fruit picking roller is 11.9°. The angle is designed to be adjustable in order to accommodate different peanut varieties and actual working conditions.
(3)
Rotation speed of fruit picking roller
The higher the rotational speed of the nut-stripping cylinder, the more times the peanut pods are hit within the picking process, resulting in a higher picking rate. However, excessively high speed can crush the peanut pods, leading to a higher rate of broken pods. According to the experimental analysis, when the linear speed of the fruit picking roller is 2~4 m/s [18], the fruit picking performance is the best. The rotation speed of the fruit picking roller is
n = 60 v π D × 1000 ,
where n is the rotation speed of fruit picking roller, rpm; v is the linear speed of fruit picking roller, m/s.
According to Formula (4), the fruit picking roller speed is calculated to be 230–450 rpm.

2.2.4. Cleaning Device

The function of the cleaning device is to remove impurities from the picked peanut pods, such as peanut stems, leaves, peanut shells, and soil. As shown in Figure 10, the cleaning device consists of a fan, a vibrating screen, an eccentric wheel mechanism, connecting rod and a straw shaker. The picked peanut pods and impurities fall onto the vibrating screen and move backwards with the vibration of the screen. During this process, some impurities are removed by the vibrating screen. The peanut pods and remaining impurities move further back, and some of the remaining impurities are removed under the action of the straw shaker and fan. And then, the peanut pods fell into the fruit collecting box.
The cleaning device parameters, as per design specifications, are outlined below: the overall dimensions of the screening body are 1300 mm × 360 mm, the amplitude is 6 mm [29], and the screen mesh size is specified as 12 mm. The vibration frequency of the screen has a significant impact on both the cleaning effect and the loss rate. If the frequency is too low, the cleaning effect will be poor. Conversely, if the frequency is too high, it may cause peanut pods to vibrate out of the screen, resulting in losses. Based on previous research [29] and the soil conditions in hilly and mountainous areas, the vibration frequency of the vibrating screen is controlled within the range of 5–9 Hz.

2.3. Experimental Conditions and Equipment

2.3.1. Experimental Method

The experiment was conducted in Guozhuang Village, Caozhuang Town, Linshu County, Linyi City, Shandong Province in October 2024. The experimental basis is the industry standard NY/T502-2016 “Peanut Harvester Operation Quality” of the Ministry of Agriculture and Rural Affairs of the People’s Republic of China [30]. The peanut variety is Fenghua No. 1, and the soil is sandy with a soil moisture content of 9.4%. We randomly selected three areas for testing, each with a length of 20 m. Then, we randomly selected 3 small sample areas along the length direction in each of the three areas, each with a length of 2 m. Three samples were randomly selected from the harvested species in each small sample area, with 2000 g taken each time. The mass of buried fruits, fallen fruits, and uncleared pods on the peanut plant were collected, and each experiment was replicated three times, with the mean value calculated to ensure data reliability.
According to the previous text, three experimental factors were selected including forward speed X1, fruit picking roller speed X2, and vibration frequency X3, and a three factor three-level Box–Behnken experiment was conducted. The experimental factors and levels are shown in Table 2.

2.3.2. Experimental Indicators

The operating indicators of peanut combine harvesters are set according to the industry standard NY/T502-2016 “Peanut Harvester Operating Quality” of the Ministry of Agriculture of the People’s Republic of China. The total loss rate and broken pod rate are important indicators for evaluating peanut combine harvester.
For peanut combine harvesters, the total loss rate includes fruit drop rate, buried fruit rate, and unpicked rate.
(1)
total loss rate Y1
Y 1 = E + M + W ,
where E is the fruit drop rate, %; M is the buried fruit rate, %; W is the unpicked rate, %.
The computational methodologies for each indicator are outlined below:
E = m 1 m 1 + m 2 + m 3 + m 4 × 100 % ,
M = m 2 m 1 + m 2 + m 3 + m 4 × 100 % ,
W = m 3 m 1 + m 2 + m 3 + m 4 × 100 % ,
where m1 is the mass of the pods that fall to the ground; m2 is the mass of pods buried in the soil; m3 is the mass of the pods unpicked; m4 is the mass of harvested pods.
(2)
broken pods rate Y2
Y 2 = m 5 m 5 + m 6 × 100 % ,
where m5 is the mass of the broken pods in harvested pods; m6 is the mass of unbroken pods in harvested pods.

3. Results

3.1. Experimental Result

A three-factor, three-level experimental design was structured in Design-Expert 13 software using the Box–Behnken methodology, comprising 17 experimental runs. These include 12 factorial points and five center points for estimating the pure error. The results are presented in Table 3.

3.2. Establishment and Significance Testing of the Regression Model

Using the Design Expert 13 software, multiple regression analysis was conducted on the data in Table 3, resulting in the following quadratic regression models for the total loss rate Y1 and broken pods rate Y2:
Y 1 = 3.63 + 0.885 X 1 0.7325 X 2 + 0.8725 X 3 + 0.4625 X 1 X 2 0.8325 X 1 X 3 + 0.3925 X 2 X 3 + 0.9073 X 1 2 + 2.04 X 2 2 + 1.45 X 3 2 ,
Y 2 = 0.692 0.215 X 1 + 0.4925 X 2 + 0.4425 X 3 0.1775 X 1 X 2 0.4975 X 1 X 3 0.0325 X 2 X 3 + 0.4952 X 1 2 + 1.39 X 2 2 + 1.27 X 3 2 ,
where Y1 is the total loss rate, %; Y2 is the broken pods rate, %; X1 is the forward speed, m/s; X2 is picking roller rotational speed, %; X3 is the vibration frequency, Hz.
The p-value represents the degree of influence that a parameter has on the model. A p-value below 0.01 suggests a highly significant impact on the model, while a p-value between 0.01 and 0.05 indicates a significant impact on the model. As shown in Table 4, the p-value for the total loss rate Y1 is less than 0.0001, demonstrating that the regression model is highly significant. Factors X1, X2, X3, X1X3, X12, X22, and X32 have a highly significant influence on the regression model (p < 0.01), while X1X2 has a significant influence (0.01 < p < 0.05), and X2X3 has no significant impact on the regression model (p > 0.05). For the broken pods rate Y2, the model’s p-value is 0.0001, indicating that the regression model has high significance. Factors X2, X3, X12, X1X3, X22, and X32 significantly influence the regression model (p < 0.01), while X1 has a significant effect (0.01 < p < 0.05). Neither X1X2 nor X2X3 significantly impact the regression model (p > 0.05). Therefore, based on the above analysis, the regression model for the total loss rate Y1 and fragmentation rate Y2 can be simplified as follows:
Y 1 = 3.63 + 0.885 X 1 0.7325 X 2 + 0.8725 X 3 + 0.4625 X 1 X 2 0.8325 X 1 X 3 + 0.9073 X 1 2 + 2.04 X 2 2 + 1.45 X 3 2 ,
Y 2 = 0.692 0.215 X 1 + 0.4925 X 2 + 0.4425 X 3 0.4975 X 1 X 3 + 0.4952 X 1 2 + 1.39 X 2 2 + 1.27 X 3 2 .

3.3. Analysis of the Effect of Interaction Factors on Harvester Performance

3.3.1. Analysis of the Effect of Interactive Factors on the Total Loss Rate

Figure 11 presents a 3D response surface plot that depicts the interaction effects of forward speed, picking roller rotational speed, and vibration frequency on the total loss rate.
Figure 11a shows the effect of forward speed and picking roller rotational speed on the total loss rate. The interaction between these two factors significantly impacts the total loss rate, and the overall trend indicates that with the increase in forward speed and picking roller rotational speed. The total loss rate initially decreases before subsequent increase. The impact of picking roller rotational speed is more pronounced than that of forward speed. This is primarily because the picking roller rotational speed directly affects the number of hits and the striking force of the picking blades on the peanut pods. As the picking roller rotational speed increases, the number of strikes and the striking force increase, resulting in cleaner removal of peanut pods. However, excessive rotational speed of the fruit picking roller significantly increases the initial ejection velocity of peanut pods. This elevated velocity leads to high-energy collisions with the vibrating screen, causing pod rebound and subsequent material loss. As for the forward speed, it influences the transmission speed of the clamping chain. The higher the forward speed, the faster the clamping chain moves, and the shorter the time the peanut pods spend in the effective picking area, leading to fewer hits by the picking blades and possibly incomplete picking, thus increasing the loss rate. Moreover, with a higher forward speed, the gripping chain pulls up the peanut plants faster, and during the rapid lifting process, some peanut pods may remain in the soil, leading to further losses. Figure 11b shows the effect of forward speed and vibration frequency on the total loss rate. It can be observed that the higher the vibration frequency, the higher the total loss rate. This is because, with the other unchanged conditions, a higher vibration frequency results in more intense vibrations of the vibrating screen, making it more likely for the peanut pods to be shaken off and cause losses. Figure 11c shows the effect of picking roller rotational speed and vibration frequency on the total loss rate. It indicates that the interaction between these two factors is not very significant, and the effect of picking roller rotational speed on the total loss rate is greater than that of vibration frequency.

3.3.2. Analysis of the Effect of Interactive Factors on the Broken Pods Rate

Figure 12 is a 3D response surface plot illustrating the interaction effects of forward speed, picking roller rotational speed, and vibration frequency on the broken pods rate.
Figure 12a illustrates the effect of forward speed and picking roller rotational speed on the broken pods rate. As the picking roller rotational speed decreases, the broken pods rate also decreases. While forward speed has a negligible effect on the broken pod rate, the interaction between the two factors plays a more significant role. This is because a higher picking roller speed leads to a stronger impact on the peanut pods, causing more breakage. Conversely, an increased forward speed results in a faster transportation rate of the clamping chain, reducing the time the peanut pods spend in the fruit-picking area, thus lowering the chances of impact and reducing the broken pods rate. Figure 12b shows the influence of forward speed and vibration frequency on the broken pods rate. The interaction between these two factors is significant. As vibration frequency decreases, the crushing rate also decreases. The forward speed has a notable effect on the broken pods rate—higher forward speeds lead to a lower broken pods rate. Figure 12c depicts the impact of picking roller rotational speed and vibration frequency on the broken pods rate. As both vibration frequency and picking roller rotational speed increase, the broken pods rate also rises; however, the interaction between these two factors is not significant.

3.4. Optimization of Working Parameters

Based on the above analysis, to achieve optimal performance of the peanut combine harvester, it is necessary to reduce both the total loss rate and broken pods rate. To decrease the total loss rate, one would need to reduce the forward speed, increase the roller rotational speed, and decrease the vibration frequency. However, reducing the forward speed and increasing the roller rotational speed can, to a certain extent, lead to an increase in the broken pods rate. A multi-objective optimization was conducted to obtain the optimal operating parameters for the peanut combine harvester during operation. The optimization constraint equation selected was
m i n Y 1 ( X 1 , X 2 , X 3 ) m i n Y 2 ( X 1 , X 2 , X 3 )   s . t . 1 X 1 , X 2 , X 3 1 0 Y 1 5 % 0 Y 2 3 % .
Use Design Expert 13 software to solve the constraint equations and obtain the optimal combination of job parameters. When the forward speed is 0.435 m/s, the picking roller rotational speed is 350.227 rpm, and the vibration frequency is 6.444 Hz, the total loss rate is 3.16% and the broken pods rate is 0.89%.

3.5. Field Experiment Validation

To verify the accuracy of the regression model, validation experiments were conducted based on the aforementioned combination of operating parameters. The selected forward speed was 0.44 m/s, the picking roller rotational speed was 350 rpm, and the vibration frequency was 6.4 Hz. We then repeated the experiment three times and take the average of the results. The experimental method is shown in Figure 13. The results are shown in Table 5.
According to the table, the experimental value of the total loss rate Y1 is 3.21%, slightly higher than the optimal value of 3.16%, with a relative error of 2.3%. The experimental value of broken pods rate Y2 is 0.85%, slightly lower than the optimal value of 0.89%, with a relative error of 4.5%. It can be considered that this parameter combination is effective and can be used for practical production applications.

4. Discussion

In the southern region, peanuts are mainly consumed as fresh and roasted products. Therefore, during mechanized harvesting, farmers mainly focus on the broken pods rate of machine harvesting and have a high tolerance for harvest loss rate and impurity content in cleaning. They can manually pick and clean again, with relatively low labor intensity and cost. In the current situation where soil in the south is sticky and compacted, fruit soil separation is difficult, mechanical harvesting loss rate and impurity content are difficult to reduce, the emphasis should be on reducing the broken pods rate to solve the problem of unavailable machinery that meets the requirements.
The self-propelled peanut combine harvester developed in this study features a compact structure, making it suitable for operation in hilly and mountainous small plots. Through testing and optimization, the total loss rate and the broken pods rate meet the national standard requirements. The orthogonal experiment shows that all three experimental factors influence the peanut harvesting performance to varying degrees. The picking roller rotational speed has the greatest effect on the broken pods rate, followed by vibration frequency, with forward speed having the least impact. The mechanism behind the influence of picking roller rotational speed on the broken pods rate is that higher roller speed increases the force between the fruit-picking blades and the peanut pods. When this force exceeds the breaking limit of the peanut pods, they are crushed. Therefore, it is necessary to match reasonable roller speed and forward speed through experiments, so that a higher picking efficiency can be achieved while reducing the roller speed to minimize the broken pods rate. Both forward speed and vibration frequency have a similar effect on the total loss rate, while the influence of picking roller rotational speed is slightly smaller. Forward speed mainly affects the buried pod rate in the total loss rate, and the higher the forward speed, the higher the buried pod rate. Picking the roller rotational speed primarily impacts the unharvested pod rate, with lower speed leading to higher unharvested pod rate. Vibration frequency mainly affects the fallen pod rate, with higher vibration frequencies resulting in a higher fallen pod rate. Vibration frequency has a highly significant impact on the total loss rate, which differs from the findings in reference [16]. This discrepancy is primarily due to adjustments made to the vibration screen structure and dimensions to achieve overall miniaturization of the machine, resulting in a smaller vibration screen. At high frequencies, there is a significant likelihood that peanuts will be vibrated out, as observed during the experiments. Future research can consider improvements in the vibration screen material and protective structure to reduce the total loss rate.
Additionally, due to the miniaturization of the entire machine, the structure is constrained, limiting the inclusion of more functional components. As a result, the current cleaning system only provides preliminary screening and does not meet the required impurity content standards, necessitating manual cleaning. Given the specific conditions and needs of hilly and mountainous areas, this study did not analyze impurity content. For the same reasons, an automatic chain-type fruit collection system was not used. Instead, the peanut pods are collected by manually replacing the collection box. However, this requires halting operations during the exchange, which leads to reduced efficiency. Future plans include the design of a dual-position exchangeable collection box system, allowing for box replacement without stopping the machine, thereby improving operational efficiency.
Moreover, different soil types and peanut varieties can have varying effects on the harvester’s performance. Adjustments to operational parameters, such as working speed, roller speed, and vibration frequency, will be necessary depending on the specific conditions to optimize the machine’s performance.

5. Conclusions

(1) A self-propelled peanut combine harvester designed for single-ridge and double-row planting in hilly and mountainous regions was developed. Theoretical analysis and structural design were carried out for key components, including the digging device, clamping and conveying system, fruit picking mechanism, and cleaning device. Key factors influencing harvest quality were identified, such as forward speed, picking roller rotational speed, and vibration frequency.
(2) A three-factor, three-level orthogonal experimental design was implemented to analyze the impact of forward speed, fruit picking roller speed, and vibrating screen frequency on the operational performance of the peanut combine harvester. Through response surface analysis, it was found that forward speed, picking roller speed, and vibration frequency of the vibrating screen have a highly significant influence on the total loss rate. Picking roller speed and vibration frequency of the vibrating screen have a highly significant impact on the broken pods rate, while forward speed has a significant effect on the broken pods rate.
(3) Aiming to cut down the total loss rate and broken pods rate, a regression model for these two rates was established. Through optimization, the optimal operational parameters for the peanut harvester were determined as a forward speed of 0.44 m/s, a picking roller speed of 350 rpm, and a vibration frequency of the vibrating screen at 6.4 Hz. Verification experiments were conducted based on these parameters, resulting in a total loss rate of 3.21% and a broken pods rate of 0.85%. These results effectively reduced both the total loss rate and broken pods rate, meeting national standards and satisfying the quality requirements for mechanized peanut harvesting in hilly and mountainous areas.

Author Contributions

Conceptualization, Z.H. and F.G.; methodology, F.W. and G.R.; investigation, W.L.; data curation, Z.Y.; writing—original draft preparation, L.P. and M.G.; writing—review and editing, L.P., H.Y., W.L. and Z.H.; visualization, L.P. and H.S.; supervision, G.R. and Z.H.; project administration, F.W.; funding acquisition, Z.H. All authors have read and agreed to the published version of the manuscript.

Funding

This research was funded by the National Peanut Industry Technology System, grant number CARS-13.

Institutional Review Board Statement

Not applicable.

Data Availability Statement

The data presented in this study are available in the article.

Conflicts of Interest

The authors declare no conflicts of interest.

References

  1. China Statistical Yearbook 2024. National Bureau of Statistics of China. 2024. Available online: https://www.stats.gov.cn/sj/ndsj/2024/indexch.htm (accessed on 10 December 2024).
  2. Liao, B.S. A Review on Progress and Prospects of Peanut Industry in China. Chin. J. Oil. Crop. Sci. 2020, 42, 161–166. [Google Scholar]
  3. Wang, Y.; Yang, J.; Peng, K.; Hua, B. Current Situation and Prospects of Peanut Industry in China. Agric. Outlook 2024, 20, 86–91. [Google Scholar]
  4. Tian, F. China Agricultural Machinery Industry Yearbook 2023; China Agricultural Machinery Industry Yearbook Editorial Department: Beijing, China, 2023. [Google Scholar] [CrossRef]
  5. Wu, C.; Wang, J.; Yang, Y.; Li, D.; Li, X.; Yan, R. Analysis of the Development Status and Mechanization Trends of Economic Crop Industry in China. J. Chin. Agric. Mech. 2024, 45, 1–13. [Google Scholar]
  6. Shang, S.; Li, G.; Yang, R.; Sun, T.; Wang, Y.; Lian, Z. Development of 4HQL-2 type whole-feed peanut combine. Trans. CSAE 2009, 25, 125–130. [Google Scholar]
  7. Li, G.; Chen, L.; Zhang, L.; Chen, X.; Du, F. Research situation and prospect of peanut indirect harvesters. J. Peanut Sci. 2016, 45, 61–63+66. [Google Scholar]
  8. Kong, P. Experiment on Small Scale Shove-Roller Type Peanut Harvester. Ph.D. Thesis, Shenyang Agricultural University, Shenyang, China, 2016. [Google Scholar]
  9. Zhou, Q. Development of Shovel-Chain Low-Position Spreading Type Peanut Collecting Machine and Test of Conveying and Spreading Performance. Ph.D. Thesis, Jilin Agricultural University, Changchun, China, 2022. [Google Scholar]
  10. Zhao, S.; Wang, D.; Wang, Y.; Luan, G.; Sun, Q. Design and test of turnover laying device of peanut harvester. J. Agric. Mech. Res. 2013, 35, 73–75+79. [Google Scholar]
  11. Hu, Z.; Wang, H.; Wang, J.; Hu, L.; Tian, L.; Zhong, T. Experiment on 4HLB-2 Type Half Feed Peanut Combine Harvester. Trans. Chin. Soc. Agric. Mach. 2010, 41, 79–84. [Google Scholar]
  12. Fu, H. Design and Research on Model 4HZ—2 Self-propelled Peanut Combine Harvester. Agric. Equip. Veh. Eng. 2015, 53, 67–70. [Google Scholar]
  13. Hu, W.; He, K.; Yu, X.; Geng, D.; Li, Z.; Zhang, S. Design and Test of Half-feed Peanut Combine Harvester. J. Agric. Mech. Res. 2019, 41, 58–63. [Google Scholar]
  14. Wang, B.; Zhang, Y. Optimization on Parameters of Semi-feeding Pod-picking Device for Four-row peanut Combine Harvester. Int. Agric. Eng. J. 2018, 27, 107–115. [Google Scholar]
  15. Hu, Z.; Wang, H.; Peng, B.; Chen, Y.; Wu, F.; Zhang, Y. Optimized Design and Experiment on Semi-feeding Peanut Picking Device. Trans. Chin. Soc. Agric. Mach. 2012, 43, 131–136. [Google Scholar]
  16. Wang, Q.; Yu, Z.; Zhang, Y.; Li, J.; Peng, B.; Wang, B.; Hu, Z. Experimental Study of a 4HLB-4 Half-Feed Four-Row Peanut Combine Harvester. Agronomy 2022, 12, 3094. [Google Scholar] [CrossRef]
  17. Xu, J.; Yang, R.; Li, R.; Shang, S. Design and Experiment of Film Removing and Peanut Picking Device for Half-feeding Harvester. Trans. CSAE 2014, 45, 88–93. [Google Scholar]
  18. Gao, L.; Su, Z.; Chen, Z.; Liu, Z.; Lü, C.; Li, H. Design and Experiment of Double-roller Semi-feeding Peanut Picking Device for Breeding in Mini Type Area. Trans. CSAE 2016, 47, 93–98. [Google Scholar]
  19. Ling, J.; Shen, H.; Gu, M.; Hu, Z.; Zhao, S.; Wu, F.; Xu, H.; Gu, F.; Zhang, P. The Design and Optimization of a Peanut-Picking System for a Fresh-Peanut-Picking Crawler Combine Harvester. Agriculture 2024, 14, 1332. [Google Scholar] [CrossRef]
  20. Wang, S.; Hu, Z.; Yao, L.; Peng, B.; Wang, B.; Wang, Y. Simulation and Parameter Optimisation of Pickup Device for Full-feed Peanut Combine Harvester. Comput. Electron. Agric. 2022, 192, 106602. [Google Scholar] [CrossRef]
  21. Wang, D.; Shang, S.; Han, K. Design and test of picking mechanism in 4HJL-2 peanut combines. Trans. Chin. Soc. Agric. Eng. 2013, 29, 15–25. [Google Scholar]
  22. Wang, D.; Shang, S.; Zhao, D.; Zhu, H. Type-4HBL-4 Two-ridges and Four-lines Semi-feeding Self-propelled Peanut Combine Harvester. Trans. Chin. Soc. Agric. Mach. 2013, 44, 86–92. [Google Scholar]
  23. Yang, R.; Fan, Y.; Shang, S.; Liu, L.; Cui, G. Design and Experiment of Twice-receiving Device on 4HBL-2 Peanut Combine. Trans. CSAM 2016, 47, 115–120, 107. [Google Scholar]
  24. Li, D.; Shang, S.; He, X.; Zhao, Z.; Chang, Z.; Wang, Y.; Wang, D. Experiments and Analysis of a Peanut Semi-Feeding Picking Mechanism Based on the JKR Model. Agriculture 2022, 12, 1418. [Google Scholar] [CrossRef]
  25. Ju, Y.; Sun, W.; Zhao, Z.; Wang, H.; Liu, X.; Zhang, H.; Li, H.; Simionescu, P. Development and Testing of a Self-Propelled Machine for Combined Potato Harvesting and Residual Plastic Film Retrieval. Machines 2023, 11, 432. [Google Scholar] [CrossRef]
  26. Hu, Z. Study on Key Technologies of Half-Feed Peanut Combine Harvester. Ph.D. Thesis, Nanjing Agricultural University, Nanjing, China, 2011. [Google Scholar]
  27. Yang, R.; Xu, Y.; Liang, J.; Shang, S.; Sun, T.; Li, G. Tests and Analyses of Mechanical Properties of Peanut Root, Stem and Nut Node in Mechanical Harvest. Trans. CSAE 2009, 9, 1127–1132. [Google Scholar]
  28. Yang, R.; Wang, Z.; Shang, S.; Chen, M.; Wang, J.; Wang, Z. Design and Experiment of Seedling Bundle Coating Device for Peanut Combine Harvester and Silage Machine. Trans. CSAM 2020, 51, 109–117. [Google Scholar]
  29. Wang, B. Pod-Picking Mechanism and Screening Characteristic Research for Bottom-Feeding Four Rows Peanut Combine Harvester. Ph.D. Thesis, Chinese Academy of Agricultural Sciences, Beijing, China, 2018. [Google Scholar]
  30. NY/T502-2016; Operating Quality for Peanut Harvesters. Ministry of Agriculture and Rural Affairs of the People’s Republic of China: Beijing, China, 2016.
Figure 1. Mechanization Rates of Peanut Harvesting in Northern and Southern Provinces in 2022.
Figure 1. Mechanization Rates of Peanut Harvesting in Northern and Southern Provinces in 2022.
Agriculture 15 00457 g001
Figure 2. Self-propelled peanut combine harvester. 1. Digging device; 2. Clamping and conveying device; 3. Control mechanism; 4. Fruit picking device; 5. Crawler chassis walking system; 6. Cleaning mechanism; 7. Transmission mechanism; 8. Fruit collection basket transfer platform; 9. Hydraulic system. (a) Front view. (b) Top view.
Figure 2. Self-propelled peanut combine harvester. 1. Digging device; 2. Clamping and conveying device; 3. Control mechanism; 4. Fruit picking device; 5. Crawler chassis walking system; 6. Cleaning mechanism; 7. Transmission mechanism; 8. Fruit collection basket transfer platform; 9. Hydraulic system. (a) Front view. (b) Top view.
Agriculture 15 00457 g002
Figure 3. Schematic diagram of peanut harvester working principle.
Figure 3. Schematic diagram of peanut harvester working principle.
Agriculture 15 00457 g003
Figure 4. Schematic diagram of peanut planting mode.
Figure 4. Schematic diagram of peanut planting mode.
Agriculture 15 00457 g004
Figure 5. Structure diagram of digging device. 1. Fixing pipe holder; 2. Securing screw; 3. Shovel handle 4. Flat shovel.
Figure 5. Structure diagram of digging device. 1. Fixing pipe holder; 2. Securing screw; 3. Shovel handle 4. Flat shovel.
Agriculture 15 00457 g005
Figure 6. Clamping and conveying device. (a) Structure diagram of clamping and conveying device. 1. Fruit picking device; 2. Soil clearing device; 3. Clamping and conveyor chain; (b) Toothed chain for the rice—wheat combine harvester.
Figure 6. Clamping and conveying device. (a) Structure diagram of clamping and conveying device. 1. Fruit picking device; 2. Soil clearing device; 3. Clamping and conveyor chain; (b) Toothed chain for the rice—wheat combine harvester.
Agriculture 15 00457 g006
Figure 7. Motion analysis of peanut plants. (a) Schematic diagram of the peanut digging and clamping process; (b) Kinematic synthesis of peanut plants.
Figure 7. Motion analysis of peanut plants. (a) Schematic diagram of the peanut digging and clamping process; (b) Kinematic synthesis of peanut plants.
Agriculture 15 00457 g007
Figure 8. Fruit picking device and principle of fruit picking. (a) Fruit picking device; (b) Principle of fruit picking.
Figure 8. Fruit picking device and principle of fruit picking. (a) Fruit picking device; (b) Principle of fruit picking.
Agriculture 15 00457 g008
Figure 9. Schematic diagram of fruit picking operation.
Figure 9. Schematic diagram of fruit picking operation.
Agriculture 15 00457 g009
Figure 10. Diagram of the Cleaning Device Structure. 1. Vibrating screen; 2. Connecting rod; 3. Fan; 4. Eccentric wheel mechanism; 5. Straw shaker.
Figure 10. Diagram of the Cleaning Device Structure. 1. Vibrating screen; 2. Connecting rod; 3. Fan; 4. Eccentric wheel mechanism; 5. Straw shaker.
Agriculture 15 00457 g010
Figure 11. The effect of interactive factors on the total loss rate. (a) The impact of forward speed and picking roller rotational speed on total loss rate. (b) The impact of vibration frequency and forward speed on total loss rate. (c) The impact of vibration frequency and picking roller rotational speed on total loss rate.
Figure 11. The effect of interactive factors on the total loss rate. (a) The impact of forward speed and picking roller rotational speed on total loss rate. (b) The impact of vibration frequency and forward speed on total loss rate. (c) The impact of vibration frequency and picking roller rotational speed on total loss rate.
Agriculture 15 00457 g011
Figure 12. The effect of interactive factors on the broken pods rate. (a) The effect of forward speed and picking roller rotational speed on broken pods rate. (b) The effect of vibration frequency and forward speed on broken pods rate. (c) The effect of vibration frequency and picking roller rotational speed on broken pods rate.
Figure 12. The effect of interactive factors on the broken pods rate. (a) The effect of forward speed and picking roller rotational speed on broken pods rate. (b) The effect of vibration frequency and forward speed on broken pods rate. (c) The effect of vibration frequency and picking roller rotational speed on broken pods rate.
Agriculture 15 00457 g012
Figure 13. Verification experiment.
Figure 13. Verification experiment.
Agriculture 15 00457 g013
Table 1. Operation parameters of self-propelled peanut combine harvester.
Table 1. Operation parameters of self-propelled peanut combine harvester.
ParametersDesign Values
TypeSemi-feed self-propelled crawler
Length × width × height/(mm × mm × mm)3820 × 1680 × 1580
Total weight/kg1150
Engine power/kw14.71
Number of harvesting rowsTwo rows on one ridge
Operation speed/(m/s)0.3–0.7
Efficiency/(hm2/h)0.07–0.13
Table 2. Test factors and levels.
Table 2. Test factors and levels.
LevelsForward Speed
X1 (m/s)
Picking Roller Rotational Speed
X2 (rpm)
Vibration Frequency
X3 (Hz)
−10.32305
00.53407
10.74509
Table 3. Experiment schemes and results.
Table 3. Experiment schemes and results.
No.X1 (m/s)X2 (rpm)X3 (Hz)Y1 (%)Y2 (%)
10.545055.343.51
20.723077.721.78
30.534073.460.53
40.534073.220.82
50.334053.172.74
60.523098.123.25
70.734056.691.08
80.745077.123.17
90.534073.530.44
100.523057.532.51
110.534073.781.02
120.734097.143.17
130.545097.54.12
140.345074.513.01
150.323076.962.33
160.534074.150.65
170.334096.952.84
Table 4. Variance analysis of regression equation.
Table 4. Variance analysis of regression equation.
SourceTotal Loss Rate Y1
Sum of SquaresDegree of FreedomF ValueSignificant Level p
Model53.86952.67<0.0001 **
X16.27155.150.0001 **
X24.29137.780.0005 **
X36.09153.60.0002 **
X1X20.855617.530.0287 *
X1X32.77124.40.0017 **
X2X30.616215.420.0527
X123.47130.50.0009 **
X2217.561154.56<0.0001 **
X328.88 78.16<0.0001 **
Residual0.79537
Lack of fit0.295430.78810.5601
Pure error0.49994
Total54.6616
SourceBroken Pods Rate Y2
Sum of SquaresDegree of FreedomF ValueSignificant Level p
Model22.44941.65<0.0001 **
X10.369816.180.0419 *
X21.94132.410.0007 **
X31.57126.160.0014 **
X1X20.12612.10.1901
X1X30.99116.530.0048 **
X2X30.004210.07060.7982
X121.03117.250.0043 **
X228.081134.94<0.0001 **
X326.791113.47<0.0001 **
Residual0.41917
Lack of fit0.203731.260.4001
Pure error0.21554
Total22.8616
Note: p < 0.01 (highly significant, **); 0.01 < p < 0.05 (significant, *).
Table 5. The result of the verification experiment.
Table 5. The result of the verification experiment.
ItemsTotal Loss Rate Y1(%)Broken Pods Rate Y2(%)
Optimal value3.160.89
Test average value3.210.85
Relative error2.34.5
Disclaimer/Publisher’s Note: The statements, opinions and data contained in all publications are solely those of the individual author(s) and contributor(s) and not of MDPI and/or the editor(s). MDPI and/or the editor(s) disclaim responsibility for any injury to people or property resulting from any ideas, methods, instructions or products referred to in the content.

Share and Cite

MDPI and ACS Style

Pan, L.; Yang, H.; Yu, Z.; Shen, H.; Gu, M.; Luo, W.; Wu, F.; Gu, F.; Ren, G.; Hu, Z. Development and Test of a Self-Propelled Peanut Combine Harvester for Hilly and Mountainous Regions. Agriculture 2025, 15, 457. https://doi.org/10.3390/agriculture15050457

AMA Style

Pan L, Yang H, Yu Z, Shen H, Gu M, Luo W, Wu F, Gu F, Ren G, Hu Z. Development and Test of a Self-Propelled Peanut Combine Harvester for Hilly and Mountainous Regions. Agriculture. 2025; 15(5):457. https://doi.org/10.3390/agriculture15050457

Chicago/Turabian Style

Pan, Liang, Hongguang Yang, Zhaoyang Yu, Haiyang Shen, Man Gu, Weiwen Luo, Feng Wu, Fengwei Gu, Guiying Ren, and Zhichao Hu. 2025. "Development and Test of a Self-Propelled Peanut Combine Harvester for Hilly and Mountainous Regions" Agriculture 15, no. 5: 457. https://doi.org/10.3390/agriculture15050457

APA Style

Pan, L., Yang, H., Yu, Z., Shen, H., Gu, M., Luo, W., Wu, F., Gu, F., Ren, G., & Hu, Z. (2025). Development and Test of a Self-Propelled Peanut Combine Harvester for Hilly and Mountainous Regions. Agriculture, 15(5), 457. https://doi.org/10.3390/agriculture15050457

Note that from the first issue of 2016, this journal uses article numbers instead of page numbers. See further details here.

Article Metrics

Back to TopTop