Next Article in Journal
Coupling Coordination and Spatial–Temporal Evolution of the Water–Land–Ecology System in the North China Plain
Previous Article in Journal
Identification of Hotspot Regions for Candidate Genes Associated with Peanut (Arachis hypogaea L.) Pod and Seed Size on Chromosome A05
 
 
Font Type:
Arial Georgia Verdana
Font Size:
Aa Aa Aa
Line Spacing:
Column Width:
Background:
Article

Peanut Pickup Combine Harvester Seedling Vines Crushing Mechanism Performance Enhancement and Pilot Studies

1
College of Mechanical and Electrical Engineering, Qingdao Agricultural University, Qingdao 266109, China
2
Yellow River Delta Intelligent Agricultural Machinery Equipment Industry Research Institute, Qingdao 257300, China
3
College of Mechanical and Electronic Engineering, Shangdong Agricultural University, Taian 271018, China
*
Authors to whom correspondence should be addressed.
Agriculture 2024, 14(9), 1635; https://doi.org/10.3390/agriculture14091635
Submission received: 23 August 2024 / Revised: 12 September 2024 / Accepted: 16 September 2024 / Published: 18 September 2024
(This article belongs to the Section Agricultural Technology)

Abstract

Aiming at the current peanut pickup combine harvester seedling vines crushing mechanism operation qualified seedling length rate is low, the impurity rate is high, and the seedling vines crushing mechanism is optimized design. On the basis of the material characteristics of peanut seedling vines, taking the crushing mechanism as the research carrier, the interaction mechanism of the seedling vine mechanism was analyzed. Establish the mechanical model and motion trajectory model in the crushing process, simulate the peanut seedling vines crushing process based on the discrete element method, analyze the influence of the cutter shaft rotational speed, movement speed, and bending angle on the crushing of peanut seedling vines, and establish the regression model, and the results of the research show that the influence factors in the main order of priority are: knife shaft speed > movement speed > bending angle The optimal parameter combination is knife shaft speed 2171.94 r/min, movement speed 0.79 m/s, and bending angle 45°. According to the field test conditions, it is determined that the knife shaft rotational speed of 2170 r/min, movement speed of 0.8 m/s, and bending angle of 45° can make the peanut seedling vines crushing mechanism of the work performance to achieve a qualified seedling length rate of 97.292%, the rate of impurity content of 2.746%, and the error with the predicted value is less than 2%, which indicates that this study can provide a reference for the optimal design of the seedling vines crushing mechanism of the peanut pickup combine harvester.

1. Introduction

Peanut is an important cash crop and oil crop in China [1,2]. In 2022, the peanut planting area in China amounted to 70.26 million mu, accounting for 14% of the global peanut planting area, ranking the second in the world, while the total output ranked the first in the world [3]. The weight of peanut seedling vines as a by-product of peanut is also increasing year by year [4,5]. Peanut seedling vines are a non-conventional feed resource. After research and development, it is rich in nutrients and calories [6] and possesses heat-removing and anti-inflammatory properties, which can be used as an alternative to conventional feeds, thus improving feed remuneration and economic efficiency [7].
Improving the performance of peanut seedling vines crushing mechanisms can greatly increase the income of peanut growers [8]. In order to improve the performance of straw crushing, many scholars have conducted research on this issue. Manes et al. developed a towed rice straw crusher with a flail knife to crush and cut the straw [9]. Singh et al. developed a rice straw crusher with four rows of crushing flail knives and two rows of fixed knives to improve the quality of crushing the straw [10]. Chad Allen Dow et al. designed a tie rod mechanism that can adjust the overlap length of fixed knives and moving knives to improve the quality of crushing and returning to the field in real time [11]. Martin Bueermann et al. designed a mechanism that can change the crushing length by changing the feed amount of the straw [12]. Zhang Minghao et al. analyzed and concluded that the degree of straw crushing is influenced by the rotor speed, mechanical properties of the hammer knives, and mechanical properties of the toothed plate [13]. Guo Xi et al. designed and optimized the main parameters, such as the shape of the cutting knife and the installation method [14]. Deng Weihong et al. applied the principle of logarithmic spiral equation to the straw crushing device to solve the problem of uneven force on the hammer knife [15]. In summary, relevant studies and experiments have been conducted on straw crushing, but less research has been conducted on the crushing mechanism of peanut seedling vines.
This paper proposes a peanut pickup combine harvester seedling vines crushing mechanism and analyzes the peanut seedling vines crushing mechanism. Peanut seedling vines will be deformed and fractured during the crushing process, so it is necessary to use software for visualization. EDEM 2022 software is a simulation and analysis software based on the discrete element method, which can be used to visualize the study of the material by simulating the behavioral characteristics of the particle system, and it is widely used in the professional field of agricultural engineering [16]. Ma Zitao et al. obtained an accurate simulation model of rice straw through EDEM software, which provided a theoretical reference for the design of a chopping device [17]. Song Xuefeng et al. studied the process of straw kneading and crushing with filamentous material discharge based on the discrete element method [18]. In summary, the comminution mechanism and crushing process of rice, corn, and other crop straws were studied and tested based on the discrete element method.
At present, the peanut pickup combine harvester seedling vines crushing mechanism of the relevant research is less, the existing peanut pickup combine harvester seedling vines crushing qualified seedling length rate is low, and the problem of high impurity rate is prominent [19,20,21]. In this paper, on the basis of peanut seedling vines material characteristics, the peanut pickup combine harvester seedling vines crushing mechanism as a research carrier, Y-type flail knife, crushing chamber, crushing knife shaft, flail knife arrangement, and other key component parameter design, simulation through the EDEM simulation test to determine the factors affecting the optimal combination of parameters in the field test verification, to solve the peanut pickup combine harvester seedling vines crushing mechanism of the qualified seedling length rate is low, The problem of high impurity rate is solved.

2. Materials and Methods

2.1. Structure and Working Principle of the Whole Machine

2.1.1. Whole Structure

Peanut seedling vines crushing mechanism is an important part of the peanut pickup combine harvester, which is mainly composed of flail knife, knife shaft, knife seat, crushing chamber, negative pressure fan, lifting channel, etc., as shown in Figure 1.

2.1.2. Principle of Operation

The crushing knife shaft rotates, driving the flail knife to crush the peanut seedling vines, and throws the crushed peanut seedling vines to the lifting channel. Under the negative pressure of the blower, the qualified sections are elevated and collected; the peanut seedling vines that are too long fall back to the crushing chamber for secondary crushing to improve the quality of crushing and increase the rate of qualified seedling length.

2.2. Design of Key Components and Determination of Parameters

2.2.1. Analysis of Knife Shape of Flail Knife

Knife type has a great influence on the quality of straw crushing. Straight knife type has high crushing efficiency but small working width; hammer claw type has large inertia, which generates large vibration and high energy consumption. Flail knife type operation impacts and cuts peanut seedling vines, crushing efficiency is high, and it meets the conditions of the peanut seedling vines crushing mechanism, so the flail knife type crushing knife is selected [22]. Among the flail knives, Y-type and L-type knives have better rigidity and wear resistance, which are suitable for crushing peanut seedling vines. Now the L-type and Y-type flail knives in the peanut seedling vines play the role of force analysis, the cutting part of the same position. As shown in Figure 2.
Taking the overlapping peanut seedling vines as the x-axis and the perpendicular direction as the y-axis, a right-angled coordinate system is established, and the force equations of the L-type flail knife and the Y-type flail knife on the peanut seedling vines can be expressed as follows:
F x 1 = F 1 sin a F y 1 = F 1 cos a
F x 2 = F 2 sin b + F 3 sin b F y 2 = F 2 cos c + F 3 cos c
where Fx1 is the squeezing force of the L-type flail knife in the x-axis direction; Fy1 is the shear force of the L-type flail knife in the y-axis direction; Fx2 is the squeezing force of the Y-type flail knife in the x-axis direction; and Fy2 is the shear force of the Y-type flail knife in the y-axis direction. The unit is N.
There is because the cutting site is the same part of the Peanut seedling vines:
a = b = c F 1 = F 2 = F 3
From Equations (1)–(3):
F y 2 > F y 1
After force analysis, the Y-type flail knife local shear force is greater than the L-type flail knife shear force, so it is easier to crush the straw, in line with the practical requirements of the seedling vines crushing mechanism. In order to reduce the impact of the impact on the crushing knife shaft and knife seat, the choice of two improved L-type flail knife back-to-back combinations of Y-type flail knife structure is not only to ensure that the Y-type flail knife crushing peanut seedling vines ability, but also to avoid the L-type flail knife being easy to elasticity and deformation of the defects.

2.2.2. Mechanical Analysis

In order to prevent the Y-type flail knife root stress from being too large and to reduce the Y-type flail knife on the crushing knife shaft impact vibration, Y-type flail knife through the pin and knife seat connection. In order to simplify the force analysis process, the force part of the flail knife when crushing the vine is classified as a point, that is, the top of the Y-shaped flail knife, and the size is F1. The flail part of the kinetic energy of the knife is used to overcome the cutting of peanut seedling vines brought about by the energy consumption, and thus flailing the knife will produce a deflection angle α, as shown in Figure 3.
In the figure, O1 is the center of the crushing knife shaft; O0 is the center of the pin bolt; O2 is the center of mass of the Y-type flail knife; Vm is the forward speed of the machine; ω is the angular speed of the Y-type flail knife; R0 is the radius of rotation of the center of the pin bolt; R1 is the rotary radius of the Y-type flail knife center of mass swing; R2 is the radius of the Y-type flail knife tip; F2 is the centrifugal force; mg is the gravitational force of the Y-type flail knife.
Excluding the friction between the Y-flail knife and the pin bolt, from Figure 3:
L 2 = L 3 cos α
L2 is the vertical distance from the center of the pin bolt to the point of resistance F1; L3 is the distance from the center of the pin bolt to the top of the Y-type flail knife blade.
F 2 = m ω 2 R 1
This follows from the triangle similarity principle:
R 1 R 0 = L 1 sin α L 0
where L1 is the distance between O0O2. The equilibrium equation for the moment of the Y-type flail knife relative to the center of the pin bolt is:
F 1 L 3 cos a = m g L 1 sin a + m ω 2 R 0 L 1 sin a
It can be obtained from Formulas (6)–(8):
tan α = F 1 L 3 m ( g + ω 2 R 0 ) L 1
As can be seen from the formula (9), increasing the mass of the Y-type flail knife, α will become smaller, which is conducive to the cutting and crushing of peanut seedling vines. With reference to the existing straw crusher and taking into account the relative slenderness of the peanut seedling vines, the thickness of the Y-type flail knife is selected to be 3 mm; when L1/L3 is increased, α will be smaller, which indicates that the center of mass of the Y-type flail knife is moved to the top, and the effect of the Y-type flail knife working declination can be reduced. At the same time, to increase the angular velocity of the crushing knife shaft ω, the same can make the Y-type flail knife working deflection angle reduction, but the energy consumption increases accordingly, and the dynamic balance requirements are also higher, so we must choose the appropriate crushing knife shaft rotation speed.

2.2.3. Trajectory Analysis

The forward speed of the whole machine is Vm, also known as the implicating speed; the circumferential linear speed of the end point of the Y-type flail knife is Vr, i.e., the relative speed. The synthesis of the two movements is the absolute speed of a Y-type flail knife. The absolute speed of Y-type flail knife knife end point Va of the equation of motion:
V a = V m + V r
With the movement time t being 0, when the center of the axle of the crushing knife shaft is a fixed coordinate system origin, the forward direction of the machine for the x-axis is positive, the vertical surface is downward for the y-axis is positive, and the crushing knife shaft is for the positive rotation of the movement, as shown in Figure 4.
Assuming that there is a point on the Y-type flail knife as point M(x, y), the coordinates of point M(x, y), denoted as, can be derived when determining the forward speed Vm, the rotational angular velocity ω, and the radius of gyration R, in time t:
x = V m t R cos ω t y = R sin ω t
The Formula (11) shows the trajectory equation of P point:
x = V m ω arcsin y R + R 2 y 2
Taking the forward direction of the whole machine as the positive direction of the X-axis, vertically downward as the positive direction of the y-axis, and the point where the peanut seedling vines are discharged from the fruit picking drum as the origin, the trajectory equation of the peanut seedling vines is established, which is expressed as follows:
x = V m t y = 1 2 gt 2
According to Formula (13), the trajectory equation of peanut seedling vines is as follows:
x = V m 2 y g
From the Formula (12) can be obtained, the machine forward speed and Y-type flail knife linear speed change between the ratio, and the movement trajectory will show a different shape; from the Formula (14) can be obtained, the peanut seedling vines of the movement trajectory for the parabola will be the two trajectories in the same coordinate system to show, as shown in Figure 5. When the forward speed of the machine is greater than or equal to the linear speed of a certain point, the motion trajectory curve has no overlapping part, and the contact point of the motion trajectory of the peanut seedling vines is less, resulting in incomplete crushing of peanut seedling vines, or even the whole peanut seedling vines wrapped around the crushing knife shaft, resulting in damage to the machine, as shown in Figure 5a. When the forward speed of the machine is less than the linear speed of a certain point, the motion trajectory curve has an overlapping area, and the motion of the peanut seedling vines with the contact point increases, the number of peanut seedling vines being crushed increases, and the quality of crushing is improved, as shown in Figure 5b; the smaller the ratio between the forward speed of the machine and the linear speed of the Y-type flail knife is, the greater the overlap of the motion trajectory area of the point is, as shown in Figure 5c; when the forward speed of the machine is close to 0, the motion trajectory of the point is close to the circle gradually, as shown in Figure 5d. In this case, the peanut seedling vines can be crushed many times by the Y-type flail knife, and the peanut seedling vines are crushed thoroughly with high crushing efficiency. Therefore, reducing the ratio between the forward speed of the machine and the linear speed of the Y-type flail knife helps to improve the crushing performance of the peanut seedling vines crushing mechanism.

2.2.4. Parameter Design of Pulverizing Chamber and Knife Block

The crushing chamber is the area where peanut seedling vines are cut and crushed, and its reasonable design has an important influence on the quality of seedling vines crushing, the power consumption of the crushing mechanism, the uniformity of seedling vines crushing, as well as the discharge of peanut seedling vines after crushing. In order to enable the peanut seedling vines to be discharged from the crushing chamber in a timely and effective manner after crushing, a circular enclosure is used as the lower cover of the crushing chamber, which is characterized by the ability to enable the airflow generated by the negative pressure fan to quickly pass through and bring the crushed peanut seedling vines to the collecting box. As shown in Figure 6.
The collision between the peanut seedling vines and the crushing chamber enclosure will promote the crushing of the vine. The reasonable distance between the Y-type flail knife and the crushing chamber is the condition to ensure full collision. In order to increase the stability and reliability of the overall structure and reduce the mechanical power consumption, the space design of the crushing chamber should be compact. According to the existing crushing chamber, the gap between the Y-type flail knife and the crushing chamber is designed to be 20–35 mm, and the diameter of the circular enclosure is designed to be 400 mm, which meets the requirements of peanut seedling vines crushing.

2.2.5. Parameter Design of Pulverizing Knife Shafts

The rationality of the crushing knife shaft is directly related to the stable state of the work. You can determine the minimum diameter of the crushing knife shaft according to Formula (15), that is:
d z A 3 P / n
where dz is the minimum diameter of the crushing knife shaft, the unit is mm; A for the material coefficient, the crushing knife shaft selected is 45 steel, then take A = 118; p for the crushing knife shaft to transfer the rated power, the unit is KW; n for the crushing knife shaft rotation speed, the general flail knife straw crusher requirements of the rotational speed of the 2020–2452 r/min [23], taking into account the peanut seedling vines is relatively thin, the rotational speed is set at 1600–2400 r/min, the required solution dz is the minimum diameter, so take n = 2400 r/min. According to Formula (16), get dz ≥ 23.8 mm; in order to ensure enough working strength, take dz = 50 mm.
In order to ensure that the operating width, crushing knife shaft speed, and feeding conditions are the same, the Y-type flail knife number is too small, axially adjacent to the two groups of Y-type flail knife gap between the two groups, prone to peanut seedling vines wrapped around the phenomenon of crushing the knife shaft, resulting in clogging, and cannot achieve the requirements of the crushing of peanut seedling vines; on the other hand, the Y-type flail knife number is too large, the mechanical consumption of power is too large, the cost of manufacturing to increase and impede the discharge of the crushed straw On the other hand, which causes blockage and affects the crushing quality. According to the “Agricultural Machinery Design Manual”, the arrangement density of a Y-type flail knife is generally 0.23–0.4 pieces/cm, and the operation width L of this machine is 900 mm. The calculation of the arrangement density of a Y-type flail knife can be expressed as follows:
C = N L
From the Formula (16) can be obtained the number of Y-type flail knives for the 21–36 pieces. In order to ensure that the work of crushing the knife shaft at both ends of the bearing load is uniform, the Y-type flail knife arrangement should be balanced. To determine the number of Y-type flail knife knives N for 28 pieces, the staggered arrangement has a radial angle of 90° or 180°.
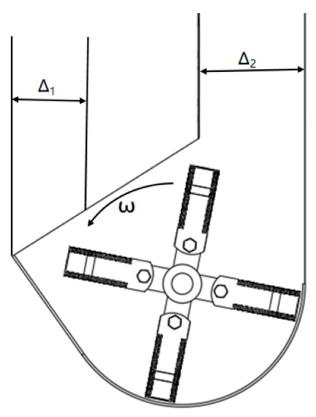
According to the working width of the designed crushing and collecting device, combined with the characteristics of peanut seedling vines to determine the Y-type flail knife installation layout with the size of the Y-type flail knife layout as shown in Figure 7. Among them, the distance between the two ends of the Y-type flail knife and the end surface of the crushing knife shaft A is 47 mm, the same row of Y-type flail knife distance A1 is 124 mm, and the first row of Y-type flail knife and the second row of Y-type flail knife horizontal distance A2 is 62 mm.

2.2.6. Parameter Design of Y-Type Flail Knife

Peanut seedling vines crushing mechanism in the work, Y-type flail knife to do high-speed rotary movement, the cutting edge on the knife to form a circular and rounded side of the platform, as shown in the shaded part of Figure 8. In order to improve the utilization rate of the Y-type flail knife in the peanut seedling vines crushing process, the Y-type flail knife cuts the edge to form an area as large as possible.
The area formed by the cutting edge of the upper straight section is:
S 1 = π h 1 2
The area formed by the cutting edge of the lower straight section is:
S 2 = π ( 2 h 1 + sin α h 2 ) h 2
The area formed by the cutting edge of the Y-type flail knife is:
s = s 1 + s 2
The above has given the diameter of the crushing chamber for 400 mm. The diameter of the crushing knife shaft dz = 50 mm; at this time, the overall length of the Y-type flail knife has been a fixed value of L. There are the following relations:
h 1 + h 2 sin α = L
Organizing the above equations gives:
S = π h 2 2 sin 2 α sin α + 2 L h 2 1 sin α + L 2
Derivation of Formula (21):
S = π 2 h 2 sin 2 α sin α + 2 L 1 sin α
In the Y-type flail knife, the following relationship exists for h2:
0 < h 2 < L < L sin a
It can be seen that when the value of h2 is closer to L, the larger the value of S is, that is, the larger the cutting area of the Y-type flail knife insert is, and the larger the utilization rate is.
In the existing Y-type flail knife, the value of α is generally between 30° and 60°, which can meet the working load of the Y-type flail knife in crushing peanut seedling vines. The above has been given to the first row of Y-type flail knife and the second row of Y-type flail knife. The horizontal distance L2 is 62 mm. In order to avoid the adjacent Y-type flail knives having a wide operating gap but also to avoid the generation of too much work overlap area, h2 should meet the following conditions:
h 2 cos 3 0 ° < 31 mm
And in order to improve the cutting area of the Y-type flail knife, that is, the value of h2 should be large, so take h2 = 35 mm.
In order to ensure that the gap between the Y-type flail knife and the crushing chamber enclosure is between 20 and 35 mm, and to obtain the maximum working area of the cutting edge, the length of the upper straight section h1 is 45 mm, the length of the lower straight section h2 is 35 mm, the length of the non-cutting edge part is 35 mm, the bending angle θ is between 30 and 60°, the thickness of the flail knife is d1 is 3 mm, and the width of the knife is d2 is 50 mm. In order to strengthen the firmness of the flail knife, the radius of the threaded pin hole R1 is 5 mm. The installation structure sketch is shown in Figure 9a, and the structure parameters of the flail knife are shown in Figure 9b.

3. Simulation Modeling and Analysis

3.1. Peanut Seedling Vines Modeling

Firstly, according to the results of pre-processing parameter measurements, the 3D design drawing of the peanut seedling vines was simplified by SolidWorks 2023 software, and the peanut seedling vines model was created. Secondly, the created peanut seedling vines model was saved in iges. format and imported into the preprocessing software HyperMesh 2021 for meshing, as shown in Figure 10. The structure of peanut seedling vines is complex, including the root system, stalks, and leaves, so in HyperMesh software, it is also divided into three parts: the root system, stalks, and leaves, which are meshed separately. The root system and stalks are meshed using quadrilateral type meshing, and the leaves are meshed using mixed cell types (quadrilateral and triangular), with a total number of nodes of 7862 and a total number of mesh cells of 2998.
Finally, the grid cell center coordinates of each part of the peanut seedling vines in HyperMesh software were exported into the form of a data table and imported into the Bulk Material module of EDEM software, and the root system was filled with the particle size spheres of 1 mm, 1.5 mm, and 2 mm in diameter, the stalks were filled with the particle size spheres of 1.5 mm, 2 mm, and 2.5 mm in diameter, and the leaves were filled with the particle size spheres of 1.2 mm in diameter, and all the filled particle size spheres were bonded together with the Bonding V2 key to obtain the particle model of the peanut seedling vines as shown in Figure 11. According to the literature [24], the material properties and collision characteristic parameters of the peanut vines particles in the simulation process were obtained, as shown in Table 1.

3.2. Modeling of Pulverizing Mechanism

SolidWorks software was used to establish the three-dimensional model of the crushing mechanism in the previous stage, and the structure that did not affect the simulation results was simplified, saved in stp format, and imported into EDEM software for peanut seedling vines trailing positioning, and the simplified structure is shown in Figure 12. According to the calculation method of characteristic parameters in the literature [25], the material properties and collision characteristic parameters of crushing during the simulation are obtained, as shown in Table 2.

3.3. Simulation Parameter Setting and Process

According to the basis of previous work, the relevant parameters of Table 1 and Table 2 are set in EDEM, the relevant parts of the crushing mechanism are set as a whole, the rotary motion around the axis is added to the crushing knife shaft, the rotational speed is set to 2000 r/min, the EDEM iteration time step is set to 0.05 in the simulation, and the total length of the simulation is set to 2 s, and the crushing process is shown in Figure 13.

3.4. Simulation Analysis of Peanut Seedling Vines Crushing

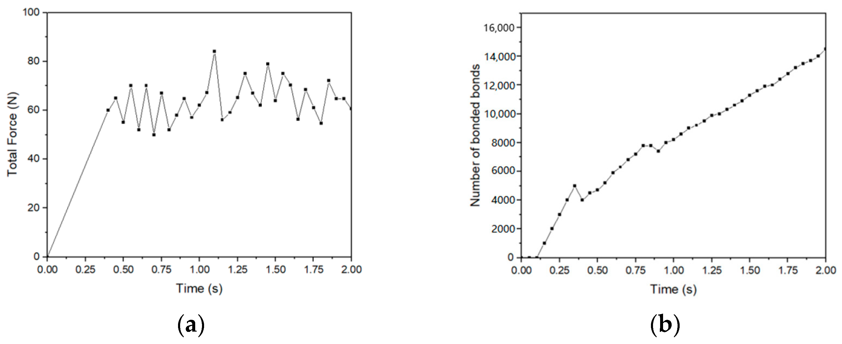
Peanut seedling vines in the crushing process, the force is an important index to determine the stability of the crushing mechanism; the change in the number of bonding keys can determine the crushing of peanut seedling vines, respectively, with the time corresponding to the relationship between the form of a line chart shown in Figure 14.
As can be seen from Figure 14, 0–0.1 s, the Peanut seedling vines particle model was not generated, and the number of bonding bonds remained 0; 0.1–0.3 s, the Peanut seedling vines particle model was generated without contacting the crushing mechanism, and at this time, the number of bonding bonds increased rapidly; 0.3–0.4 s, there was no generation of the Peanut seedling vines particle model, but at this time the peanut seedling vines are subjected to the external crushing effect of the Y-type flail knife, resulting in a decrease in the overall number of bonding bonds; 0.4–0.8 s, the peanut seedling vines particle model continues to be generated, but is subjected to the Y-type flail knife’s crushing effect, therefore, the growth of the overall number of bonding bonds is small; 0.8–0.9 s, there is no peanut seedling vines particle model generation, the overall The number of bonding keys decreases; 0.9–2 s, the number of bonding keys continues to increase steadily, and the overall force is stable, so the pulverizing mechanism maintains stable operation.

3.5. One-Way Test Analysis

The size of the rotational speed of the crushing knife shaft directly affects the size of the kinetic energy of the Y-type flail knife when crushing peanut seedling vines. When the knife shaft speed is too small, it will lead to insufficient crushing, resulting in peanut seedling vines wrapped around the crushing knife shaft; when the speed is too large, it will increase the energy consumption and accelerate mechanical wear. Feeding too small, contrary to actual operations and not in accordance with design requirements; feeding too large, peanut seedling vines are not discharged in a timely manner, the subsequent peanut seedling vines into the crushing chamber, thus resulting in the phenomenon of clogging. A folding angle that is too large or too small will change the cutting angle of the Y-type flail knife, thus affecting the crushing capacity. After analysis, it is considered that the knife shaft speed, feeding volume, and folding angle have a significant effect on the crushing capacity; the interaction between the factors is not taken into account for the time being, and a one-factor simulation test is conducted. It has been given in the previous paper that the knife shaft speed is set between 1600 and 2400 r/min; the existing Y-type flail knife folding angle is generally between 30 and 60°, and this test is set between 15 and 75°; reference to the relevant literature [26], and combined with the weight ratio of peanut seedling fruits of 1, the feeding volume is set to be 0.8–7.2 kg/s, and the levels of the single-factor variables are shown in Table 3. In order to obtain the trend of the influence of each influence factor on the crushing degree of peanut seedling vines respectively, a one-factor test of the control variables was carried out, and the feeding amount was set to 4 kg/s, the angle of folding angle was 45°, and three simulation simulation tests were carried out for different knife shaft speeds, and the average value was taken, and then the knife shaft speed was set to 2000 r/min, the angle of folding angle was 45°, and the one-factor simulation tests with different feeding amounts were carried out in turn. Setting the knife shaft speed as 2000 r/min and the feeding amount as 4 kg/s, the one-factor simulation test with different folding angles was carried out, and the results are shown in Figure 15.
From Figure 15a, it can be seen that the degree of peanut seedling vines crushing tends to increase with the increase in knife shaft rotational speed during 1600–2000 r/min, and the degree of crushing tends to decrease when the rotational speed reaches 2000–2400 r/min, so the optimal knife shaft rotational speed is between 1800 and 2200 r/min; from Figure 15b, it can be seen that the degree of peanut seedling vines crushing decreases with the increase in the feeding amount, combining with the realistic operating speed and economic operation, the feeding amount cannot be too low, and referring to the literature [27,28], the optimal feeding amount is selected to be between 2.4 and 5.6 kg/s in order to ensure that the crushing rate of the seedling vines crushing mechanism of the peanut pickup combine harvester is above 97%; from Figure 15c, the bending angle is between 15 and 45°, the angle increases, the crushing degree increases, the angle continues to increase, the crushing degree decreases, so the optimal bending angle is between 30 and 60°.
The analysis of simulation results shows that the design can realize the peanut seedling vines crushing operation and can be used in peanut pickup combine harvesters, and the solution is feasible.

4. Field Experiment

4.1. Test Equipment

The experiment was carried out in the test base of the Yellow Triangle Agricultural Hi-Tech Zone in Guangrao County, Dongying City, Shandong Province. The experimental peanut variety was ‘Yuhua 18’, which was planted in monoculture and double rows with a spacing of 800 mm between rows and 280 mm between plants and was harvested by an excavator before the experiment and spread in the field. The test machinery and the place of origin are shown in Figure 16. After drying for 3d, the water content of the seedlings and vines was 19.27%, the average length of the fruit-bearing seedling vines was 40 mm, the mean value of the vines and fruits ratio was 1, and the average was 4 kg/m2, and the width of the picking width of the peanut pickup combine harvester was 2000 mm, so the simulation test factors mentioned in the previous section of the feeding amount of 2.4–5.6 kg/s corresponded to the forward speed of 0.6–1.4 m/s.
Before the test, peanut seedling spreading in the field was checked, and the test method was carried out according to the national standard GB/T5262-2008 [29]. The test refers to the national standard GB/T 5667-2008 [30] ‘Agricultural Machinery Production Test Methods’, the agricultural industry standard NY/T502-2016 ‘Peanut Harvester Operation Quality’ and NY/T2204-2012 [31]. ‘Peanut Harvesting Machinery Quality Evaluation Technical Specification’ in the methods and specifications. The test content mainly includes qualified seedling length rate and impurity rate. The test area was divided into several test areas, each of which was 10 m in length, and the test was repeated several times. The tester drove a peanut pickup combine harvester to conduct the test in the field. The testing instruments included a tachometer, meter ruler, and electronic scale.

4.2. Test Parameters

In this test, the qualified seedling length rate Y1 and impurity rate Y2 were used as the evaluation indexes of crushing performance. The length of peanut seedling vines greater than 5 cm is regarded as unqualified for pulverization; membrane, soil block, and peanut root system with adhesive tape membrane are regarded as impurities.
The formula for calculating the evaluation indicator pass rate Y1 is shown below:
H = M 1 M × 100 %
In Equation (25), H is the crushed qualified seedling length rate, %; M1 is the total weight of peanut seedling vines with a length of less than 5 cm, kg; M is the total weight of peanut seedling vines in the seedling collection box, kg.
The peanut seedling vines in the collection box after 10 m of peanut pickup combine harvester operation were taken and weighed for impurities, and the formula for calculating the impurity content Y2 is shown below:
T = M 2 M × 100 %
In Equation (26), T is peanut seedling vines crushed qualified impurity rate, %; M2 is the total weight of impurities, kg; M is the total weight of peanut seedling vines in the collection box, kg.

4.3. Test Scheme

In the simulation test in the third chapter section, the influencing factors and the best interval were analyzed and found, the feeding amount in the simulation test corresponded to the traveling speed of the machine in the field test, the speed of the crushing knife shaft and the traveling speed were changed by varying the different output power of the peanut pickup combine harvester, the bending angle was changed by replacing the different Y-type flail knives, and the passing rate Y1 and the impurity rate Y2 were used as the evaluation indexes of the crushing performance of the crushing mechanism was subjected to a three-factor, three-level orthogonal test, and the test coding table is shown in Table 4. The experimental design and response values are shown in Table 5.

4.4. Analysis of Test Results

Using the Box-Behnken module in Design-Expert 13 software, the analysis found that the interaction between the test factors was not significant, and the regression model was established to establish the qualification rate Y1 and the impurity rate Y2 as the test indexes, and the cutter shaft rotational speed A, the traveling speed B, and the bending angle C as the test factors, respectively, as shown in Equation (27).
Y 1 = 98.04 + 0.607 A 0.3281 B 0.3156 C 0.2528 A 2 0.7466 C 2 Y 2 = 3.04 0.51 A + 0.3013 B + 0.2188 C + 0.2043 A 2 + 0.2467 B 2 + 0.8917 C 2
It can be seen from Table 6 of variance analysis that the p-value of the quadratic fitting models of the qualification rate Y1 and the impurity rate Y2 is less than 0.01, indicating that the regression models are highly significant; the Lack of fit value is greater than 0.05, indicating that the two regression equations have a high degree of fit. In the regression model of qualification rate Y1, the highly significant influencing factors include A, B, C, and C2, and the order of factors is A > B > C; in the regression model of impurity rate Y2, the highly significant influencing factors include A, B, C, and C2, and the order of factors is A > B > C.
Table 7 shows that the coefficients of variation are less than 5%, indicating that the data of the results of this test are within the normal range; adjusted R2 is all greater than 0.8, once again indicating that the regression equations are better fit, respectively, 97.43% and 97.13%; this regression model can be used to optimize the working parameters of peanut seedling vines crushing mechanism.

4.5. Optimization Model Construction

Since the three influencing factors of this test have different effects on the two evaluation indexes, in order to find the optimal working parameters of the peanut seedling trailing crushing mechanism, a multi-objective optimization analysis is carried out for each influencing factor. The regression model is optimized and solved using the numerical module. According to the design requirements and actual working conditions of the peanut seedling vines crushing mechanism, as well as the results of the simulation analysis, the optimization constraints are set, as shown in Equation (28).
1800 A 2200 0.6 B 1.4 C = 30 ° , 45 ° , 60 ° 90 % Y 1 100 % 0 % Y 2 5 % max Y 1 ( A , B , C ) min Y 2 ( A , B , C )
After the optimization solution, a variety of parameter optimization combinations are obtained, and the results given by Design-Expert 13 software are as follows: The rotational speed of the cutter shaft is 2171.94 r/min, the movement speed is 0.79 m/s, the bending angle is 45°, and the predicted crushing qualification rate at this time is 98.57%, and the impurity content rate is 2.623%. As shown in Figure 17. Considering the peanut pickup combine harvester’s current field operating conditions, processing technology, and work performance design requirements, determine the optimal combination of work parameters for the knife shaft speed of 2170 r/min, movement speed of 0.8 m/s, and bending angle of 45°.

4.6. Impact of Interaction Factors on Performance

Effect of interaction factors on performance According to the test results in Table 6, the effect of the interaction of cutter shaft speed A, forward speed B, and folding angle C on each performance index can be obtained, and the response surface plots are drawn using Design-Expert 13 software.

4.6.1. The Effect of Interaction Factors on the Qualified Seedling Length Rate

The response surface of the effect of interaction factors on the qualified seedling length rate Y1 is shown in Figure 18. From Figure 18a, it can be seen that increasing the rotational speed of the knife shaft A and decreasing the forward speed B helps to increase the qualified seedling length rate; from Figure 18b, it can be seen that increasing the rotational speed of the knife shaft A, the closer the fold angle C is to 45°, helps to increase the qualified seedling length rate; from Figure 18c, it can be seen that decreasing the forward speed B, the closer the fold angle C is to 45°, helps to increase the qualified seedling length rate.

4.6.2. Effect of Interaction Factors on Impurity Rate

The response surface of the effect of interaction factors on the impurity rate Y2 is shown in Figure 19. From Figure 19a, it can be seen that increasing the rotational speed of the cutter shaft A and decreasing the forward speed B helps to reduce the impurity rate; from Figure 19b, it can be seen that increasing the rotational speed of the cutter shaft A, the closer the angle of folding C is to 45°, helps to reduce the impurity rate; from Figure 19c, it can be seen that decreasing the forward speed B, the closer the angle of folding C is to 45°, helps to reduce the impurity rate.

4.7. Optimal Combination Test Validation

The above optimal working parameters were adopted to carry out field tests in the high agricultural area of Dongying City, Shandong Province, and the replicated tests were five times, so as to measure the qualified seedling length rate and the impurity rate and take the average value, and the results of the tests are shown in Table 8. By the operating site conditions, wind speed, and other uncertainties, the field test values and simulation test values are not consistent, but the relative error is less than 2%, as shown in Table 9, in line with the design requirements. Therefore, the peanut seedling vines crushing mechanism can be used in the operation of the knife shaft speed of 2170 r/min, movement speed of 0.8 m/s, and bending angle of 45° of the combination of operating parameters to achieve the qualified seedling length rate of 97.292% and impurity rate of 2.746% of the design requirements.

5. Conclusions

Aiming at the current peanut pickup combine harvester seedling vines crushing mechanism operation qualified seedling length rate is low, high rate of impurity, on the basis of peanut seedling vines material characteristics, through mechanical analysis, discrete element analysis and other methods, simulation and field test combination, the seedling vines crushing mechanism to optimize the design. It is summarized as follows:
(1)
In this paper, the structural parameters of key components such as the Y-type flail knife, cutter shaft, and crushing chamber are introduced in detail. The upper straight section of the Y-type flail knife is 45 mm, the lower straight section is 35 mm, the non-cutting-edge part is 35 mm, the thickness is 3 mm, and the width is 50 mm. The diameter of the crushing cutter shaft is 50 mm; the diameter of the crushing chamber circular enclosure plate is 400 mm; and the width is 900 mm. The Y-type flail knives are staggered, the radial angle is 90° or 180°, and the distance between the two Y-type flail knives is 62 mm.
(2)
Simulation and simulation analysis based on EDEM was carried out to determine the knife shaft speed, feeding volume, and folding angle as test factors, and a one-factor simulation test was conducted to obtain the optimal interval of influencing factors, i.e., the knife shaft speed was between 1800 and 2200 r/min, the feeding volume was between 2.4 and 5.6 kg/s, and the folding angle was between 30 and 60°, which provides a basis of 570–575 for the subsequent field trials.
(3)
The three-factor, three-level orthogonal test method is used to establish a quadratic regression model, and through the optimization process and the verification of the field test, the optimal working parameter combination is obtained as follows: The rotational speed of the knife shaft is 2170 r/min, the movement speed is 0.8 m/s, and the bending angle is 45°. The peanut seedling vines crushing mechanism achieves the crushing qualification rate of 97.292%, and the rate of impurity is 2.746%. The optimal working parameters obtained in this paper can improve the operational performance of the peanut pickup combine harvester seedling vines crushing mechanism and the quality of seedling vines crushing, improve the qualified seedling length rate, reduce the rate of impurity, reduce the cost of labor, increase the utilization rate of peanut seedling vines, and provide a reference for the design and optimization of the seedling vines crushing mechanism of the peanut pickup combine harvester.
(4)
This study applies to different peanut varieties, but only to peanut fields not covered with mulch, and only to operations using a two-stage peanut harvesting method. The peanut pickup combine harvester seedling vines crushing mechanism has a low cost, and the easily damaged parts are easy to be replaced, and the maintenance difficulty is relatively small. In the future, it is necessary to solve the problem of crushing peanut seedling vines and recycling treatment in the mulching planting mode, as well as crushing seedling vines in wet and dry peanut combine harvesters, improve the applicability of the seedling vines crushing device, and improve the durability of the crushing mechanism from the aspect of materials.

Author Contributions

Conceptualization, J.Z. and D.W.; methodology, J.Z.; software, J.Z.; validation, J.Z.; formal analysis, J.Z.; investigation, J.Z., Z.G., Y.T. and N.X.; resources, J.Z. and N.X.; data curation, J.Z.; writing—original draft preparation, J.Z.; writing—review and editing, J.Z.; visualization, J.Z. and Z.Z.; supervision, J.Z. and Z.G.; project administration, D.W. and N.X.; funding acquisition, D.W. and N.X. All authors have read and agreed to the published version of the manuscript.

Funding

This research was funded by the National Key R&D Program of China (2022YFD2300101) and Key R&D Program (Major Science and Technology Innovation Project) in Shandong Province (2021CXGC010813).

Institutional Review Board Statement

Not applicable.

Data Availability Statement

The original contributions presented in the study are included in the article material, further inquiries can be directed to the corresponding authors.

Conflicts of Interest

The authors declare no conflicts of interest.

References

  1. Chen, Y.Q.; Xiong, S.; Chen, M.L. Research status and prospect of peanut harvest mechanization. Mod. Agric. Equip. 2023, 44, 24–30. [Google Scholar]
  2. Fu, M. Discussion on the production status and industrial prospect of high oleic peanut in Liaoning. Agric. Sci. Technol. Equip. 2024, 75–76. [Google Scholar]
  3. National Bureau of Statistics. 2023 China Statistical Yearbook; China Statistics Press: Beijing, China, 2023. [Google Scholar]
  4. Liu, J.C.; Zhang, M.; Liu, J. Current status of peanut straw utilization in livestock and poultry production and its biofermentation technology. China Feed 2017, 36–38. [Google Scholar]
  5. Duan, Z.; Zhang, H.M.; Zhang, J.H. Progress of crop straw feed research. Food Feed. Ind. 2017, 12, 40–43. [Google Scholar]
  6. Jin, M.N. Feed utilization of peanut seedlings and its effect on economic benefits. Feed. Res. 2021, 44, 157–160. [Google Scholar]
  7. Hao, C.H.; Tong, G.Z.; Li, L. How to utilize peanut seedlings efficiently. Hebei Agric. 2023, 76–77. [Google Scholar]
  8. Peng, M.G. Research on the development problems of peanut industry in Zhengyang County. Master’s Thesis, Henan University of Technology, Zhenzhou, China, 2021. [Google Scholar]
  9. Li, W.X.; Zhang, F.B.; Luo, Z.T.; Zheng, E.L.; Pan, D.C.; Qian, J.; Yao, H.P.; Wang, X.C. Straw Movement and Flow Field in a Crushing Device Based on CFD-DEM Coupling with Flexible Hollow Straw Model. Biosyst. Eng. 2024, 242, 140–153. [Google Scholar] [CrossRef]
  10. Singh, A.; Dhaliwal, I.S.; Dixit, A. Performance Evaluation of Tractor Mounted Straw Chopper Cum Spreader for Paddy Straw Management. Indian J. Agric. Res. 2011, 45, 21–29. [Google Scholar]
  11. Dow, C.A.; Gerber, M.R. Straw Chopper for Combine with Adjustable Stationary Knife Bank. U.S. Patent 7554127B2, 9 June 2009. [Google Scholar]
  12. Bueermann, M.; Bernhardt, G.; Firus, S.; Heinrich, A. Combine with Chopper Arrangement. U.S. Patent 6688972B2, 10 February 2004. [Google Scholar]
  13. Zhang, M.H. Design and Test of Tomato Straw Crushing Device. Master’s Thesis, Anhui Agricultural University, Hefei, China, 2022. [Google Scholar]
  14. Guo, X.; Gao, W.; Zhang, X.L. Optimized design and test of serrated knife with equal slip angle. Chin. J. Agric. Mech. Chem. 2024, 45, 49–53. [Google Scholar]
  15. Deng, W.H. Design and Test of Rapeseed Straw Crushing Rotary Tillage and Mulching Machine. Master’s Thesis, Huazhong Agricultural University, Wuhan, China, 2023. [Google Scholar]
  16. Xin, Q.Q. Simulation and Test of Potato Seedling Crushing and Flail Device Based on Fluent-EDEM. Master’s Thesis, Shandong Agricultural University, Taian, China, 2020. [Google Scholar]
  17. Ma, Z.T.; Zhao, Z.H.; Quan, W. Calibration of discrete elemental simulation parameters for rice stubble straw based on EDEM. China Agric. Sci. Technol. Guide 2023, 25, 103–113. [Google Scholar]
  18. Song, X.F. Research on the Working Process of Corn Stover Kneading Machine Based on Discrete Element Method. Master’s Thesis, Gansu Agricultural University, Lanzhou, China, 2018. [Google Scholar]
  19. Xiao, L.L.; Hai, O.W.; Hui, J.Z. Current situation and research on mechanized peanut harvesting in China. Agric. Mech. Res. 2012, 34, 245–248. [Google Scholar]
  20. Ting, T.X.; Qing, X.G.; Chen, J. Development Status and Prospect of Peanut Industry in China. Shandong Agric. Sci. 2010, 117–119. [Google Scholar]
  21. Dong, W.W.; Shu, Q.S. 4HBL-4 type two-row four-row semi-feed self-propelled peanut combine harvester. J. Agric. Mach. 2013, 44, 86–92. [Google Scholar]
  22. LI, O.; Guo, C.F.; Yao, D.Y. Design and test of banana straw pulverizer with fixed fluttering knife and anti-tangling type. J. Agric. Eng. 2021, 37, 11–19. [Google Scholar]
  23. Wang, D.F.; Wang, M.; Li, L.Q. Mechanism analysis and parameter optimization of corn stover crushing by hammer knife crusher. J. Agric. Mach. 2017, 48, 165–171. [Google Scholar]
  24. Zhi, W.S.; Xue, G.C.; Hai, S.L. Simulation test of sieving performance of peanut seedling cleaning device based on EDEM. Agric. Mech. Res. 2023, 45, 81–85. [Google Scholar]
  25. Yue, Y. Research on the Design of Feeding and Conveying Device of Peanut Picking and Harvesting Machine. Master’s Thesis, Henan Agricultural University, Zhengzhou, China, 2023. [Google Scholar]
  26. Jin, M.Z.; Dong, W.W.; Shu, Q.S. Design and test of feeding conveyor of peanut picker combine harvester. Agric. Mech. Res. 2023, 45, 81–87. [Google Scholar]
  27. Jin, M.Z.; Shu, Q.S.; Dong, W.W. Design and test of feeding device of longitudinal flow peanut picking system. Agric. Mech. Res. 2023, 45, 183–189. [Google Scholar]
  28. Xu, L.; Shuqi, S.; Xiaoning, H. Optimized design and testing of a peanut-picking device with a large feeding volume. Inmateh-Agric. Eng. 2023, 70, 401–414. [Google Scholar]
  29. GB/T5262-2008; Agricultural Machinery Testing Conditions-General Rules for Measuring Methods. General Administration of Quality Supervision, Inspection and Quarantine of the People’s Republic of China, China National Standardization Administration: Beijing, China, 2008.
  30. GB/T 5667-2008; Productive Testing Methods for Agricultural Machinery. General Administration of Quality Supervision, Inspection and Quarantine of the People’s Republic of China, China National Standardization Administration: Beijing, China, 2008.
  31. NY/T2204—2012; Technical Specification for Quality Evaluation of Peanut Harvesting Machinery. National Agricultural Machinery Standardization Technical Committee: Beijing, China, 2013.
Figure 1. Schematic diagram of peanut seedling vines crushing mechanism: 1. peanut seedling vines lifting channel; 2. crushing chamber; 3. flail knife; 4. knife seat; 5. crushing knife shaft; 6. negative pressure fan.
Figure 1. Schematic diagram of peanut seedling vines crushing mechanism: 1. peanut seedling vines lifting channel; 2. crushing chamber; 3. flail knife; 4. knife seat; 5. crushing knife shaft; 6. negative pressure fan.
Agriculture 14 01635 g001
Figure 2. F1 is the combined force of the L-type flail knife on the seedling; a is the angle between the combined force and the vertical direction; F2 is the combined force of the left knife of the Y-type flail knife on the seedling; F3 is the combined force of the right knife of the Y-type flail knife on the seedling; b is the angle between F2 and the vertical direction; and c is the angle between F3 and the vertical direction.
Figure 2. F1 is the combined force of the L-type flail knife on the seedling; a is the angle between the combined force and the vertical direction; F2 is the combined force of the left knife of the Y-type flail knife on the seedling; F3 is the combined force of the right knife of the Y-type flail knife on the seedling; b is the angle between F2 and the vertical direction; and c is the angle between F3 and the vertical direction.
Agriculture 14 01635 g002
Figure 3. Schematic diagram of Y-type flail knife force analysis.
Figure 3. Schematic diagram of Y-type flail knife force analysis.
Agriculture 14 01635 g003
Figure 4. Y-shape flail knife motion analysis.
Figure 4. Y-shape flail knife motion analysis.
Agriculture 14 01635 g004
Figure 5. The motion trajectories of Y-type flail knife and peanut seedling vines corresponding to different velocity ratios. (a) when the forward speed of the tool is greater than or equal to the linear speed of a certain point, the schematic diagram of the movement trajectory; (b) when the forward speed of the tool is less than the linear speed of a certain point, the schematic diagram of the movement trajectory; (c) schematic diagram of the trajectory when the ratio of forward velocity to linear velocity is small; (d) schematic diagram of the trajectory when the forward speed is close to 0.
Figure 5. The motion trajectories of Y-type flail knife and peanut seedling vines corresponding to different velocity ratios. (a) when the forward speed of the tool is greater than or equal to the linear speed of a certain point, the schematic diagram of the movement trajectory; (b) when the forward speed of the tool is less than the linear speed of a certain point, the schematic diagram of the movement trajectory; (c) schematic diagram of the trajectory when the ratio of forward velocity to linear velocity is small; (d) schematic diagram of the trajectory when the forward speed is close to 0.
Agriculture 14 01635 g005
Figure 6. Schematic diagram of the structure of the crushing chamber.
Figure 6. Schematic diagram of the structure of the crushing chamber.
Agriculture 14 01635 g006
Figure 7. (a) Schematic diagram of Y-type flail knife arrangement; (b) Schematic diagram of overall installation of Y-type flail knife. Red marking: the position of the Y-type flail knife on the crushing knife shaft; 1 First row of Y-type flail knife; 2 s row Y-type flail knife; 3 third row Y-type flail knife; 4 Fourth row Y-type flail knife.
Figure 7. (a) Schematic diagram of Y-type flail knife arrangement; (b) Schematic diagram of overall installation of Y-type flail knife. Red marking: the position of the Y-type flail knife on the crushing knife shaft; 1 First row of Y-type flail knife; 2 s row Y-type flail knife; 3 third row Y-type flail knife; 4 Fourth row Y-type flail knife.
Agriculture 14 01635 g007
Figure 8. h1 is the upper straight segment cutting edge; h2 is the lower straight segment cutting edge; α is the angle between the lower straight segment cutting edge and the vertical line of the upper straight segment cutting edge.
Figure 8. h1 is the upper straight segment cutting edge; h2 is the lower straight segment cutting edge; α is the angle between the lower straight segment cutting edge and the vertical line of the upper straight segment cutting edge.
Agriculture 14 01635 g008
Figure 9. (a) Sketch of flail knife mounting structure; (b) Schematic of structural parameters. 1. Crushing knife shaft; 2 bolts; 3 gaskets; 4 sawtooth; 5 tool holders; 6 nuts; 7 Y-type flail knife.
Figure 9. (a) Sketch of flail knife mounting structure; (b) Schematic of structural parameters. 1. Crushing knife shaft; 2 bolts; 3 gaskets; 4 sawtooth; 5 tool holders; 6 nuts; 7 Y-type flail knife.
Agriculture 14 01635 g009
Figure 10. HyperMesh model of peanut seedling vines.
Figure 10. HyperMesh model of peanut seedling vines.
Agriculture 14 01635 g010
Figure 11. Peanut seedling vines particle model.
Figure 11. Peanut seedling vines particle model.
Agriculture 14 01635 g011
Figure 12. Simplified diagram of crushing mechanism.
Figure 12. Simplified diagram of crushing mechanism.
Agriculture 14 01635 g012
Figure 13. EDEM peanut seedling vines grinding process.
Figure 13. EDEM peanut seedling vines grinding process.
Agriculture 14 01635 g013
Figure 14. (a) Plot of force on peanut seedling vines versus time; (b) Plot of number of bonding bonds versus time.
Figure 14. (a) Plot of force on peanut seedling vines versus time; (b) Plot of number of bonding bonds versus time.
Agriculture 14 01635 g014
Figure 15. (a) Relationship between the degree of crushing peanut seedling vines and the speed of crushing knife shaft; (b) Relationship between the degree of crushing peanut seedling vines and the amount of feeding; (c) Relationship between the degree of crushing peanut seedling vines and the bending angle of Y-type flail knives.
Figure 15. (a) Relationship between the degree of crushing peanut seedling vines and the speed of crushing knife shaft; (b) Relationship between the degree of crushing peanut seedling vines and the amount of feeding; (c) Relationship between the degree of crushing peanut seedling vines and the bending angle of Y-type flail knives.
Agriculture 14 01635 g015
Figure 16. (a) 4HZJ-2500 Peanut pickup combine harvester; (b) unorganized spread of peanuts.
Figure 16. (a) 4HZJ-2500 Peanut pickup combine harvester; (b) unorganized spread of peanuts.
Agriculture 14 01635 g016
Figure 17. (a) Design-Expert 13 software impact factor levels; (b) Design-Expert 13 software evaluation metrics expectations. Red dots: the optimal value of the test factor; Blue dots: The best value for the experiment metric.
Figure 17. (a) Design-Expert 13 software impact factor levels; (b) Design-Expert 13 software evaluation metrics expectations. Red dots: the optimal value of the test factor; Blue dots: The best value for the experiment metric.
Agriculture 14 01635 g017
Figure 18. Response surface of the interaction factors affecting the qualified seedling length rate. (a) response surface of the effect of knife shaft speed and forward speed on the qualified seedling length rate; (b) response surface of the effect of knife shaft speed and on the qualified seedling length rate; (c) response surface of the effect of forward speed and folding angle on the qualified seedling length rate.
Figure 18. Response surface of the interaction factors affecting the qualified seedling length rate. (a) response surface of the effect of knife shaft speed and forward speed on the qualified seedling length rate; (b) response surface of the effect of knife shaft speed and on the qualified seedling length rate; (c) response surface of the effect of forward speed and folding angle on the qualified seedling length rate.
Agriculture 14 01635 g018
Figure 19. Response surfaces for interaction factors affecting impurity content. (a) response surface for the effect of cutter shaft speed and forward speed on inclusion rate; (b) response surface for the effect of cutter shaft speed and on inclusion rate; (c) response surface for the effect of forward speed and folding angle on inclusion rate.
Figure 19. Response surfaces for interaction factors affecting impurity content. (a) response surface for the effect of cutter shaft speed and forward speed on inclusion rate; (b) response surface for the effect of cutter shaft speed and on inclusion rate; (c) response surface for the effect of forward speed and folding angle on inclusion rate.
Agriculture 14 01635 g019
Table 1. Physical properties and collision characteristics of materials.
Table 1. Physical properties and collision characteristics of materials.
MakingsParametersNumerical Value
Peanut seedling vinesPoisson’s ratio0.35
Shear modulus/(pa)1 × 106
Density/(kg/m3)230
Roots—stalkscoefficient of restitution0.4
Roots—Leavescoefficient of static friction0.4
Stalks—Leaf knifescoefficient of rolling friction0.01
Table 2. Physical characteristics and collision characteristics of the crushing mechanism.
Table 2. Physical characteristics and collision characteristics of the crushing mechanism.
MakingsParametersNumerical Value
crushing mechanismPoisson’s ratio0.3
Shear modulus/(pa)7.992 × 1010
Density/(kg/m3)7800
crushing mechanism—peanut seedling vinescoefficient of restitution0.3
coefficient of static friction0.62
coefficient of rolling friction0.01
Table 3. Single factor variables and levels.
Table 3. Single factor variables and levels.
Knife Shaft Speed (r/min)Feeding Volume (kg/s)Bending Angle (°)
16000.815
18002.430
2000445
22005.660
24007.275
Table 4. Table of coding of test factors.
Table 4. Table of coding of test factors.
Coding LevelCutter shaft Speed A (r/min)Movement Speed B (m/s)Bending Angle C (°)
−118000.630
02000145
122001.460
Table 5. Experimental design scheme and response values.
Table 5. Experimental design scheme and response values.
Serial NumberKnife Shaft Speed ATravel
Speed B
Bending
Angle C
Percent of Pass Y1Impurity Rate Y2
1−11096.844.23
201−196.894.17
310197.173.72
410−198.172.95
500097.843.21
6−10196.184.48
71−1098.522.74
8−1−1097.183.79
90−1−197.843.24
100−1197.173.78
1100097.843.23
1200098.172.93
1300098.172.94
1401196.504.34
1500098.182.91
1611097.843.22
17−10−196.654.21
Table 6. Regression equation analysis of variance table.
Table 6. Regression equation analysis of variance table.
SourcePercent of Pass Y1Impurity Rate Y2
Sum of SquaresdfMean SquareF-Valuep-ValueSum of SquaresdfMean SquareF-Valuep-Value
Model7.7090.855129.50<0.00015.3590.594926.300.0001
A2.9512.95101.68<0.00012.0812.0891.99<0.0001
B0.861310.861329.710.00100.726010.726032.100.0008
C0.797010.797027.490.00120.382810.382816.920.0045
AB0.028110.02810.96780.35800.000410.00040.01770.8980
AC0.070010.07002.410.16430.062510.06252.760.1404
BC0.019310.01930.66650.44120.034210.03421.510.2584
A20.269110.26919.280.01870.175710.17577.770.0270
B20.160210.16025.530.05100.256410.256411.330.0120
C22.3512.3580.95<0.00011.4711.4765.18<0.0001
Residual0.202970.0290 0.158370.0226
Lack of Fit0.072830.02430.74550.57860.054430.01810.69830.6001
Pure Error0.130240.0325 0.103940.0260
Cor Total7.9016 5.5116
Table 7. Regression model reliability analysis table.
Table 7. Regression model reliability analysis table.
ModelC.V. %R2Adjusted R2
Y10.17470.97430.9413
Y24.260.97130.9343
Table 8. Test results.
Table 8. Test results.
Exp. No.Rate (%)Impurities (%)
198.252.83
297.233.04
397.313.21
497.192.02
596.482.63
Mean97.2922.746
Table 9. Test analysis.
Table 9. Test analysis.
ItemRate (%)Impurities (%)
Test mean97.2922.746
Calculate estimate98.572.623
Relative error1.2780.123
Disclaimer/Publisher’s Note: The statements, opinions and data contained in all publications are solely those of the individual author(s) and contributor(s) and not of MDPI and/or the editor(s). MDPI and/or the editor(s) disclaim responsibility for any injury to people or property resulting from any ideas, methods, instructions or products referred to in the content.

Share and Cite

MDPI and ACS Style

Zhang, J.; Zhao, Z.; Gao, Z.; Tian, Y.; Wang, D.; Xu, N. Peanut Pickup Combine Harvester Seedling Vines Crushing Mechanism Performance Enhancement and Pilot Studies. Agriculture 2024, 14, 1635. https://doi.org/10.3390/agriculture14091635

AMA Style

Zhang J, Zhao Z, Gao Z, Tian Y, Wang D, Xu N. Peanut Pickup Combine Harvester Seedling Vines Crushing Mechanism Performance Enhancement and Pilot Studies. Agriculture. 2024; 14(9):1635. https://doi.org/10.3390/agriculture14091635

Chicago/Turabian Style

Zhang, Jinbiao, Zhuang Zhao, Zenghui Gao, Yu Tian, Dongwei Wang, and Nan Xu. 2024. "Peanut Pickup Combine Harvester Seedling Vines Crushing Mechanism Performance Enhancement and Pilot Studies" Agriculture 14, no. 9: 1635. https://doi.org/10.3390/agriculture14091635

APA Style

Zhang, J., Zhao, Z., Gao, Z., Tian, Y., Wang, D., & Xu, N. (2024). Peanut Pickup Combine Harvester Seedling Vines Crushing Mechanism Performance Enhancement and Pilot Studies. Agriculture, 14(9), 1635. https://doi.org/10.3390/agriculture14091635

Note that from the first issue of 2016, this journal uses article numbers instead of page numbers. See further details here.

Article Metrics

Back to TopTop