Current Status and Analysis of Key Technologies in Automatic Transplanters for Vegetables in China
Abstract
1. Introduction
2. Planting Technology
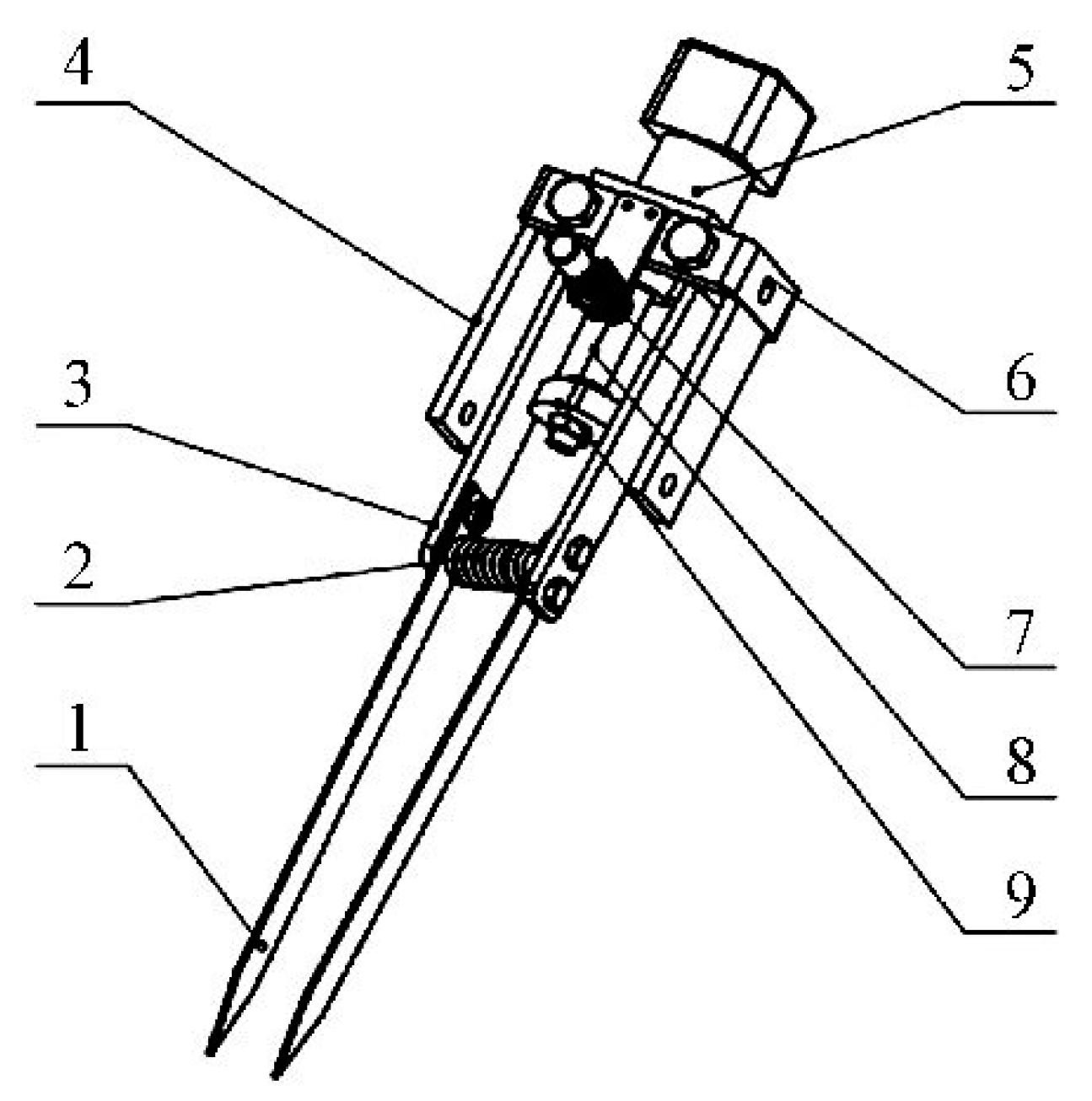
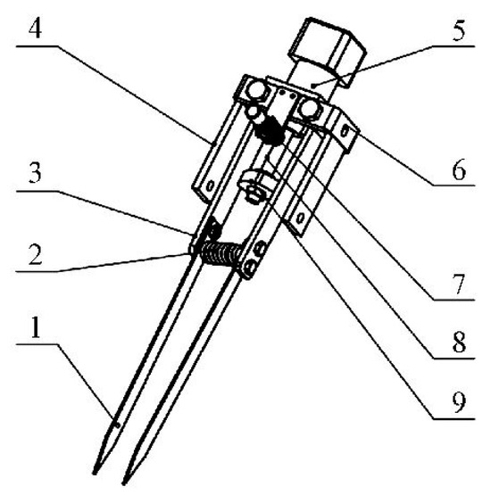
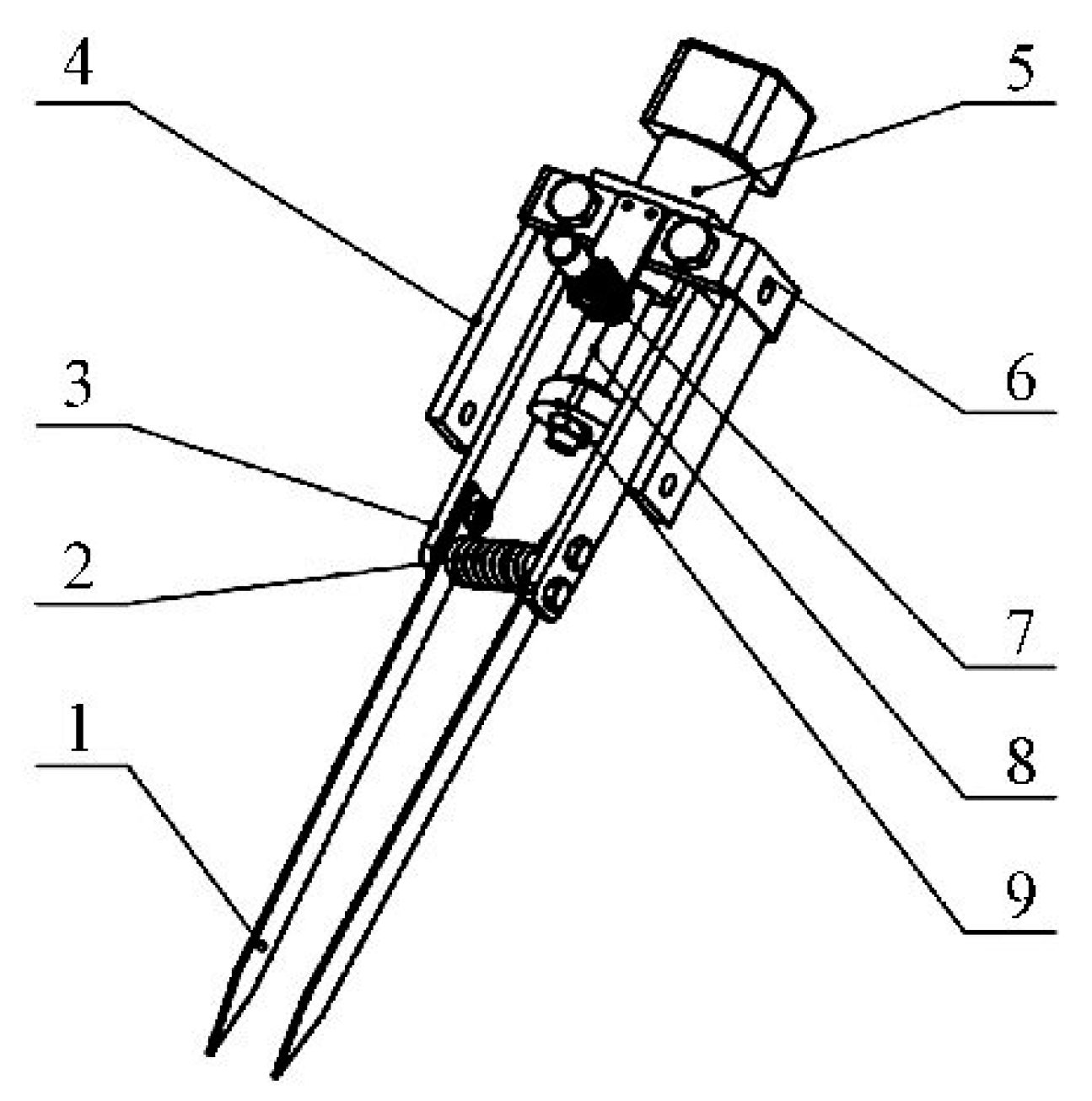
2.1. Hole-Punch Planting
2.1.1. Duckbill-Type Planting Mechanism
Multi-Link Type
Planetary Gear Type
2.1.2. Hanging-Cup Planting Mechanism
Eccentric Disc Type
Planetary Gear Type
2.1.3. Finger-Clamp-Type Planting Mechanism
2.2. Furrow Planting
2.2.1. Seedling Guide Tube Planting Mechanism
2.2.2. Flexible Disc Planting Mechanism
2.2.3. Clamp-Type Planting Mechanism
Disk Clamp Type
Chain Clamp Type
2.2.4. Conveyor Belt-Type Planting Mechanism
2.2.5. Plug-Separation-Type Planting Mechanism
2.3. Discussion of Planting Technology
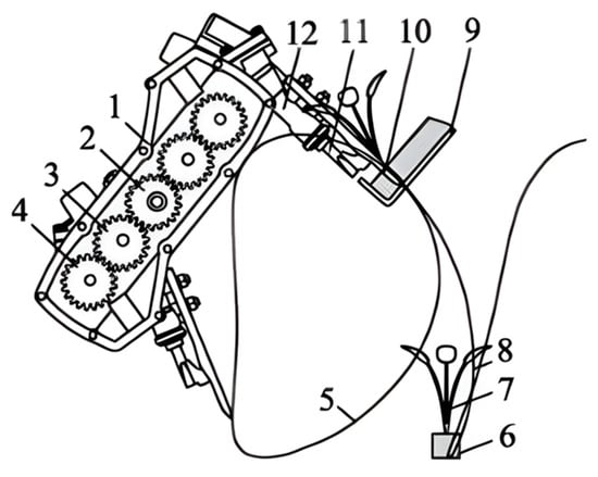
3. Automated Seedling Picking and Placing Technology
3.1. Pot-Insertion Type
3.1.1. Insertion Type
3.1.2. Insertion-Clamping Type
3.2. Stem-Clamping Type
3.3. Pot-Ejecting Type
3.3.1. Eject-Only Type
3.3.2. Eject-Blow Type
3.3.3. Eject-And-Clamp Type
Eject-Stem-Clamp Type
Eject-Pot-Clamp Type
Eject-Insert-Pot Type
3.4. Direct-Fall Type
3.5. Discussion on Automated Seedling Picking and Placing Technology
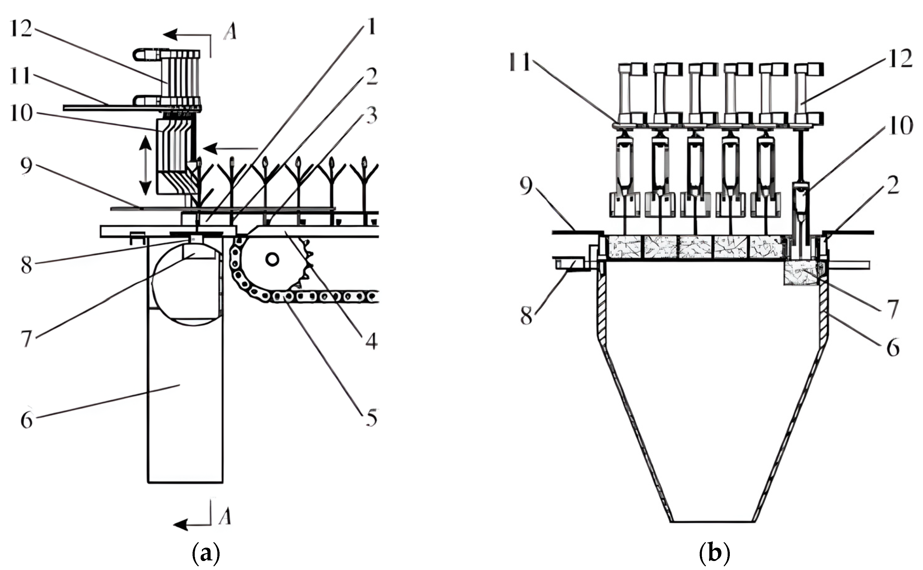
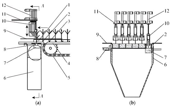
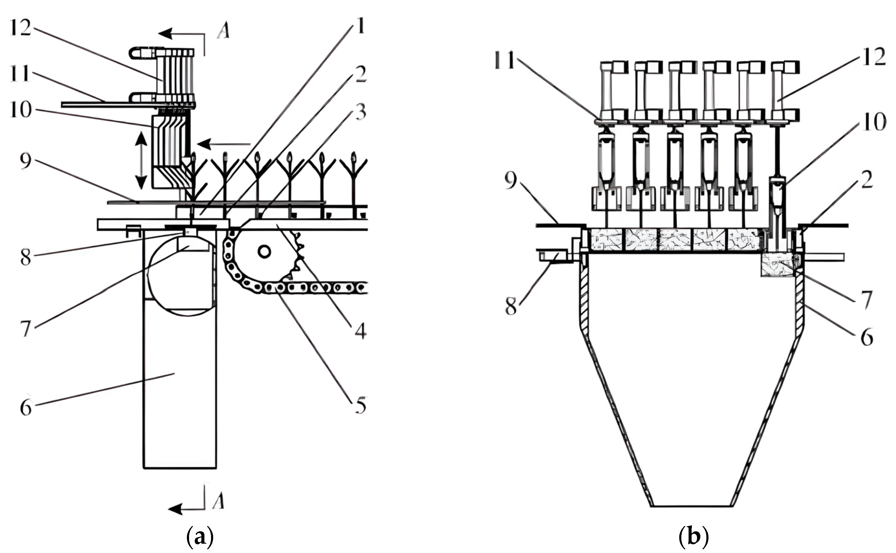
4. Seedling Tray Conveyance Technology
4.1. Mechanical Drive
4.2. Electromechanical Control
4.3. Discussion on Seedling Tray Conveyance Technology
5. Issues and Recommended Measures
5.1. Issues
5.2. Recommended Measures
6. Future Development Outlook
6.1. Enhancing Transplanting Efficiency
6.2. Achieving Autonomous Navigation in Transplanting Operations
6.3. Digitalizing Transplanting Operations
6.4. Developing Supporting Systems for Transplanting Operations
6.5. Unmanned Transplanting Operations
Author Contributions
Funding
Data Availability Statement
Conflicts of Interest
References
- Sharma, A.; Khar, S. Design and development of a vegetable plug seedling transplanting mechanism for a semi-automatic transplanter. Sci. Hortic. 2024, 326, 112773. [Google Scholar] [CrossRef]
- Wang, Y.; He, Z.; Wang, J.; Wu, C.; Yu, G.; Tang, Y. Experiment on transplanting performance of automatic vegetable pot seedling transplanter for dry land. Trans. Chin. Soc. Agric. Eng. 2018, 34, 19–25. [Google Scholar]
- Yu, X.; Zhao, Y.; Chen, B.; Zhou, M.; Zhang, H.; Zhang, Z. Current Situation and Prospect of Transplanter. Trans. Chin. Soc. Agric. Mach. 2014, 45, 44–53. [Google Scholar]
- Zhao, S.; Lei, X.; Liu, J.; Jin, Y.; Bai, Z.; Yi, Z.; Liu, J. Transient multi-indicator detection for seedling sorting in high-speed transplanting based on a lightweight model. Comput. Electron. Agric. 2023, 211, 107996. [Google Scholar] [CrossRef]
- Dang, Y.; Jin, X.; Li, H.; Wang, J.; Lu, Y.; Ding, B.; Li, X. Design of single-degree-of-freedom four-bar seedling-taking and throwing manipulator. Trans. Chin. Soc. Agric. Eng. 2019, 35, 39–47. [Google Scholar]
- Wang, Y.; Tang, Y.; Wang, J.; Cheng, S. Parameter Optimization for Dibble-type Planting Apparatus of Vegetable Pot Seedling Transplanter in High-speed Condition. Trans. Chin. Soc. Agric. Mach. 2016, 47, 91–100. [Google Scholar]
- Liu, M.; Hu, X.; Liao, Y.; Liao, Q.; Wan, X.; Ji, M. Morphological parameters characteristics of mechanically transplanted plant in suitable transplanting period for different rape varieties. Trans. Chin. Soc. Agric. Eng. 2015, 31, 79–88. [Google Scholar]
- Mao, C.; Luo, H.; Zhu, Y.; Zhang, B.; Xiao, X. Research status and development trend of seedling transplanting machinery. J. Chin. Agric. Mech. 2020, 41, 215–222. [Google Scholar]
- Li, H.; Cao, W.; Li, S.; Liu, J.; Chen, B.; Ma, X. Development of 2ZXM-2 automatic plastic film mulching plug seedling transplanter for vegetable. Trans. Chin. Soc. Agric. Eng. 2017, 33, 23–33. [Google Scholar]
- Yin, D.; Wang, J.; Zhou, M.; Yang, Y.; Wang, J. Optimal Design and Experiment of Vegetable Potted Seedlings Pick-up Mechanism for Exploring and Picking-Pushing Plugs. Trans. Chin. Soc. Agric. Mach. 2019, 50, 64–71. [Google Scholar]
- Shi, J.; Hu, J.; Li, J.; Liu, W.; Yue, R.; Zhang, T.; Yao, M. Design and Experiment of Planting Mechanism of Automatic Transplanter for Densely Planted Vegetables. Agriculture 2024, 14, 1357. [Google Scholar] [CrossRef]
- Daum, T. Mechanization and sustainable agri-food system transformation in the Global South. A review. Agron. Sustain. Dev. 2023, 43, 16. [Google Scholar] [CrossRef]
- Zhao, M. Design and Experimental Research of Mechanism for Picking Up and Delivering Seedling in Tomato Plug Seedling Transplanter. Master’s Thesis, Shihezi University, Shihezi, China, 2023. [Google Scholar]
- Zhang, E. Design and Test of Automatic Picking and Throwing Device of Pepper Transplanter. Master’s Thesis, Shandong Agricultural University, Taian, China, 2023. [Google Scholar]
- Jia, C. Study on the Interaction Mechanism Between Hanging Cup Planter and Soil of High-Speed Transplanter for Plug Seedling Based on DEM. Master’s Thesis, Jiangsu University, Zhenjiang, China, 2021. [Google Scholar]
- Nage, S.; Mathur, S.M.; Meena, S.S. Vegetable Transplanters for India: A Review. Agric. Sci. Dig. 2023, 43, 129–134. [Google Scholar] [CrossRef]
- Miah, M.S.; Rahman, M.M.; Hoque, M.A.; Ibrahim, S.M.; Sultan, M.; Shamshiri, R.R.U.; Mustafa, H.; Mahedi, B.; Tasneem, N. Design and evaluation of a power tiller vegetable seedling transplanter with dibbler and furrow type. Heliyon 2023, 9, e17827. [Google Scholar] [CrossRef]
- Habineza, E.; Ali, M.; Reza, M.N.; Woo, J.-K.; Chung, S.-O.; Hou, Y. Vegetable transplanters and kinematic analysis of major mechanisms: A review. Korean J. Agric. Sci. 2023, 50, 113–129. [Google Scholar] [CrossRef]
- Wang, N.; Ren, L.; Li, J.; Hu, H.; Wang, B.; Shang, J. Research status and prospect of automatic picking technology of transplante. J. Chin. Agric. Mech. 2021, 42, 59–66. [Google Scholar] [CrossRef]
- Wen, Y.; Zhang, J.; Tian, J.; Duan, D.; Zhang, Y.; Tan, Y.; Yuan, T.; Li, X. Design of a traction double-row fully automatic transplanter for vegetable plug seedlings. Comput. Electron. Agric. 2021, 182, 106017. [Google Scholar] [CrossRef]
- Sharma, A.; Khar, S. Conceptualization and development of a semi-automatic vegetable transplanter prototype for small landholdings. Heliyon 2024, 10, e31540. [Google Scholar] [CrossRef]
- Qi, Q.; Xia, H.; Shen, T.; Cheng, J. Application status and technical challenges of automatic vegetable transplanting machine. J. Chang. Veg. 2024, 7–11. [Google Scholar] [CrossRef]
- Ma, Z.; Hu, B.; Li, J. Design and Analysis of Key Components of the Automatic Feeding Device for Seedling Transplanting Machine. J. Agric. Mech. Res. 2017, 39, 68–71. [Google Scholar]
- Yu, G.; Wang, L.; Sun, L.; Zhao, X.; Ye, B. Advancement of Mechanized Transplanting Technology and Equipments for Field Crops. Trans. Chin. Soc. Agric. Mach. 2022, 53, 1–20. [Google Scholar]
- Ni, Y.; Jin, C.; Liu, J. Design and experiment of system for picking up and delivering seedlings in automatic transplanter. Trans. Chin. Soc. Agric. Eng. 2015, 31, 10–19. [Google Scholar]
- Gao, G.; Liu, Y.; Gong, Y.; Wang, W.; Jiang, B. Research on automatic seedling of 2YG-2 type facility vegetable transplanter. J. China Agric. Univ. 2020, 41, 50–56. [Google Scholar]
- Sun, L.; Shen, J.; Zhou, Y.; Ye, Z.; Yu, G.; Wu, C. Design of non-circular gear linkage combination driving type vegetable pot seedling transplanting mechanism. Trans. Chin. Soc. Agric. Eng. 2019, 35, 26–33. [Google Scholar]
- Wen, Y.; Zhang, J.; Yuan, T.; Tan, Y. Current situation and analysis of automatic pick-up technology for vegetable plug seedlings. J. China Agric. Univ. 2021, 26, 128–142. [Google Scholar]
- Wang, J. Design and Experiment of Automatic Seedling Feeding Mechanism of Vegetable PotTransplanting Machine. Master’s Thesis, Zhejiang Sci-Tech University, Hangzhou, China, 2023. [Google Scholar]
- Yu, Y. The Technology and Experimental Study of Fully Automatic High Speed Transplantation of Cave Plate. Master’s Thesis, Yangzhou University, Yangzhou, China, 2023. [Google Scholar]
- Liu, N.; Yang, C.; Liu, B.; Jiang, H.; Wu, S.; Huang, H. Development of automatic single pendulum vegetable pot seedling picking and feeding system. Trans. Chin. Soc. Agric. Eng. 2020, 36, 87–95. [Google Scholar]
- Mail, M.F.; Azmon, H.; Jusoh, M.S.M.; Azmin, M.N.H.M.; Nordin, M.N.; Idris, M.Z.M. Performance Evaluation and Viability of a Pedestrian-type Low Land Cabbage Transplanter. Adv. Agric. Food Res. J. 2020, 1, a123. [Google Scholar] [CrossRef]
- Wang, Y.; Xiao, X.; Liang, X.; Wang, J.; Wu, C.; Chen, J. Plug hole positioning and seedling shortage detecting system on automatic seedling supplementing test-bed for vegetable plug seedlings. Trans. Chin. Soc. Agric. Eng. 2018, 34, 35–41. [Google Scholar]
- Liu, M.; JIiang, K.; Wang, X.; Zhai, C.; Yang, S.; Gao, Y. Research Status and Prospect of Automatic Vegetable Transplanter. J. Agric. Mech. Res. 2024, 46, 1–8+20. [Google Scholar]
- Ji, J.; Yang, L.; Jin, X.; Gao, S.; Pang, J.; Wang, J. Design and parameter optimization of planetary gear- train slip type pot seedling planting mechanism. Trans. Chin. Soc. Agric. Eng. 2018, 34, 83–92. [Google Scholar]
- Zhou, F.; Lu, J.; Du, J. Parameters optimization and experiment of corn-paper transplanting machine with seedling disk. Trans. Chin. Soc. Agric. Eng. 2014, 30, 18–24. [Google Scholar]
- Hu, F.; Guo, D.; Chen, C.; Yan, H.; Yin, W.; Yu, H. Design and Experiment on Compound Crank Rocker Double-row Planting Device of Vegetable Plug Seedling Up-film Transplanter. Trans. Chin. Soc. Agric. Mach. 2021, 52, 62–69. [Google Scholar]
- Sri, M.; Hwang, S.J.; Nam, J.S. Experimental safety analysis of transplanting device of the cam-type semi-automatic vegetable transplanter. J. Terramech. 2022, 103, 19–32. [Google Scholar] [CrossRef]
- Jin, L.; Zhang, W.; Fu, X.; Zhang, P.; Qi, L. Design and Experiment of Planting Mechanism of Duckbill Type Vegetable Transplanter. J. Heilongjiang August First Land Reclam. Univ. 2021, 33, 100–105+134. [Google Scholar]
- Shao, Y.; Liu, Y.; Xuan, G.; Gao, X.; Han, X.; Wang, Y. Design and simulation analysis of multi-function duckbill type vegetable transplanter. J. Chin. Agric. Mech. 2019, 40, 9–12+34. [Google Scholar]
- Yan, H.; Liu, C.; Li, P.; Chen, R.; Zhou, H.; Zhuang, T. Design and Experiment of Duckbill Planting Device with Adjustable Static Trajectory for Planting Vegetable Transplanters. Trans. Chin. Soc. Agric. Mach. 2023, 54, 71–81. [Google Scholar]
- Yin, D.; Zhang, N.; Zhou, M.; Yang, Y.; Yin, S.; Wang, J. Optimal Design and Experiment of High Speed Duckbill Planting Mechanism with Variable Catch-seedling Attitude. Trans. Chin. Soc. Agric. Mach. 2020, 51, 65–72. [Google Scholar]
- Hu, M. Structure Design and Research of Semi-Antomatic Transplanting Machine for Vegetable Plug Seedings. Master’s Thesis, Hubei University of Technology, Wuhan, China, 2021. [Google Scholar]
- Tang, H. Research on Parameters Optimiaztion and Performance Test for the Dibble-Type Planting Apparatus of Vegetable Pot Seedling Transplanter. Master’s Thesis, Zhejiang University, Hangzhou, China, 2016. [Google Scholar]
- Yuan, X. Optimization Design and Experiment of the Suspended Cup Planting Mechanism of Vegetable Transplanter. Master’s Thesis, Southwest University, Chongqing, China, 2023. [Google Scholar]
- Li, P. Design and Test of Hanging Cup Planting Device of Vegetable Transplanter. Master’s Thesis, Chinese Academy of Agricultural Mechanization Sciences, Beijing, China, 2022. [Google Scholar]
- Shen, T.; Tang, L.; Sun, X.; Sun, Y. Design and simulation of planting mechanism of finger-clip-pattern sweet potato transplanting machine. Jiangsu Agric. Sci. 2018, 46, 223–226. [Google Scholar]
- Liu, T. Research on the Design and Optimization of the Planting Mechanism of the Transplanter. Master’s Thesis, Kunming University of Science and Technology, Kunming, China, 2021. [Google Scholar]
- Wang, Z. Design and Experiment of Duck-Billed High-Speed Planting Device with Adjustable Buried Angle and Planting Depth. Master’s Thesis, Jiangsu University, Zhenjiang, China, 2020. [Google Scholar]
- Jin, X. Research on Automatic Transplanting Technology and Device for Vegetable Plug Seedling. Ph.D. Thesis, China Agricultural University, Beijing, China, 2014. [Google Scholar]
- Zhou, H.; Yang, W.; Yu, G.; Wang, B.; Ye, B. Optimization Design and Experiments of Ditching Multi-bar Seedling Planting Mechanism. Trans. Chin. Soc. Agric. Mach. 2023, 54, 79–86. [Google Scholar]
- Zhang, N. Design and Experiment of Key Components of Automatic Transplanter for Chili Plug Seedlings. Ph.D. Thesis, Huazhong Agricultural University, Wuhan, China, 2023. [Google Scholar]
- Wang, P. Design and Experiment of Flexible Disk Planting Device. Master’s Thesis, Chinese Academy of Agricultural Mechanization Sciences, Beijing, China, 2020. [Google Scholar]
- Yang, C. Study on An Automatic Conveying Technology and Mechanism of Potted-Seeding for Vegetable Transplanter. Ph.D. Thesis, Chinese Academy of Agricultural Mechanization Sciences, Beijing, China, 2014. [Google Scholar]
- Hua, Z. Design and Simulation of Flexible Disc Transplanting Machine for Cranberry Seedling. Master’s Thesis, Northeast Agricultural University, Harbin, China, 2016. [Google Scholar]
- Jin, L. Design and Experiment of Planting Mechanism of Pepper Pot Transplanting Machine. Master’s Thesis, Heilongjiang Bayi Agricultural University, Daqing, China, 2021. [Google Scholar]
- Cui, Z.; Guan, C.; Yang, Y.; Gao, Q.; Chen, Y.; Xiao, T. Research status of vegetable mechanical transplanting technology and equipment. J. Chin. Agric. Mech. 2020, 41, 85–92. [Google Scholar]
- He, Y.; Yin, W.; Zhang, S. Performance Analysis of Three Types of Transplanters Used in Dryland. J. Anhui Agric. Sci. 2006, 34, 6722–6723+6725. [Google Scholar]
- Wu, Y.; Hou, J.; Zhao, R.; Liu, Z. Design and Research of the Conveyorized Vegetable Transplanting Machine. J. Agric. Mech. Res. 2015, 37, 77–80. [Google Scholar]
- Jiang, L.; Wu, C.; Tang, Q.; Zhang, M.; Wang, G. Kinematics model and parameter optimization of planting process of rape carpet seedling transplanter. Trans. Chin. Soc. Agric. Eng. 2018, 34, 37–46. [Google Scholar]
- Li, J. Design and Optimization of Planting Mechanism. Master’s Thesis, Northwest A&F University, Yanglin, China, 2016. [Google Scholar]
- Ma, G. Study on Enhancement Mechanism of Low Loss Seedling Picking in Biochar and Air Ejection-Package Clamping Pick-Up Device. Ph.D. Thesis, Jiangsu University, Zhenjiang, China, 2021. [Google Scholar]
- Wu, D.; Hu, J.; Wang, K.; Liu, W.; Zhang, Z. The development status and trend of automatic vegetable transplanting machine. J. Chang. Veg. 2023, 1–3. [Google Scholar] [CrossRef]
- Xia, G.; Han, C.; Guo, H.; Zhang, J.; Ge, P.; Xv, Y. Research Status and Development Trend of Key Components of Automatic Transplanting Machine. J. Agric. Mech. Res. 2019, 41, 1–7. [Google Scholar]
- Chen, B.; Hu, G.; Liu, W.; Sun, S.; Sun, C.; Xiao, M. Alternate Automatic Seedling Picking and Dropping Mechanism Based on Symmetrically Arranged Seedling Trays for Automatic Vegetable Transplanters. Trans. Chin. Soc. Agric. Mach. 2022, 53, 131–139+151. [Google Scholar]
- Xie, T. Design and Experimental Study on Automatic Feeding-Seedling Device of Vegetable Transplanter. Master’s Thesis, Shenyang Agriculture University, Shenyang, China, 2022. [Google Scholar]
- Yao, M.; Lv, J.; Wang, L.; Yue, R.; Hu, J. Cooperative operation method of seedling conveying and picking by full-automatic transplanter based on multi-sensor combination. Comput. Electron. Agric. 2024, 225, 109311. [Google Scholar] [CrossRef]
- Zhou, H.; Liu, J.; Yu, G.; Qi, P.; Wang, L.; Zheng, J. Design and Experiment of Seedling Picking Mechanism for Helical Gear-Non Circular Gear Planetary Gear System. Trans. Chin. Soc. Agric. Mach. 2023, 54, 77–86. [Google Scholar]
- Yuan, T.; Zhang, Y.; Yin, J.; Wang, H.; Zhang, Z.; Tan, Y. Study on Seedling Taking and Throwing Device Based on Combined Struture of Crank Rocker and Guide Rail for Vegetable Transplanter. Trans. Chin. Soc. Agric. Mach. 2022, 53, 116–125. [Google Scholar]
- Xie, S.; Yang, S.; Liu, J.; Song, L.; Xie, Q.; Duan, T. Development of the seedling taking and throwing device with oblique insertion and plug clipping for vegetable transplanters. Trans. Chin. Soc. Agric. Eng. 2020, 36, 1–10. [Google Scholar]
- Wang, X.; Liu, M.; Zhai, C.; Han, C.; Yang, S.; Gao, Y. Design and Experiment of Vegetable Transplanting Clip Stem Seedling Device. Trans. Chin. Soc. Agric. Mach. 2023, 54, 122–132. [Google Scholar]
- Han, C.; Zhou, T.; You, J.; Xu, Y.; Mao, H.; Liang, J. Design and experiments of an arc expansion type automatic seedling taking and throwing device for vegetable plug seedlings. Trans. Chin. Soc. Agric. Eng. 2023, 39, 54–64. [Google Scholar]
- Chen, L.; Liu, C.; He, J.; Sun, C.; Xiao, M. Research Status of Automatic Seedling Extraction Technology for Veg-etable Plug Seedlings in China. China Agric. Mach. Equip. 2024, 13, 2–5. [Google Scholar]
- Chen, J.; Cui, W.; Liu, Y.; Liu, L.; Liu, F.; Kong, D.; Zhang, X. Design and Experiment of Ejection Mechanism for Transplanter Seedling Picking Device. Agric. Eng. 2023, 13, 82–87. [Google Scholar]
- Wen, Y.; Zhang, J.; Zhang, Y.; Tian, J.; Yuan, T.; Tan, Y.; Li, W. Development of insertion and ejection type seedling taking device for vegetable plug seedlings. Trans. Chin. Soc. Agric. Eng. 2020, 36, 96–104. [Google Scholar]
- Gao, J. Design and Study on System of Pneumatic-Picking Seedling for Aperture Disk Vertical Pick-Up Device. Master’s Thesis, Shihezi University, Shihezi, China, 2016. [Google Scholar]
- Zhang, N.; Zhang, G.; Fu, J.; Liu, W.; Chen, L.; Tang, N. Design and experiment of the seedling pick-up device with ejecting pot-clamping stem combination. Trans. Chin. Soc. Agric. Eng. 2024, 40, 50–61. [Google Scholar]
- Zhang, X.; Liu, L.; Ning, Y.; Kong, D.; Liu, Y.; Wu, H. Design and Experiment of End Effector of Seedling Taking by Jacking and Clamping of Vegetable Transplanter. Trans. Chin. Soc. Agric. Mach. 2023, 54, 115–124+134. [Google Scholar]
- Hu, J.; Liu, Y.; Liu, W.; Zhang, S.; Han, G.; Tseng, T.-Y. Experiment on Combined Seedling Picking Device with Top Clamping and Pulling. Trans. Chin. Soc. Agric. Mach. 2022, 53, 110–117. [Google Scholar]
- Wang, C.; Liu, C.; Li, Y.; Song, J.; Wang, J.; Dong, X. Design and Experiment of Pneumatic Punching High-speed Seedling Picking Device for Vegetable Transplanter. Trans. Chin. Soc. Agric. Mach. 2021, 52, 35–43+51. [Google Scholar]
- Yuan, T.; Wang, D.; Wen, Y.; Zhu, S.; Chen, Y.; Tan, Y. Design and Experiment of Seedlings Unloading Mechanism Based on Methods of Air-blowing and Vibration for Vegetable Transplanter. Trans. Chin. Soc. Agric. Mach. 2019, 50, 80–87. [Google Scholar]
- Long, X.; Han, C.; Zhang, J.; You, J. Design and Test of the Feeding Device of the Automatic Transfer Machine of the Cave Seedling. J. Agric. Mech. Res. 2022, 44, 103–107+113. [Google Scholar]
- Yang, Q.; Ahmad, I.; Faheem, M.; Siddique, B.; Hu, X.; Addy, M. Development and assessment of belt-drive seedlings transmission device for fully-automatic vegetable transplanter. Comput. Electron. Agric. 2021, 182, 105958. [Google Scholar] [CrossRef]
- Fu, M.; Quan, L.; Xiong, N.; Li, G.; Zou, Y. Design of an automatic seedling feeder for bare-rooted cotton seedling transplanter and its simulation analysis. J. Hunan Agric. Univ. (Nat. Sci.) 2012, 38, 451–454. [Google Scholar] [CrossRef]
- Yu, G.; Zhao, J.; Shan, H.; Wang, J.; Wang, L.; Bao, L. Design and Experiment of Longitudinal Feeding Mechanism of Vegetable Pot Seedling Automatic Transplanter. Trans. Chin. Soc. Agric. Mach. 2024, 55, 285–293. [Google Scholar]
- Song, L.; Yang, S.; Huang, B.; Xie, S. Design and Experiment of Control System for Seedling Seedlings. J. Agric. Mech. Res. 2021, 43, 180–184. [Google Scholar]
- Yao, M.; Hu, J.; Liu, W.; Yue, R.; Zhu, W.; Zhang, Z. Positioning control method for the seedling tray of automatic transplanters based on interval analysis. Trans. Chin. Soc. Agric. Eng. 2023, 39, 27–36. [Google Scholar]
































Disclaimer/Publisher’s Note: The statements, opinions and data contained in all publications are solely those of the individual author(s) and contributor(s) and not of MDPI and/or the editor(s). MDPI and/or the editor(s) disclaim responsibility for any injury to people or property resulting from any ideas, methods, instructions or products referred to in the content. |
© 2024 by the authors. Licensee MDPI, Basel, Switzerland. This article is an open access article distributed under the terms and conditions of the Creative Commons Attribution (CC BY) license (https://creativecommons.org/licenses/by/4.0/).
Share and Cite
Cheng, B.; Wu, H.; Zhu, H.; Liang, J.; Miao, Y.; Cui, Y.; Song, W. Current Status and Analysis of Key Technologies in Automatic Transplanters for Vegetables in China. Agriculture 2024, 14, 2168. https://doi.org/10.3390/agriculture14122168
Cheng B, Wu H, Zhu H, Liang J, Miao Y, Cui Y, Song W. Current Status and Analysis of Key Technologies in Automatic Transplanters for Vegetables in China. Agriculture. 2024; 14(12):2168. https://doi.org/10.3390/agriculture14122168
Chicago/Turabian StyleCheng, Bo, Huarui Wu, Huaji Zhu, Jie Liang, Yisheng Miao, Youlin Cui, and Weitang Song. 2024. "Current Status and Analysis of Key Technologies in Automatic Transplanters for Vegetables in China" Agriculture 14, no. 12: 2168. https://doi.org/10.3390/agriculture14122168
APA StyleCheng, B., Wu, H., Zhu, H., Liang, J., Miao, Y., Cui, Y., & Song, W. (2024). Current Status and Analysis of Key Technologies in Automatic Transplanters for Vegetables in China. Agriculture, 14(12), 2168. https://doi.org/10.3390/agriculture14122168

