Design of an Automatic Ground Cleaning Machine for Dedusting Rooms of Chicken Houses
Abstract
1. Introduction
2. Materials and Methods
2.1. Overall Structure and Working Principle
2.1.1. Overall Structure
2.1.2. Working Principle
2.1.3. Main Technical Parameters
2.2. Main Structure Design
2.2.1. Power System
2.2.2. Control System
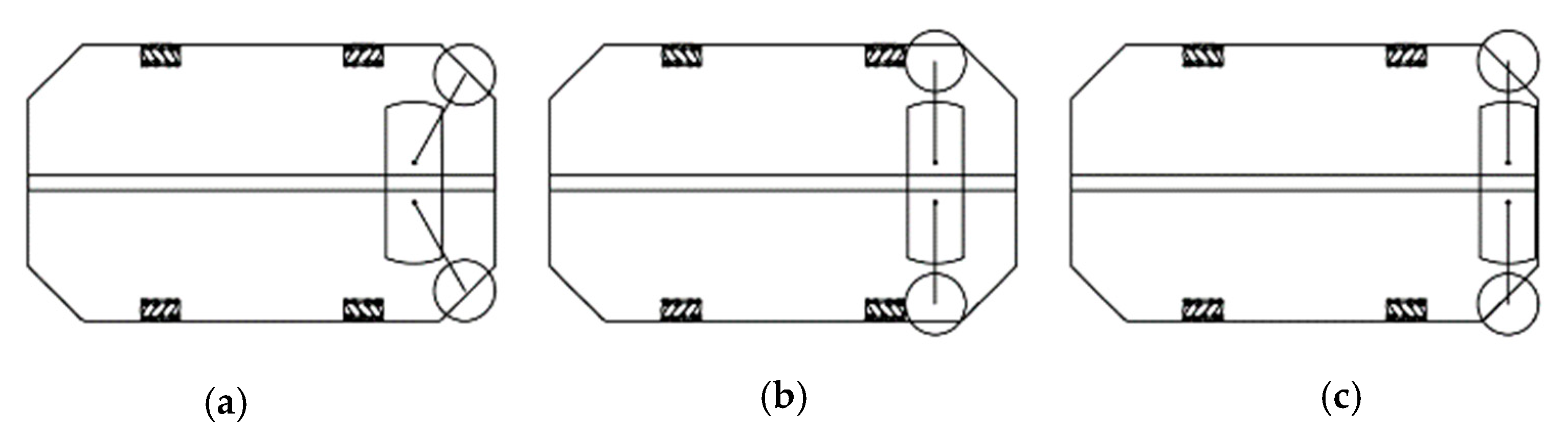
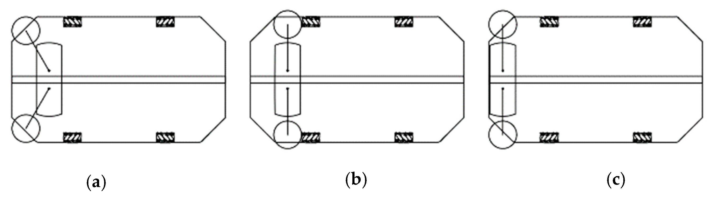
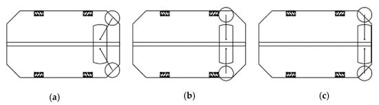
2.2.3. Frame and Walking Structure
2.2.4. Ground Cleaning System
2.2.5. Dedusting System
2.3. Experimental Conditions
2.4. Experimental Materials
2.5. Experimental Design
2.5.1. Experimental Factors and Experimental Indexes
2.5.2. Experimental Scheme
2.5.3. Experimental Methods
3. Results and Analysis
4. Performance Experiment
5. Conclusions
Author Contributions
Funding
Institutional Review Board Statement
Data Availability Statement
Acknowledgments
Conflicts of Interest
Nomenclature
| l1 | The maximum total length of the horizontal projection of the sweeper support arm, m |
| d1 | The distance between the contact point of the connecting part and the sweeper support arm and the rotating shaft of the connecting part, m |
| L | The length of the frame, m; l2 is the width of the suction head nozzle, m |
| r1 | The radius of the sweeper, m; d2 is the distance between the connecting pins of the sweeper support arms on both sides, m |
| W | The width of the frame, m |
| L1 | The distance between the front and rear wheels, m |
| b1 | The thickness of Mecanum wheels, m |
| l3 | The length of the suction head nozzle, m |
| Q | Air volume processed by the dedusting system, m3/h |
| n1 | Number of filter bags |
| D | Diameter of filter bags, m; h is height of filter bags, m |
| v1 | Filtering wind speed of of filter bag, m/s |
| v2 | Wind speed of the front vacuum cleaner, m/s |
| S | Cross-sectional area of the air inlet of the front vacuum cleaner, m2 |
| Mj | The average dust particle removal rate of all k repeated tests in the experimental scheme j, % |
| m | The mass of the dust particles deposited in the cleaning area before each test, g |
| m’ij | The mass of the dust particles that are not cleaned up in the cleaning area of the machine in the ith test in the experimental scheme j, g |
| Nj | The average fluff removal rate of all k repeated tests in the experimental scheme j, % |
| n | The number of pieces of fluff placed in the cleaning area before each test |
| n’ij | The number of pieces of fluff that are not cleaned up in the cleaning area of the machine in the ith test in the experimental scheme j |
| α | The angle between the horizontal projection of the sweeper support arm and the width direction of the frame in the sweeping state, ° |
| β | The angle between the horizontal projection of the sweeper support arm in the retracted state and the width direction of the frame, ° |
| γ | The angle between the sweeper support arm and the width direction of the frame when the edge of the sweeper is closest to the Mecanum wheel, ° |
References
- Yang, W.; Guo, M.; Liu, G.; Yu, G.; Wang, P.; Wang, H.; Chai, T. Detection and analysis of fine particulate matter and microbial aerosol in chicken houses in Shandong Province, China. Poult. Sci. 2018, 97, 995–1005. [Google Scholar] [CrossRef] [PubMed]
- Browne, W.J.; Caplen, G.; Edgar, J.; Wilson, L.R.; Nicol, C.J. Consistency, transitivity and inter-relationships between measures of choice in environmental preference tests with chickens. Behav. Process 2010, 83, 72–78. [Google Scholar] [CrossRef] [PubMed]
- Hu, Q.; Dong, H.M.; Tao, X.P.; Chang, J.; Zhang, J.Z.; Sun, H. Technologies for reducing dust and bacteria in exhaust-air from poultry and livestock farms. Chin. J. Agrometeorol. 2000, 21, 18–22. [Google Scholar]
- Chai, T.J.; Zhao, Y.L.; Liu, H.; Liu, W.B.; Huang, Y.Y.; Yin, M.Y.; Li, X.H. Studies on the concentration and aerodynamic diameters of microbiological aerosol in the poultry house. China Poult. 2001, 37, 9–11. [Google Scholar]
- Olejnik, K.; Popiela, E.; Opaliński, S. Emerging Precision Management Methods in Poultry Sector. Agriculture 2022, 12, 718. [Google Scholar] [CrossRef]
- Gao, M.; Jia, R.Z.; Qiu, T.L.; Song, Y.; Wang, X.M. Progress in research on characteristics of bioaerosol diffused during livestock breeding. J. Ecol. Rural. Environ. 2015, 31, 12–21. [Google Scholar]
- Wang, K.Y.; Dai, S.Y.; Wang, L.J. Research progress on pollution and monitoring technology of particulate matter from livestock and poultry farms. Trans. Chin. Soc. Agric. Mach. 2017, 48, 232–241. [Google Scholar]
- Cambra-López, M.; Torres, A.G.; Aarnink, A.J.A.; Ogink, N.W.M. Source analysis of fine and coarse particulate matter from livestock houses. Atmos. Environ. 2011, 45, 694–707. [Google Scholar] [CrossRef]
- Dukhta, G.; Halas, V. Dynamic, Mechanistic Modeling Approach as a Tool to Mitigate N Excretion in Broilers. Agriculture 2023, 13, 808. [Google Scholar] [CrossRef]
- Mitloehner, F.M.; Calvo, M.S. Worker health and safety in concentrated animal feeding operations. J. Agric. Saf. Health 2008, 14, 163–187. [Google Scholar] [CrossRef]
- Cambra-López, M.; Aarnink, A.J.A.; Zhao, Y.; Calvet, S.; Torres, A.G. Airborne particulate matter from livestock production systems: A review of an air pollution problem. Environ. Pollut. 2010, 158, 1–17. [Google Scholar] [CrossRef] [PubMed]
- Winkel, A.; Mosquera, J.; Koerkamp, P.W.G.G.; Ogink, N.W.M.; Aarnink, A.J.A. Emissions of particulate matter from animal houses in the Netherlands. Atmos. Environ. 2015, 111, 202–212. [Google Scholar] [CrossRef]
- Dong, H.M.; He, Q.; Tao, X.P.; Chang, J.; Zhang, J.Z.; Sun, H.; Zhang, B.H. Design and field experiment of biomass dust-break wall. Trans. Chin. Soc. Agric. Eng. 2000, 16, 94–98. [Google Scholar]
- Sun, H.Z.; Xi, J.Z.; Tong, Y.G.; Zeng, D.; Chen, H. Evaluation of application effect of dust removal room in chicken house with microbial aerosol. China Poult. 2020, 42, 62–66. [Google Scholar]
- Zhong, Z.B.; Wang, N. The size distribution and health risk assessment of microbe bacterial aerosol in livestock and poultry house. China Anim. Health Insp. 2014, 31, 101–105. [Google Scholar]
- Zhao, Y.; Aarnink, A.J.A.; Jong, M.C.M.D.; Koerkamp, P.W.G.G. Airborne microorganisms from livestock production systems and their relation to dust. Crit. Rev. Environ. Sci. Technol. 2014, 44, 1071–1128. [Google Scholar] [CrossRef]
- Kim, K.H.; Kabir, E.; Kabir, S. A review on the human health impact of airborne particulate matter. Environ. Int. 2015, 74, 136–143. [Google Scholar] [CrossRef]
- Hadlocon, L.S.; Zhao, L.Y.; Bohrer, G.; Kenny, W.; Garrity, S.R.; Wang, J.; Wyslouzil, B.; Upadhyay, J. Modeling of particulate matter dispersion from a poultry facility using AERMOD. J. Air Waste Manag. Assoc. 2015, 65, 206–217. [Google Scholar] [CrossRef]
- Holmes, N.S.; Morawska, L. A review of dispersion modelling and its application to the dispersion of particles: An overview of different dispersion models available. Atmos. Environ. 2006, 40, 5902–5928. [Google Scholar] [CrossRef]
- Gerald, C.; Mcpherson, C.; Mcdaniel, T.; Xu, Z.G.; Holmes, B.; Williams, L.; Whitley, N.; Waterman, J.T. A biophysiochemical analysis of settled livestock and poultry housing dusts. Am. J. Agric. Biol. Sci. 2014, 9, 153–166. [Google Scholar] [CrossRef]
- Le Bouquin, S.; Huneau-Salaun, A.; Huonnic, D.; Balaine, L.; Martin, S.; Michel, V. Aerial dust concentration in cage-housed, floor-housed, and aviary facilities for laying hens. Poult. Sci. 2013, 92, 2827–2833. [Google Scholar] [CrossRef] [PubMed]
- Hayes, M.; Xin, H.W.; Li, H.; Shepherd, T.; Zhao, Y.; Stinn, J. Ammonia, Greenhouse Gas, and Particulate Matter Emissions of Aviary Layer Houses in the Midwestern U.S. Trans. ASABE 2013, 56, 1921–1932. [Google Scholar]
- Lin, X.J.; Cortus, E.L.; Zhang, R.; Heber, S.; Heber, A.J. Air emissions from broiler houses in California. Trans. ASABE 2012, 55, 1895–1908. [Google Scholar] [CrossRef]
- Roumeliotis, T.S.; Dixon, B.J.; Heyst, B.J.V. Characterization of gaseous pollutant and particulate matter emission rates from a commercial broiler operation part II: Correlated emission rates. Atmos. Environ. 2010, 44, 3778–3786. [Google Scholar] [CrossRef]
- Zou, X.G.; Wang, S.Y.; Qian, Y.; Gong, F.; Zhang, S.X.; Hu, J.X.; Liu, W.C.; Song, Y.Y.; Zhang, S.K.; Meng, J.W.; et al. Study of Ammonia Concentration Characteristics and Optimization in Broiler Chamber during Winter Based on Computational Fluid Dynamics. Agriculture 2022, 12, 182. [Google Scholar] [CrossRef]
- Mostafa, E.; Buescher, W. Indoor air quality improvement from particle matters for laying hen poultry houses. Biosyst. Eng. 2011, 109, 22–36. [Google Scholar] [CrossRef]
- Li, Z.G.; Zheng, W.C.; Wei, Y.X.; Li, B.M.; Wang, Y.; Zheng, H.Y. Prevention of particulate matter and airborne culturable bacteria transmission between double-tunnel ventilation layer hen houses. Poult. Sci. 2019, 98, 2392–2398. [Google Scholar] [CrossRef]
- Gonçalves, J.C.; Lopes, A.M.G.; Pereira, J.L.S. Computational Fluid Dynamics Modeling of Ammonia Concentration in a Commercial Broiler Building. Agriculture 2023, 13, 1101. [Google Scholar] [CrossRef]
- Komlósi, I. Recent Advancements in Poultry Health, Nutrition and Sustainability. Agriculture 2022, 12, 516. [Google Scholar] [CrossRef]

















| No. | Main Parameters | Unit | Value |
|---|---|---|---|
| 1 | Overall dimensions (L × W × H) | m | 1.1 × 0.66 × 0.97 |
| 2 | Diameter of the sweeper | mm | 180 |
| 3 | Dimensions of the suction head nozzle (L × W) | mm | 390 × 150 |
| 4 | Distance between the suction head nozzle and the ground | mm | 10–20 |
| 5 | Movement speed | m/s | 0.1–0.25 |
| 6 | Rotation speed of the sweeper | r/min | 150–240 |
| 7 | Rotation speed of the vacuum cleaner | r/min | 15,000–26,000 |
| 8 | Rotation speed of the fluff-separating disc | r/min | 10–30 |
| 9 | Maximum air volume processed by the dedusting system | m3/h | 90 |
| 10 | Daily cleaning frequency | times/d | 1–2 |
| No. | Motors | Motor Name | Quantity | Model | Power (W) |
|---|---|---|---|---|---|
| 1 | Drive motor for the wheel rotation | Motor 1–4 | 4 | 5718HB6401 | 106 |
| 2 | Drive motor of the upper slide table | Motor 5 | 1 | 5718HB2401 | 84 |
| 3 | Drive motor of the lower slide table | Motor 6 | 1 | 5718HB2401 | 84 |
| 4 | Drive motor for the sweeper rotation | Motor 7–8 | 2 | JAG25-370 (282 r/min) | 14 |
| 5 | Drive motor of the front vacuum cleaner | Motor 9 | 1 | XWB9530 | 1200 |
| 6 | Drive motor of the rear vacuum cleaner | Motor 10 | 1 | XWF9530 | 1200 |
| 7 | Drive motor for the fluff-separating disc rotation | Motor 11 | 1 | JAG25-370 (12 r/min) | 14 |
| 8 | Electromotive handspike for fluff discharge | Motor 12 | 1 | XDHA24-150 | 20 |
| 9 | Electromotive handspike for dust particle discharge | Motor 13 | 1 | XDHA24-150 | 20 |
| Position in the Dedusting Room | Sensor Response | Motor Action | |||||||||
|---|---|---|---|---|---|---|---|---|---|---|---|
| Sensors at the Frame | Sensors at the Upper Slide Table | Sensors at the Lower Slide Table | Motors 1–4 | Motor 5 | Motor 6 | Motors 7–8 | Motors 9–10 | Motor 11 | Motor 12 | Motor 13 | |
| Initial position, Position ① | A1A2A3A4 | B1 | C3 | N | N | N | N | N | N | N | N |
| A1A2A3A4 | B1 | C3 | N | N | Y | Y | Y | Y | N | N | |
| B1 | C1 | N | Y | N | Y | Y | Y | N | N | ||
| B3 | C1 | N | N | Y | Y | Y | Y | N | N | ||
| B3 | C2 | N | Y | N | Y | Y | Y | N | N | ||
| B4 | C2 | N | N | Y | Y | Y | Y | N | N | ||
| B4 | C1 | N | Y | N | Y | Y | Y | N | N | ||
| B5 | C1 | N | N | Y | Y | Y | Y | N | N | ||
| B5 | C2 | N | Y | N | Y | Y | Y | N | N | ||
| B6 | C2 | Y (State 1) | N | N | Y | Y | Y | N | N | ||
| ↓ | A1A2 | B6 | C2 | ||||||||
| Position ② | A1A2A7A8 | B6 | C2 | N | N | Y | Y | Y | Y | N | N |
| B6 | C3 | N | Y | N | Y | Y | Y | N | N | ||
| B7 | C3 | Y (State 2) | N | N | Y | Y | Y | N | N | ||
| ↓ | A7A8 | B7 | C3 | ||||||||
| Position ③ | A7A8 | B7 | C3 | N | N | Y | Y | Y | Y | N | N |
| B7 | C5 | N | Y | N | Y | Y | Y | N | N | ||
| B5 | C5 | N | N | Y | Y | Y | Y | N | N | ||
| B5 | C4 | N | Y | N | Y | Y | Y | N | N | ||
| B4 | C4 | N | N | Y | Y | Y | Y | N | N | ||
| B4 | C5 | N | Y | N | Y | Y | Y | N | N | ||
| B3 | C5 | N | N | Y | Y | Y | Y | N | N | ||
| B3 | C4 | N | Y | N | Y | Y | Y | N | N | ||
| B2 | C4 | Y (State 3) | N | N | Y | Y | Y | N | N | ||
| ↓ | B2 | C4 | |||||||||
| Position ④ | A3A4 | B2 | C4 | N | N | Y | Y | Y | Y | N | N |
| B2 | C3 | N | Y | N | Y | Y | Y | N | N | ||
| B1 | C3 | Y (State 2) | N | N | Y | Y | Y | N | N | ||
| ↓ | A3A4 | B1 | C3 | ||||||||
| Position ⑤ | A3A4 | Same as Position ① | Same as Position ① | Same as Position ① | |||||||
| ↓ | Same as Position ①→ Position ② | Same as Position ① → Position ② | |||||||||
| Position ⑥ | A7A8 | Same as Position ② | Same as Position ② | Same as Position ② | |||||||
| …… | …… | …… | …… | …… | |||||||
| ↓ | |||||||||||
Position ![]() | A5A6A7A8 | Same as Position ③ | Same as Position ③ | Same as Position ③ | |||||||
| ↓ | A5A6 | Same as Position ③→ Position ④ | Same as Position ③ → Position ④ | ||||||||
Position ![]() | A3A4A5A6 | Same as Position ④ | Same as Position ④ | Same as Position ④ | |||||||
| ↓ | A3A4 | B1 | C3 | Y (State 4) | N | N | N | N | N | Y | Y |
| Position ① | A1A2A3A4 | B1 | C3 | N | N | N | N | N | N | N | N |
| Code | Movement Speed (m/s) | Rotation Speed of the Sweeper (r/min) | Distance between the Suction Head Nozzle and the Ground (mm) |
|---|---|---|---|
| 1.682 | 0.3 | 240 | 20 |
| 1 | 0.26 | 222 | 18 |
| 0 | 0.2 | 195 | 15 |
| −1 | 0.14 | 168 | 12 |
| −1.682 | 0.1 | 150 | 10 |
| No. | Experimental Scheme | Experimental Results | |||
|---|---|---|---|---|---|
| Movement Speed a (m/s) | Rotation Speed of the Sweeper b (r/min) | Distance between the Suction Head Nozzle and the Ground C (mm) | Dust Particle Removal Rate Y1 (%) | Fluff Removal Rate Y2 (%) | |
| 1 | −1 | −1 | −1 | 85.4 | 93 |
| 2 | 1 | −1 | −1 | 78.2 | 86.1 |
| 3 | −1 | 1 | −1 | 90.5 | 88.7 |
| 4 | 1 | 1 | −1 | 82 | 84.3 |
| 5 | −1 | −1 | 1 | 75.9 | 91 |
| 6 | 1 | −1 | 1 | 67.4 | 81.4 |
| 7 | −1 | 1 | 1 | 79 | 88.5 |
| 8 | 1 | 1 | 1 | 72.7 | 77.2 |
| 9 | −1.682 | 0 | 0 | 87.5 | 93.5 |
| 10 | 1.682 | 0 | 0 | 70.3 | 78 |
| 11 | 0 | −1.682 | 0 | 78.6 | 86.6 |
| 12 | 0 | 1.682 | 0 | 80.4 | 86.4 |
| 13 | 0 | 0 | −1.682 | 86.5 | 87.4 |
| 14 | 0 | 0 | 1.682 | 71.3 | 85.2 |
| 15 | 0 | 0 | 0 | 83.3 | 89.1 |
| 16 | 0 | 0 | 0 | 81 | 90.3 |
| 17 | 0 | 0 | 0 | 82.6 | 87.9 |
| 18 | 0 | 0 | 0 | 80.8 | 89.3 |
| 19 | 0 | 0 | 0 | 83.8 | 88.2 |
| 20 | 0 | 0 | 0 | 81.3 | 90.5 |
| Source | Dust Particle Removal Rate | Fluff Removal Rate | ||||||||
|---|---|---|---|---|---|---|---|---|---|---|
| Sum of Squares | df | Mean Square | F-Value | p-Value | Sum of Squares | df | Mean Square | F-Value | p-Value | |
| Model | 655.30 | 9 | 72.81 | 29.85 | <0.0001 ** | 332.61 | 9 | 36.96 | 17.53 | <0.0001 ** |
| A | 256.87 | 1 | 256.87 | 105.30 | <0.0001 ** | 248.60 | 1 | 248.60 | 117.89 | <0.0001 ** |
| B | 30.03 | 1 | 30.03 | 12.31 | 0.0056 ** | 12.54 | 1 | 12.54 | 5.95 | 0.0349 * |
| C | 325.35 | 1 | 325.35 | 133.37 | <0.0001 ** | 22.58 | 1 | 22.58 | 10.71 | 0.0084 ** |
| AB | 0.1021 | 1 | 0.1021 | 0.0418 | 0.8420 | 0.0865 | 1 | 0.0865 | 0.0410 | 0.8435 |
| AC | 0.1050 | 1 | 0.1050 | 0.0430 | 0.8398 | 11.05 | 1 | 11.05 | 5.24 | 0.0451 * |
| BC | 0.0335 | 1 | 0.0335 | 0.0137 | 0.9090 | 0.0450 | 1 | 0.0450 | 0.0213 | 0.8868 |
| A2 | 19.08 | 1 | 19.08 | 7.82 | 0.0189 * | 19.64 | 1 | 19.64 | 9.31 | 0.0122 * |
| B2 | 12.89 | 1 | 12.89 | 5.28 | 0.0444 * | 11.73 | 1 | 11.73 | 5.56 | 0.0400 * |
| C2 | 19.20 | 1 | 19.20 | 7.87 | 0.0186 * | 13.64 | 1 | 13.64 | 6.47 | 0.0292 * |
| Residual | 24.39 | 10 | 2.44 | 21.09 | 10 | 2.11 | ||||
| Lack of Fit | 16.62 | 5 | 3.32 | 2.14 | 0.2122 | 15.48 | 5 | 3.10 | 2.76 | 0.1447 |
| Pure Error | 7.78 | 5 | 1.56 | 5.61 | 5 | 1.12 | ||||
| Cor Total | 679.69 | 19 | 353.69 | 19 | ||||||
| Experiment 1 | Experiment 2 | Experiment 3 | Experiment 4 | Experiment 5 | Average Value | |
|---|---|---|---|---|---|---|
| Dust particle removal rate (%) | 90.3 | 90.7 | 90.5 | 91 | 91.2 | 90.7 |
| Fluff removal rate (%) | 91.1 | 91.7 | 90 | 93.3 | 92.2 | 91.7 |
Disclaimer/Publisher’s Note: The statements, opinions and data contained in all publications are solely those of the individual author(s) and contributor(s) and not of MDPI and/or the editor(s). MDPI and/or the editor(s) disclaim responsibility for any injury to people or property resulting from any ideas, methods, instructions or products referred to in the content. |
© 2023 by the authors. Licensee MDPI, Basel, Switzerland. This article is an open access article distributed under the terms and conditions of the Creative Commons Attribution (CC BY) license (https://creativecommons.org/licenses/by/4.0/).
Share and Cite
Yin, Y.; Diao, A.; Li, Z.; Wang, Q.; Liu, S. Design of an Automatic Ground Cleaning Machine for Dedusting Rooms of Chicken Houses. Agriculture 2023, 13, 1231. https://doi.org/10.3390/agriculture13061231
Yin Y, Diao A, Li Z, Wang Q, Liu S. Design of an Automatic Ground Cleaning Machine for Dedusting Rooms of Chicken Houses. Agriculture. 2023; 13(6):1231. https://doi.org/10.3390/agriculture13061231
Chicago/Turabian StyleYin, Yiting, Ailin Diao, Ziyi Li, Qi Wang, and Shuguang Liu. 2023. "Design of an Automatic Ground Cleaning Machine for Dedusting Rooms of Chicken Houses" Agriculture 13, no. 6: 1231. https://doi.org/10.3390/agriculture13061231
APA StyleYin, Y., Diao, A., Li, Z., Wang, Q., & Liu, S. (2023). Design of an Automatic Ground Cleaning Machine for Dedusting Rooms of Chicken Houses. Agriculture, 13(6), 1231. https://doi.org/10.3390/agriculture13061231



