Study on Fugitive Dust Control Technologies of Agricultural Harvesting Machinery
Abstract
:1. Introduction
2. Materials and Methods
2.1. Generation and Hazards of Fugitive Dust
2.1.1. Atmospheric Particulate Matter and Fugitive Dust from Agricultural Harvesting Machinery
2.1.2. Hazards to Human Health
2.1.3. Impact on the Ecological Environment and Climate
2.2. Fugitive Dust Suppression Technologies
2.2.1. Atomization Dust Suppression
2.2.2. Bag Filters
2.2.3. Electrostatic Precipitator
2.2.4. Cyclone Dust Collector
2.3. Measurement Methods
2.3.1. Gravimetric Analysis
2.3.2. Beta Attenuation
2.3.3. Tapered Element Oscillation Microbalance
2.3.4. Piezoelectric Crystal
2.3.5. Light Scattering
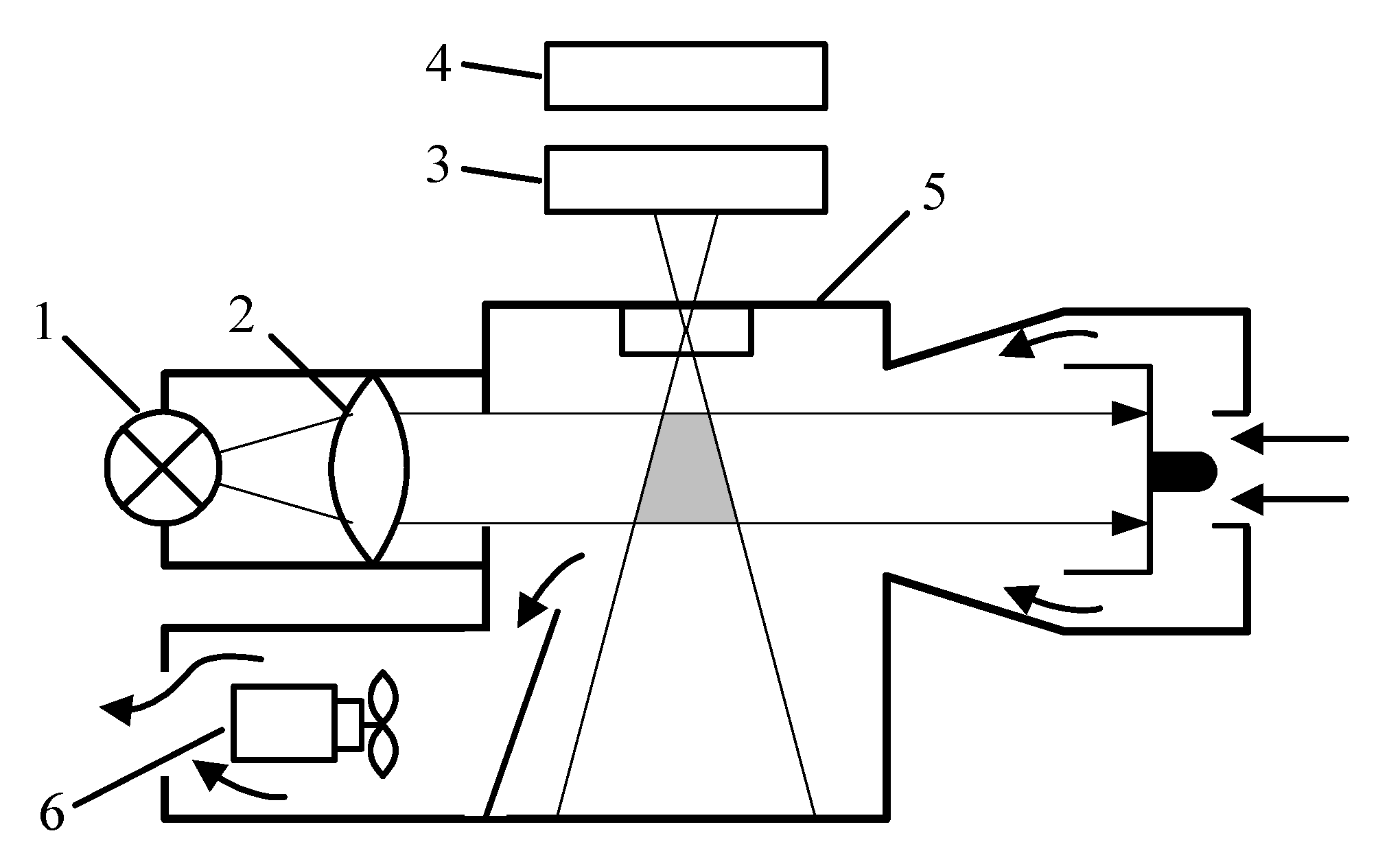
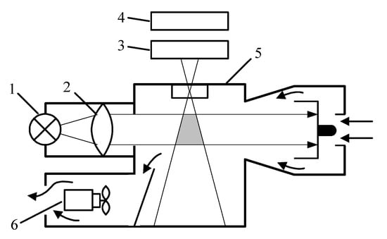
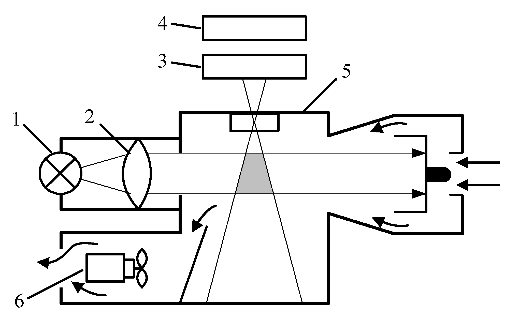
3. Results and Discussion
3.1. Component and Hazards of Fugitive Dust
3.2. Comparison of Several Fugitive Dust Suppression Technologies
3.3. Comparison of Several Measurement Methods
4. Conclusions
- (1)
- The component of fugitive dust from agricultural harvesting machinery is complex and harmful, so it needs to be treated scientifically in order to protect agricultural laborer and build a better agricultural safety and health culture;
- (2)
- Compared with several other dust suppression devices, the cyclone dust collector has the advantages of simple structure, convenient maintenance, low pressure drop, and high efficiency when dealing with large particles of dust. Therefore, it can be used as the preferred dust suppression device in the fugitive dust control of agricultural harvesting machinery;
- (3)
- The light scattering device has the advantages of fast response speed, high sensitivity, small size, and low cost. It is more suitable for the production environment of agricultural harvesting machinery, especially mobile measurement methods such as vehicle-mounted and drone-mounted methods, which have advantages in promotion and application;
- (4)
- There is a need to increase farmers’ perception and acknowledgement of environmental protection and provide scientific dust protection equipment for agricultural laborer. Moreover, more research on more environmentally friendly harvesting methods are needed.
Author Contributions
Funding
Institutional Review Board Statement
Informed Consent Statement
Data Availability Statement
Conflicts of Interest
References
- Luo, X.; Liao, J.; Zang, Y.; Zhou, Z. Improving agricultural mechanization level to promote agricultural sustainable development. Trans. Chin. Soc. Agric. Eng. 2016, 32, 1–11. [Google Scholar]
- Yu, Q.; Min, X. Analysis on Air Pollution Characteristics and Meteorological Causes of Heavy Pollution Events in Kaifeng from 2014 to 2016. Meteorol. Environ. Sci. 2020, 43, 114–122. [Google Scholar]
- China National Bureau of Statistics. China Statistical Yearbook 2020; China Statistics Press: Beijing, China, 2020. [Google Scholar]
- Liu, Z. Classification and nomenclature of atmospheric particulate matter. China Terminol. 2013, 15, 31–34. [Google Scholar]
- Remer, L.A.; Levy, R.C.; Mattoo, S.; Tanré, D.; Gupta, P.; Shi, Y.; Sawyer, V.; Munchak, L.A.; Zhou, Y.; Kim, M. The Dark Target algorithm for observing the global aerosol system: Past, present, and future. Remote Sens. 2020, 12, 2900. [Google Scholar] [CrossRef]
- Liu, Y.; Zhang, W.; Bai, Z.; Yang, Y.; Zhao, X.; Han, B.; Wang, X. Characteristics of PM2.5 chemical source profiles of coal combustion and industrial process in China. Res. Environ. Sci. 2017, 30, 1859–1868. [Google Scholar]
- Yan, J. PM2.5-bound Typical Polar Organic Compounds in Dezhou City: Pollution Characteristics and Source Analysis. Master’s Thesis, Shanghai University, Shanghai, China, 2020. [Google Scholar]
- Shi, N.; Gao, B.; Guo, S.; Liu, M.; Lu, Q.; He, Q.; Zhao, W.; Huang, X.; Zhang, Z.; Tao, J.; et al. Compositions and sources of carbohydrates in PM2.5 in September of Taiyuan. Acta Sci. Circumstantiae 2020, 40, 83–89. [Google Scholar]
- Liu, S.; Tan, X.; Liu, C.; Zhu, C.; Li, W.; Cui, S.; Du, Y.; Huang, D.; Xie, F. Recognition of Fusarium Head Blight Wheat Grain Based on Hyperspectral Data Processing Algorithm. Spectrosc. Spectr. Anal. 2019, 39, 3540–3546. [Google Scholar]
- Wang, K.; Wu, J.; Mei, W.; Wang, X. Research status on particulate reduction technology in livestock houses. Trans. Chin. Soc. Agric. Eng. 2020, 36, 204–212. [Google Scholar]
- Chen, G.; Liu, J.; Huang-Fu, Y.; Wang, H.; Shi, G.; Tian, Y.; Zhu, Y.; Li, Q.; Feng, Y. Seasonal variations and source apportionment of ambient PM10 and PM2.5 at urban area of Hefei, China. China Environ. Sci. 2016, 36, 1938–1946. [Google Scholar]
- Ho, K.F.; Lee, S.C.; Chow, J.C.; Watson, J.G. Characterization of PM10 and PM2.5 source profiles for fugitive dust in Hong Kong. Atmos. Environ. 2003, 37, 1023–1032. [Google Scholar] [CrossRef]
- Bi, X.; Feng, Y.; Wu, J.; Wang, Y.; Zhu, T. Source apportionment of PM10 in six cities of northern China. Atmos. Environ. 2007, 41, 903–912. [Google Scholar] [CrossRef]
- Wang, Z.; Wu, T.; Shi, G.; Fu, X.; Tian, Y.; Feng, Y.; Wu, X.; Wu, G.; Bai, Z.; Zhang, W. Potential source analysis for PM10 and PM2.5 in autumn in a northern city in China. Aerosol Air Qual. Res. 2012, 12, 39–48. [Google Scholar] [CrossRef] [Green Version]
- Begum, B.A.; Biswas, S.K.; Markwitz, A.; Hopke, P.K. Identification of sources of fine and coarse particulate matter in Dhaka, Bangladesh. Aerosol Air Qual. Res. 2010, 10, 345–353. [Google Scholar] [CrossRef]
- Feng, Y.; Peng, L.; Wu, J.; Zhu, T.; Lv, A.; Zhang, K. Analytic studies on source of TSP and PM10 in environmental air of Urumchi city. China Environ. Sci. 2005, 25, 30–33. [Google Scholar]
- Ariola, V.; D’Alessandro, A.; Lucarelli, F.; Marcazzan, G.; Mazzei, F.; Nava, S.; Garcia-Orellana, I.; Prati, P.; Valli, G.; Vecchi, R. Elemental characterization of PM10, PM2.5 and PM1 in the town of Genoa (Italy). Chemosphere 2006, 62, 226–232. [Google Scholar] [CrossRef]
- Chan, Y.C.; Simpson, R.W.; Tainsh, G.; Vowles, P.D.; Bailey, G.M. Characterization of Chemical Species in PM2.5 and PM10 Aerosols in Brisbane, Australia. Atmos. Environ. 1997, 31, 3773–3785. [Google Scholar] [CrossRef]
- Lv, D.; Chen, Y.; Zhu, T.; Li, T.; Shen, F.; Li, X.; Mehmood, T. The pollution characteristics of PM10 and PM2.5 during summer and winter in Beijing, Suning and Islamabad. Atmos. Pollut. Res. 2019, 10, 1159–1164. [Google Scholar] [CrossRef]
- Cheng, M.D.; Hopke, P.K.; Zeng, Y. A receptor-oriented methodology for determining source regions of particulate sulfate observed at Dorset, Ontario. J. Geophys. Res. Atmos. 1993, 98, 16839–16849. [Google Scholar] [CrossRef]
- Artaxo, P.; Oyola, P.; Martinez, R. Aerosol composition and source apportionment in Santiago de Chile. Nucl. Instrum. Methods Phys. Res. Sect. B Beam Interact. Mater. At. 1999, 150, 409–416. [Google Scholar] [CrossRef]
- Chakraborty, A.; Gupta, T. Chemical characterization and source apportionment of submicron (PM1) aerosol in Kanpur region, India. Aerosol Air Qual. Res. 2010, 10, 433–445. [Google Scholar] [CrossRef]
- Terzi, E.; Argyropoulos, G.; Bougatioti, A.; Mihalopoulos, N.; Nikolaou, K.; Samara, C. Chemical composition and mass closure of ambient PM10 at urban sites. Atmos. Environ. 2010, 44, 2231–2239. [Google Scholar] [CrossRef]
- Ambade, B.; Ghosh, S. Characterization of PM10 in the ambient air during Deepawali festival of Rajnandgaon district, India. Nat. Hazards 2013, 69, 589–598. [Google Scholar] [CrossRef]
- Cao, J.; Shen, Z.; Chow, J.C.; Qi, G.; Watson, J.G. Seasonal variations and sources of mass and chemical composition for PM10 aerosol in Hangzhou, China. Particuology 2009, 7, 161–168. [Google Scholar] [CrossRef]
- Song, F.; Liu, Y.; Fan, X. Effects of cultivation measures on AM fungal community structure in agro-ecological system. Mycosystema 2018, 37, 988–998. [Google Scholar]
- Wang, X.; Ma, K.; Wang, Z.; Li, Y.; Wei, C. Effects of no-tillage, mulching and organic fertiliation on soil microbial composition in winter wheat field. Chin. J. Eco-Agric. 2019, 27, 267–276. [Google Scholar]
- Min, X.; Li, X.; Li, Q. Influence of mechanical compaction on reclaimed soil particle size distribution multifractal characteristics. Trans. Chin. Soc. Agric. Eng. 2017, 33, 274–283. [Google Scholar]
- Wang, S.; Cao, Y.; Feng, Q.; Guo, L.; Liang, H.; Wang, X.; Han, H.; Ning, T. Impacts of conservation tillage on soil particulate composition and distribution of soil carbon and nitrogen in brown soil. J. Plant Nutr. Fertil. 2019, 25, 792–804. [Google Scholar]
- Feng, X.; Gao, H.; Li, H.; Wang, X. In Atmospheric Environment PM10 by Wind Erosion from Farmlands. In Proceedings of the International Academic Annual Meeting of China Agricultural Machinery Society, Hangzhou, China, 28 December 2012. [Google Scholar]
- Tang, Z.; Li, Y.; Xu, L.; Li, H.; Pang, J. Experiment and evaluating indicators of wheat threshing and separating on test-bed of longitudinal axial-threshing unit. Trans. Chin. Soc. Agric. Eng. 2012, 28, 14–19. [Google Scholar]
- Xu, L.; Li, Y.; Li, Y.; Chai, X.; Qiu, J. Research Progress on Cleaning Technology and Device of Grain Combine Harvester. Trans. Chin. Soc. Agric. Mach. 2019, 50, 1–16. [Google Scholar]
- Xu, T.; Shen, Y.; Gao, L.; Liu, Z.; Zhang, X.; Lu, C. Dynamic simulation analysis of spring-finger cylinder peanut pickup mechanism. J. Shenyang Agric. Univ. 2016, 47, 192–198. [Google Scholar]
- Chen, Z.; Gao, L.; Chen, C.; Butts, C.L. Analysis on technology status and development of peanut harvest mechanization of China and the United States. Trans. Chin. Soc. Agric. Mach. 2017, 48, 1–21. [Google Scholar]
- The National Cooperative Group on Childhood Asthma; Institute of Environmental Health and Related Product Safety. Third nationwide survey of childhood asthma in urban areas of China. Chin. J. Pediatrics 2013, 51, 729–735. [Google Scholar]
- Wang, Q.; Bai, X.; Xu, D. Air Pollutants-Asthma Triggers and Mechanisms. J. Environ. Health 2009, 26, 551–553. [Google Scholar]
- Guo, C.; Lv, S.; Liu, Y.; Li, Y. Biomarkers for the adverse effects on respiratory system health associated with atmospheric particulate matter exposure. J. Hazard. Mater. 2022, 421, 126760. [Google Scholar] [CrossRef] [PubMed]
- Yang, L.; Zhang, H.; Zhang, X.; Xing, W.; Wang, Y.; Bai, P.; Zhang, L.; Hayakawa, K.; Toriba, A.; Tang, N. Exposure to atmospheric particulate matter-bound polycyclic aromatic hydrocarbons and their health effects: A review. Int. J. Environ. Res. Public Health 2021, 18, 2177. [Google Scholar] [CrossRef] [PubMed]
- Mukherjee, A.; Agrawal, M. World air particulate matter: Sources, distribution and health effects. Environ. Chem. Lett. 2017, 15, 283–309. [Google Scholar] [CrossRef]
- Song, J.; Xu, B.; Shen, K. Effect of particulate matter on asthma. Chin. J. Appl. Clin. Pediatrics 2020, 35, 1272–1273. [Google Scholar]
- Thomas, R.J. Particle size and pathogenicity in the respiratory tract. Virulence 2013, 4, 847–858. [Google Scholar] [CrossRef] [Green Version]
- Stahlhofen, W.; Gebhart, J.; Heyder, J. Experimental determination of the regional deposition of aerosol particles in the human respiratory tract. Am. Ind. Hyg. Assoc. J. 1980, 41, 385–398a. [Google Scholar] [CrossRef]
- Wang, H.; Jin, Y. Thestudyonairpollutioneffectsonthe mechanismofrespiratorysystem. Sci. Travel Medince 2001, 7, 29–33. [Google Scholar]
- Tecer, L.H.; Alagha, O.; Karaca, F.; Tuncel, G.; Eldes, N. Particulate matter (PM2.5, PM10–2.5, and PM10) and children’s hospital admissions for asthma and respiratory diseases: A bidirectional case-crossover study. J. Toxicol. Environ. Health Part A 2008, 71, 512–520. [Google Scholar] [CrossRef] [PubMed]
- Laurent, O.; Hu, J.; Li, L.; Kleeman, M.J.; Bartell, S.M.; Cockburn, M.; Escobedo, L.; Wu, J. Low birth weight and air pollution in California: Which sources and components drive the risk? Environ. Int. 2016, 92, 471–477. [Google Scholar] [CrossRef] [PubMed]
- Liu, Y.; Xu, J.; Chen, D.; Sun, P.; Ma, X. The association between air pollution and preterm birth and low birth weight in Guangdong, China. BMC Public Health 2019, 19, 3. [Google Scholar] [CrossRef] [PubMed]
- Martinelli, N.; Olivieri, O.; Girelli, D.J.E.; John, O.I.M. Air particulate matter and cardiovascular disease: A narrative review. Eur. J. Intern. Med. 2013, 24, 295–302. [Google Scholar] [CrossRef]
- Polichetti, G.; Cocco, S.; Spinali, A.; Trimarco, V.; Nunziata, A. Effects of particulate matter (PM10, PM2.5 and PM1) on the cardiovascular system. Toxicology 2009, 261, 1–8. [Google Scholar] [CrossRef]
- Shao, L.; Hu, Y.; Wang, J.; Hou, C.; Yang, Y.; Wu, M. Particle-induced oxidative damage of indoor PM10 from coal burning homes in the lung cancer area of Xuan Wei, China. Atmos. Environ. 2013, 77, 959–967. [Google Scholar] [CrossRef]
- Cheng, J.; Yuan, T.; Wu, Q.; Zhao, W.; Xie, H.; Ma, Y.; Ma, J.; Wang, W. PM10-bound polycyclic aromatic hydrocarbons (PAHs) and cancer risk estimation in the atmosphere surrounding an industrial area of Shanghai, China. Water Air Soil Pollut. 2007, 183, 437–446. [Google Scholar] [CrossRef]
- Brändli, O. Are inhaled dust particles harmful for our lungs? Schweiz. Med. Wochenschr. 1996, 126, 2165–2174. [Google Scholar]
- Srivastava, A. COVID-19 and air pollution and meteorology-an intricate relationship: A review. Chemosphere 2021, 263, 128297. [Google Scholar] [CrossRef]
- Zhu, C.; Maharajan, K.; Liu, K.; Zhang, Y. Role of atmospheric particulate matter exposure in COVID-19 and other health risks in human: A review. Environ. Res. 2021, 198, 111281. [Google Scholar] [CrossRef]
- Comunian, S.; Dongo, D.; Milani, C.; Palestini, P. Air pollution and COVID-19: The role of particulate matter in the spread and increase of COVID-19′s morbidity and mortality. Int. J. Environ. Res. Public Health 2020, 17, 4487. [Google Scholar] [CrossRef]
- Grantz, D.A.; Garner, J.H.B.; Johnson, D.W. Ecological effects of particulate matter. Environ. Int. 2003, 29, 213–239. [Google Scholar] [CrossRef]
- Wang, H. Process and Behavior of Terrestrial Reactive Silica in the Changjiang River and Huanghe River and the Impact of Silica Cycle in the Estuary. Master’s Thesis, First Institute of Oceanography, Ministry of Natural Resources, Qingdao, China, 2019. [Google Scholar]
- Xing, J.; Song, J.; Yuan, H.; Li, X.; Li, N.; Long, A. Dry deposition characteristics of atmospheric reactive silicate at Jiaozhou Bay and its potential ecological effects on marine ecosystem. Acta Ecol. Sin. 2020, 40, 3096–3104. [Google Scholar]
- Xing, J.; Song, J.; Yuan, H.; Li, X.; Li, N.; Duan, L.; Kang, X.; Wang, Q. Fluxes, seasonal patterns and sources of various nutrient species (nitrogen, phosphorus and silicon) in atmospheric wet deposition and their ecological effects on Jiaozhou Bay, North China. Sci. Total Environ. 2017, 576, 617–627. [Google Scholar] [CrossRef] [PubMed]
- Shi, X.; Shen, P.; Zhu, S.; Ji, L.; Zhang, H.; Liu, J.; Chen, B.; Li, Z. A modeling study on anthropogenic aerosol effects based on CMIP6 forcing.part Ⅰ:NUIST model results and corresponding estimation. Trans. Atmos. Sci. 2020, 43, 506–515. [Google Scholar]
- Yang, Y.; Tai, Y.; Zhang, Y. Reviews of harms and analytic technique study of airborne particulates. North. Environ. 2010, 22, 82–87. [Google Scholar]
- McNeill, V.F. Atmospheric aerosols: Clouds, chemistry, and climate. Annu. Rev. Chem. 2017, 8, 427–444. [Google Scholar] [CrossRef]
- Yang, M. A Dust Removal Device for Agricultural Machinery. CN2018203303457, 16 April 2019. [Google Scholar]
- Pollock, D.; Organiscak, J. Technology Airborne dust capture and induced airflow of various spray nozzle designs. Aerosol Sci. 2007, 41, 711–720. [Google Scholar] [CrossRef]
- Han, F.; Liu, J. Flow field characteristics and coal dust removal performance of an arc fan nozzle used for water spray. PLoS ONE 2018, 13, e0203875. [Google Scholar] [CrossRef]
- Wang, P.; Li, Y.; Liu, R.; Tan, X.; Tian, C. Spray characteristics and dust removal efficiency of internal-mixing air atomizing nozzle. J. China Coal Soc. 2019, 44, 1570–1579. [Google Scholar]
- Zhou, Q.; Xu, G.; Chen, Y.; Qin, B.; Zhao, Z.; Guo, C. The development of an optimized evaluation system for improving coal dust suppression efficiency using aqueous solution sprays. Colloids Surf. A Physicochem. Eng. Asp. 2020, 602, 125104. [Google Scholar] [CrossRef]
- Zhang, H.; Nie, W.; Yan, J.; Bao, Q.; Wang, H.; Jin, H.; Peng, H.; Chen, D.; Liu, Z.; Liu, Q. Preparation and performance study of a novel polymeric spraying dust suppression agent with enhanced wetting and coagulation properties for coal mine. Powder Technol. 2020, 364, 901–914. [Google Scholar] [CrossRef]
- Yan, J. Design and Evaluation on Dust Removal Process of Coal Plasma-Pyrolysis Gases for Producing Acetylene and the Development of Absorbents. Master’s Thesis, Zhejiang University, Hangzhou, China, 2018. [Google Scholar]
- Yuan, X.; Chen, X.; Yang, Z.; Yang, F.; Yang, J.; Zhang, W. Effects of humidity on dust removal intensification of bag filters. J. Chem. Eng. Chin. Univ. 2019, 33, 965–971. [Google Scholar]
- Zhang, Y.; Wu, C.; Jiang, Z.; Jiang, L.; Guan, Z.; Wang, G. Design and test of dust suppression system for rice-wheat combine harvesters. Trans. Chin. Soc. Agric. Eng. 2021, 37, 97–105. [Google Scholar]
- Yue, W.; Duan, C.; Xie, D. Simulation of interior flow field in the composite bag filter. Environ. Eng. 2020, 38, 120–125. [Google Scholar]
- Boudhan, R.; Joubert, A.; Durecu, S.; Gueraoui, K. Influence of air humidity on particle filtration performance of a pulse-jet bag filter. J. Aerosol Sci. 2019, 130, 1–9. [Google Scholar] [CrossRef] [Green Version]
- Shim, J.; Joe, Y.-H.; Park, H.-S. Influence of air injection nozzles on filter cleaning performance of pulse-jet bag filter. Powder Technol. 2017, 322, 250–257. [Google Scholar] [CrossRef]
- Gao, M.; Yao, X.; Zhu, Y.; Zhang, Y.; Shi, J.; Shangguan, W. Numerical simulation study of two-stage electrostatic precipitator. China Environ. Sci. 2018, 38, 3698–3703. [Google Scholar]
- Yan, K.; Li, S.; Zheng, Q.; Zhou, J.; Huang, Y.; Liu, Z. Development and application of electrostatic precipitation technology. High Volt. Eng. 2017, 43, 476–486. [Google Scholar]
- Yang, Z.; Zheng, C.; Liu, S.; Guo, Y.; Liang, C.; Wang, Y.; Hu, D.; Gao, X. A combined wet electrostatic precipitator for efficiently eliminating fine particle penetration. Fuel Process. Technol. 2018, 180, 122–129. [Google Scholar] [CrossRef]
- Mizuno, A. Electrostatic precipitation. IEEE Trans. Dielectr. Electr. Insul. 2000, 7, 615–624. [Google Scholar] [CrossRef]
- Cortes, C.; Gil, A. Modeling the gas and particle flow inside cyclone separators. Prog. Energy Combust. Sci. 2007, 33, 409–452. [Google Scholar] [CrossRef]
- Shin, M.S.; Kim, H.S.; Jang, D.S.; Chung, J.D.; Bohnet, M. A numerical and experimental study on a high efficiency cyclone dust separator for high temperature and pressurized environments. Appl. Therm. Eng. 2005, 25, 1821–1835. [Google Scholar] [CrossRef]
- Leith, D.; Mehta, D. Cyclone performance and design. Atmos. Environ. 1973, 7, 527–549. [Google Scholar] [CrossRef]
- Tekam, R.K.; Verma, J.K. Analysis and optimization of design parameters of cyclone precipitator for air pollution control. Int. Res. J. Mod. Eng. Technol. Sci. 2020, 2, 1130–1143. [Google Scholar]
- Wang, C.; Zhang, Y.; Dong, K.; Wang, B.; Li, S.; Xin, R.; Jiang, Y. Enhanced collection of fine particles in a cyclone using ultrasonic vapor with surfactants. Adv. Powder Technol. 2020, 31, 2207–2214. [Google Scholar] [CrossRef]
- Zhang, J.; Jiang, Z.; Che, P.; Liu, Y. Influence of gas velocity on the collection of fine particles in electrostatic cyclone precipitator under magnetic field effect. Environ. Pollut. Control. 2020, 42, 1081–1084, 1089. [Google Scholar]
- McMurry, P.H. A review of atmospheric aerosol measurements. Atmos. Environ. 2000, 34, 1959–1999. [Google Scholar] [CrossRef]
- Chow, J.C. Measurement methods to determine compliance with ambient air quality standards for suspended particles. J. Air Waste Manag. Assoc. 1995, 45, 320–382. [Google Scholar] [CrossRef] [Green Version]
- Lee, K.W.; Liu, B.Y.H. On the minimum efficiency and the most penetrating particle size for fibrous filters. J. Air Pollut. Control. Assoc. 1980, 30, 377–381. [Google Scholar] [CrossRef]
- Zheng, M.; Zhang, Y.; Yan, C.; Zhu, X.; Schauer, J.J.; Zhang, Y. Review of PM2.5 source apportionment methods in China. Acta Sci. Nat. Univ. Pekin. 2014, 50, 1141–1154. [Google Scholar]
- Cui, M.; Wang, X.; Su, H.; Zhang, Y. Chemical Characters and Sources Identification of PM10 in Guangzhou Area. Acta Sci. Nat. Univ. Pekin. 2008, 44, 459–466. [Google Scholar]
- Wu, S.; Zuo, Q.; Lan, T.; Deng, H.; Li, B.; Xu, F.; Shen, W.; Qin, B.; Sun, R.; Tao, S. PAHs in airborne particles from Tianjin in winter season. Environ. Sci. 2004, 25, 13–17. [Google Scholar]
- Huang, L.; Wang, G.; Wang, K. Physicochemical characteristics and long-range transportation of atmospheric particulates during a dust storm episode in Harbin. China Environ. Sci. 2014, 34, 1920–1926. [Google Scholar]
- Dunwoody, C.L. Rapid nitrate loss from PM10 filters. J. Air Pollut. Control. Assoc. 1986, 36, 817–818. [Google Scholar] [CrossRef]
- Zhang, P.; Xu, H.; Hu, Z.; Chen, Y.; Cao, M.; Yu, Z.; Mao, E. Characteristics of agricultural dust emissions from harvesting operations: Case study of a whole-feed peanut combine. Agriculture 2021, 11, 1068. [Google Scholar] [CrossRef]
- Cheng, Z.; Luo, L.; Wang, S.; Wang, Y.; Sharma, S.; Shimadera, H.; Wang, X.; Bressi, M.; de Miranda, R.M.; Jiang, J. Status and characteristics of ambient PM2.5 pollution in global megacities. Environ. Int. 2016, 89, 212–221. [Google Scholar] [CrossRef]
- Zhang, C.; Yu, X.; An, J.; Li, Y.; Zhao, R.; Zhao, B.; Xiao, W. Distribution characteristics of chemical components in aerosol during haze days in north suburban Nanjing. China Environ. Sci. 2018, 38, 2873–2881. [Google Scholar]
- Triantafyllou, E.; Diapouli, E.; Tsilibari, E.M.; Adamopoulos, A.D.; Biskos, G.; Eleftheriadis, K. Assessment of factors influencing PM mass concentration measured by gravimetric & beta attenuation techniques at a suburban site. Atmos. Environ. 2016, 131, 409–417. [Google Scholar]
- Patashnick, H.; Rupprecht, E.G. Continuous PM-10 measurements using the tapered element oscillating microbalance. J. Air Waste Manag. Assoc. 1991, 41, 1079–1083. [Google Scholar] [CrossRef]
- Wang, D. 385 Characteristics of non-volatile and semi-volatile particulate matters in PM2.5 in Shanghai during winter and spring. China Environ. Sci. 2013, 33, 385–391. [Google Scholar]
- Wang, Q.; Deng, Q.; Tang, M.; Liu, W. Mass concentration and variations of particulate matters PM10 in suburban air of Changsha, China. J. Cent. South Univ. Sci. Technol. 2010, 41, 2419–2423. [Google Scholar]
- Olin, J.G.; Sem, G. Piezoelectric microbalance for monitoring the mass concentration of suspended particles. Atmos. Environ. 1971, 5, 653–668. [Google Scholar] [CrossRef]
- Zhao, J.; Liu, M.; Liang, L.; Wang, W.; Xie, J.J.S.; Physical, A.A. Airborne particulate matter classification and concentration detection based on 3D printed virtual impactor and quartz crystal microbalance sensor. Sens. Actuators A Phys. 2016, 238, 379–388. [Google Scholar] [CrossRef]
- Mie, G. Beiträge zur Optik trüber Medien, speziell kolloidaler Metallösungen. Ann. Phys. 1908, 330, 377–445. [Google Scholar] [CrossRef]
- Wang, X.; Chancellor, G.; Evenstad, J.; Farnsworth, J.E.; Hase, A.; Olson, G.M.; Sreenath, A.; Agarwal, J.K. A novel optical instrument for estimating size segregated aerosol mass concentration in real time. Aerosol Sci. 2009, 43, 939–950. [Google Scholar] [CrossRef]
- Levy Zamora, M.; Xiong, F.; Gentner, D.; Kerkez, B.; Kohrman-Glaser, J.; Koehler, K. Field and Laboratory Evaluations of the Low-Cost Plantower Particulate Matter Sensor. Environ. Sci. Technol. 2019, 53, 838–849. [Google Scholar] [CrossRef]
- Guo, Q.; Zhu, Z.; Cheng, Z.; Xu, S.; Wang, X.; Duan, Y. Correction of light scattering-based total suspended particulate measurements through machine learning. Atmosphere 2020, 11, 139. [Google Scholar] [CrossRef] [Green Version]














| Membrane Material | Application Occasion | Percentage (%) |
|---|---|---|
| Quartz fiber | Organic matter analysis | 47 |
| Teflon | Inorganic matter analysis | 26 |
| Polypropylene | High temperature, strong acid, and alkali | 8 |
| Glass fiber | Large flow, high concentration | 8 |
| Item | Content | References |
|---|---|---|
| Component | Minerals (Si, Al, Ca, Mg, Fe, Ti, and K), | [6,7,8,9,17,18,19,20,21,22,23,24,25] |
| Trace elements (Cd, Cr, Cu, Mn, Pb, V, Zn, Te, Co, Ni, Se, Sr, As, and Sb), | ||
| Water-soluble ions (Cl−, , , Na+, K+, NH4+, Ca2+, and Mg2+), | ||
| Carbonaceous compounds (plant fiber, animal hair, cutin, dander, and sugar), | ||
| Hazards to human health | Risk of inducing spreading various diseases such as reduced respiratory function, low birth weight, cardiovascular disease, cancer, COVID-19 | [35,36,37,38,39,40,41,42,43,44,45,46,47,48,49,50,51,52,53,54] |
| Impact on the Environment | Absorb or scatter sunlight, reduce atmospheric visibility, weaken solar radiation, affect environmental thermal balance, long distance transmission, deposition, parasol effect, greenhouse effect. | [55,56,57,58,59,60,61] |
| Suppression Technology | Working Principle | Advantages | Disadvantages | References |
|---|---|---|---|---|
| Atomization dust suppression | Adsorption of dust particles by fine droplets. | Simple structure and easy maintenance | Need to supply clean water | [62,63,64,65,66,67] |
| Bag filters | Adsorption of dust particles by filter bag. | High dust removal efficiency and stable operation | Blocking at high humidity | [68,69,70,71,72,73] |
| Electrostatic precipitator | Adsorption of charged dust particles by electrodes. | High dust removal efficiency and low resistance | Complex structure, large volume, and high cost | [74,75,76,77] |
| Cyclone dust collector | Centrifugal force of dust particles. | Simple structure and high efficiency for large particles | Reduced capture efficiency for small particles | [78,79,80,81,82,83] |
| Measurement Methods | Working Principle | Advantages | Disadvantages | References |
|---|---|---|---|---|
| Gravimetric analysis | Adsorption of particulate matter by filter membrane. | Simple principle | High time cost for measurement | [86,87,88,89,90,91,92] |
| Beta attenuation | The attenuation of beta-ray caused by the adsorption of particulate matter by the filter membrane. | High precision and high time resolution | Complex structure, large volume and high cost | [93,94,95] |
| TEOM | The oscillation frequency varies with the mass of the particulate matter adsorbed by the filter membrane. | High precision and high time resolution | Complex structure, large volume and high cost | [96,97,98] |
| Piezoelectric crystal | The oscillation frequency varies with the mass of particles adsorbed by the electrode. | High sensitivity | Difficult to maintain | [99,100] |
| Light scattering | Scattering of light. | Fast response, high sensitivity, small size, and low cost | Need to be corrected before leaving the factory and after use for a period of time | [101,102,103,104] |
Publisher’s Note: MDPI stays neutral with regard to jurisdictional claims in published maps and institutional affiliations. |
© 2022 by the authors. Licensee MDPI, Basel, Switzerland. This article is an open access article distributed under the terms and conditions of the Creative Commons Attribution (CC BY) license (https://creativecommons.org/licenses/by/4.0/).
Share and Cite
Liu, Y.; Shao, L.; Wang, W.; Chen, J.; Zhang, H.; Yang, Y.; Hu, B. Study on Fugitive Dust Control Technologies of Agricultural Harvesting Machinery. Agriculture 2022, 12, 1038. https://doi.org/10.3390/agriculture12071038
Liu Y, Shao L, Wang W, Chen J, Zhang H, Yang Y, Hu B. Study on Fugitive Dust Control Technologies of Agricultural Harvesting Machinery. Agriculture. 2022; 12(7):1038. https://doi.org/10.3390/agriculture12071038
Chicago/Turabian StyleLiu, Yuan, Long Shao, Wanzhang Wang, Jinfan Chen, Heng Zhang, Yue Yang, and Baichen Hu. 2022. "Study on Fugitive Dust Control Technologies of Agricultural Harvesting Machinery" Agriculture 12, no. 7: 1038. https://doi.org/10.3390/agriculture12071038
APA StyleLiu, Y., Shao, L., Wang, W., Chen, J., Zhang, H., Yang, Y., & Hu, B. (2022). Study on Fugitive Dust Control Technologies of Agricultural Harvesting Machinery. Agriculture, 12(7), 1038. https://doi.org/10.3390/agriculture12071038
