Main Techniques to Reduce Concentrate and Achieve Salt–Organic Separation During Landfill Leachate Treatment Using Low-Rejection Nanofiltration Membranes
Abstract
1. Introduction
- Biological methods of wastewater treatment that include aerobic and anaerobic treatment and “annamox” methods [8];
2. Materials and Methods
2.1. Research Methodology: Techniques to Further Reduce Concentrate Discharges by Separating Organics and Salts
- Select membranes that are more suitable for solving the problems of handling and utilizing landfill leachate concentrate;
- Experimentally determine the dependence of the rejection of different substances and the product flow for different membranes;
- Separate organics and ions to produce concentrates with organics and with salts;
- Investigate the scaling process during landfill leachate treatment with RO and NF membranes;
- Investigate organic fouling;
- Evaluate the required membrane surface and the number of membrane elements in each stage;
- Develop the process of organics and salt separation for reducing concentrate flow.
2.2. Experimental Procedure: Materials and Equipment
3. Discussion of the Results
3.1. Experimental Dependencies
3.2. Separation Results
3.3. Calcium Carbonate Scaling and Supersaturation
3.4. Organic Fouling
3.5. Processing of Results
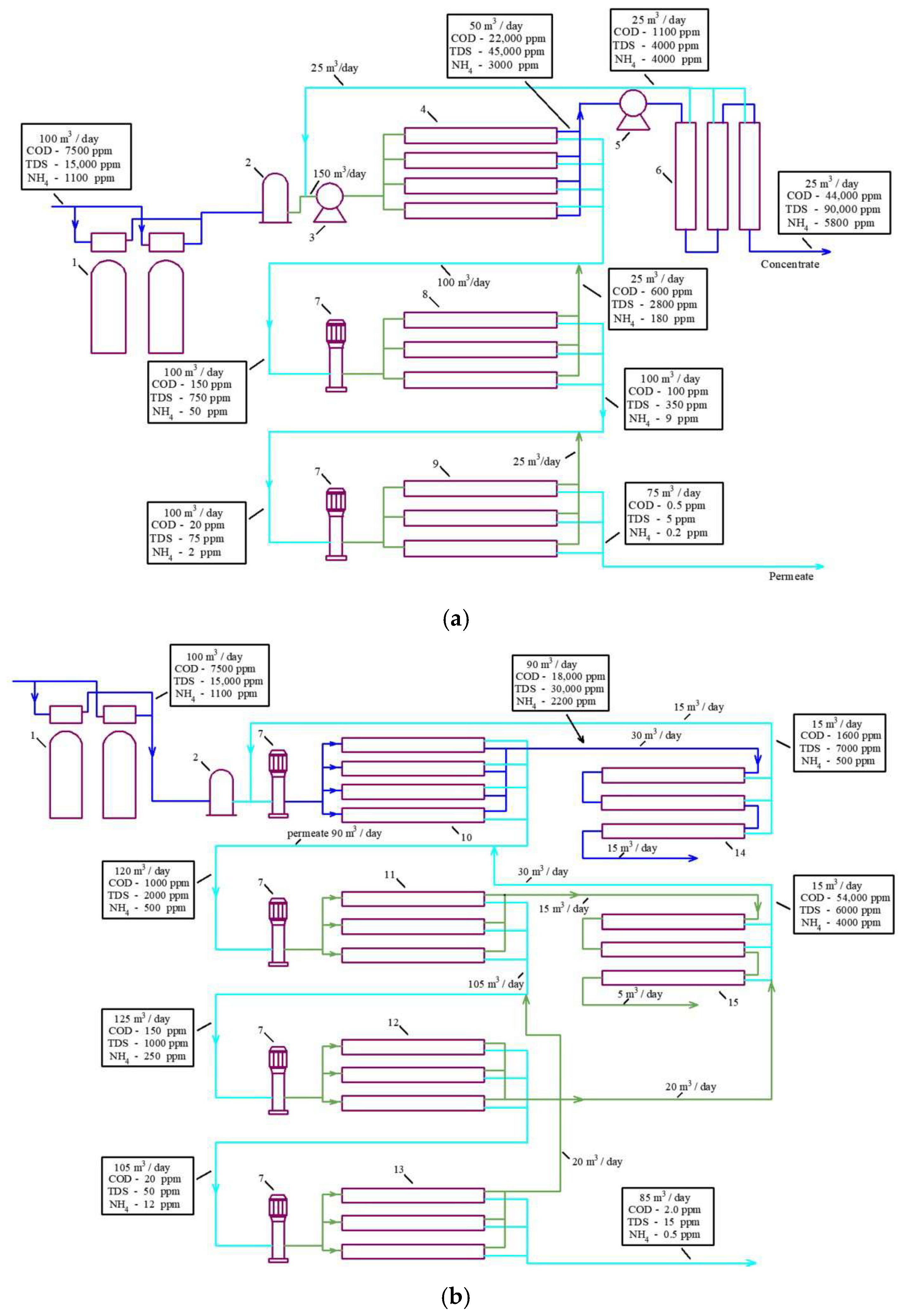
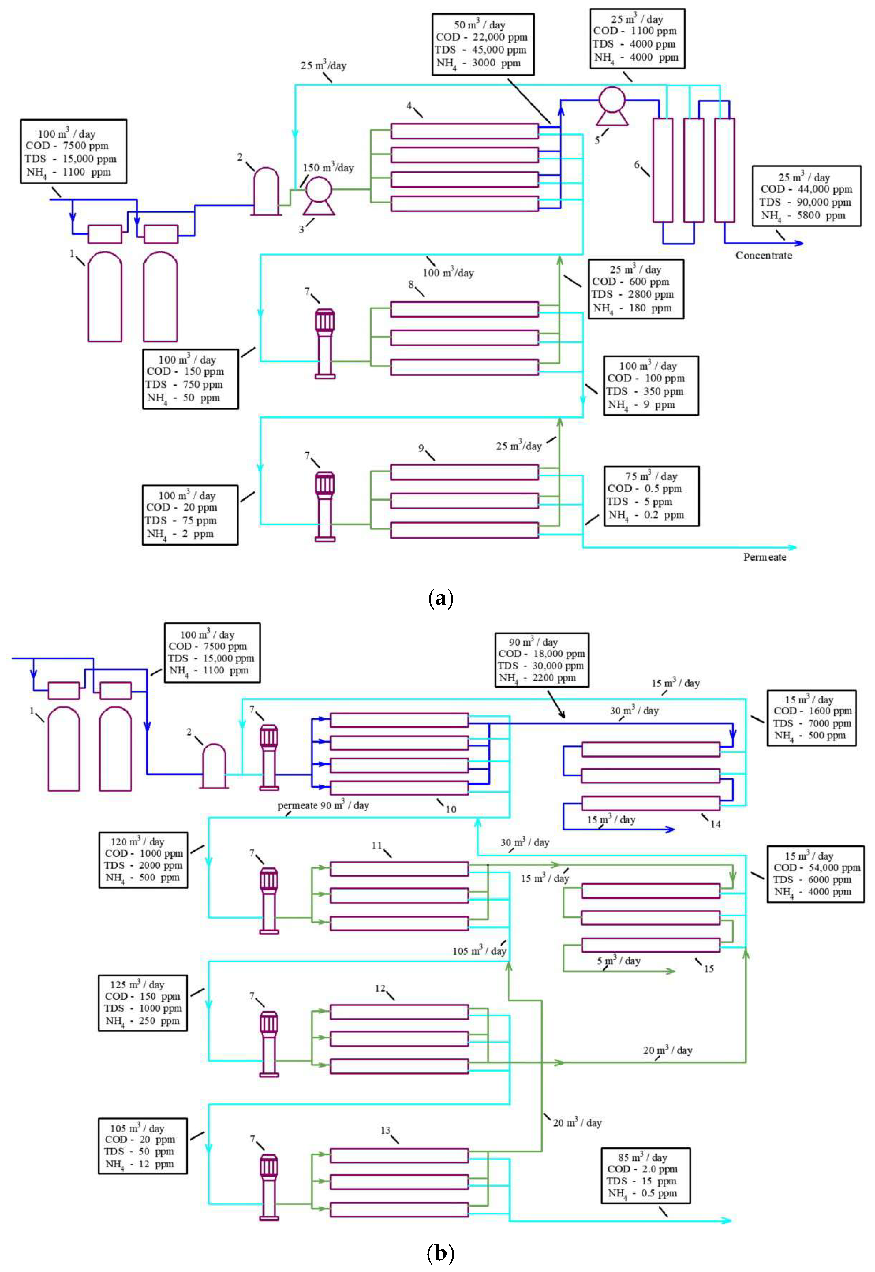
3.6. Industrial Application of the Results
4. Conclusions
- The determined scaling and organic fouling rates are presented and illustrated by SEM photos and spectral analysis performed after membrane autopsies;
- The investigation demonstrated that the formation of calcium carbonate is excluded when using nanofiltration membranes;
- The economical calculations demonstrated the advantages of the new technology based on the use of low-rejection membranes to reduce concentrate flow as compared to conventional high-pressure membrane applications.
Author Contributions
Funding
Data Availability Statement
Acknowledgments
Conflicts of Interest
References
- Ahn, W.-Y.; Kang, M.-S.; Yim, S.-K.; Choi, K.-H. Advanced landfill leachate treatment using an integrated membrane process. Desalination 2002, 149, 109–114. [Google Scholar] [CrossRef]
- Wiszniowski, J.; Robert, D.; Surmacz-Gorska, J.; Miksch, K.; Weber, J.V. Landfill leachate treatment methods: A review. Environ. Chem. Lett. 2006, 4, 51–61. [Google Scholar] [CrossRef]
- Abbas, A.A.; Jingsong, G.; Ping, L.Z.; Ya, P.Y.; Al-Rekabi, W.S. Review on Landfill Leachate Treatments. Am. J. Appl. Sci. 2009, 6, 672–684. [Google Scholar] [CrossRef]
- Qin, R. Overview of landfill leachate treatment technology. E3S Web Conf. 2023, 375, 03006. [Google Scholar] [CrossRef]
- Mojiri, A.; Zhou, J.L.; Ratnaweera, H.; Ohashi, A.; Ozaki, N.; Kindaichi, T.; Asakura, H. Treatment of landfill leachate with different techniques: An overview. J. Water Reuse Desalination 2020, 11, 66–96. [Google Scholar] [CrossRef]
- Chianese, A.; Ranauro, R.; Verdone, N. Treatment of landfill leachate by reverse osmosis. Water Res. 1999, 33, 647–652. [Google Scholar] [CrossRef]
- Topal, A.D.; Atasoy, A.D. Reverse osmosis treatment system for landfill leachate: Operation conditions, advantages and challenges. Environ. Res. Technol. 2022, 5, 119–127. [Google Scholar] [CrossRef]
- Žgajnar Gotvajn, A.; Derco, J.; Tišler, T.; Cotman, M.; Zagorc-Končan, J. Removal of organics from different types of landfill leachate by ozonation. Water Sci. Technol. 2009, 60, 597–603. [Google Scholar] [CrossRef]
- Tejera, J.; Hermosilla, D.; Miranda, R.; Gascó, A.; Alonso, V.; Negro, C.; Blanco, Á. Assessing an Integral Treatment for Landfill Leachate Reverse Osmosis Concentrate. Catalysts 2020, 10, 1389. [Google Scholar] [CrossRef]
- Chaudhari, L.B.; Murthy, Z. Treatment of landfill leachates by nanofiltration. J. Environ. Manag. 2010, 91, 1209–1217. [Google Scholar] [CrossRef] [PubMed]
- Mariam, T.; Nghiem, L.D. Landfill leachate treatment using hybrid coagulation-nanofiltration processes. Desalination 2010, 250, 677–681. [Google Scholar] [CrossRef]
- Marks, A.L.; Luthy, R.G.; Diwekar, U.M. Semi-Continuous evaporation model for leachate treatment process evaluation. Environ. Prog. 1994, 13, 278–288. [Google Scholar] [CrossRef]
- Abu Sharkh, B.; Al-Amoudi, A.A.; Farooque, M.; Fellows, C.M.; Ihm, S.; Lee, S.; Li, S.; Voutchkov, N. Seawater desalination concentrate—A new frontier for sustainable mining of valuable minerals. Npj Clean Water 2022, 5, 1–16. [Google Scholar] [CrossRef]
- Di Palma, L.; Ferrantelli, P.; Merli, C.; Petrucci, E. Treatment of industrial landfill leachate by means of evaporation and reverse osmosis. Waste Manag. 2002, 22, 951–955. [Google Scholar] [CrossRef] [PubMed]
- Gripa, E.; Daflon, S.D.A.; de Almeida, R.; da Fonseca, F.V.; Campos, J.C. Landfill leachate treatment by high-pressure membranes and advanced oxidation techniques with a focus on ecotoxicity and by-products management: A review. Process. Saf. Environ. Prot. 2023, 173, 747–764. [Google Scholar] [CrossRef]
- Tałałaj, I.A.; Bartkowska, I.; Biedka, P. Treatment of young and stabilized landfill leachate by integrated sequencing batch reactor (SBR) and reverse osmosis (RO) process. Environ. Nanotechnol. Monit. Manag. 2021, 16, 100502. [Google Scholar] [CrossRef]
- Linde, K.; Jönsson, A.-S.; Wimmerstedt, R. Treatment of three types of landfill leachate with reverse osmosis. Desalination 1995, 101, 21–30. [Google Scholar] [CrossRef]
- Shirkova, T.; Pervov, A.; Kiryushina, M. Development of a new technique to treat municipal waste landfill leachate with low pressure reverse osmosis and nanofiltration membranes. ESU (Euroasia Sci.) 2020, 74, 11–19. [Google Scholar]
- Pervov, A.; Shirkova, T.; Frenkel, V. New technology to treat leachate by low pressure reverse osmosis. Desalination Water Treat. 2022, 259, 230–243. [Google Scholar] [CrossRef]
- Pervov, A.G. Scale formation prognosis and cleaning procedure schedules in reverse osmosis systems operation. Desalination 1991, 83, 77–118. [Google Scholar] [CrossRef]
- Demir, I.; Koyuncu, I.; Guclu, S.; Yildiz, S.; Balahorli, V.; Caglar, S.; Turken, T.; Pasaoglu, M.E.; Kaya, R.; Sengur-Tasdemir, R. An Autopsy of Nanofiltration Membrane Used for Landfill Leachate Treatment. Sci. World J. 2015, 2015, 850530. [Google Scholar] [CrossRef] [PubMed]
- Hilal, N.; Al-Zoubi, H.; Mohammad, A.W.; Darwish, N.A. Nanofiltration of highly concentrated salt solutions up to seawater salinity. Desalination 2005, 184, 315–326. [Google Scholar] [CrossRef]
- de Almeida, R.; Campos, J.C. Membranes in Landfill Leachate Treatment: Evaluation of the Generated Concentrate. Landfill Leachate Treat. Tech. 2024, 159–175. [Google Scholar] [CrossRef]
- Pervov, A.G.; Andrianov, A.P. Application of membranes to treat wastewater for its recycling and reuse: New considerations to reduce fouling and increase recovery up to 99 percent. Desalination Water Treat. 2011, 35, 2–9. [Google Scholar] [CrossRef]
- Pervov, A. Investigation of Scaling and Inhibition Mechanisms in Reverse Osmosis Spiral Wound Elements. Membranes 2022, 12, 852. [Google Scholar] [CrossRef]
- Ahmad, N.N.R.; Ang, W.L.; Teow, Y.H.; Mohammad, A.W.; Hilal, N. Nanofiltration membrane processes for water recycling, reuse and product recovery within various industries: A review. J. Water Process. Eng. 2022, 45, 102478. [Google Scholar] [CrossRef]
- Mohammad, A.; Hilal, N.; Al-Zoubi, H.; Darwish, N. Prediction of permeate fluxes and rejections of highly concentrated salts in nanofiltration membranes. J. Membr. Sci. 2007, 289, 40–50. [Google Scholar] [CrossRef]
- Turek, M.; Mitko, K.; Piotrowski, K.; Dydo, P.; Laskowska, E.; Jakóbik-Kolon, A. Prospects for high water recovery membrane desalination. Desalination 2017, 401, 180–189. [Google Scholar] [CrossRef]
- Yoon, Y.; Lueptow, R. Removal of organic contaminants by RO and NF membranes. J. Membr. Sci. 2005, 261, 76–86. [Google Scholar] [CrossRef]
- Wilf, M. The Guidebook to Membrane Technology for Wastewater Reclamation; Balaban Desalination Publications: Hopkinton, MA, USA, 2010; pp. 401–438. Available online: https://www.amazon.com/Guidebook-Membrane-Technology-Wastewater-Reclamation/dp/086689067X (accessed on 26 January 2010).
- Winters, H. Control of organic fouling at two seawater reverse osmosis plants. Desalination 1987, 66, 319–325. [Google Scholar] [CrossRef]
- Zhou, D.; Zhu, L.; Fu, Y.; Zhu, M.; Xue, L. Development of lower cost seawater desalination processes using nanofiltration technologies—A review. Desalination 2015, 376, 109–116. [Google Scholar] [CrossRef]
- Wang, Z.; Deshmukh, A.; Du, Y.; Elimelech, M. Minimal and zero liquid discharge with reverse osmosis using low-salt-rejection membranes. Water Res. 2020, 170, 115317. [Google Scholar] [CrossRef] [PubMed]
- de Almeida, R.; Couto, J.M.d.S.; Gouvea, R.M.; Oroski, F.d.A.; Bila, D.M.; Quintaes, B.R.; Campos, J.C. Nanofiltration applied to the landfill leachate treatment and preliminary cost estimation. Waste Manag. Res. 2020, 38, 1119–1128. [Google Scholar] [CrossRef] [PubMed]
- Weber, B.; Holz, F. Landfill Leachate Treatment by Reverse Osmosis. In Effective Industrial Membrane Processes–Benefits and Opportunities; Springer: Dordrecht, The Netherlands, 1991; pp. 143–154. [Google Scholar] [CrossRef]
- de Almeida, R.; Bila, D.M.; Quintaes, B.R.; Campos, J.C. Cost estimation of landfill leachate treatment by reverse osmosis in a Brazilian landfill. Waste Manag. Res. 2020, 38, 1087–1092. [Google Scholar] [CrossRef] [PubMed]
















| Parameters | Landfill 1 (“Timokhovo”) | Landfill 2 (“Aleksandrov”) | Landfill 3 (“Voskresensk”) |
|---|---|---|---|
| Suspended solids, ppm | 220 | 329 | — |
| COD, ppm | 20,000 | 4387 | 7500 |
| BOD, ppm | 915 | 2690 | — |
| Ammonium (NH4+), ppm | 2400 | 380 | 1100 |
| Nitrates (NO3−), ppm | 59 | — | — |
| Alkalinity, ppm | 13,546 | 760 | 760 |
| Chlorides (Cl−), ppm | 2700 | 980 | — |
| Sulfate (SO42−), ppm | 1200 | 86 | 860 |
| Total hardness, milliequivalents/liter | 20 | 5.5 | 27 |
| pH | 8.9 | 7.7 | — |
| Na++K+, ppm | 1000 | — | — |
| Phenols, ppm | 0.2 | — | — |
| TDS, ppm | 9000 | 3580 | 15,000 |
| Investigated Solution Parameters | Parameters | Feed Water ppm/π, bars | Permeate, ppm/bars | Concentrate, ppm/bars | Permeate, ppm/bars | Concentrate, ppm/bars | ||||
|---|---|---|---|---|---|---|---|---|---|---|
| K = 3 | K = 9 | K = 3 | K = 9 | K = 20 | K = 30 | K = 20 | K = 30 | |||
| Landfill N 1 “Timokhovo” Solution 1 | NaCl | 15,000/10 | 5000/3.5 | 11,000/8 | 25,000/18 | 35,000/25 | — | — | — | — |
| COD | 20,000/3.0 | 2000/0.3 | 6000/0.9 | 56,000/9 | 180,000/25 | — | — | — | — | |
| π | 13.0 | 3.83 | 8.9 | 27 | 50 | — | — | — | — | |
| Landfill N 1 “Timokhovo” Solution 2 (after dilution 1:3) | NaCl | 8000/5.5 | 3000/2.0 | 5000/3.3 | 15,000/10 | 25,000/18 | — | — | — | — |
| COD | 20,000/3.0 | 2000/0.3 | 5000/0.8 | 55,000/9 | 150,000/22 | — | — | — | — | |
| π | 8.5 | 2.3 | 4.1 | 19 | 30 | — | — | — | — | |
| Landfill N 1 “Timokhovo” Solution 3 (after dilution 1:10) | NaCl | 2500/1.8 | 8000/0.6 | 15,000/1.1 | 4500/3 | 8000/5.1 | — | — | — | — |
| COD | 15,000/2.2 | 1500/0.22 | 4500/0.66 | 45,000/6.7 | 120,000/18 | — | — | — | — | |
| π | 4.0 | 0.82 | 1.76 | 9.7 | 23.1 | — | — | — | — | |
| Landfill N 2 “Aleksandrov” Solution 1 | NaCl | 4000/2.6 | 1300/500 | — | 7000/4.5 | 11,000/6.8 | — | — | 17,000/11 | — |
| COD | 5000/0.8 | — | — | 14,000/2.1 | 27,000/4 | — | — | 59,000/9.5 | — | |
| π | 3.4 | — | — | 6.6 | 10.8 | — | — | 20.5 | — | |
| Landfill N 2 “Aleksandrov” Solution 2 (after dilution 1:20) | NaCl | 850/0.5 | 300/0.2 | 700/0.5 | 1600/1.1 | 2500/1.8 | 1000/0.7 | 1300/0.9 | 3800/2.6 | 4600/3.1 |
| COD | 2600/0.4 | 260/0.04 | 750/0.11 | 6500/1.1 | 19,000/2.6 | 1900/0.3 | 2800/0.45 | 38,000/5.2 | 54,000/9.0 | |
| π | 0.9 | 0.24 | 0.65 | 2.2 | 4.4 | 1.0 | 1.35 | 7.8 | 12.1 | |
| Ratio: Concentration, Gram/Liter; Osmotic Pressure, Bars | ||||||||||||||
|---|---|---|---|---|---|---|---|---|---|---|---|---|---|---|
| Investigated Solution Parameters | Parameters | Feed Water | Permeate | Concentrate | Permeate | Concentrate | Osmotic Pressure Difference, p | |||||||
| K = 3 | K = 9 | K = 3 | K = 9 | K = 20 | K = 30 | K = 20 | K = 30 | K = 3 | K = 9 | K = 20 | K = 30 | |||
| Solution 1 | NaCL, g/L | 15/10 | 5.0/5 | 7/7.0 | 30/20 | 60/40 | — | — | — | — | 15 | 33 | — | — |
| COD, ppm | 7500/1.0 | 1000/0.12 | 1600/0.2 | 18,000/2.5 | 69,000/9.0 | — | — | — | — | 2.38 | 8.8 | — | — | |
| total, bars | 9.0 | 6.12 | 7.2 | 22.5 | 49,0 | 17.38 | 41.8 | |||||||
| Solution 2 (after dilution 1:10), K = 3 | NaCL, g/L | 3.0/2.0 | 1.0/0.7 | 1.5/1.0 | 6.0/4.0 | 12/8.0 | 3.3 | 7.0 | ||||||
| COD, g/L | 1800/0.25 | 180/0.02 | 400/0.05 | 5000/0.75 | 14,000/2.0 | 0.73 | 1.95 | |||||||
| total, bars | 2.25 | 0.72 | 1.05 | 4.75 | 10.0 | 4.03 | 8.95 | |||||||
| Solution 3 (after next dilution 1:10), K = 9 | NaCL, g/L | 1.2/0.8 | 0.5/0.35 | 0.8/0.5 | 2.4/1.6 | 4.8/3.2 | 1.2/0.8 | 1.8/1.2 | 10/7 | 12/9 | 1.25 | 2.7 | 6.2 | 5.8 |
| COD, g/L | 1400/0.2 | 140/0.016 | 300/0.03 | 4000/0.6 | 11,000/1.7 | 400/0.6 | 800/0.12 | 21,000/3.1 | 30,000/5 | 0.584 | 1.67 | 2.5 | 4.86 | |
| total, bars | 1.0 | 0.36 | 0.53 | 2.2 | 4.9 | 0.86 | 1.32 | 10.1 | 14 | 1.84 | 4.37 | 9.24 | 12.68 | |
| Solution after separation | NaCL, g/L: 75 L | 20/1.3 | 3.1/0.2 | 15/0.12 | 40/2.6 | 70/4.8 | — | — | — | — | 1.5 | 4.68 | ||
| COD, g/L: 25 L | 30,000/4.0 | 3000/0.4 | 6000/0.8 | 85,000/11 | 240,000/30 | — | — | — | — | 10.6 | 29.2 | |||
| Investigated Membrane Models | K | Ca meq/L | HCO3 meq/L | pH | TDS ppm | [CO32−] ppm | ||
|---|---|---|---|---|---|---|---|---|
| First stage of leachate treatment using “nanoNF” membranes | 5 | 81 | — | 6.8 | 21,000 | — | — | 0.1 |
| 10 | 116 | 920 | 7.0 | 30,000 | 0.011 | 0.04 | 0.11 | |
| 20 | 160 | 1200 | 7.2 | 36,000 | 0.018 | 0.1 | 0.17 | |
| 30 | 190 | 1400 | 7.4 | 42,000 | 0.02 | 0.14 | 0.31 | |
| 35 | 196 | 1550 | 7.5 | 47,000 | 0.03 | 0.15 | 0.36 | |
| First stage of leachate treatment using “70NE” membranes | 5 | 100 | — | — | — | — | — | 0.24 |
| 10 | 160 | — | — | — | — | — | 0.3·105 | |
| 20 | 220 | — | — | — | — | — | 0.6·105 | |
| 30 | 240 | — | — | — | — | — | 0.8·105 | |
| 35 | 250 | — | — | — | — | — | 1·105 | |
| Treatment of Moscow tap water using “70NE” membranes | 5 | 8 | — | 7.5 | — | — | — | 0.72 |
| 10 | 15.5 | — | 8.4 | — | — | — | 0.8 | |
| 20 | 26 | — | 9.5 | — | — | — | 1.3 | |
| 30 | 40 | — | 9.6 | — | — | — | 2.0 | |
| 35 | 48 | — | 9.7 | — | — | — | — |
| Operational Characteristics | Seawater RO Membranes Followed by Ultrahigh-Pressure RO (Figure 1a) | Nanofiltration Membranes in the First and Second Stages Followed by Low-Pressure RO Stage (Figure 1b) | Nanofiltration Membranes in the First and Second Stages Followed by Organics–Ion Separation Stages (Figure 16) |
|---|---|---|---|
| Specific power consumption: kWh m−3 | 19 | 3.6 | 4.8 |
| Total number of 8040 spiral wound membrane elements PCS | 61 49—SWRO; 12—Ultrahigh-pressure RO | 42 (NF membranes and RO membranes) | 56 |
| Annual number of cleanings | 8 | 8 | 8 |
| Annual consumption of cleaning chemicals, kg | 192 | 174 | 192 |
| Antiscalant dose, ppm | 10 | — | — |
| Total annual antiscalant consumption, kg | 500 | — | — |
| Concentrate flow, m3/hour | 15.0 | 5.0 | 2.5 |
Disclaimer/Publisher’s Note: The statements, opinions and data contained in all publications are solely those of the individual author(s) and contributor(s) and not of MDPI and/or the editor(s). MDPI and/or the editor(s) disclaim responsibility for any injury to people or property resulting from any ideas, methods, instructions or products referred to in the content. |
© 2025 by the authors. Licensee MDPI, Basel, Switzerland. This article is an open access article distributed under the terms and conditions of the Creative Commons Attribution (CC BY) license (https://creativecommons.org/licenses/by/4.0/).
Share and Cite
Pervov, A.; Spitsov, D.; Shirkova, T. Main Techniques to Reduce Concentrate and Achieve Salt–Organic Separation During Landfill Leachate Treatment Using Low-Rejection Nanofiltration Membranes. Membranes 2025, 15, 308. https://doi.org/10.3390/membranes15100308
Pervov A, Spitsov D, Shirkova T. Main Techniques to Reduce Concentrate and Achieve Salt–Organic Separation During Landfill Leachate Treatment Using Low-Rejection Nanofiltration Membranes. Membranes. 2025; 15(10):308. https://doi.org/10.3390/membranes15100308
Chicago/Turabian StylePervov, Alexei, Dmitry Spitsov, and Tatiana Shirkova. 2025. "Main Techniques to Reduce Concentrate and Achieve Salt–Organic Separation During Landfill Leachate Treatment Using Low-Rejection Nanofiltration Membranes" Membranes 15, no. 10: 308. https://doi.org/10.3390/membranes15100308
APA StylePervov, A., Spitsov, D., & Shirkova, T. (2025). Main Techniques to Reduce Concentrate and Achieve Salt–Organic Separation During Landfill Leachate Treatment Using Low-Rejection Nanofiltration Membranes. Membranes, 15(10), 308. https://doi.org/10.3390/membranes15100308

