A Hybrid NF-FO-RO Process for the Supply of Irrigation Water from Treated Wastewater: Simulation Study
Abstract
1. Introduction
2. Materials and Methods
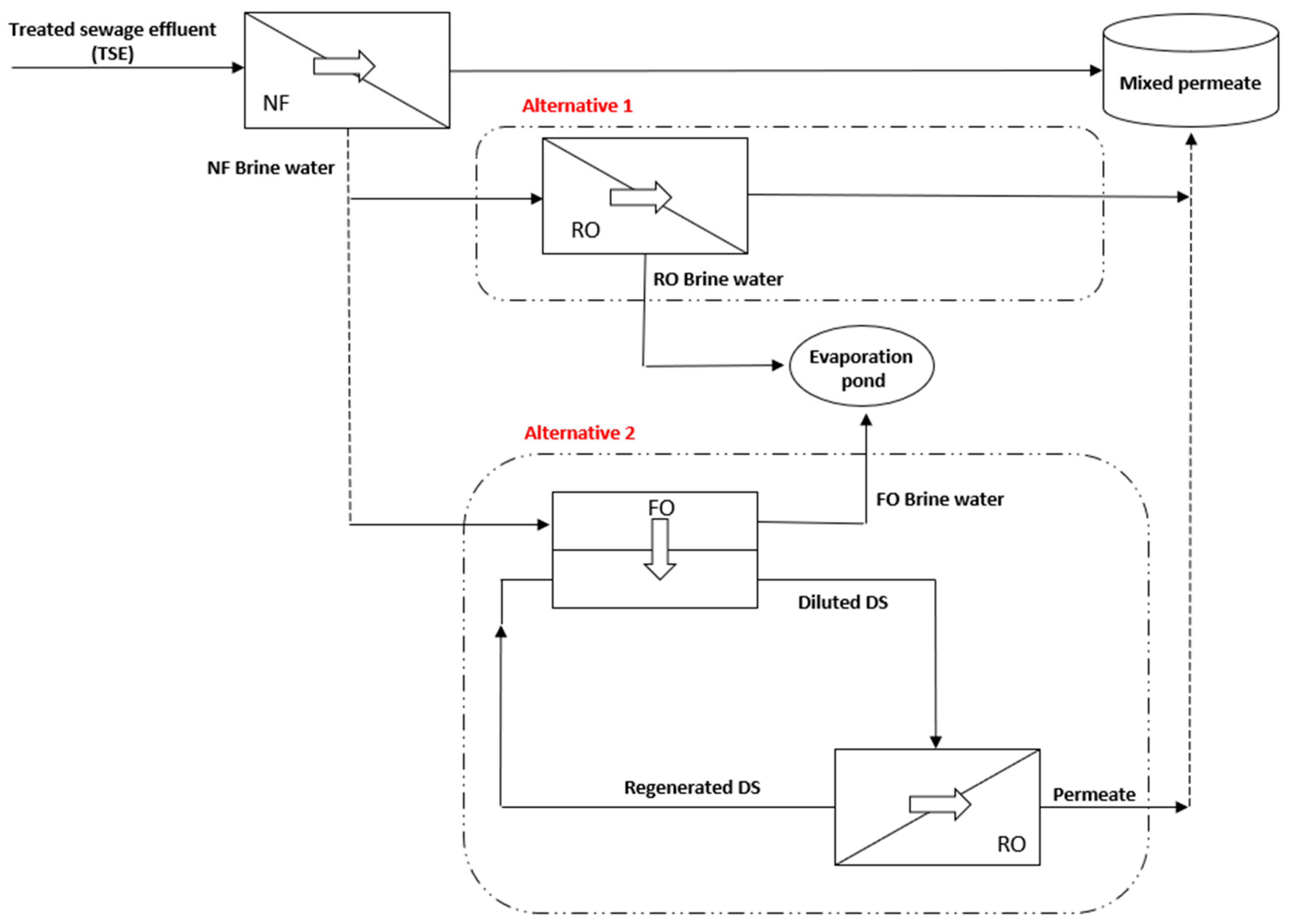
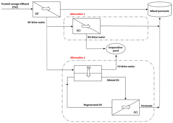
2.1. Methodology
2.2. Materials and Setup
3. Results and Discussion
3.1. Nanofiltration (NF) Process (Stage1)
3.2. Treatment of Concentrated Brine Generated by the NF Process (Stage2)
3.2.1. Reverse Osmosis (RO) Process (Stage 2: Alternative 1)
3.2.2. Hybrid Forward Osmosis (FO)–Reverse Osmosis (RO) process (Stage 2: Alternative 2)
4. Conclusions
Author Contributions
Funding
Data Availability Statement
Acknowledgments
Conflicts of Interest
References
- Jasim, S.Y.; Saththasivam, J.; Loganathan, K.; Ogunbiyi, O.O.; Sarp, S. Reuse of Treated Sewage Effluent (TSE) in Qatar. J. Water Process. Eng. 2016, 11, 174–182. [Google Scholar] [CrossRef]
- Hawari, A.H.; Alkhatib, A.M.; Hafiz, M.; Das, P. A novel electrocoagulation electrode configuration for the re-moval of total organic carbon from primary treated municipal wastewater. Environ. Sci. Pollut. Res. Int. 2020. [Google Scholar] [CrossRef]
- Le, N.L.; Nunes, S.P. Materials and membrane technologies for water and energy sustainability. Sustain. Mater. Technol. 2016, 7, 1–28. [Google Scholar] [CrossRef]
- Jiang, S.; Li, Y.; Ladewig, B.P. A review of reverse osmosis membrane fouling and control strategies. Sci. Total Environ. 2017, 595, 567–583. [Google Scholar] [CrossRef]
- Zhao, S.; Liao, Z.; Fane, A.; Li, J.; Tang, C.; Zheng, C.; Lin, J.; Kong, L. Engineering antifouling reverse osmosis membranes: A review. Desalination 2021, 499, 114857. [Google Scholar] [CrossRef]
- Alfahel, R.; Azzam, R.S.; Hafiz, M.; Hawari, A.H.; Pandey, R.P.; Mahmoud, K.A.; Hassan, M.K.; Elzatahry, A.A. Fabrication of fouling resistant Ti3C2Tx (MXene)/cellulose acetate nanocomposite membrane for forward osmosis application. J. Water Process. Eng. 2020, 38, 101551. [Google Scholar] [CrossRef]
- Alkhouzaam, A.; Qiblawey, H.; Khraisheh, M. Polydopamine Functionalized Graphene Oxide as Membrane Nanofiller: Spectral and Structural Studies. Membranes 2021, 11, 86. [Google Scholar] [CrossRef] [PubMed]
- Alkhouzaam, A.; Qiblawey, H. Novel polysulfone ultrafiltration membranes incorporating polydopamine functionalized graphene oxide with enhanced flux and fouling resistance. J. Membr. Sci. 2021, 620, 118900. [Google Scholar] [CrossRef]
- Awad, A.M.; Jalab, R.; Minier-Matar, J.; Adham, S.; Nasser, M.S.; Judd, S. The status of forward osmosis technology implementation. Desalination 2019, 461, 10–21. [Google Scholar] [CrossRef]
- Phuntsho, S.; Hong, S.; Elimelech, M.; Shon, H.K. Forward osmosis desalination of brackish groundwater: Meeting water quality requirements for fertigation by integrating nanofiltration. J. Membr. Sci. 2013, 436, 1–15. [Google Scholar] [CrossRef]
- Phuntsho, S.; Kim, J.E.; Johir, M.A.; Hong, S.; Li, Z.; Ghaffour, N.; Leiknes, T.; Shon, H.K. Fertiliser drawn forward osmosis process: Pilot-scale desalination of mine impaired water for fertigation. J. Membr. Sci. 2016, 508, 22–31. [Google Scholar] [CrossRef]
- Phuntsho, S.; Shon, H.K.; Hong, S.; Lee, S.; Vigneswaran, S.; Kandasamy, J. Fertiliser drawn forward osmosis desalination: The concept, performance and limitations for fertigation. Rev. Environ. Sci. Bio/Technol. 2011, 11, 147–168. [Google Scholar] [CrossRef]
- Phuntsho, S.; Shon, H.K.; Hong, S.; Lee, S.; Vigneswaran, S. A novel low energy fertilizer driven forward osmosis desalination for direct fertigation: Evaluating the performance of fertilizer draw solutions. J. Membr. Sci. 2011, 375, 172–181. [Google Scholar] [CrossRef]
- Schneider, C.; Oñoro, A.E.; Hélix-Nielsen, C.; Fotidis, I.A. Forward-osmosis anaerobic-membrane bioreactors for brewery wastewater remediation. Sep. Purif. Technol. 2021, 257, 117786. [Google Scholar] [CrossRef]
- Chia, W.Y.; Chia, S.R.; Khoo, K.S.; Chew, K.W.; Show, P.L. Sustainable membrane technology for resource recovery from wastewater: Forward osmosis and pressure retarded osmosis. J. Water Process. Eng. 2021, 39, 101758. [Google Scholar] [CrossRef]
- Salih, H.H.; Dastgheib, S.A. Treatment of a hypersaline brine, extracted from a potential CO2 sequestration site, and an industrial wastewater by membrane distillation and forward osmosis. Chem. Eng. J. 2017, 325, 415–423. [Google Scholar] [CrossRef]
- Kavitha, J.; Rajalakshmi, M.; Phani, A.; Padaki, M. Pretreatment processes for seawater reverse osmosis desalination systems—A review. J. Water Process. Eng. 2019, 32, 100926. [Google Scholar] [CrossRef]
- Arjmandi, M.; Chenar, M.P.; Altaee, A.; Arjmandi, A.; Peyravi, M.; Jahanshahi, M.; Binaeian, E. Caspian seawater desalination and whey concentration through forward osmosis (FO)-reverse osmosis (RO) and FO-FO-RO hybrid systems: Experimental and theoretical study. J. Water Process. Eng. 2020, 37, 101492. [Google Scholar] [CrossRef]
- Alkhouzaam, A.; Qiblawey, H. Functional GO-based membranes for water treatment and desalination: Fabrication methods, performance and advantages. A review. Chemosphere 2021, 274, 129853. [Google Scholar] [CrossRef]
- Singh, N.; Dhiman, S.; Basu, S.; Balakrishnan, M.; Petrinic, I.; Helix-Nielsen, C. Dewatering of sewage for nutrients and water recovery by Forward Osmosis (FO) using divalent draw solution. J. Water Process. Eng. 2019, 31, 100853. [Google Scholar] [CrossRef]
- Mohammad, A.; Teow, Y.; Ang, W.; Chung, Y.; Oatley-Radcliffe, D.; Hilal, N. Nanofiltration membranes review: Recent advances and future prospects. Desalination 2015, 356, 226–254. [Google Scholar] [CrossRef]
- Garcia, C.; Molina, F.; Zarzo, D. 7 year operation of a BWRO plant with raw water from a coastal aquifer for agricultural irrigation. DESALINATION Water Treat. 2011, 31, 331–338. [Google Scholar] [CrossRef]
- Shanmuganathan, S.; Vigneswaran, S.; Nguyen, T.V.; Loganathan, P.; Kandasamy, J. Use of nanofiltration and reverse osmosis in reclaiming micro-filtered biologically treated sewage effluent for irrigation. Desalination 2015, 364, 119–125. [Google Scholar] [CrossRef]
- Touati, K.; Gzara, L.; Mahfoudhi, S.; Bourezgui, S.; Hafiane, A.; Elfil, H. Treatment of coastal well water using ultrafiltration-nanofiltration-reverse osmosis to produce isotonic solutions and drinking water: Fouling behavior and energy efficiency. J. Clean. Prod. 2018, 200, 1053–1064. [Google Scholar] [CrossRef]
- Oron, G.; Gillerman, L.; Bick, A.; Buriakovsky, N.; Manor, Y.; Ben-Yitshak, E.; Katz, L.; Hagin, J. A two stage membrane treatment of secondary effluent for unrestricted reuse and sustainable agricultural production. Desalination 2006, 187, 335–345. [Google Scholar] [CrossRef]
- Hafiz, M.A.; Hawari, A.H.; Altaee, A. A hybrid forward osmosis/reverse osmosis process for the supply of fertilizing solution from treated wastewater. J. Water Process. Eng. 2019, 32, 100975. [Google Scholar] [CrossRef]
- Al-Amoudi, A.S.; Farooque, A.M. Performance restoration and autopsy of NF membranes used in seawater pretreatment. Desalination 2005, 178, 261–271. [Google Scholar] [CrossRef]
- Chon, K.; KyongShon, H.; Cho, J. Membrane bioreactor and nanofiltration hybrid system for reclamation of municipal wastewater: Removal of nutrients, organic matter and micropollutants. Bioresour. Technol. 2012, 122, 181–188. [Google Scholar] [CrossRef] [PubMed]
- Hafiz, M.; Hawari, A.H.; Alfahel, R. Treatment of Wastewater Using Reverse Osmosis for Irrigation Purposes. In Proceedings of the International Conference on Civil Infrastructure and Construction (CIC 2020), Doha, Qatar, 2–5 February 2020; pp. 724–728. [Google Scholar]
- Altaee, A.; Mabrouk, A.; Bourouni, K.; Palenzuela, P. Forward osmosis pretreatment of seawater to thermal desalination: High temperature FO-MSF/MED hybrid system. Desalination 2014, 339, 18–25. [Google Scholar] [CrossRef]
- Zhu, L. Rejection of Organic Micropollutants by Clean and Fouled Nanofiltration Membranes. J. Chem. 2015, 2015, 934318. [Google Scholar] [CrossRef]
- Hafiz, M.; Hawari, A.H.; Alfahel, R.; Hassan, M.K.; Altaee, A. Comparison of Nanofiltration with Reverse Os-mosis in Reclaiming Tertiary Treated Municipal Wastewater for Irrigation Purposes. Membranes 2021, 11, 32. [Google Scholar] [CrossRef] [PubMed]
- PORIFERA. PFO Membrane, 2018.
- PORIFERA. Fertilizer Driven Osmosis and Other Novel FO Desal Applications. Available online: https://ca-nv-awwa.org//canv/downloads/Armando/Miguel/AFC14/SpeakerPresentations/Session9BDesalination/FertilizerDrivenOsmosisandOtherNovelDesalApps.pdf (accessed on 26 January 2021).
- Altaee, A.; Sharif, A.; Zaragoza, G.; Ismail, A.F. Evaluation of FO-RO and PRO-RO designs for power generation and seawater desalination using impaired water feeds. Desalination 2015, 368, 27–35. [Google Scholar] [CrossRef]
- Phillip, W.A.; Yong, J.S.; Elimelech, M. Reverse Draw Solute Permeation in Forward Osmosis: Modeling and Experiments. Environ. Sci. Technol. 2010, 44, 5170–5176. [Google Scholar] [CrossRef] [PubMed]
- Vitagliano, V.; Lyons, P.A. Diffusion Coefficients for Aqueous Solutions of Sodium Chloride and Barium Chloride. J. Am. Chem. Soc. 1956, 78, 1549–1552. [Google Scholar] [CrossRef]
- Ayres, R.S.; Westcot, D.W. FAO Irrigation and Drainage Paper; Food and Agriculture Organization of the United Nations: Rome, Italy, 1985. [Google Scholar]
- Parlar, I.; Hacıfazlıoğlu, M.; Kabay, N.; Pek, T.; Yüksel, M. Performance comparison of reverse osmosis (RO) with integrated nanofiltration (NF) and reverse osmosis process for desalination of MBR effluent. J. Water Process. Eng. 2019, 29, 100640. [Google Scholar] [CrossRef]
- Lejalem, A.; Dagnaw; Chandravanshi, B.; Zewge, F.; Ababa, A. Fluoride content of leafy vegetables, irrigation water, and farmland soil in the rift valley and in non-rift valley areas of Ethiopia. Fluoride 2018, 50, 409–429. [Google Scholar]
- Izadpanah, A.A.; Javidnia, A. The Ability of a Nanofiltration Membrane to Remove Hardness and Ions from Diluted Seawater. Water 2012, 4, 283–294. [Google Scholar] [CrossRef]
- Nagy, E. 10—Nanofiltration. In Basic Equations of the Mass Transport through a Membrane Layer; Nagy, E., Ed.; Elsevier: Oxford, UK, 2012; pp. 249–266. [Google Scholar] [CrossRef]
- Emamjomeh, M.M.; Torabi, H.; Mousazadeh, M.; Alijani, M.H.; Gohari, F. Impact of independent and non-independent parameters on various elements’ rejection by nanofiltration employed in groundwater treatment. Appl. Water Sci. 2019, 9, 71. [Google Scholar] [CrossRef]
- Chen, Z.; Luo, J.; Hang, X.; Wan, Y. Physicochemical characterization of tight nanofiltration membranes for dairy wastewater treatment. J. Membr. Sci. 2018, 547, 51–63. [Google Scholar] [CrossRef]
- Jang, E.-S.; Mickols, W.; Sujanani, R.; Helenic, A.; Dilenschneider, T.J.; Kamcev, J.; Paul, D.R.; Freeman, B.D. Influence of concentration polarization and thermodynamic non-ideality on salt transport in reverse osmosis membranes. J. Membr. Sci. 2019, 572, 668–675. [Google Scholar] [CrossRef]
- Matin, A.; Laoui, T.; Falath, W.; Farooque, A.M. Fouling control in reverse osmosis for water desalination & reuse: Current practices & emerging environment-friendly technologies. Sci. Total. Environ. 2021, 765, 142721. [Google Scholar] [CrossRef] [PubMed]
- Wang, J.; Liu, X. Forward osmosis technology for water treatment: Recent advances and future perspectives. J. Clean. Prod. 2021, 280, 124354. [Google Scholar] [CrossRef]
- Kim, J.; Park, K.; Yang, D.R.; Hong, S. A comprehensive review of energy consumption of seawater reverse osmosis desalination plants. Appl. Energy 2019, 254, 113652. [Google Scholar] [CrossRef]











| Parameter | Value | Max Limit [38,39,40] | Standard Method |
|---|---|---|---|
| TDS (ppm) | 1461 ± 5 | 175 | APHA 2540 C. Total Dissolved Solids Dried at 180 °C |
| Turbidity (NTU) | 0.2 ± 0.1 | 2 | APHA 2130 B. Nephelometric Method |
| EC (mS/cm) | 2.56 ± 0.2 | 0.7 | APHA 2510 B. Conductivity |
| Fluoride (ppm) | 0.27 ± 0.2 | 1.5 | APHA 4110 Determination of anions by ion chromatography |
| Chloride (ppm) | 897.5 ± 0.2 | 102 | |
| Bromide (ppm) | 0.96 ± 0.2 | 1 | |
| Nitrate (ppm) | 25.84 ± 0.2 | 20 | |
| Sulfate (ppm) | 320.3 ± 0.2 | 20 | |
| Sodium (ppm) | 200.3 ± 0.2 | 65 | APHA 3120 Determination of metals by plasma emission spectroscopy |
| Potassium (ppm) | 12.4 ± 0.2 | 10 | |
| Calcium (ppm) | 87.7 ± 0.2 | 40 | |
| Magnesium (ppm) | 21.4 ± 0.2 | 24 |
| Recovery% (NF) | Recovery% (RO) | Overall Recovery% | Concentration of Ions in the Permeate Water (ppm) | |||||||
|---|---|---|---|---|---|---|---|---|---|---|
| F− | K+ | Mg2+ | Ca2+ | SO42− | Na+ | Cl− | TDS | |||
| 50 | 37.1 | 68.5 | 0.1 | 3.8 | 1.4 | 5.6 | 10.6 | 43.2 | 56 | 156.1 |
| 55 | 38.2 | 72.2 | 0.1 | 4.8 | 1.7 | 7 | 13.3 | 53.7 | 69.8 | 194.1 |
| 60 | 38.5 | 75.4 | 0.1 | 6.1 | 2.2 | 9 | 17.3 | 69.1 | 90.1 | 249.7 |
| 65 | 37.6 | 78.2 | 0.1 | 8.2 | 3.1 | 12.3 | 23.6 | 93.4 | 122 | 337.5 |
| 70 | 35.3 | 80.6 | 0.2 | 11.7 | 4.4 | 17.9 | 34.2 | 133.3 | 175 | 482.1 |
| 75 | 31 | 82.8 | 0.2 | 17.8 | 7 | 28.4 | 54.6 | 205.6 | 271.8 | 746 |
| 80 | 24.1 | 84.8 | 0.4 | 32.4 | 13.3 | 53.9 | 104 | 378.7 | 505.5 | 1376 |
| 85 | 11.5 | 86.7 | 0.9 | 70.2 | 32.2 | 131.3 | 257 | 852.6 | 1160 | 3124 |
| 90 | 4.27 | 90.4 | 2.2 | 180.1 | 111.2 | 453.6 | 925.6 | 2400 | 3381 | 9057 |
| Limits [38,39,40] | 1.5 | 10 | 24 | 40 | 20 | 65 | 102 | 175 | ||
| Draw Solution Concentration (M) | Overall Recovery% | Recovery% (NF) | Recovery% (FO) | Recovery% (RO) | Concentration of Ions in the Permeate Water (ppm) | |||||||
|---|---|---|---|---|---|---|---|---|---|---|---|---|
| F− | K+ | Mg2+ | Ca2+ | SO42− | Na+ | Cl− | TDS | |||||
| 0.25 | 86.0 | 75 | 21.7 | 21.7 | 0.038 | 2.95 | 0.92 | 3.61 | 5.87 | 51.6 | 76.8 | 159.9 |
| 0.275 | 86.9 | 75 | 26.2 | 26.2 | 0.038 | 2.97 | 0.92 | 3.63 | 5.91 | 52.0 | 77.5 | 161.3 |
| 0.3 | 88.1 | 75 | 30.7 | 30.7 | 0.039 | 2.99 | 0.93 | 3.65 | 5.94 | 52.4 | 78.1 | 162.5 |
| 0.325 | 88.5 | 75 | 35.1 | 35.1 | 0.039 | 3.00 | 0.93 | 3.67 | 5.97 | 52.9 | 78.8 | 163.7 |
| 0.35 | 89.0 | 75 | 39.4 | 39.4 | 0.039 | 3.02 | 0.94 | 3.69 | 6.00 | 53.3 | 79.4 | 164.9 |
| 0.375 | 89.4 | 75 | 43.9 | 43.9 | 0.039 | 3.03 | 0.94 | 3.71 | 6.03 | 53.7 | 80.0 | 166.1 |
| 0.45 | 89.9 | 75 | 56.3 | 56.3 | 0.040 | 3.07 | 0.95 | 3.76 | 6.12 | 54.8 | 81.7 | 169.3 |
| 0.50 | 90.4 | 75 | 65.0 | 65.0 | 0.040 | 3.10 | 0.96 | 3.79 | 6.18 | 55.6 | 82.8 | 171.6 |
| Limits [38,39,40] | 1.5 | 10 | 24 | 40 | 20 | 65 | 102 | 175 | ||||
Publisher’s Note: MDPI stays neutral with regard to jurisdictional claims in published maps and institutional affiliations. |
© 2021 by the authors. Licensee MDPI, Basel, Switzerland. This article is an open access article distributed under the terms and conditions of the Creative Commons Attribution (CC BY) license (http://creativecommons.org/licenses/by/4.0/).
Share and Cite
Hafiz, M.; Alfahel, R.; Hawari, A.H.; Hassan, M.K.; Altaee, A. A Hybrid NF-FO-RO Process for the Supply of Irrigation Water from Treated Wastewater: Simulation Study. Membranes 2021, 11, 191. https://doi.org/10.3390/membranes11030191
Hafiz M, Alfahel R, Hawari AH, Hassan MK, Altaee A. A Hybrid NF-FO-RO Process for the Supply of Irrigation Water from Treated Wastewater: Simulation Study. Membranes. 2021; 11(3):191. https://doi.org/10.3390/membranes11030191
Chicago/Turabian StyleHafiz, MhdAmmar, Radwan Alfahel, Alaa H. Hawari, Mohammad K. Hassan, and Ali Altaee. 2021. "A Hybrid NF-FO-RO Process for the Supply of Irrigation Water from Treated Wastewater: Simulation Study" Membranes 11, no. 3: 191. https://doi.org/10.3390/membranes11030191
APA StyleHafiz, M., Alfahel, R., Hawari, A. H., Hassan, M. K., & Altaee, A. (2021). A Hybrid NF-FO-RO Process for the Supply of Irrigation Water from Treated Wastewater: Simulation Study. Membranes, 11(3), 191. https://doi.org/10.3390/membranes11030191

