Cost-Effectiveness of Introducing Nuvaxovid to COVID-19 Vaccination in the United Kingdom: A Dynamic Transmission Model
Abstract
1. Introduction
2. Methods
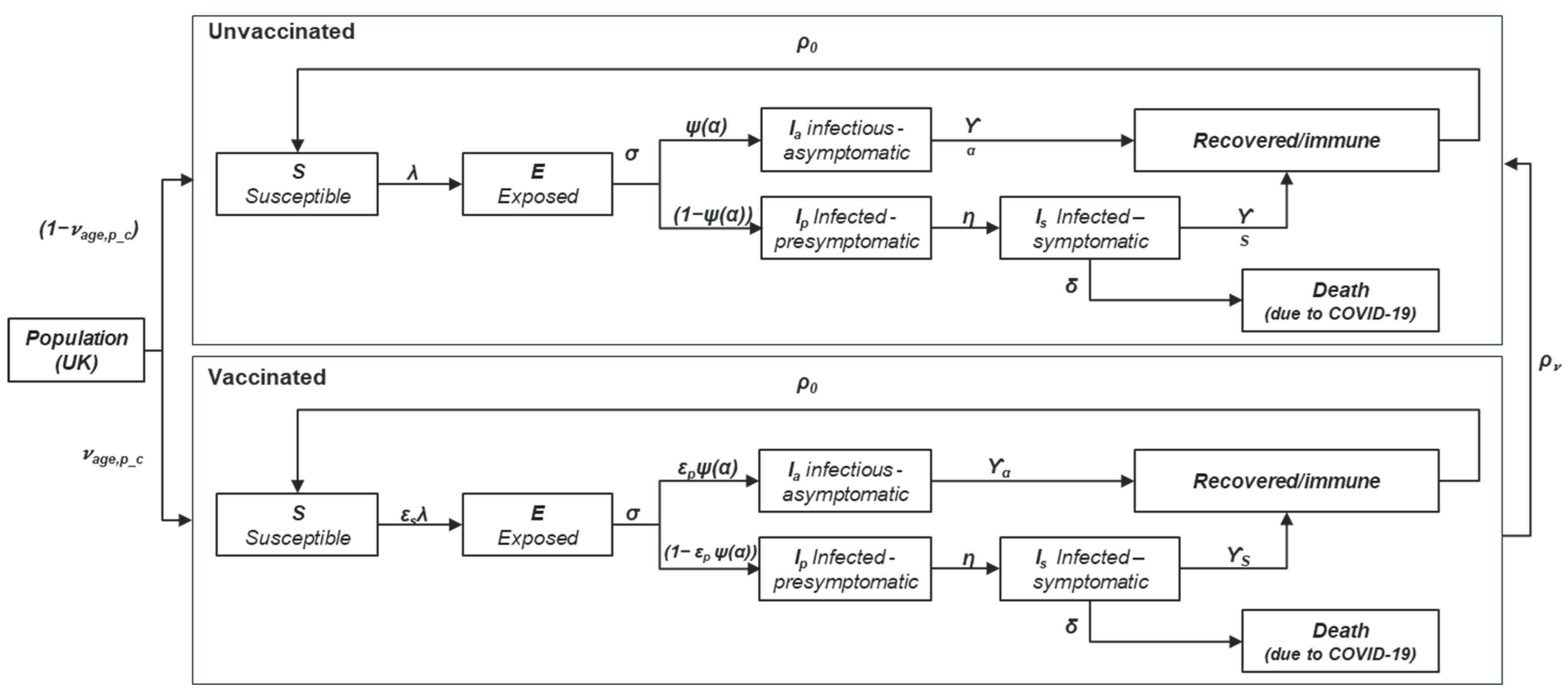
2.1. A Dynamic Transmission Model
- Susceptible (S): The population in this compartment are susceptible to infection, i.e., not immune. Susceptibility to infection is impacted by vaccination status. Transmission probability (chance of becoming infected) is dependent on age and contact patterns.
- Exposed (E): The condition of being infected, but not yet infectious (the latent period).
- Infectious (I): The population in the E state moves to either the infectious asymptomatic state (Ia) or the infectious presymptomatic state (Ip). All individuals in Ip will progress to the infectious symptomatic state (Is). The proportion of asymptomatic infections is dependent on age group and vaccination status.
- Recovered/immune: The population compartments with either asymptomatic or symptomatic infection progresses to the recovered/immune state, and subsequently returns to the S state according to the rate of immunity waning, diminishing in an exponential manner from 100% to 31% at 12 months [27].
- COVID-19–related death: The population in the infectious symptomatic state may progress to death without recovering from COVID-19. The rate of COVID-19–related mortality is age dependent.
2.2. Model Calibration
2.3. Cost-Utility Analysis
2.3.1. Vaccination Strategies
2.3.2. Clinical and Utility Inputs
| Parameter | Base Case Value |
|---|---|
| Vaccine efficacy, waning and tolerability parameters | |
| Initial vaccine efficacy against all infections [38] | 82% |
| Start of waning post vaccination [41] | 1 month |
| Vaccine efficacy waning per month [41] | 0.08 |
| Efficacy against severe disease [46] | 50% |
| Nuvaxovid average adverse events/recipient | 1.572 |
| mRNAs average adverse events/recipient | 2.497 |
| Utility decrements | |
| Symptomatic case [47] | 0.00800 |
| Non-fatal hospitalisation [56] | 0.02010 |
| Non-fatal ICU [27] | 0.15 |
| Long COVID [57] | 0.13 |
| Nuvaxovid tolerability [39,52] * | 0.00022 |
| mRNA tolerability [39,52] * | 0.00034 |
2.3.3. Healthcare Resource Use and Cost Inputs
| Parameter | Base Case Value | ||
|---|---|---|---|
| Proportion | Cost per Case | ||
| Vaccine-Related Costs | |||
| Cost of vaccines [58] | — | GBP 71.00 | |
| Vaccine administration costs [59] | — | GBP 7.54 | |
| Cold chain transportation wastage [61] | Nuvaxovid: 0.02%mRNA: 0.10% | — | |
| Freeze-related costs (thawing, handling, monitoring of thawed vials) * [67,68] | — | Nuvaxovid: GBP 0 mRNA: GBP 0.14 | |
| Healthcare resource use costs | |||
| General practitioner visit [62,69] | 15.5% | GBP 44.20 | |
| Accident and emergency (emergency department) visits [62,65] | 2.7% | GBP 260.88 | |
| Hospitalisation by age [65,70,71] | 0.09–11.89% | GBP 3533.68 | |
| ICU hospitalisation by age [63,64,65,70] | 5.54–0.58% | GBP 24,494.10 ($2449.41/day, 10 days) | |
| Post-hospitalisation (ICU and non-ICU) care [57] | — | GBP 413.95 | |
| Long COVID care [57] | 10% | GBP 2515.46 | |
2.4. Scenario and Sensitivity Analyses
3. Results
3.1. Probabilistic Results
3.2. Sensitivity Analyses
3.3. Scenario Analyses
3.4. Deterministic Sensitivity Analyses
4. Discussion
5. Conclusions
Supplementary Materials
Author Contributions
Funding
Institutional Review Board Statement
Informed Consent Statement
Data Availability Statement
Acknowledgments
Conflicts of Interest
References
- World Health Organisation. WHO Coronavirus (COVID-19) Dashboard. Available online: https://covid19.who.int/ (accessed on 4 April 2023).
- Centers for Disease Control and Prevention. People with Certain Medical Conditions and COVID-19 Risk Factors. Available online: https://www.cdc.gov/coronavirus/2019-ncov/need-extra-precautions/people-with-medical-conditions.html (accessed on 4 October 2024).
- UK Health Security Agency. Coronavirus (COVID-19) in the UK. Available online: https://coronavirus.data.gov.uk/ (accessed on 19 June 2024).
- Department of Health and Social Care. JCVI Statement on the COVID-19 Vaccination Programme for Autumn 2024, 8 April 2024. Available online: https://www.gov.uk/government/publications/covid-19-autumn-2024-vaccination-programme-jcvi-advice-8-april-2024/jcvi-statement-on-the-covid-19-vaccination-programme-for-autumn-2024-8-april-2024 (accessed on 6 August 2024).
- UK Health Security Agency. COVID-19: The Green Book, Chapter 14a. Ref: UKHSA Gateway Number GOV-17291. Available online: https://www.gov.uk/government/publications/covid-19-the-green-book-chapter-14a (accessed on 2 October 2024).
- UK Health Security Agency. COVID-19 Vaccination: Vaccine Product Information. Available online: https://www.gov.uk/government/publications/covid-19-vaccination-vaccine-product-information-poster (accessed on 16 September 2024).
- Nextstrain.org. Genomic Epidemiology of SARS-CoV-2 with Subsampling Focused Globally Since Pandemic Start. Available online: https://nextstrain.org/ncov/gisaid/global/all-time?p=grid (accessed on 21 January 2025).
- Nyberg, T.; Ferguson, N.M.; Nash, S.G.; Webster, H.H.; Flaxman, S.; Andrews, N.; Hinsley, W.; Bernal, J.L.; Kall, M.; Bhatt, S.; et al. Comparative analysis of the risks of hospitalisation and death associated with SARS-CoV-2 omicron (B.1.1.529) and delta (B.1.617.2) variants in England: A cohort study. Lancet 2022, 399, 1303–1312. [Google Scholar] [CrossRef]
- Willett, B.J.; Grove, J.; MacLean, O.A.; Wilkie, C.; De Lorenzo, G.; Furnon, W.; Cantoni, D.; Scott, S.; Logan, N.; Ashraf, S.; et al. SARS-CoV-2 Omicron is an immune escape variant with an altered cell entry pathway. Nat. Microbiol. 2022, 7, 1161–1179. [Google Scholar] [CrossRef]
- Formica, N.; Mallory, R.; Albert, G.; Robinson, M.; Plested, J.S.; Cho, I.; Robertson, A.; Dubovsky, F.; Glenn, G.M.; 2019nCoV-101 Study Group. Different dose regimens of a SARS-CoV-2 recombinant spike protein vaccine (NVX-CoV2373) in younger and older adults: A phase 2 randomized placebo-controlled trial. PLoS Med. 2021, 18, e1003769. [Google Scholar] [CrossRef]
- Medicines Healthcare Products Regulatory Agency. Summary of Product Characteristics for Nuvaxovid Dispersion for Injection; Medicines Healthcare Products Regulatory Agency: London, UK, 2024. [Google Scholar]
- Alves, K.; Plested, J.S.; Galbiati, S.; Chau, G.; Cloney-Clark, S.; Zhu, M.; Kalkeri, R.; Patel, N.; Smith, K.; Marcheschi, A.; et al. Immunogenicity and safety of a fourth homologous dose of NVX-CoV2373. Vaccine 2023, 41, 4280–4286. [Google Scholar] [CrossRef] [PubMed]
- Heath, P.T.; Galiza, E.P.; Baxter, D.N.; Boffito, M.; Browne, D.; Burns, F.; Chadwick, D.R.; Clark, R.; Cosgrove, C.A.; Galloway, J.; et al. Safety and Efficacy of the NVX-CoV2373 Coronavirus Disease 2019 Vaccine at Completion of the Placebo-Controlled Phase of a Randomized Controlled Trial. Clin. Infect. Dis. 2023, 76, 398–407. [Google Scholar] [CrossRef]
- Medicines and Healthcare Products Regulatory Agency. Summary of Product Characteristics for Comirnaty Omicron XBB.1.5 30 Micrograms/Dose for Age 12+; Medicines and Healthcare Products Regulatory Agency: London, UK, 2024. [Google Scholar]
- Heath, P.T.; Galiza, E.P.; Baxter, D.N.; Boffito, M.; Browne, D.; Burns, F.; Chadwick, D.R.; Clark, R.; Cosgrove, C.; Galloway, J.; et al. Safety and Efficacy of NVX-CoV2373 Covid-19 Vaccine. N. Engl. J. Med. 2021, 385, 1172–1183. [Google Scholar] [CrossRef] [PubMed]
- Gwak, E.; Choe, S.-A.; Bolormaa, E.; Choe, Y.J.; Wang, C.; Fix, J.; Vadivale, M.; Rousculp, M.D. Short-Term Relative Effectiveness of Homologous NVX-CoV2373 and BNT162b2 COVID-19 Vaccinations in South Korea. medRxiv 2024. [Google Scholar] [CrossRef]
- Kim, H.K.; Park, S.K.; Choe, S.A.; Gwak, E.S.; Cowling, B.J.; Kim, Y.M.; Lee, K.H.; Lee, S.W.; Kwon, G.Y.; Jang, E.J.; et al. Risk of SARS-CoV-2 breakthrough infection following NVX-CoV2373 and BNT162b2 vaccinations in Korean Adults: A population-based observational study. Vaccine 2024, 42, 1440–1444. [Google Scholar] [CrossRef] [PubMed]
- Medicines and Healthcare Products Regulatory Agency. Summary of Product Characteristics for Spikevax 0.1 mg/mL Dispersion for Injection; Medicines and Healthcare Products Regulatory Agency: London, UK, 2023. [Google Scholar]
- Pitman, R.; Khurana, P. Cost-Effectiveness of Vaccines Targeting Infectious Diseases—Has COVID-19 Changed the Landscape? Value Health 2022, 25, S162. [Google Scholar] [CrossRef]
- Kato, M.; Ono, T.; Deguchi, H.; Ohmagari, N.; Igarashi, A. Cost-effectiveness analysis of NVX-CoV2373 COVID-19 vaccination for elderly people in Japan. Vaccine X 2024, 19, 100514. [Google Scholar] [CrossRef] [PubMed]
- Paret, K.; Beyhaghi, H.; Herring, W.L.; Mauskopf, J.; Shane, L.G.; Rousculp, M.D. Going Forward: Potential Impact of Protein-Based COVID-19 Vaccination Coverage on Population Outcomes and Costs in the United States. Vaccines 2024, 12, 74. [Google Scholar] [CrossRef]
- Prosser, L.A.; Perroud, J.; Chung, G.S.; Gebremariam, A.; Janusz, C.B.; Mercon, K.; Rose, A.M.; Avañcena, A.L.V.; Kim DeLuca, E.; Hutton, D.W. The cost-effectiveness of vaccination against COVID-19 illness during the initial year of vaccination. Vaccine 2025, 48, 126725. [Google Scholar] [CrossRef] [PubMed]
- Mauskopf, J.; Standaert, B.; Connolly, M.P.; Culyer, A.J.; Garrison, L.P.; Hutubessy, R.; Jit, M.; Pitman, R.; Revill, P.; Severens, J.L. Economic Analysis of Vaccination Programs: An ISPOR Good Practices for Outcomes Research Task Force Report. Value Health 2018, 21, 1133–1149. [Google Scholar] [CrossRef] [PubMed]
- Pitman, R.; Fisman, D.; Zaric, G.S.; Postma, M.; Kretzschmar, M.; Edmunds, J.; Brisson, M.; Force, I.-S.M.G.R.P.T. Dynamic transmission modeling: A report of the ISPOR-SMDM modeling good research practices task force-5. Value Health 2012, 15, 828–834. [Google Scholar] [CrossRef]
- Mossong, J.; Hens, N.; Jit, M.; Beutels, P.; Auranen, K.; Mikolajczyk, R.; Massari, M.; Salmaso, S.; Tomba, G.S.; Wallinga, J.; et al. Social contacts and mixing patterns relevant to the spread of infectious diseases. PLoS Med. 2008, 5, e74. [Google Scholar] [CrossRef]
- Funk, S. Socialmixr R Package. Available online: https://cran.r-project.org/web/packages/socialmixr/vignettes/socialmixr.html (accessed on 4 October 2024).
- Sandmann, F.G.; Davies, N.G.; Vassall, A.; Edmunds, W.J.; Jit, M. The potential health and economic value of SARS-CoV-2 vaccination alongside physical distancing in the UK: A transmission model-based future scenario analysis and economic evaluation. Lancet Infect. Dis. 2021, 21, 962–974. [Google Scholar] [CrossRef]
- Davies, N.G.; Klepac, P.; Liu, Y.; Prem, K.; Jit, M.; CMMID COVID-19 Working Group; Eggo, R.M. Age-dependent effects in the transmission and control of COVID-19 epidemics. Nat. Med. 2020, 26, 1205–1211. [Google Scholar] [CrossRef] [PubMed]
- UK Health Security Agency. National Influenza and COVID-19 Surveillance Report Week 6 Report (up to Week 5 2024 Data). Available online: https://assets.publishing.service.gov.uk/media/65c606f59c5b7f0012951bcd/Weekly-flu-and-COVID-19-surveillance-report-week-6.pdf (accessed on 4 October 2024).
- UK Health Security Agency. Seasonal Influenza and COVID-19 Vaccine Uptake in Frontline Healthcare Workers: Monthly Data 2023 to 2024. Available online: https://www.gov.uk/government/statistics/seasonal-influenza-and-covid-19-vaccine-uptake-in-frontline-healthcare-workers-monthly-data-2023-to-2024 (accessed on 4 October 2024).
- UK Health Security Agency. Weekly National Influenza and COVID-19 Surveillance Report: Week 47 Report (up to Week 46 Data). Available online: https://assets.publishing.service.gov.uk/media/6380d360d3bf7f15467e2be0/Weekly_Flu_and_COVID-19_report_w47.pdf (accessed on 4 October 2024).
- Office for National Statistics. Population and Household Estimates, England and Wales—Office for National Statistics. Available online: https://www.ons.gov.uk/peoplepopulationandcommunity/populationandmigration/populationestimates/bulletins/populationandhouseholdestimatesenglandandwales/census2021unroundeddata (accessed on 4 October 2024).
- Walker, J.L.; Grint, D.J.; Strongman, H.; Eggo, R.M.; Peppa, M.; Minassian, C.; Mansfield, K.E.; Rentsch, C.T.; Douglas, I.J.; Mathur, R.; et al. UK prevalence of underlying conditions which increase the risk of severe COVID-19 disease: A point prevalence study using electronic health records. BMC Public Health 2021, 21, 484. [Google Scholar] [CrossRef] [PubMed]
- Office for National Statistics. Long-Term International Migration, Provisional—Office for National Statistics. Available online: https://www.ons.gov.uk/peoplepopulationandcommunity/populationandmigration/internationalmigration/bulletins/longterminternationalmigrationprovisional/yearendingjune2022 (accessed on 4 October 2024).
- Office for National Statistics. Deaths Registered Weekly in England and Wales, Provisional—Office for National Statistics. Available online: https://www.ons.gov.uk/peoplepopulationandcommunity/birthsdeathsandmarriages/deaths/datasets/weeklyprovisionalfiguresondeathsregisteredinenglandandwales (accessed on 4 October 2024).
- Ghisolfi, S.; Almas, I.; Sandefur, J.C.; von Carnap, T.; Heitner, J.; Bold, T. Predicted COVID-19 fatality rates based on age, sex, comorbidities and health system capacity. BMJ Glob. Health 2020, 5, e003094. [Google Scholar] [CrossRef] [PubMed]
- Gwak, E.; Choe, S.A.; Bolormaa, E.; Choe, Y.J.; Wang, C.; Fix, J.; Vadivale, M.; Rousculp, M.D. The Relative Effectiveness of NVX-CoV2373 and BNT162b2 COVID-19 Vaccines in South Korea. In Proceedings of the Communicable Diseases & Immunisation Conference 2024, Brisbane, Australia, 11–13 June 2024. [Google Scholar]
- El Sahly, H.M.; Baden, L.R.; Essink, B.; Doblecki-Lewis, S.; Martin, J.M.; Anderson, E.J.; Campbell, T.B.; Clark, J.; Jackson, L.A.; Fichtenbaum, C.J.; et al. Efficacy of the mRNA-1273 SARS-CoV-2 Vaccine at Completion of Blinded Phase. N. Engl. J. Med. 2021, 385, 1774–1785. [Google Scholar] [CrossRef]
- Sutton, N.; Ramos, A.S.F.; Beales, E.; Smith, D.; Ikram, S.; Galiza, E.; Hsia, Y.; Heath, P.T. Comparing reactogenicity of COVID-19 vaccines: A systematic review and meta-analysis. Expert. Rev. Vaccines 2022, 21, 1301–1318. [Google Scholar] [CrossRef]
- Alves, K.; Kotloff, K.; McClelland, R.S.; Kouassi, A.; Plested, J.S.; Kalkeri, R.; Zhu, M.; Cloney-Clark, S.; Cai, Z.; Smith, K.; et al. Immunogenicity and safety of a monovalent omicron XBB.1.5 SARS-CoV-2 recombinant spike protein vaccine as a heterologous booster dose in US adults: Interim analysis of a single-arm phase 2/3 study. Lancet Infect. Dis. 2025. [Google Scholar] [CrossRef] [PubMed]
- Menegale, F.; Manica, M.; Zardini, A.; Guzzetta, G.; Marziano, V.; d’Andrea, V.; Trentini, F.; Ajelli, M.; Poletti, P.; Merler, S. Evaluation of Waning of SARS-CoV-2 Vaccine-Induced Immunity: A Systematic Review and Meta-analysis. JAMA Netw. Open 2023, 6, e2310650. [Google Scholar] [CrossRef]
- Follmann, D.; Mateja, A.; Fay, M.P.; Magaret, C.A.; Huang, Y.; Fong, Y.; Angier, H.; Nason, M.; Gay, C.L.; Kotloff, K.; et al. Durability of Protection Against COVID-19 Through the Delta Surge for the NVX-CoV2373 Vaccine. Clin. Infect. Dis. 2024, 79, 78–85. [Google Scholar] [CrossRef] [PubMed]
- Kutikova, L.; Brash, J.T.; Helme, K.; Brewster, J.; Brand, M.; Adam, A.; Seager, S.; Kostev, K.; Schelling, J. Characteristics and Outcomes for Recipients of NVX-CoV2373: A Real-World Retrospective Study in Germany. Vaccines 2024, 12, 387. [Google Scholar] [CrossRef] [PubMed]
- Kuriyama, K.; Murakami, K.; Sugiura, K.; Sakui, S.; Schuring, R.P.; Masuda, T.; Mori, M. One-year follow-up of the immunogenicity and safety of a primary series of the NVX-CoV2373 (TAK-019) vaccine in healthy Japanese adults: Final report of a phase I/II randomized controlled trial. Vaccine 2024, 42, 1319–1325. [Google Scholar] [CrossRef] [PubMed]
- Áñez, G. Safety and Immunogenicity of a Booster Dose of Novavax COVID-19 Vaccine, Adjuvanted (NVX-CoV2373) in Adults from the PREVENT-19 Trial in the United States; ID Week: Washington, DC, USA, 2022. [Google Scholar]
- European Centre for Disease Prevention and Control. Interim Analysis of COVID-19 Vaccine Effectiveness Against Hospitalisation and Death Using Electronic Health Records in six European Countries; ECDC: Stockholm, Sweden, 2023. [Google Scholar]
- van Hoek, A.J.; Underwood, A.; Jit, M.; Miller, E.; Edmunds, W.J. The impact of pandemic influenza H1N1 on health-related quality of life: A prospective population-based study. PLoS ONE 2011, 6, e17030. [Google Scholar] [CrossRef] [PubMed]
- McNamara, S.; Schneider, P.P.; Love-Koh, J.; Doran, T.; Gutacker, N. Quality-Adjusted Life Expectancy Norms for the English Population. Value Health 2023, 26, 163–169. [Google Scholar] [CrossRef] [PubMed]
- Marchese, A.M.; Rousculp, M.; Macbeth, J.; Beyhaghi, H.; Seet, B.T.; Toback, S. The Novavax Heterologous Coronavirus Disease 2019 Booster Demonstrates Lower Reactogenicity Than Messenger RNA: A Targeted Review. J. Infect. Dis. 2024, 230, e496–e502. [Google Scholar] [CrossRef]
- Rousculp, M.D.; Hollis, K.; Ziemiecki, R.; Odom, D.; Marchese, A.M.; Montazeri, M.; Odak, S.; Jackson, L.; Beyhaghi, H.; Toback, S. Reactogenicity Differences between Adjuvanted, Protein-Based and Messenger Ribonucleic Acid (mRNA)-Based COVID-19 Vaccines. Vaccines 2024, 12, 802. [Google Scholar] [CrossRef]
- San Francisco Ramos, A.; Liu Sanchez, C.; Bovill Rose, T.; Smith, D.; Thorn, N.; Galiza, E.; Miah, T.; Pearce, J.; Hultin, C.; Cosgrove, C.; et al. Comparing reactogenicity of COVID-19 vaccine boosters: A systematic review and meta-analysis. Expert Rev. Vaccines 2024, 23, 266–282. [Google Scholar] [CrossRef]
- Leung, M.K.; You, J.H. Cost-effectiveness of an influenza vaccination program offering intramuscular and intradermal vaccines versus intramuscular vaccine alone for elderly. Vaccine 2016, 34, 2469–2476. [Google Scholar] [CrossRef] [PubMed]
- Atmar, R.L.; Lyke, K.E.; Deming, M.E.; Jackson, L.A.; Branche, A.R.; El Sahly, H.M.; Rostad, C.A.; Martin, J.M.; Johnston, C.; Rupp, R.E.; et al. Homologous and Heterologous Covid-19 Booster Vaccinations. N. Engl. J. Med. 2022, 386, 1046–1057. [Google Scholar] [CrossRef] [PubMed]
- Munro, A.P.S.; Janani, L.; Cornelius, V.; Aley, P.K.; Babbage, G.; Baxter, D.; Bula, M.; Cathie, K.; Chatterjee, K.; Dodd, K.; et al. Safety and immunogenicity of seven COVID-19 vaccines as a third dose (booster) following two doses of ChAdOx1 nCov-19 or BNT162b2 in the UK (COV-BOOST): A blinded, multicentre, randomised, controlled, phase 2 trial. Lancet 2021, 398, 2258–2276. [Google Scholar] [CrossRef] [PubMed]
- Lyke, K.E.; Atmar, R.L.; Dominguez Islas, C.; Posavad, C.M.; Deming, M.E.; Branche, A.R.; Johnston, C.; El Sahly, H.M.; Edupuganti, S.; Mulligan, M.J.; et al. Immunogenicity of NVX-CoV2373 heterologous boost against SARS-CoV-2 variants. NPJ Vaccines 2023, 8, 98. [Google Scholar] [CrossRef] [PubMed]
- Halpin, S.J.; McIvor, C.; Whyatt, G.; Adams, A.; Harvey, O.; McLean, L.; Walshaw, C.; Kemp, S.; Corrado, J.; Singh, R.; et al. Postdischarge symptoms and rehabilitation needs in survivors of COVID-19 infection: A cross-sectional evaluation. J. Med. Virol. 2021, 93, 1013–1022. [Google Scholar] [CrossRef] [PubMed]
- Metry, A.; Pandor, A.; Ren, S.; Shippam, A.; Clowes, M.; Dark, P.; McMullan, R.; Stevenson, M. Cost-effectiveness of therapeutics for COVID-19 patients: A rapid review and economic analysis. Health Technol. Assess 2023, 27, 1–92. [Google Scholar] [CrossRef] [PubMed]
- NHS Business Services Authority (NHSBSA). NHSBSA Dictionary of Medicines and Services (dm+d). Available online: https://dmd-browser.nhsbsa.nhs.uk/ (accessed on 4 October 2024).
- National Health Service. Enhanced Service Specification: COVID-19 Vaccination Programme: 1 September 2023 to 31 March 2024; National Health Service: London, UK, 2024. [Google Scholar]
- Medicines and Healthcare Products Regulatory Agency. MHRA Approvals for Comirnaty (Pfizer/BioNTech) and Nuvaxovid (Novavax) COVID-19 Vaccines; Medicines and Healthcare Products Regulatory Agency: London, UK, 2024. [Google Scholar]
- Hajibabai, L.; Hajbabaie, A.; Swann, J.; Vergano, D. Using COVID-19 Data on Vaccine Shipments and Wastage to Inform Modeling and Decision-Making. Transp. Sci. 2022, 56, 1135–1147. [Google Scholar] [CrossRef]
- Sandmann, F.G.; Tessier, E.; Lacy, J.; Kall, M.; Van Leeuwen, E.; Charlett, A.; Eggo, R.M.; Dabrera, G.; Edmunds, W.J.; Ramsay, M.; et al. Long-Term Health-Related Quality of Life in Non-Hospitalized Coronavirus Disease 2019 (COVID-19) Cases with Confirmed Severe Acute Respiratory Syndrome Coronavirus 2 (SARS-CoV-2) Infection in England: Longitudinal Analysis and Cross-Sectional Comparison With Controls. Clin. Infect. Dis. 2022, 75, e962–e973. [Google Scholar] [CrossRef]
- UK Health Security Agency. National Flu and COVID-19 Surveillance Reports: 2023 to 2024 Season. May 2024 Week 18 Report (up to Week 17 Data). Available online: https://www.gov.uk/government/statistics/national-flu-and-covid-19-surveillance-reports-2022-to-2023-season (accessed on 4 October 2024).
- Davies, N.G.; Kucharski, A.J.; Eggo, R.M.; Gimma, A.; Edmunds, W.J.; Jombart, T.; O’Reilly, K.; Endo, A.; Hellewell, J.; Nightingale, E.S.; et al. Effects of non-pharmaceutical interventions on COVID-19 cases, deaths, and demand for hospital services in the UK: A modelling study. Lancet Public Health 2020, 5, e375–e385. [Google Scholar] [CrossRef]
- National Health Service. 2021/22 National Cost Collection Data Publication; National Health Service: London, UK, 2023. [Google Scholar]
- Office for National Statistics. Consumer Price Inflation, UK—Office for National Statistics. Year to March 2023. Available online: https://www.ons.gov.uk/economy/inflationandpriceindices/bulletins/consumerpriceinflation/march2023 (accessed on 4 October 2024).
- Yarnoff, B.; Bodhaine, S.; Cohen, E.; Buck, P.O. Time and cost of administering COVID-19 mRNA vaccines in the United States. Hum. Vaccines Immunother. 2021, 17, 3871–3875. [Google Scholar] [CrossRef] [PubMed]
- NHS. Employers. Pay Scales for 2023/24. Available online: https://www.nhsemployers.org/articles/pay-scales-202324 (accessed on 4 October 2024).
- Jones, K.C.W.; Helen, B.; Sarah, C.; Adriana, C.; Martin, D.; Alan, F.; Julien, E.; Gao, J.; Hinde, S.; Markham, S.; et al. Unit Costs of Health and Social Care 2022 Manual; Personal Social Services Research Unit, University of Kent at Canterbury: Kent, UK, 2022. [Google Scholar]
- Knock, E.S.; Whittles, L.K.; Lees, J.A.; Perez-Guzman, P.N.; Verity, R.; FitzJohn, R.G.; Gaythorpe, K.A.M.; Imai, N.; Hinsley, W.; Okell, L.C.; et al. Key epidemiological drivers and impact of interventions in the 2020 SARS-CoV-2 epidemic in England. Sci. Transl. Med. 2021, 13, abg4262. [Google Scholar] [CrossRef] [PubMed]
- UK Health Security Agency. Coronavirus (COVID-19) in the UK Dashboard Archive, 2023 Hospital Admissions. Available online: https://ukhsa-dashboard.data.gov.uk/covid-19-archive-data-download (accessed on 4 October 2024).
- Mateo-Urdiales, A.; Sacco, C.; Petrone, D.; Bella, A.; Riccardo, F.; Del Manso, M.; Bressi, M.; Siddu, A.; Brusaferro, S.; Palamara, A.T.; et al. Estimated Effectiveness of a Primary Cycle of Protein Recombinant Vaccine NVX-CoV2373 Against COVID-19. JAMA Network Open 2023, 6, e2336854. [Google Scholar] [CrossRef]
- Germán, Á. Paving the way for Protein: Novavax’s COVID-19 Vaccine as a Booster and Variant-adapted. In Proceedings of the 2022 WVC Europe, Barcelona, Spain, 11–14 October 2022. [Google Scholar]
- Department of Health and Social Care. JCVI Statement on the COVID-19 Vaccination Programme for 2023: 8 NOVEMBER 2022; Department of Health and Social Care: London, UK, 2023. [Google Scholar]
- Department of Health and Social Care. JCVI Statement on COVID-19 Vaccination in 2025 and Spring 2026, Updated 14 November 2024; Department of Health and Social Care: London, UK, 2024. [Google Scholar]
- Hoertel, N.; Blachier, M.; Blanco, C.; Olfson, M.; Massetti, M.; Rico, M.S.; Limosin, F.; Leleu, H. A stochastic agent-based model of the SARS-CoV-2 epidemic in France. Nat. Med. 2020, 26, 1417–1421. [Google Scholar] [CrossRef] [PubMed]
- Hoertel, N.; Blachier, M.; Sánchez-Rico, M.; Limosin, F.; Leleu, H. Impact of the timing and adherence to face mask use on the course of the COVID-19 epidemic in France. J. Travel. Med. 2021, 28, taab016. [Google Scholar] [CrossRef]
- Tamura, T.; Irie, T.; Deguchi, S.; Yajima, H.; Tsuda, M.; Nasser, H.; Mizuma, K.; Plianchaisuk, A.; Suzuki, S.; Uriu, K.; et al. Virological characteristics of the SARS-CoV-2 Omicron XBB.1.5 variant. Nat. Commun. 2024, 15, 1176. [Google Scholar] [CrossRef] [PubMed]
- Yadav, P.D.; Patil, D.Y. Interim analysis of SARS-CoV-2 vaccine NVX-CoV2601 as a heterologous booster dose. Lancet Infect. Dis. 2025. [Google Scholar] [CrossRef]




| Parameter | Base Case Value | |
|---|---|---|
| UK population [32] | Population size for England in 2021, extrapolated to the full UK population | |
| UK population with a pre-condition [33] | By age: 7–79% | |
| UK contact patterns [25,26] | Great Britain Close Contact matrix from the POLYMOD study using socialmixr 0.4.0 R package | |
| Incidence of SARS-CoV-2 infection [31] | UKHSA 2022 figures | |
| COVID-19–related mortality [31] | ONS 2022 mortality figures | |
| COVID-19–related hospitalisations/ICU admissions [3] | UKHSA 2023–2024 figures | |
| Vaccine Uptake by Age Group | No pre-condition | Pre-condition |
| 12–18 years [31] | 0.0% | 5.34% |
| 19–64 years [30] | 0.0% | 30.2% |
| 65–69 years [30] | 61.2% | 61.2% |
| 70–74 years [29] | 70.1% | 70.1% |
| 75–79 years [29] | 75.5% | 75.5% |
| 80–99 years [29] | 75.7% | 75.7% |
| Nuvaxovid | mRNA Vaccines | Incremental | |
|---|---|---|---|
| Probabilistic | |||
| Total Costs | GBP 4,979,904,295 | GBP 4,981,292,618 | −GBP 1,338,323 |
| QALY losses | −483,644 | −485,201 | 1558 |
| ICER | Dominant |
| Base Case/ Scenario | Scenario Description | Incremental Costs | Incremental QALYs | ICER |
|---|---|---|---|---|
| Base case | Vaccination of those aged ≥65 years and 12–64 years with pre-conditions | −GBP 1,388,323 | 1558 | Dominant |
| Variation in waning | ||||
| 1 | Onset of waning at 2 months for Nuvaxovid | −GBP 87,891,163 | 12,755 | Dominant |
| Variation in market share | ||||
| 2a | 50% market share for Nuvaxovid | −GBP 906,780 | 686 | Dominant |
| 2b | 33.3% market share for Nuvaxovid | −GBP 512,851 | 491 | Dominant |
| 2c | 10% market share for Nuvaxovid | −GBP 109,666 | 115 | Dominant |
| Variation in vaccinated population | ||||
| 3a | Vaccination of those aged ≥65 years | −GBP 2,123,733 | 1070 | Dominant |
| 3b | Vaccination of those aged ≥75 years | −GBP 1,226,242 | 645 | Dominant |
| 3c | Vaccination of those aged 65–74 years | −GBP 639,379 | 603 | Dominant |
| 3d | Vaccination of those aged 12–64 years with pre-conditions | −GBP 540,473 | 331 | Dominant |
Disclaimer/Publisher’s Note: The statements, opinions and data contained in all publications are solely those of the individual author(s) and contributor(s) and not of MDPI and/or the editor(s). MDPI and/or the editor(s) disclaim responsibility for any injury to people or property resulting from any ideas, methods, instructions or products referred to in the content. |
© 2025 by the authors. Licensee MDPI, Basel, Switzerland. This article is an open access article distributed under the terms and conditions of the Creative Commons Attribution (CC BY) license (https://creativecommons.org/licenses/by/4.0/).
Share and Cite
Pritchard, C.; Kutikova, L.; Pitman, R.; Lai, K.Z.H.; Beyhaghi, H.; Gibbons, I.; Erbe, A.; Živković-Gojović, M.; Cosgrove, C.; Sculpher, M.; et al. Cost-Effectiveness of Introducing Nuvaxovid to COVID-19 Vaccination in the United Kingdom: A Dynamic Transmission Model. Vaccines 2025, 13, 187. https://doi.org/10.3390/vaccines13020187
Pritchard C, Kutikova L, Pitman R, Lai KZH, Beyhaghi H, Gibbons I, Erbe A, Živković-Gojović M, Cosgrove C, Sculpher M, et al. Cost-Effectiveness of Introducing Nuvaxovid to COVID-19 Vaccination in the United Kingdom: A Dynamic Transmission Model. Vaccines. 2025; 13(2):187. https://doi.org/10.3390/vaccines13020187
Chicago/Turabian StylePritchard, Clive, Lucie Kutikova, Richard Pitman, Kira Zhi Hua Lai, Hadi Beyhaghi, IIana Gibbons, Amanda Erbe, Marija Živković-Gojović, Catherine Cosgrove, Mark Sculpher, and et al. 2025. "Cost-Effectiveness of Introducing Nuvaxovid to COVID-19 Vaccination in the United Kingdom: A Dynamic Transmission Model" Vaccines 13, no. 2: 187. https://doi.org/10.3390/vaccines13020187
APA StylePritchard, C., Kutikova, L., Pitman, R., Lai, K. Z. H., Beyhaghi, H., Gibbons, I., Erbe, A., Živković-Gojović, M., Cosgrove, C., Sculpher, M., & Salisbury, D. (2025). Cost-Effectiveness of Introducing Nuvaxovid to COVID-19 Vaccination in the United Kingdom: A Dynamic Transmission Model. Vaccines, 13(2), 187. https://doi.org/10.3390/vaccines13020187

