An Experimental Study of a Data Compression Technology-Based Intelligent Data Acquisition (IDAQ) System for Structural Health Monitoring of a Long-Span Bridge
Abstract
:1. Introduction
2. A Cochlea-Inspired Artificial Filter Bank (CAFB) for Structural Health Monitoring
2.1. Principle of the CAFB
2.2. Optimal Design for CAFB
3. Data Compression Technology-Based Intelligent Data Acquisition (IDAQ) System
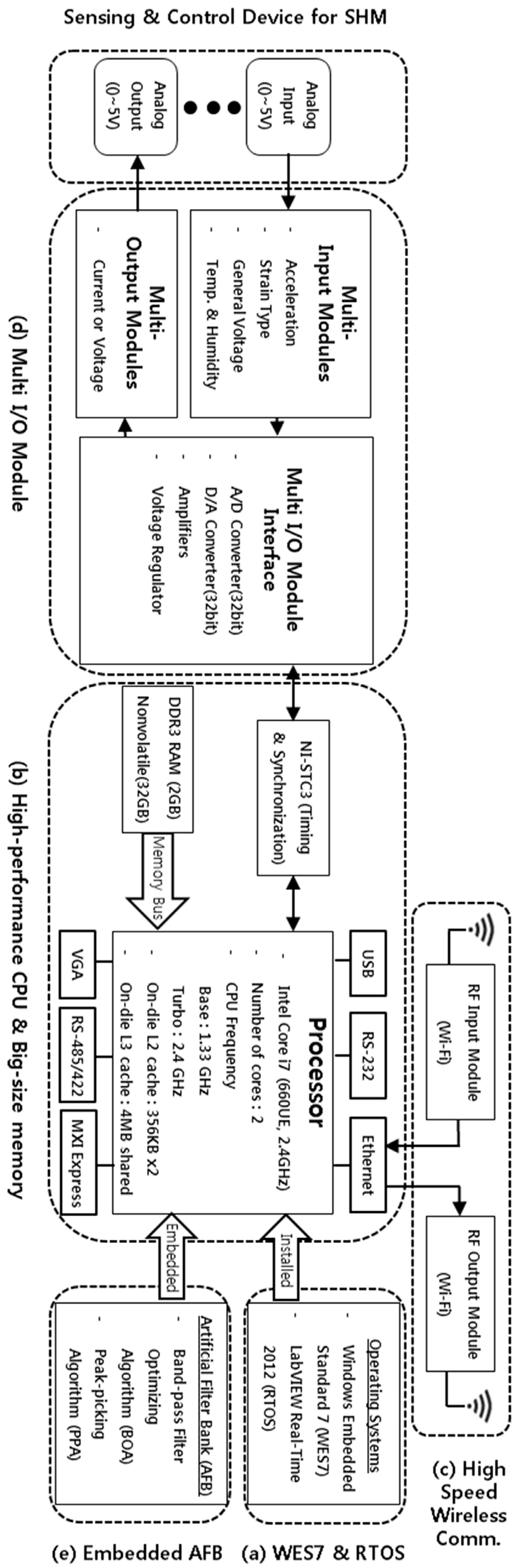
3.1. Logging and Controller System (L and Cs)
3.2. Multi-Input and Multi-Output System (MIMO)
3.3. Two-Way Wireless Communication System (TWCs)
3.4. Central Monitoring and Control System (CM&Cs)
3.5. Embedding of the CAFB
4. Experimental Study of the CAFB Using a Model Bridge
4.1. FE Analysis of Model Bridge
4.2. Modal Test of Model Bridge
5. Evaluation of IDAQ System
5.1. Reconstruction Signal of IDAQ System
5.2. Compressive Signal of the IDAQ System
6. Conclusions
- The band-pass filter optimizing algorithm of the developed CAFB was effective in acquiring just the frequency signal containing the significant modes of interest) out of the wide frequency contents of random signals. In particular, the artificial filter bank optimized by using the representative random waveform (based on the El-Centro earthquake) can be utilized as a technology to acquire the dynamic response of large civil structures with a frequency range below 10 Hz.
- The peak-picking algorithm of the developed CAFB is effective in compressing the data size by selectively re-sampling only the peak values containing the valid modal information out of the random dynamic responses. This data compression technology can be efficiently used as a technology to operate and manage the measurement DB and also to overcome the limitations of wireless RF communications, which has emerged in WSN-based SHM technology.
- The CAFB can be optimized flexibly with a random standard signal, and it can be utilized as a technology to acquire the dynamic response not only from civil structures, but also from other structures (e.g., machines used in industry). Furthermore, it was observed that the reconstruction signal and compressive signal evaluated in this study are not only capable of reconstructing in the time domain but also reflect the modal information of the frequency domain.
- In this paper, CAFB was optimized on the basis of three target modes in order to efficiently acquire dynamic responses concerned on the model structure, and its performance was quantitatively evaluated through modal experiments. If the target structure is not a civil structure, but a machine, a plant, or other facilities whose frequency of dynamic responses is different from the one concerned in this paper, it can be newly optimized for a new purpose. The CAFB, which was evaluated in this paper can, thus, be variably applied with flexible readjustment and optimization in regard to the range of frequency and responses of a target structure.
- Ultimately, since the CAFB-based IDAQ system developed in this study can acquire the compressed size of the valid dynamic response around the frequency range of interest it is, therefore, relevant with respect to the economy and efficiency when measuring the dynamic response of civil structures in real-time and it is determined that this system can provide a new paradigm for structural health monitoring using WSNs.
- Additionally, since this research is based on indoor experiments based on a model structure, it should be pointed out that further studies are needed to find the effect of environmental conditions and season variability in the wireless reading, etc.
Acknowledgments
Author Contributions
Conflicts of Interest
Abbreviations
| SHM | Structural Health Monitoring |
| IDAQ | Intelligent Data Acquisition |
| L&Cs | Logging and Controller system |
| MIMOs | Multi Input and Multi Output system |
| TWCs | Two-way Wireless Communication system |
| CM&Cs | Central Monitoring and Control system |
| EST | Embedded Software Technology |
| RTOS | Real-Time Operating System |
| DAQ | Data Acquisition |
| RF | Radio Frequency |
| AP | Access Point |
| CAFB | Cochlea-inspired Artificial Filter Bank |
| BOA | Band-pass filter Optimizing Algorithm |
| PPA | Peak-Picking Algorithm |
| RE | Reconstruction Error |
| CR | Compressive Ratio |
| FE | Finite Element |
| D-S/W-D | Digital-Software-Design |
| S-SHM | Smart Structural Health Monitoring |
| WSNs | Wireless Sensor Networks |
References
- Heo, G.; Jeon, J. A Study on the Data Compression Technology-Based Intelligent Data Acquisition (IDAQ) System for Structural Health Monitoring of Civil Structures. Sensors 2017, 17, 1620. [Google Scholar] [CrossRef] [PubMed]
- Abe, M.; Fujino, Y.; Yanagihara, M.; Sato, M. Monitoring of hakucho suspension bridge by ambient vibration measurement. In Proceedings of the SPIE 3995, Nondestructive Evaluation of Highways, Utilities, and Pipelines IV, Newport Beach, CA, USA, 6–8 March 2000. [Google Scholar]
- Andersen, E.Y.; Pedersen, L. Structural monitoring of the Great Belt East Bridge. In Proceedings of the Third Symposium on Strait Crossing, Alesund, Norway, 12–15 June 1994; Volume 94, pp. 189–195. [Google Scholar]
- Celebi, M.; Purvis, R.; Hartnagel, B.; Gupta, S.; Clogston, P.; Yen, P.; O’Connor, J.; Franke, M. Seismic instrumentation of the Bill Emerson Memorial Mississippi River Bridge at Cape Girardeau (MO): A cooperative effort. In Proceedings of the 4th International Seismic Highway Conference, Memphis, TN, USA, 9 Fabruary 2004. [Google Scholar]
- Yun, C.B.; Lee, J.J.; Kim, S.K.; Kim, J.W. Recent R&D activities on structural health monitoring for civil infra-structures in Korea. KSCE J. Civ. Eng. 2003, 7, 637–651. [Google Scholar]
- Wong, K.Y. Instrumentation and health monitoring of cable-supported bridges. J. Struct. Control Health Monit. 2004, 11, 91–124. [Google Scholar] [CrossRef]
- Gallucci, L.; Menna, C.; Angrisani, L.; Asprone, D.; Lo Moriello, R.S.; Bonavolontá, F.; Fabbrocino, F. An embedded wireless sensor network with wireless power transmission capability for the structural health monitoring of reinforced concrete structures. Sensors 2017, 17, 2566. [Google Scholar] [CrossRef] [PubMed]
- D’Amato, F.; Gamba, P.; Goldoni, E. Monitoring heritage buildings and artworks with Wireless Sensor Networks. In Proceedings of the 2012 IEEE Workshop on Environmental Energy and Structural Monitoring Systems (EESMS), Perugia, Italy, 28 September 2012. [Google Scholar]
- Krüger, M. Long-term wireless monitoring of historic structures-lessons learned from practical applications. In Proceedings of the 6th European Workshop—Structural Health Monitoring (EWSHM), Dresden, Germany, 3–6 July 2012; Volume 1, pp. 589–597. [Google Scholar]
- Leccese, F.; Cagnetti, M.; Calogero, A.; Trinca, D.; di Pasquale, S.; Giarnetti, S.; Cozzella, L. A new acquisition and imaging system for environmental measurements: An experience on the Italian cultural heritage. Sensors 2014, 14, 9290–9312. [Google Scholar] [CrossRef] [PubMed]
- Todorović, B.M.; Samardžija, D. Road lighting energy-saving system based on wireless sensor network. Energy Effic. 2017, 10, 239–247. [Google Scholar] [CrossRef]
- Leccese, F.; Cagnetti, M.; Sciuto, S.; Scorza, A.; Torokhtii, K.; Silva, E. Analysis, design, realization and test of a sensor network for aerospace applications. In Proceedings of the 2017 IEEE International Instrumentation and Measurement Technology Conference (I2MTC), Turin, Italy, 22–25 May 2017. [Google Scholar]
- Dimple Rani, M.; Pradeepa, J.J.; Shaby, S.M. Measurement and fault detection in intelligent wireless system using wireless devices. In Proceedings of the International Conference on Communication and Signal Processing (ICCSP 2016), Melmaruvathur, India, 6–8 April 2016; pp. 2236–2240. [Google Scholar]
- Hu, J. Application of ZigBee wireless sensor network in gas monitoring system. Acta Tech. 2017, 62, 255–264. [Google Scholar]
- Kalidas, S.; Bharadwaj, S.; Vidhyapathi, C.M.; Karthikeyan, B. Wireless node based automatic irrigation control system. ARPN J. Eng. Appl. Sci. 2017, 12, 5379–5383. [Google Scholar]
- Leccese, F.; Cagnetti, M.; Trinca, D. A smart city application: A fully controlled street lighting isle based on Raspberry-Pi card, a ZigBee sensor network and WiMAX. Sensors 2014, 14, 24408–24424. [Google Scholar] [CrossRef] [PubMed]
- Aparicio, S.; Martínez-Garrido, M.I.; Ranz, J.; Fort, R.; Izquierdo, M.Á.G. Routing topologies of wireless sensor networks for health monitoring of a cultural heritage site. Sensors 2016, 16, 1732. [Google Scholar] [CrossRef] [PubMed]
- Leccese, F.; Leonowicz, Z. Intelligent wireless street lighting system. In Proceedings of the 2012 11th International Conference on Environment and Electrical Engineering, Venice, Italy, 18–25 May 2012; pp. 958–961. [Google Scholar]
- Spencer, B.F.; Ruiz-Sandoval, M.E.; Kurata, N. Smart sensing technology: Opportunities and challenges. J. Struct. Control Health Monit. 2004, 11, 349–368. [Google Scholar] [CrossRef]
- Lynch, J.P.; Loh, K.J. A summary review of wireless sensors and sensor networks for structural health monitoring. Shock Vib. Dig. 2006, 28, 91–126. [Google Scholar] [CrossRef]
- Nagayama, T.; Spencer, B.F.; Mechitov, K.A.; Agha, G.A. Middleware services for structural health monitoring using smart sensors. Smart Struct. Syst. 2009, 5, 119–137. [Google Scholar] [CrossRef]
- Rice, J.A.; Spencer, B.F. Structural health monitoring sensor development for the Imote2 platform. In Proceedings of the SPIE 6932, Sensors and Smart Structures Technologies for Civil, Mechanical, and Aerospace Systems, San Diego, CA, USA, 9–13 March 2008. [Google Scholar]
- Kurata, M.; Kim, J.; Lynch, J.P.; van der Linden, G.; Sedarat, H.; Thometz, E.; Hipley, P.; Sheng, L. Internet-Enabled Wireless Structural Monitoring Systems: Development and Permanent Deployment at the New Carquinez Suspension Bridge. J. Struct. Eng. 2013, 139, 1688–1702. [Google Scholar] [CrossRef]
- Heo, G.; Jeon, J. A Smart Monitoring System Based on Ubiquitous Computing Technique for Infra-structural System: Centering on Identification of Dynamic Characteristics of Self-Anchored Suspension Bridge. KSCE J. Civ. Eng. 2009, 13, 333–337. [Google Scholar] [CrossRef]
- Peckens, C.A.; Lynch, J.P. Utilizing the cochlea as a bio-inspired compressive sensing technique. Smart Mater. Struct. 2013, 22, 105027. [Google Scholar] [CrossRef]
- Peckens, C.A.; Lynch, J.P.; Heo, G. Resource Efficient Wireless Sensor Network Architecture based on Bio-mimicry of the Mammalian Auditory System. J. Intell. Mater. Syst. Struct. 2015, 26, 79–100. [Google Scholar] [CrossRef]
- Heo, G.; Jeon, J. The Principle and Optimal Design of a Cochlea-inspired Artificial Filter Bank (CAFB) for Structural Health Monitoring. KSCE J. Civ. Eng. 2017, 21, 307–314. [Google Scholar] [CrossRef]
- Ewins, D.J. Modal Testing: Theory Practice and Application, 2nd ed.; Wiley-Blackwell: Hoboken, NJ, USA, 2000. [Google Scholar]















| Characteristic | Dimensions |
|---|---|
| Total/main span length | 4.22 m/2.22 m |
| Superstructure width/Tower heights | 0.17 m/1.00 m |
| Tower boundary conditions | Roller and hinge |
| Bridge end boundary conditions | Roller |
| Bridge material | Structural steel |
| Cable material | Spring (k = 1.03 N/mm) |
| Concentrated load | 1 kg (39EA) |
| Natural Frequency & Mode Shape | |
|---|---|
| 1st bending mode | ![]() |
| 2.877 Hz | |
| 2nd bending mode | ![]() |
| 4.194 Hz | |
| 3rd bending mode | ![]() |
| 6.242 Hz |
| Bending | Wired (Hz) | FE Analysis (Hz) | Error Ratio (%) | Wireless (Hz) | Error Ratio (%) |
|---|---|---|---|---|---|
| 1st | 2.735 | 2.877 | 5.191 | 2.736 | 0.036 |
| 2nd | 4.005 | 4.194 | 4.719 | 4.104 | 2.471 |
| 3rd | 6.154 | 6.242 | 1.429 | 6.058 | 1.559 |
| Bending | Wireless (Hz) | Reconstruction (Hz) | Error Ratio (%) | Compressive (Hz) | Error Ratio (%) |
|---|---|---|---|---|---|
| 1st | 2.736 | 2.736 | 0.000 | 2.735 | 0.036 |
| 2nd | 4.104 | 4.104 | 0.000 | 4.005 | 2.412 |
| 3rd | 6.058 | 6.058 | 0.000 | 6.057 | 0.016 |
| RE | Reconstruction Efficacy (%) | CR | Compressive Efficacy (%) |
|---|---|---|---|
| 0.4461 | 55.39 | 0.095 | 90.5 |
© 2018 by the authors. Licensee MDPI, Basel, Switzerland. This article is an open access article distributed under the terms and conditions of the Creative Commons Attribution (CC BY) license (http://creativecommons.org/licenses/by/4.0/).
Share and Cite
Heo, G.; Kim, C.; Jeon, S.; Jeon, J. An Experimental Study of a Data Compression Technology-Based Intelligent Data Acquisition (IDAQ) System for Structural Health Monitoring of a Long-Span Bridge. Appl. Sci. 2018, 8, 361. https://doi.org/10.3390/app8030361
Heo G, Kim C, Jeon S, Jeon J. An Experimental Study of a Data Compression Technology-Based Intelligent Data Acquisition (IDAQ) System for Structural Health Monitoring of a Long-Span Bridge. Applied Sciences. 2018; 8(3):361. https://doi.org/10.3390/app8030361
Chicago/Turabian StyleHeo, Gwanghee, Chunggil Kim, Seunggon Jeon, and Joonryong Jeon. 2018. "An Experimental Study of a Data Compression Technology-Based Intelligent Data Acquisition (IDAQ) System for Structural Health Monitoring of a Long-Span Bridge" Applied Sciences 8, no. 3: 361. https://doi.org/10.3390/app8030361
APA StyleHeo, G., Kim, C., Jeon, S., & Jeon, J. (2018). An Experimental Study of a Data Compression Technology-Based Intelligent Data Acquisition (IDAQ) System for Structural Health Monitoring of a Long-Span Bridge. Applied Sciences, 8(3), 361. https://doi.org/10.3390/app8030361




