Next Article in Journal
Effect of Different Downward Loads and Rotational Speeds on the Removal of Gutta-Percha and Root Canal Sealer Using a Nickel-Titanium Rotary Gutta-Percha Removal System: An Ex Vivo Study
Previous Article in Journal
Advances in Machine Learning: Emerging Methods and Real-World Applications
 
 
Font Type:
Arial Georgia Verdana
Font Size:
Aa Aa Aa
Line Spacing:
Column Width:
Background:
Article

Relative Dynamics and Force/Position Hybrid Control of Mobile Dual-Arm Robots

1
Shaanxi Key Laboratory of Mine Electromechanical Equipment Intelligent Detection and Control, Xi’an University of Science and Technology, Xi’an 710054, China
2
Key Laboratory of Ministry of Education for Electronic Equipment Structure Design, Xidian University, Xi’an 710000, China
*
Author to whom correspondence should be addressed.
Appl. Sci. 2026, 16(1), 444; https://doi.org/10.3390/app16010444
Submission received: 13 October 2025 / Revised: 29 December 2025 / Accepted: 29 December 2025 / Published: 31 December 2025

Abstract

Equipped with one degree of freedom in one-dimensional translation of the base, a mobile dual-arm robot (MDAR) is proposed in this paper, and the two arms and the base move simultaneously. As a result, the motion of the base has a significant influence on the motion of both end-effectors at the same time, and the relative positions of the two end-effectors change all the time. Therefore, this paper focuses on the main issues related to the presented MDAR in two key areas: the relative dynamics and relative force/position hybrid control. First, based on the D-H parametric method, the relative kinematics of the proposed MDAR is established, and the relative Jacobian matrix of the robot is derived. Secondly, the dynamic model of the proposed MDAR is constructed using the Lagrangian method. Furthermore, a closed-loop control strategy for relative force/position hybrid control of the MDAR based on the relative dynamics is proposed to enable the two end-effectors of the MDAR to track the planned trajectory accurately. Finally, a simulation is carried out on a dual-arm cutting robot (DACR) for a coal mine to prove the effectiveness of the proposed relative dynamics and the proposed relative force/position hybrid control law in terms of the absolute error (AE) and root mean square error (RMSE). The results show that the proposed relative dynamic model and relative force/position hybrid control can significantly reduce error of the DACR, effectively improve the adaptability and operation accuracy of the system to complex environment, and verify the feasibility and superiority of the method in practical application.

1. Introduction

With the advancement of industrial technology, increasing demands are being placed on robot systems, including the ability to perform more complex tasks, achieve higher precision, and to be able to adapt to more harsh environments. Dual-arm robots not only possess environmental perception capabilities during motion but can also execute designated operational tasks. In recent years, considerable research attention has been directed toward dual-arm robots integrated with mobile bases. This paper proposes a mobile dual-arm robot (MDAR) with the following fundamental structural constraints: the system must incorporate a mobile base capable of providing one-dimensional translational motion, with the two arms symmetrically mounted upon this base, each maintaining an independent kinematic chain. The two arms of the MDAR have both the flexibility of mobile robots and the gripping ability, which largely reduce labor input and improve productivity. The proposed MDAR is not merely a simple combination of two arms, but rather the two arms have a common motion on the same base, and the two arms work together in the same system, are interconnected, interact, and coordinate to accomplish a task. The two arms transfer parameter information such as position, speed, and force to each other to coordinate and cooperate to complete a single action when carrying out a work task. With its unique structural design and high degree of flexibility, the MDAR has a wide range of applications in several fields. Firstly, it can be utilized in intelligent manufacturing within digital workshops [1]. In the automobile manufacturing industry, two arms of the robots follow a pre-designed program to complete the work task efficiently. Secondly, it can be utilized in the assembly and testing of spacecraft. In the aerospace industry, this kind of robot is utilized to assemble and test the parts of all kinds of spacecraft. The mobile function of the base enables the robot to move flexibly in a narrow space and improves the efficiency and safety of assembly and testing through the precise operation of the arms. Thirdly, it can realize complex tasks such as unmanned, fully automated intelligent inspection and clearing of obstacles [2]. The MDAR can efficiently handle, sort, and pack goods in logistics department. Additionally, it can be utilized for household services. Moley Robotics in the UK [3] has designed a robot that can cook by simulating a chef’s process of stir-frying, using two simulated arms to control a variety of kitchen utensils. The MDAR has a wide range of applications in many fields and brings more convenience and benefits to various fields of human society. Therefore, the MDAR with universality is analyzed and researched in this paper.
As is well known, the dynamics investigates the relationship and balance between force and motion in robots, playing a crucial role in their development. To achieve precise control of the dual-arm motion of the MDAR, particularly for tasks requiring high coordination, it is essential to investigate its dynamics. Such analysis enables the optimization of motion trajectories and torque distributions in robotic systems. At present, several studies are available on the dynamics models [4,5,6,7] of dual-arm robots. Zhong et al. [8] investigated the dynamics of the 2P-1P3R dual-arm robot using R. P. Paul’s dynamic analysis method, with the derivation of formulas corresponding to the driving force or torque of each joint. Liu et al. [9] aimed at the dynamics modeling of dual-arm cooperating planar manipulators, a generalized dynamical equation of multi-link planar manipulators was established and proved with traditional Lagrange equation. Jazidie [10] proposed a method for the dynamic simulation of multiarm robots by taking the mechanism of various contact types into consideration. Wu et al. [11] analyzed all the working states of the space dual-arm robot and introduced the binary coefficient of determination to inductively obtain four robot working states, namely, two arms independent motion, two arms cooperation, closed-chain body floating, and open-chain body floating, and further the dynamic model of the space dual-arm robot under the four different working states was obtained based on the Lagrangian equation. Shen et al. [12] presented a recursive inverse dynamics modeling method based on decoupled natural orthogonal complement to deal with the problem of inverse dynamics modeling for dual-arm robots. Zhang et al. [13] derived a dynamics model for a free-floating space flexible dual-arm robot coordinated operation of a rigid-loaded closed-chain system based on the assumption of the modal method, the Lagrangian equations, and the momentum conservation of the system. Zhang et al. [14] established the relative dynamics model of the two-arm coordination robot based on the relative Jacobian matrix. Chen et al. [15] conveniently derived the dynamics equations for a dual-arm robot using the dynamics equations for a single-arm robot obtained by the subsystem Newton–Euler’s recursive method. Shivam et al. [16] proposed a hybrid learning approach combining data-driven and parameterized modeling to approximate the dynamic model of the two arms. Lu [17] used the Newton–Euler method to develop a dynamic model for the entire robotic arm. Peng et al. [18] proposed a dynamic coupling modeling and analysis method for a dual-arm space robot. Lv [19] established a more comprehensive dynamic model of DLOs based on a discrete elastic rod model, which takes into account the twisting deformation of DLOs. Many existing works has been conducted on the dynamics of dual-arm robots, but the relative dynamics characteristics of the proposed MDAR has not yet been thoroughly explored. In this paper, the MDAR’s relative dynamic model is established to investigate the dynamic relationship between the two arms in the same system, rather than treating the end-effectors as two independent single arms. There are three main reasons for studying the relative dynamic model of the MDAR. First, due to the special working nature of the MDAR, the two arms may produce dynamic coupling effects on the mobile base during operation. It is not possible to think of this dynamic coupling effect as the summation of the effects of two separate arms on the base dynamics. A universal dynamic model of the dual-arm robot must be created to investigate the effects of the two arms operation on the base. Second, current research on dual-arm robots mainly focuses on the situation where most robots have a fixed base. This makes the relative Jacobian matrix of such robots be a square matrix with strong specificity. However, the proposed MDAR has redundant degrees of freedom, which leads to a non-square relative Jacobian matrix of the MDAR, requiring a universal dynamic model to describe the dynamic characteristics of the MDAR. Finally, the relative Jacobian matrix can accurately describe the relationship between joint velocities and relative velocities of the end-effectors of the MDAR.
Another aspect that must be taken into account is control algorithms for the dual-arm robot, which are vital components that determine the behavior and performance in various tasks. These algorithms dictate how a dual-arm robot plans its actions and executes precise movements. By utilizing control algorithms, dual-arm robots can adapt to dynamic environments and accomplish complex tasks with efficiency and precision. Therefore, it is important to mention that the development of effective control strategies [20,21,22,23] is crucial for enhancing the capabilities and versatility of dual-arm robots across diverse applications. Guo [24] used a particle swarm algorithm to optimize the coordinated trajectory of a dual-arm robot, which can overcome the singularity problem of robot dynamics, improve the motion accuracy of the robot’s end-effectors, and better perform high-precision occasional tasks. Gerasimos et al. [25] proposed a nonlinear optimal control approach for the dynamic model of a dual robotic arm. Jing et al. [26] proposed an inner/outer loop hybrid control strategy for controlling the internal forces of redundant degrees of freedom dual-arm robots when grasping objects. Ai et al. [27] studied the dynamic problems of spatial dual-arm robots in capturing freely floating targets and proposed a fuzzy control scheme to mitigate impact effects and maintain system stability after capture. Li et al. [28] proposed a real-time self-avoidance moment control strategy for a dual-arm robot oriented to collision avoidance and designed a moment control algorithm based on inter-joint distances. Senthilnathan et al. [29] proposed a modified BP-RRT algorithm for the dual-arm collaborative robot has a pre-stage partition of grids that makes the computation faster, efficient, and collision-free compared to the traditional path planning algorithms namely RRT, RRT, Improved RRT and BP-RRT. Ueno et al. [30] introduced collision barriers to coordinate the trajectories of dual-arm robots to avoid collisions. Jiang et al. [31] divided the control problem of dual-arm robots with modeling uncertainties into two subsystems based on the functionality of each arm and introduced radial basis function neural networks to handle dynamic uncertainties. Tran et al. [32] proposed an adaptive synchronization sliding mode control proposed for a dual-arm robot against parameter variations, external disturbance, and unknown control directions. Sun et al. [33] proposed a hybrid control approach for a mobile robot with two arms to fulfill an explosive disposal task. Li et al. [34] established a new impedance control method for the master-slave action of two arms, by introducing the relative error between them and the concept of virtual restoring force generated by the relative error. Anh et al. [35] proposed a new approach for fault-tolerant control of Dual-Arm Robots based on advanced sliding mode control. A comprehensive fractional-order model is proposed taking nonlinear viscous and viscoelastic friction at the joints into account. Using integral fast terminal sliding mode control and fractional calculus, develop two robust controllers for robots subject to motor faults, parametric uncertainties, and disturbances. Cheng et al. [36] derived the dynamic model of a dual-arm spatial robot capturing non-cooperative targets and designed a control scheme based on fuzzy logic systems to reduce the impact of system uncertainties after capturing the target. The two arms of the proposed MDAR are mounted on a common mobile base and thus cannot be treated as two independently controlled single arms. Consequently, its control algorithm is more complex than those of typical single-arm robots or dual-arm robots with a fixed base. Therefore, a new control algorithm, the relative force/position hybrid controller for the MDAR, is presented and generated in this paper, which can effectively control the force and position of the MDAR.
Compared with the typical dual-arm robot [37,38], the MDAR presented in this paper had constant movement of the two arms while the base was moving, and the relative positions of the end-effectors of the two arms changed from time to time. We have previously conducted in-depth research on the relative kinematic modeling, workspace analysis, and closed-loop kinematic control of dual-arm cutting robots (DACR) in reference [39]. This work addressed the collaborative description and trajectory tracking of the DACR at the kinematic level, but did not yet address the dynamic characteristics or force control for the DACR. This paper, as a matter of fact, extends the DACR to more broadly applicable MDAR. However, after reviewing a large volume of scientific literature, it was found that the proposed MDAR had not been sufficiently studied to date. As a result, the dynamics and the precise control are key issues for the proposed MDAR. Therefore, the motivation behind this paper was to investigate the relative dynamics and closed-loop control strategy for the MDAR, and the novelty of this work stemmed from the following aspects:
  • A more generalized mobile dual-arm robot (MDAR) featuring a base with one degree of freedom for translational motion was proposed in this paper. Moreover, the relative dynamics model of the MDAR, which characterized the mapping relationship between the joint force of the MDAR and the two end-effector relative force through a unified relative task space, was investigated in this paper.
  • Meanwhile, a relative force/position hybrid controller for the presented MDAR was proposed based on the relative dynamics, and the effectiveness of the relative force/position hybrid controller was verified by simulation.
The remainder of this paper is structured as follows. Section 2 introduces the advanced MDAR system and outlines the key challenges in its current research. Based on this, the relative dynamic model for the system is proposed in Section 3. Section 4 is dedicated to the design of a closed-loop hybrid force/position controller for the MDAR, founded on the derived relative dynamics. Subsequently, Section 5 presents and analyzes the corresponding simulation results. Section 6 presents the concluding remarks of this paper.

2. The Proposed Mobile Dual-Arm Robots

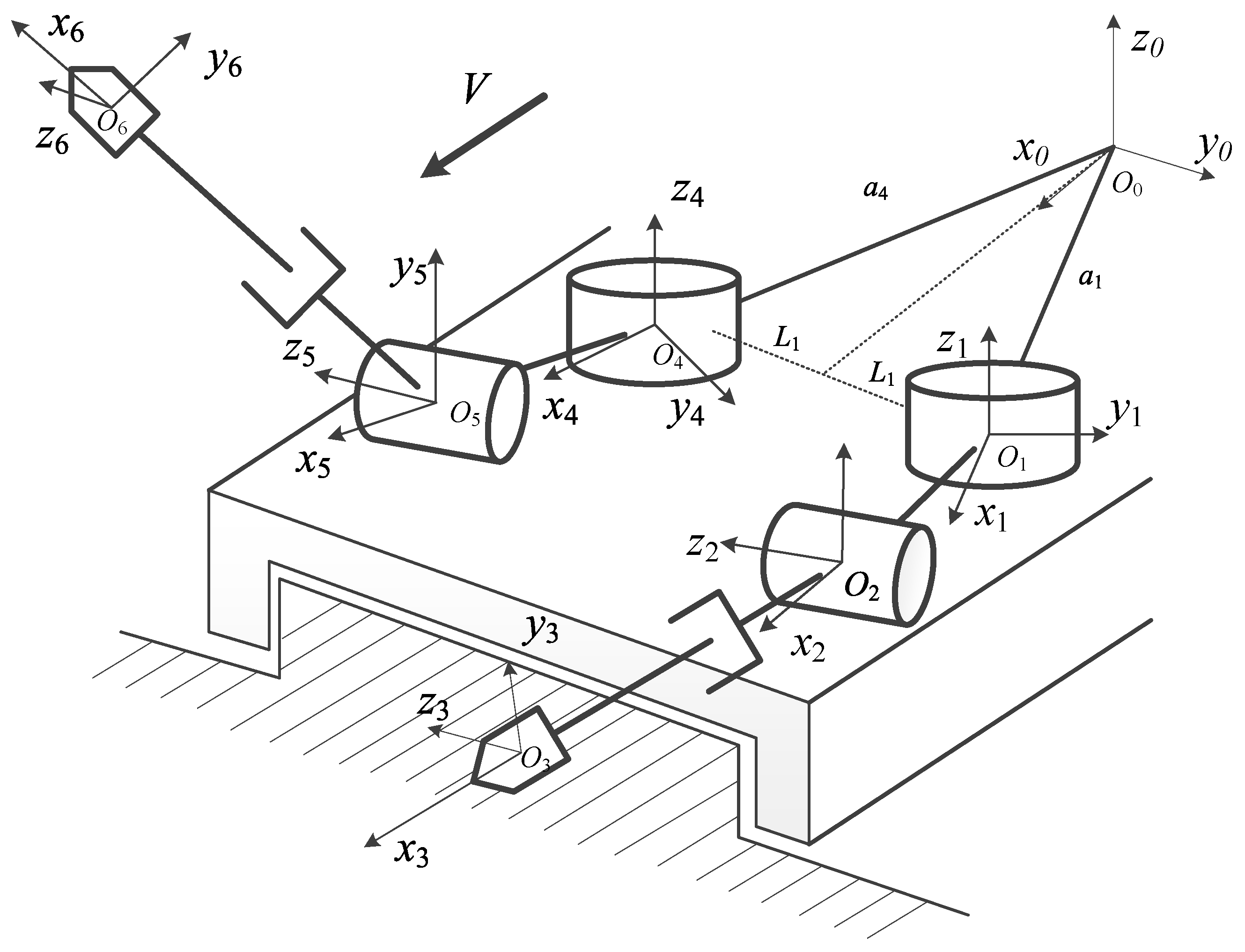
In this research, a mobile dual-arm robot is designed and modeled, which has a wide dynamic translational workspace for heavy and accurate transportation operation in narrow and long areas, such as the excavation of long and narrow roadways in coal mining. Here, the dual-arm robot is installed on a mobile base to increase its translational workspace. The MDAR investigated in this paper, illustrated in Figure 1, comprises three core subsystems: a base with one degree of freedom for mobility, a robust support platform, and two three-degree-of-freedom robotic arms mounted on it, each arm comprising a twist joint, a pitch joint, and an extension joint, collectively providing seven degrees of freedom. Specifically, specifically, its mobile base adopts the form of sliding, which can realize the translation of the movement direction and provide a broad working range for the system. This redundant design enables the end effector to complete the work task more flexibly.
As mentioned above, the dynamics and control for the proposed MDAR are considerably complex than traditional dual-arm robots. This issue is considered to be one of the most important parts in the field of the MDAR. Another challenge for the MDAR is the possibility of the two arms colliding with each other, which leads to a constraint in the optimal design and motion control of the robot. In subsequent developments, the research and application of the proposed MDAR mainly face the following two key problems:
  • Dual-output and co-motion of the proposed MDAR make it difficult to model the dynamics of the robots unified. The proposed MDAR relies on two arms installed to the common moving base to complete the task. The movement of the end-effector of robot’s left-arm depends on the left-arm’s three joints and the mobile base simultaneously, while the movement of the end-effector of the robot’s right-arm depends on the right-arm’s three joints and the mobile base simultaneously. The two arms connections do not simply build the kinematic and dynamic models of two independent arms together in a matrix form but rather establish the relationship between the two through matrix parameters or other forms. The output of the two end-effectors makes it difficult to establish a unified description model of the robot. The two arms of the robot are installed to the same base, so the common mobile of the base will inevitably have an important impact on the movement of the two arms. Therefore, how to establish a unified kinematics and dynamics model for the MDAR is the first key problem to be solved urgently.
  • The precise control of the investigated MDAR presents considerable challenges, primarily attributable to its inherent complexity as a multi-degree-of-freedom system. During operation, the MDAR interacts with target objects via the end-effectors of both arms, applying specified forces to accomplish predefined tasks. Correspondingly, reactive forces from the objects were exerted upon the two arms. This results in system dynamics that exhibit pronounced nonlinearity and strong coupling. Moreover, the actuation of any single joint influences the overall state of the system, thereby imposing stringent requirements on the design of the robot’s control strategy.
It should be pointed out this paper mainly focuses on the two problems: the difficulty of modeling the relative dynamics and the difficulty in controlling problems. Consequently, tackling the two problems outlined above becomes paramount. An accurate and tractable dynamic model serves as the primary foundation, while a sophisticated control strategy is the core guarantee for the robot’s performance.

3. Relative Dynamics of the Proposed MDAR

It is well known that kinematic modeling is the basis for investigating the motion of the proposed MDAR. Based on the kinematic model, the Jacobian matrix was derived, establishing the transformation relationship between the velocities of the two end-effectors and the joint velocities. In this section, the kinematic model of the MDAR was constructed within a unified inertial coordinate system using the D-H parametric method. Subsequently, the relative Jacobian matrix of the MDAR was obtained from translational and rotational coordinate transformations.

3.1. Relative Kinematics

Relative kinematics is one of the fundamental problems for the MDAR. It is well known that the Denavit–Hartenberg (D-H) parameters method are employed to describe the kinematics chain for serial robots. In this methodology, each variable corresponds to a specific geometric or angular relationship within the serial robots. Specifically, the link length a i defines the distance along the x i axis between the z i 1 axis and the intersection point of the x i and z i axes. The link twist α i indicates the rotation about the x i axis from z i 1 to z i . Additionally, the link offset d i describes the distance along the z i axis from the x i 1 axis to the intersection of the x i and z i axes, and the joint angle q i refers to the angle of rotation about the z i 1 axis from x i 1 to x i . Together, these four parameters fully describe the homogeneous transformation between successive links, enabling the determination of the end-effector’s position and orientation pose from a given set of joint variables. In this section, the D-H method is employed to analyze the kinematic characteristics of the robot to determine the transformation relationship between the joint link coordinate systems. In more detail, the coordinate system o i x i y i z i is established at the ith joint in Figure 1, and subsequently, the relationship between joint angles and the end-effector’s positions of the two arms can be established. The D-H parameters of the MDAR are shown in Table 1.
The homogeneous transformation matrices for the individual arm of the MDAR are given by the following expressions:
T 3 0 = T 1 0 T 2 1 T 3 2 T 6 0 = T 4 0 T 5 4 T 6 5 ,
And the homogeneous transformation matrix T i i 1 is given by:
T i i 1 = R o t ( z , θ i ) T r a n s ( 0 , 0 , d i ) T r a n s ( a i , 0 , 0 ) R o t ( x , α i ) ,
T i i 1 = cos q i sin q i cos α i sin q i sin α i a i cos q i sin q i cos q i cos α i cos q i sin α i a i sin q i 0 sin α i cos α i d i 0 0 0 1 ,
in which T i i 1 represents the relative position of the coordinate system i with respect to the previous coordinate system i 1 .
Substituting the joint parameters, the homogeneous transformation matrices for both arms can be expressed as:
T 3 0 = n x 3 o x 3 a x 3 p x 3 n y 3 o y 3 a y 3 p y 3 n z 3 o z 3 a z 3 p z 3 0 0 0 1   T 6 0 = n x 6 o x 6 a x 6 p x 6 n y 6 o y 6 a y 6 p y 6 n z 6 o z 6 a z 6 p z 6 0 0 0 1 ,
the Jacobian matrix is established based on the positions P 3 0 = [ P x 3 P y 3 P z 3 ] T and P 6 0 = [ P x 6 P y 6 P z 6 ] T of the two end-effectors in MDAR:
d p dt = J ( q ) d q dt ,
It should be pointed out that, during actual operation of the MDAR, parameter errors may cause its motion trajectory to deviate from the expected trajectory, thereby posing a risk of dual-arm collision. To ensure operational safety, well-defined and controllable relative position and velocity relationships between the two end-effectors are essential. Accordingly, the relative Jacobian matrix is derived to formulate the kinematic mapping between the relative velocities of the two end-effectors and the corresponding joint velocities.
There are two ways of expressing the motion transmission of the end-effectors of the MDAR relative to the base coordinate system. One is the transformation of the coordinate system of link 6 relative to the base coordinate system, that is to say, it is transmitted along the direction of the arm (6 → 5 → 4 → 0) of link 6 to the base coordinate system. The other is that link 6 is transmitted along link 3 to the base coordinate system (6 → 3 → 2 → 1 → 0). Based on the established MDAR coordinate system and D-H parameters, the rotation-translation composite transformation from the base to the end-effectors at the left and right arms can be expressed by the following equations:
R 3 0 R 6 3 = R 4 0 R 6 4 p 3 0 + R 3 0 p 6 3 = p 6 0 ,
in which R i j denotes the rotation matrix from coordinate system { i } to coordinate system { j }, and P i j represents the position vector from coordinate system { i } to coordinate system { j }.
Take the derivative on both sides of Equation (6) to obtain the relative angular velocity and relative velocity of the end-effectors of the two arms:
R ˙ 6 3 = R ˙ 0 3 R 6 0 + R 0 3 R ˙ 6 0 p ˙ R = R ˙ 0 3 p 6 0 + R 0 3 p ˙ 6 0 R ˙ 0 3 p 3 0 R 0 3 p ˙ 3 0 ,
where the rotation matrix derivative can be rewritten in the following form to replace the vector:
R ˙ = ω × R = S ( ω ) R R S ( ω ) R T = S ( R ω ) ,
as a result, Equation (7) can be changed to:
S ( ω R ) 6 3 R = S ( ω 0 3 ) R 6 3 + R 0 3 S ( ω 6 0 ) R T 0 3 R 0 3 R 6 0 P ˙ R = S ( R 0 3 p 6 0 ) R 0 3 ω 3 0 + R 0 3 p ˙ 6 0 S ( R 0 3 p 3 0 ) R 0 3 ω 3 0 R 0 3 p ˙ 3 0 ,
in which S ( ω ) is expressed as the following form:
S ( ω ) = 0 ω Z ω y ω z 0 ω x ω y ω x 0 ,
and furthermore, Equation (9) can be simplified as follows:
ω R = R 0 3 ω 3 0 + R 0 3 ω 6 0 p ˙ R = S ( p 6 3 ) R 0 3 J ω L q ˙ L + R 0 3 p ˙ 6 0 R 0 3 p ˙ 3 0 .
Finally, the relative Jacobian matrix of the proposed MDAR is expressed as the following form:
J R ( q ) = ψ R Ω 0 3 J L Ω 0 3 J R 1 ,
in which ψ R = I S ( p R ) 0 I , Ω i j = R i j 0 0 R i j , matrices J L = J P L J ω L and J R 1 = J P R J ω R represent the Jacobian matrices of the two arms, respectively; and the matrix S ( p R ) can be expressed as:
S ( p R ) = 0 z R y R z R 0 x R y R x R 0 .
The proposed relative Jacobian matrix for the MDAR precisely describes the linear mapping relationship between the relative task-space velocities of the two end-effectors and the joint-space velocities. Its complete expression is given as follows:
X ˙ R = J R ( q ) q ˙ ,
in which X ˙ R , J R q , and q ˙ denote the relative end-effector velocity, the relative Jacobian matrix, and the joint velocities, respectively.

3.2. Relative Dynamics

It should be pointed that this section treats both the two arms linkage and the mobile base as rigid bodies, neglecting their flexible deformation, and each link is modeled as a homogeneous rod with mass concentrated at its center of gravity. Moreover, the base is constrained to one-dimensional translational motion along the direction of movement, with its lateral and vertical displacements constrained by guide rails and its orientation maintained horizontally. Based on these assumptions, a relative dynamic model for the MDAR is established from a system energy perspective. And in detail, this involves calculating the total kinetic and potential energies of the system, combined with the relative Jacobian matrix and Lagrange equations. The general form of the Lagrange equations is as follows:
τ i = d dt ( L q ˙ i ) L q ˙ i ,
in which L is the difference between the kinetic and potential energy of the MDAR; q = q 1 q 2 q 7 is a vector composed of the angles/lengths of each joint of the MDAR. The dynamic model of the proposed MDAR can be simplified from Equation (15) as follows:
M ( q ) q ¨ + H ( q , q ˙ ) + G ( q ) = τ ,
in which:
M ( q ) = M 11 M 17 M 71 M 77 is the inertial matrix of MDAR.
H ( q , q ˙ ) = H 11 H 17 H 71 H 77 q ˙ 1 a ˙ 6 + h 11 h 17 h 71 h 77 q ˙ 1 q ˙ 2 q ˙ 6 a ˙ 6 is the vector of centrifugal and Coriolis forces.
G q = G 1 G 7 T is the vector of gravitational forces of the MDAR.
Multiply both sides of the velocity relationship in Equation (14) by a small time interval.
δ X R = J R δ q ,
in which, δ X R and δ q denote the respective infinitesimal displacements in the relative position and joint variable of the two end-effectors, and J R R 6 × 7 denotes the relative Jacobian matrix.
According to the principle of virtual displacement and virtual work, the sum of the virtual works performed by each joint of the MDAR is equal to the virtual work produced by the small changes in the relative displacement of the two end-effectors, we can have the following equation:
τ T δ q = F R T δ X R ,
in which, τ = τ 1       τ 2             τ 7 indicates the torque at each joint of the robot, and F R denotes the relative force between the two end-effectors of the MDAR.
Furthermore, the relationship between the joint torques of the MDAR and the relative force of two end-effectors of the MDAR can be expressed as follows:
τ = J R F R T ,
Further, by substituting Equation (19) into Equation (16), the relative dynamic model of the MDAR is expressed as follows:
M ( q ) q ¨ + H ( q , q ˙ ) + G ( q ) = τ = J R F R T .
It is noted that the MDAR proposed in this paper has 7 degrees of freedom, with 6-dimensional torque outputs at the end-effectors. In this regard, the transpose of the relative Jacobian matrix J R T R 7 × 6 . As a result, Equation (19) is overdetermined with no exact solutions. Therefore, a generalized inverse is constructed to solve the least squares solution of the overdetermined Equation (19). The relative force of two end-effectors of the MDAR can be obtained as follows:
F R = J R T + M q q ¨ + H q , q ˙ + G q ,
in which the superscript “+” represents the pseudo-inverse, J R T + = J R J R T 1 J R .

4. Relative Force/Position Hybrid Controller

This section proposed a relative force/position hybrid control algorithm for the proposed MDAR. Addressing the limitations of conventional dual-arm robot control strategies, which struggle to manage dynamic coupling effects and synchronous force/position constraints arising from the mobile base, and often led to significant tracking errors, excessive internal stresses, and low energy efficiency when handling end-effector environment interactions. This paper first designed the MDAR’s position control system. Subsequently, the relative force at the end-effectors was incorporated into the control system and managed by adjusting joint output torques. Finally, a positive Lyapunov function was constructed, and the stability of the MDAR’s relative force/position hybrid control system was demonstrated through theoretical derivation.

4.1. Controller Design

It is important to note that position control can only calibrate the absolute position of the two end-effectors of the MDAR in Cartesian space. And in the actual working process, the two end-effectors have to exert a certain amount of force on the working objects. Therefore, only position control or force control strategy for the presented MDAR is not sufficient to accurately accomplish a prescribed task, because the expected forces should be preserved according to the planned trajectory. To turn up the above drawbacks, a relative force/position hybrid controller is developed and implemented for MDAR, and its structure is shown in Figure 2. Unlike conventional approaches that control the absolute pose of each arm, the proposed scheme operates in a unified relative task space. This formulation directly regulates the relative motion and interaction forces between the two end-effectors of the MDAR. In this proposed control scheme, two control loops are used. And in detail, one loop is position control, and the other loop is for force control. The gains of each controller are tuned such that the required tracking performance is achieved.
As illustrated in Figure 2, the joint torque output of the MDAR is the sum of the joint torque output from the relative position controller and the relative force controller. The control law of the joint torques by the MDAR’s relative force/position hybrid controller can be expressed as follows:
τ p = K p d J R + S ( X R d X R ) τ f = K f p + K f i s J R T ( I S ) ( F R d F R ) τ = τ p + τ f ,
in which K p d and K f p + K f i s are the PD control coefficient matrices; S is the matrix used for selecting relative position control and relative force control; X R d and X R are the expected and actual relative positions of the two end-effectors of the MDAR in Cartesian space, respectively; F R d and F R are the expected and actual relative forces between the two end-effectors of the MDAR, respectively, and note that F R d can be obtained by synthesizing the forces exerted by the two independent end-effectors on the environment in Cartesian space; J R + is the pseudoinverse of the relative Jacobian matrix of the MDAR; J R T is the transpose of the relative Jacobian matrix of the MDAR; τ p and τ f are the joint moments from the relative position controller and relative force controller, respectively.
While the relative force/position hybrid control system for the MDAR, based on relative Jacobian matrices, enables control over the joint torques of both arms, its capacity to restore equilibrium under external disturbances remains unverified, meaning the stability of the proposed control system is not yet assured. Thus, a mathematical verification of the stability of this relative force/position control system is necessary.

4.2. Controller Stability

With regard to Figure 2, the joint torques from the relative force/position hybrid controller can be expressed as follows:
τ = K p d J R + S ( X R d X R ) + K f p + K f i s J R T ( I S ) ( F R d F R ) .
In order to verify the stability of the proposed relative force/position hybrid controller for the MDAR, a Lyapunov function is established as follows:
V = 1 2 e x T K p d e x + q ˙ T M q ˙ ,
differentiating and simplifying the given Lyapunov function with respect to time, the function V ˙ can be expressed as follows:
V ˙ = e ˙ x T K p d e x + q ˙ T M ( q ) q ¨ ,
by substituting the MDAR’s relative dynamic model into Equation (23), Equation (23) can be expressed as follows:
M ( q ) q ¨ + H ( q , q ˙ ) + G ( q ) = K p d J R + S ( X R d X R ) + K f p + K f i s J R T ( I S ) ( F R d F R )
by substituting Equation (26) into Equation (25), the function V ˙ is as follows:
V ˙ = e ˙ x T K p d e x + q ˙ T K p d J R + S e x + K p d J R + S e ˙ x + K 2 J R T ( I S ) e f H ( q , q ˙ ) G ( q )
in which
e x = X R d X R K 2 = K f p + K f i s e f = F R d F R ,
when the expected relative position X R d is a constant vector, the following equation holds true:
e ˙ x T = ( X ˙ R d X ˙ R ) T = q ˙ T J R T ,
by substituting Equation (29) into Equation (27), the function can be simplified as follows:
V ˙ = q ˙ T K p d q ˙ q ˙ T ( H ( q , q ˙ ) + G ( q ) ) 0 ,
according to the Lyapunov stability theorem, the proposed relative force/position hybrid controller for the MDAR is stable because V > 0 and V ˙ 0 .

5. Simulation Analysis and Discussion

The proposed relative dynamics modeling and force/position hybrid control strategy for the MDAR demonstrated excellent versatility. Its applicability required a system featuring a single-degree-of-freedom mobile base providing common motion for both arms, with the kinematic chains of the two arms structurally independent. The theoretical core of this method lay in integrating the dual-output system into a single control object by constructing a relative task space. Consequently, this approach could be directly applied to various mobile dual-arm robot systems possessing this configuration. The mobile dual-arm robot investigated herein was suitable for cutting tasks within coal mine workings. As a result, Liu et al. [39] developed an advanced dual-arm cutting robot (DACR) system in underground coal mines, which can realize the synchronous operation of the excavation and supporting of laneways. The cooperation of the two cutting arms increases the working area, and the propulsion of the terminal and the terminal cutting are performed simultaneously, which greatly improves the mining efficiency. In this section, the presented DACR (Figure 3) is taken as an example for simulation analysis to verify the correctness of the relative dynamics and the performance of the relative force/position hybrid controller. The design and simulation validation of the relative force/position hybrid controller proposed in this work were carried out on the MATLAB R2023a platform. The control algorithm was developed in MATLAB, which included parameter initialization and the computation of the expected relative positions and forces in task space. A closed-loop simulation framework, integrating the controller and the dual-arm dynamic model, was then implemented in Simulink to comprehensively evaluate the system’s performance in simultaneous trajectory tracking and force regulation.
Figure 3. The mobile dual-arm cutting robot [39].
Figure 3. The mobile dual-arm cutting robot [39].
Applsci 16 00444 g003
As shown in Figure 3, the DACR features an axial spacing of 2 m between its two yaw joints. The distance between the pitch joint axis and the yaw joint axis is 1 m. The extension joint has a variable range of 4.18 to 4.73 m. In terms of mass, the mobile base weighs 12,000 kg, the connecting rod between the yaw and pitch joints weighs 10,000 kg, and the extension joint weighs 5000 kg.
To achieve complete cross-sectional coverage of the laneway, the mechanical limits on the DACR’s two arms have been eliminated. The system employs a centrally symmetric “S”−shaped trajectory pattern (Figure 4), where the paths of the left and right arms partially overlap to ensure full excavation of the overlapping rock areas within the workspace. Furthermore, an asynchronous starting strategy is implemented, guaranteeing that at any given moment, only one arm operates within the overlapping trajectory zone, thereby preventing mechanical interference.
The motion trajectories of the two cutting arms of the DACR are divided into 7 segments, each spanning 10 s (1000 steps). To better simulate the transition from a stationary to a working state, the DACR’s mobile base is configured to accelerate gradually from a stationary state and then maintain a constant speed along its travel direction. For the two cutting arms of the DACR, due to the presence of inflection points in the designed S-shaped trajectory, the joint velocities of the two cutting arms will also undergo abrupt changes, indicating that the acceleration changes in the joints in the DACR are discontinuous. Due to the dynamic coupling between the joints of the DACR, the abrupt changes in the absolute velocity of the end-effectors may exert dynamic effects on other joints of the DACR. Therefore, careful planning of joint motion trajectories is necessary to mitigate impacts and vibrations in the DACR. To ensure that joint velocities and accelerations are zero at the start and end points of each segment along the S-shaped trajectory, a fifth-order polynomial interpolation method was applied to plan the joint motions. This approach guarantees that the joint angles/lengths at the terminal points of each trajectory segment correspond to the values specified in Table 2.
When the DACR starts to move, the initial position of the mobile base relative to the base coordinate system is [1, 0, 0]T. At this point, the yaw and pitch joints of the two cutting arms are at zero arc and maximum upward angle, respectively, and the extension joints are kept at maximum length. According to the relative position of the two end-effectors, i.e., P 6 3 in Equation (11), the initial value of P 6 3 is [−2.4271, 4.2039, 2.0258]T and the expected relative force of the DACR’s end-effectors is [148, 136, −17]T. The controller gains are tuned to be K p d = diag[0.015, 0.01, 0.02, 0.015, 0.01, 0.02, 0.005] and K 2 = diag[0.45, 0.4, 0.15, 0.45, 0.4, 0.15, 0.25], respectively. It is important to note that, due to the non-square nature of the relative Jacobian matrix of the DACR, when using the relative force/position hybrid controller to calculate the motion states of the joints, it will generate many sets of solutions that conform to the current joint torques. To meet the normal working conditions of the MDAR, the motion of the base of the DACR maintains a constant speed of 0.02 m/s and pushes forward along the slide rail is determined. It allows the relative force/position hybrid controller to generate only one set of solutions that conform to the motion state of the mobile base.
As the two cutting arms of the DACR move along the trajectory planned above, the forces at each joint change constantly. To more intuitively reflect the effects of the relative force/position hybrid controller, the DACR dynamics were simulated and analyzed. The variation in joint output forces of the DACR are shown in Figure 5, in which the horizontal axis indicates the number of steps and the vertical axis indicates the joint output force. The variations in the joint torque output from the two yaw joints of the DACR are shown in Figure 5a,b. Both yaw joints oscillate at each inflection point on the planned trajectory and the vibration is relatively high at inflection point 4. The variation in the output torque of the pitch joints is shown in Figure 5c,d and the variation in the output forces of the extension joints are shown in Figure 5e,f. The corresponding joint movements of the two arms are opposite, so the forces output from the joints are also opposite. Furthermore, the variation in the output forces of the mobile base is shown in Figure 5g. In reality, the motion of the moving base is locked to a uniform forward thrust. To satisfy the expected relative position and relative force at the same time, the joint output forces will be adjusted to varying degrees, which is the reason why the joint output force of the end-effectors of the two arms oscillates when it moves to the inflection points of the planned trajectories. On the whole, during the cutting process of the DACR along the aforementioned trajectory, the maximum output torque of the two yaw joints reached 1167 kN·m, while the pitch joint achieved a maximum output torque of 809 kN·m. Additionally, the maximum output force of the extension joint reached 296 kN, and the maximum output force of the base reached 901 kN. All performance metrics meet coal mining cutting requirements.
The control effectiveness of the proposed relative force/position hybrid controller for MDAR is shown in Figure 6. As illustrated in Figure 6a–c, the relative position tracking of the two cutting arms in the X, Y, and Z directions are represented, respectively. The red line represents the actual relative position and the blue line represents the expected relative position. It can be seen that the actual relative position of the two end-effectors of the DACR tracks the expected relative position well. However, their actual relative positions microscopic oscillate to varying degrees at the inflection points of the S-shaped trajectories. And this is because the planned joint velocities and accelerations are both zero at the turning point of the trajectories, and the expected relative force between the two end-effectors remains constant. This requires the two end-effectors of the DACR to generate a large acceleration at the next moment after passing the inflection point, resulting in fluctuations in the relative position of the two end-effectors at the start of each segment of the S-shaped trajectories. Subsequently, under the action of the relative force/position hybrid controller, the expected values are tracked well, which also validates the stability of the proposed relative force/position hybrid controller. The relative forces of the proposed controller are shown in Figure 6d–f, in which the red line represents the actual relative force and the blue line represents the expected relative force. The relative forces of the two end-effectors oscillate to different degrees at the inflection point of the S-shaped trajectories, but the relative forces of the two end-effectors are still able to converge to the expected value under the action of the controller.
The performance of the proposed relative force/position hybrid controller was evaluated using two metrics: Absolute Error (AE) and Root Mean Square Error (RMSE). AE quantifies the absolute deviation between expected and actual values. Specifically, for DACR, the AE of its relative position is defined as the maximum Euclidean norm among all error vectors, where each vector corresponds to the deviation between the actual and expected relative positions at a given time step during trajectory tracking. The AE is calculated as follows:
AE = X R d X R max = 0.0220 ,
Furthermore, the Root Mean Square Error (RMSE) is employed to quantify the deviation in relative positioning. It is determined by the following formula, based on the error between the actual and expected relative positions of the two end-effectors:
RMSE = 1 N i = 1 N X R d X R 2 = 0 . 0093
To sum up, the simulation results of the proposed relative force/position hybrid controller of the DACR show that the two end-effectors of the DACR tracked the expected relative force and relative position well. The actual relative forces and positions oscillate to varying degrees only at the inflection points of the S-shaped trajectories. The absolute error between the actual and expected relative position of the DACR’s end-effectors was less than 0.0220 m, with a root mean square error of 0.0093. This demonstrates that the proposed relative force/position hybrid controller for the MDAR can effectively control the relative force and position of the two end-effectors and maintain good tracking of the expected values.

6. Conclusions

The objective of this investigation is to address the main problems associated with the presented MDAR in two key areas: the relative dynamics and control characteristics, and the following conclusions have been drawn:
  • This paper established a relative dynamics model for a mobile dual-arm robot (MDAR), which precisely described the mapping relationship between relative forces and joint torques between the end-effectors of the two arms, laying the theoretical foundation for cooperative control.
  • Based on the relative dynamics model, a force/position hybrid controller was proposed for the presented MDAR. By uniformly describing relative motion and relative force, this proposed controller achieved high-precision tracking of both the expected relative position and forces. Furthermore, the stability of the closed-loop system was theoretically proven via the Lyapunov function. Compared to traditional control methods, this approach significantly enhanced tracking accuracy and provided a robust control strategy for mobile two arms collaborative operation systems.
  • The relative force/position hybrid control simulations were performed on the DACR for coal mine to verify the effectiveness of the proposed relative force/position hybrid controller. All joint outputs required by the controller during operation fell within the system’s capabilities and fully satisfied the cutting load demands of coal mines. The two end-effectors of the DACR maintained good tracking of the expected relative forces and position, exhibiting a maximum absolute error of 0.0220 m and a root mean square error of 0.0093 m. This indicated that the relative force/position controller could simultaneously control the relative position of the two end-effectors of the MDAR and the relative force to the environment with good control accuracy. The results obtained of this study established a theoretical foundation for controlling, analyzing, and implementing the proposed MDAR system.

Author Contributions

P.L. and X.D. conceived and designed the study. P.L., W.H. and L.W. led the relative dynamics modeling and hybrid control algorithm design, implemented the simulation experiments and data analysis, participated in control algorithm, and completed the manuscript writing. X.C. Z.N., H.Z. and Y.Z. provided special guidance in the theoretical part of this paper. All authors analyzed the results and prepared figures. All authors have read and agreed to the published version of the manuscript.

Funding

This research was funded by the financial support of Coal-Major Project under Grant No. 2025ZD1700600, Shaanxi Province Natural Science Basic Research Program Project under Grant No. 2024JC-YBMS-324, and Education Department of Shaanxi Provincial Government Service Local Special Project under Grant No. 23JC053 and No. 24JC062.

Institutional Review Board Statement

Not applicable.

Informed Consent Statement

Not applicable.

Data Availability Statement

The data presented in this paper are available from the corresponding author upon reasonable request.

Acknowledgments

The authors gratefully acknowledge the support of Key Laboratory of Electronic Equipment Structure Design (Ministry of Education) at Xidian University.

Conflicts of Interest

The authors declare no conflicts of interest.

References

  1. Chen, X.; Chang, H. Application of dual-arm space robot in intelligent manufacturing of digital workshop. J. Zunyi Norm. Univ. 2022, 24, 87–91. [Google Scholar]
  2. Cao, D.; Wang, Q. Structural design and dynamic simulation analysis of dual-arm handling robot. Meas. Control Technol. 2021, 40, 32–36. [Google Scholar]
  3. Zhang, F. Design and Research of Intelligent Cooking Robot. Master’s Thesis, Jiangnan University, Wuxi, China, 2023. [Google Scholar]
  4. Guo, Z.; Ju, H. Dynamic modeling and improved nonlinear model predictive control of a free-floating dual-arm space robot. Appl. Sci. 2024, 14, 3333. [Google Scholar] [CrossRef]
  5. Urrea, C.; Saa, D. Automated symbolic processes for dynamic modeling of redundant manipulator robots. Processes 2024, 12, 593. [Google Scholar] [CrossRef]
  6. Liu, J.; Xu, M. Dynamic modeling and servo system control of dual-arm. Mech. Des. Manuf. 2019, 11, 256–260. [Google Scholar]
  7. Wang, S.; Niu, H.; Wang, K.; Gu, H.; You, B.; Zhai, F.; Tang, J. Variable Stiffness Compliant Control Technology for Space Dual-arm Robots Based on DDPG. Spacecr. Manuf. Technol. 2025, 3, 59–65. [Google Scholar]
  8. Zhong, C.; He, K. Dynamics study of a two-arm carving robot. Mech. Sci. Technol. 2003, 4, 611–613. [Google Scholar]
  9. Liu, J.; Liu, R. New approach for dynamics modeling of dual-arm cooperating manipulators. J. Beijing Univ. Aeronaut. Astronaut. 2016, 42, 1903–1910. [Google Scholar]
  10. Jazidie, A.; Tsuji, T. Dynamic modeling of closed-chain mechanisms for multi-arm robots. Trans. Soc. Instrum. Control Eng. 1993, 29, 628–636. [Google Scholar] [CrossRef]
  11. Wu, C.; Liu, D. Kinematics and dynamics modeling for dual-arm space robot. Shanghai Aerosp. 2017, 34, 80–87. [Google Scholar]
  12. Shen, H.; Liu, Y. High effective inverse dynamics modelling for dual-arm robot. AIP Conf. Proc. 2018, 1967, 040061. [Google Scholar] [CrossRef]
  13. Zhang, C.; Wang, C. Dynamics modeling and control of flexible dual-arm space manipulators. J. Nanjing Univ. Sci. Technol. (Nat. Sci. Ed.) 2005, S1, 76–78. [Google Scholar]
  14. Zhang, J.; Xu, X. Relative dynamic modeling of dual-arm coordination robot. J. Mech. Eng. 2019, 55, 34–42. [Google Scholar] [CrossRef]
  15. Chen, J.; Zhu, M. Coordination dynamics and optimization of dual-arm robot. J. Nanjing Univ. Aeronaut. Astronaut. 1996, 1, 37–44. [Google Scholar]
  16. Kumar, S. A hybrid energy consumption model for industrial robot arms using robot dynamics and data-driven approach. Int. J. iRobotics 2023, 6, 9–15. [Google Scholar]
  17. Lu, H.; Yang, Z. Dynamics modeling and parameter identification for a coupled-drive dual-arm nursing robot. Chin. J. Mech. Eng. 2024, 37, 74. [Google Scholar] [CrossRef]
  18. Peng, J.; Xu, W. Modeling and analysis of the multiple dynamic coupling effects of a dual-arm space robotic system. Robotica 2020, 38, 2060–2079. [Google Scholar] [CrossRef]
  19. Lv, N.; Liu, J. Dynamic modeling and control of deformable linear objects for single-arm and dual-arm robot manipulations. IEEE Trans. Robot. 2022, 38, 2341–2353. [Google Scholar] [CrossRef]
  20. Caballero, A.; Bejar, M. Motion planning with dynamics awareness for long reach manipulation in aerial robotic systems with two arms. Int. J. Adv. Robot. Syst. 2018, 15, 1729881418770525. [Google Scholar] [CrossRef]
  21. Li, B.; Kong, L. Research on cooperative control path planning of two-armed robots based on ROS. Electron. Prod. 2024, 32, 52–55. [Google Scholar]
  22. Feng, J.; Kong, J. A dual-arm coordinated control and obstacles avoidance algorithm for flexible space robot. Aerosp. Control Appl. 2020, 46, 10–17. [Google Scholar]
  23. Dai, J.; Zhang, Y.; Dou, W. Force-Closure-Based Weighted Hybrid Force/Position Fuzzy Coordination Control for Dual-Arm Robots. Actuators 2025, 14, 471. [Google Scholar] [CrossRef]
  24. Guo, J. Research on trajectory optimization of dual-arm robot based on particle swarm optimization. Chin. J. Eng. Mach. 2020, 18, 324–329. [Google Scholar]
  25. Gerasimos, R.; Masoud, A. A nonlinear optimal control approach for dual-arm robotic manipulators. Int. J. Humanoid Robot. 2024, 22, 24500099. [Google Scholar] [CrossRef]
  26. Jing, X.; Gao, H. Cooperative compliance control of the dual-arm manipulators with elastic joints. J. Mech. Sci. Technol. 2021, 35, 5689–5697. [Google Scholar] [CrossRef]
  27. Ai, H.; Chen, L. Force/position fuzzy control of space robot capturing spacecraft by dual-arm clamping. Harbin Gongcheng Daxue Xuebao/J. Harbin Eng. Univ. 2020, 41, 1847–1853. [Google Scholar]
  28. Li, X.; Li, S. Real-time self-collision avoidance-oriented torque control strategy for dual-arm robot. Inf. Control 2023, 52, 211–219. [Google Scholar]
  29. Hippolitus, A.J.; Senthilnathan, R. Quicker Path planning of a collaborative dual-arm robot using modified BP-RRT* algorithm. Int. J. Comput. Commun. Control 2024, 19. [Google Scholar] [CrossRef]
  30. Ueno, Y.; Miyata, N. Simulating dual-arm robot motions to avoid collision by rigid body dynamics for laboratory bench work. Artif. Life Robot. 2023, 28, 264–270. [Google Scholar] [CrossRef]
  31. Jiang, Y.; Wang, Y. Composite-learning-based adaptive neural control for dual-arm robots with relative motion. IEEE Trans. Neural Netw. Learn. Syst. 2020, 33, 1010–1021. [Google Scholar] [CrossRef]
  32. Tran, D.T.; Dao, H.V. Adaptive synchronization sliding mode control for an uncertain dual-arm robot with unknown control direction. Appl. Sci. 2023, 13, 7423. [Google Scholar] [CrossRef]
  33. Sun, F.; Chen, Y. Motion planning and cooperative manipulation for mobile robots with dual arms. IEEE Trans. Emerg. Top. Comput. Intell. 2022, 6, 1345–1356. [Google Scholar] [CrossRef]
  34. Li, H.; Yang, D. Research for dual-arm robot coordinated handling methods based on impedance control. Mach. Tool Hydraul. Press. 2017, 45, 64–91. [Google Scholar]
  35. Le Anh, T.; Phuc, H.Q. Adaptive fractional-order integral fast terminal sliding mode and fault-tolerant control of dual-arm robots. Robotica 2024, 42, 1476–1499. [Google Scholar]
  36. Cheng, J.; Chen, L. Mechanical analysis and calm control of dual-arm space robot for capturing a satellite. Chin. J. Theor. Appl. Mech. 2016, 48, 832–842. [Google Scholar]
  37. Kijdech, D.; Vongbunyong, S. Manipulation of a complex object using dual-arm robot with mask R-CNN and grasping strategy. J. Intell. Robot. Syst. 2024, 110, 103. [Google Scholar] [CrossRef]
  38. Liu, D.; Wang, J. Research and development of an adaptive two-arm cooperative palletizing robot. Mach. Des. Manuf. Eng. 2023, 52, 79–83. [Google Scholar]
  39. Liu, P.; Zhou, H. On the relative kinematics and control of dual-arm cutting robots for a coal mine. Actuators 2024, 13, 157. [Google Scholar] [CrossRef]
Figure 1. The proposed mobile dual-arm robot.
Figure 1. The proposed mobile dual-arm robot.
Applsci 16 00444 g001
Figure 2. Relative force/position hybrid controller for the MDAR.
Figure 2. Relative force/position hybrid controller for the MDAR.
Applsci 16 00444 g002
Figure 4. The “S”−shaped cutting trajectories of the two cutting arms.
Figure 4. The “S”−shaped cutting trajectories of the two cutting arms.
Applsci 16 00444 g004
Figure 5. Variation in joint output forces of the DACR.
Figure 5. Variation in joint output forces of the DACR.
Applsci 16 00444 g005aApplsci 16 00444 g005b
Figure 6. Control Effectiveness of relative force/position hybrid controller. (a) The tracking process of the expected relative position (XR). (b) The tracking process of the expected relative position (YR). (c) The tracking process of the expected relative position (ZR). (d) The tracking process of the expected relative force (XR). (e) The tracking process of the expected relative force (YR). (f) The tracking process of the expected relative force (ZR).
Figure 6. Control Effectiveness of relative force/position hybrid controller. (a) The tracking process of the expected relative position (XR). (b) The tracking process of the expected relative position (YR). (c) The tracking process of the expected relative position (ZR). (d) The tracking process of the expected relative force (XR). (e) The tracking process of the expected relative force (YR). (f) The tracking process of the expected relative force (ZR).
Applsci 16 00444 g006aApplsci 16 00444 g006b
Table 1. The D-H parameters of MDAR.
Table 1. The D-H parameters of MDAR.
Link q i /rads d i /m a i /m α i /rads
i = 1q10a10
i = 2q20a2π/2
i = 3q30a30
i = 4q40a40
i = 5q50a5π/2
i = 6q60a60
Table 2. The joint variables of the DACR corresponding to each point on the “S”−shaped trajectory.
Table 2. The joint variables of the DACR corresponding to each point on the “S”−shaped trajectory.
PointBase/mq2/radq3/rada3/mq5/radq6/rada6/m
110π/34.880π/34.88
21.1−π/2π/34.08π/2π/34.08
31.3−π/22π/94.08π/22π/94.08
41.502π/94.8802π/94.88
51.70π/94.880π/94.88
61.9−π/2π/94.08π/2π/94.08
72.1−π/204.08π/204.08
82.3004.88004.88
Disclaimer/Publisher’s Note: The statements, opinions and data contained in all publications are solely those of the individual author(s) and contributor(s) and not of MDPI and/or the editor(s). MDPI and/or the editor(s) disclaim responsibility for any injury to people or property resulting from any ideas, methods, instructions or products referred to in the content.

Share and Cite

MDPI and ACS Style

Liu, P.; Hu, W.; Wang, L.; Duan, X.; Cao, X.; Nie, Z.; Zhou, H.; Zhu, Y. Relative Dynamics and Force/Position Hybrid Control of Mobile Dual-Arm Robots. Appl. Sci. 2026, 16, 444. https://doi.org/10.3390/app16010444

AMA Style

Liu P, Hu W, Wang L, Duan X, Cao X, Nie Z, Zhou H, Zhu Y. Relative Dynamics and Force/Position Hybrid Control of Mobile Dual-Arm Robots. Applied Sciences. 2026; 16(1):444. https://doi.org/10.3390/app16010444

Chicago/Turabian Style

Liu, Peng, Weiliang Hu, Linpeng Wang, Xuechao Duan, Xiangang Cao, Zhen Nie, Haochen Zhou, and Yan Zhu. 2026. "Relative Dynamics and Force/Position Hybrid Control of Mobile Dual-Arm Robots" Applied Sciences 16, no. 1: 444. https://doi.org/10.3390/app16010444

APA Style

Liu, P., Hu, W., Wang, L., Duan, X., Cao, X., Nie, Z., Zhou, H., & Zhu, Y. (2026). Relative Dynamics and Force/Position Hybrid Control of Mobile Dual-Arm Robots. Applied Sciences, 16(1), 444. https://doi.org/10.3390/app16010444

Note that from the first issue of 2016, this journal uses article numbers instead of page numbers. See further details here.

Article Metrics

Article metric data becomes available approximately 24 hours after publication online.
Back to TopTop