Mobile Pedestrian Navigation, Mobile Augmented Reality, and Heritage Territorial Representation: Case Study in Santiago de Chile
Abstract
1. Introduction
1.1. Educational Effectiveness for Heritage
1.2. Mobile Augmented Reality (MAR)
1.3. Heritage and Mobile Augmented Reality
1.4. Technological and Implementation Challenges
1.5. Modelling and Analysis of Heritage Through Different Techniques of Representation and Abstraction
1.6. Maps in a Context of Mobility
1.7. Objectives and Hypotheses
2. Materials and Methods
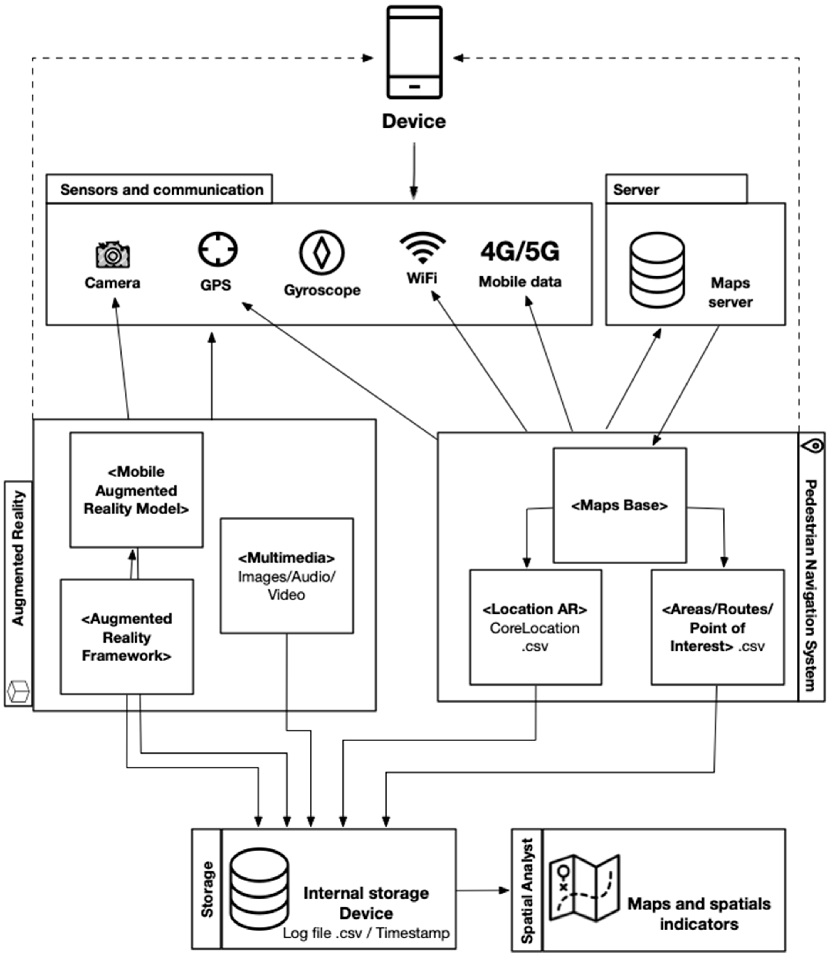
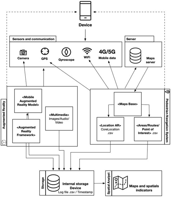
2.1. Construction of an App for Deploying Heritage Data and Data Capture
- Input data—the application integrates heritage, spatial, and educational datasets derived from previous analytical stages. This includes structured data definitions, covering valid formats, storage methods, interoperability standards, and additional multimedia components such as AR models, imagery, textual descriptions, and spatial metadata;
- Output data—information is presented through a graphical user interface (GUI) optimised for mobile and location-aware contexts, ensuring that heritage content is delivered in a way that aligns with the specific site or scenario. Furthermore, the system utilises mobile device sensors to capture usage patterns, spatial positioning, and temporal interactions, allowing for a contextually relevant digital experience.
- Sensors and communication: this component includes the camera, GPS, gyroscope, WiFi, and mobile data (4G/5G), which collect information about the user’s environment and location, allowing the MAR and MPN to function correctly;
- Map server: component that stores the geospatial database;
- Augmented reality (AR): the app processes and displays information about heritage buildings and their location on the device;
- Location database: contains the location data and spatial references of the data of the heritage buildings;
- Internal storage: the device stores the time and location data in a comma-separated values (CSV) format;
- Spatial analysis: the complementary software GIS (ArcGIS Pro 3.4) generates spatial indicators and maps, which allow the interpretation of the data in order to analyse and understand the relationships between the heritage resources, the time of consultation, and their location.
2.2. Survey of Thematic Data on Territorial Heritage
- I.
- General identification: elements of location and description of the property chosen in the application (8 items);
- II.
- Historical and heritage background: description of the historical and heritage context of the property (9 items);
- III.
- Educational dimension of the property: elements and characteristics that derive from the patrimonial aspects of the property (6 items).
2.3. Spatial Analysis Methodology
2.4. Spatial Analysis of the Data Obtained from the Interaction of the App with Heritage Properties
3. Results and Discussion
3.1. Use of Tablets in Fieldwork
- Duration: each intervention (fieldwork) lasted around four hours, and the duration was dependant on the users’ movement between the heritage landmarks of each heritage experience;
- Modality: the fieldwork corresponding to the E zones of Santiago de Chile was carried out;
- Objectives of the activity: the objectives of the educational intervention pertained to three main areas:
- ○
- To spatially identify the relationship between legacy and material heritage based on a tour of the city’s historic centre;
- ○
- To relate the concept of historical legacy to the architectural and functional legacy of buildings, churches, and neighbourhoods, considering each work’s social and design aspects;
- ○
- To understand how tangible heritage is associated with the idea of national monuments as symbols of identity and historical legacy.
- Contents: the contents of the activities are related to the heritage elements of the city and are established as an area in the next stage (Table 4);
- Activities: the users (n = 54) used tablets to explore the study areas, visualising the digital resources of the heritage elements to be studied. The teacher served as a general guide for the activity and supplemented the device information. At the same time, the users were urged to reflect on and exchange ideas about the phenomena visualised on the devices in the context of the actual scenario in which the activity took place;
- Resources: the educational resource used corresponds to the AR-MPN application implemented on the tablets for visualisation during the fieldwork.
3.2. Analysis of Thematic Data on Territorial Heritage
3.3. Results of the Spatial Analyses of the Data Obtained from the Interaction of the App with Heritage Properties
4. Conclusions
Author Contributions
Funding
Institutional Review Board Statement
Informed Consent Statement
Data Availability Statement
Conflicts of Interest
Abbreviations
| AR | Augmented Reality |
| MAR | Mobile Augmented Reality |
| GIS | Geographical Information System |
| MPN | Mobile Pedestrian Navigation |
| MCE | Multi-Criterion Evaluation |
| CAD | Computer-Aided Design |
| CSV | Comma-Separated Values File |
| GPS | Global Position System |
| GNSS | Global Navigation Satellite System |
| Gi* | Getis-Ord indicator |
References
- Berners-Lee, T.; Hendler, J.; Lassila, O. The Semantic Web. Available online: http://www.scientificamerican.com/article/the-semantic-web/ (accessed on 6 December 2024).
- Joo-Nagata, J. Gestión de la información, herramientas tecnológicas y formación docente: Aportes a la enseñanza de la Geografía. Rev. Signos Geográficos 2024, 6, 1–15. [Google Scholar] [CrossRef]
- Joo Nagata, J.; García-Bermejo Giner, J.R.; Muñoz Rodríguez, J. Herramientas Geomáticas Utilizadas En Educación: Situación Actual y Su Relación Con Procesos Educativos. Enseñ. Teach. Rev. Interuniv. Didáctica 2015, 33, 25–56. [Google Scholar] [CrossRef][Green Version]
- Sdravopoulou, K.; Muñoz González, J.M.; Hidalgo-Ariza, M.D. Educating Adults with a Location-Based Augmented Reality Game: A Content Analysis Approach. Mathematics 2021, 9, 2071. [Google Scholar] [CrossRef]
- Suchman, L. Human-Machine Reconfigurations: Plans and Situated Actions, 2nd ed.; Cambridge University Press: Cambridge, UK; New York, NY, USA, 2006; ISBN 978-0-521-67588-8. [Google Scholar]
- Joo-Nagata, J.; García-Bermejo Giner, J.R.G.-B.; Martínez-Abad, F. Mobile Pedestrian Navigation and Augmented Reality in the Virtualization of the Territory: Cities of Salamanca and Santiago de Chile. In Information Technology Trends for a Global and Interdisciplinary Research Community; Peñalvo García, F., Ed.; IGI Global: Hershey, PA, USA, 2021; pp. 268–301. ISBN 978-1-79984-156-2. [Google Scholar]
- Hanchard, M. Engaging with Digital Maps: Our Knowledgeable Deferral to Rough Guides, 1st ed.; Geographies of Media; Palgrave Macmillan: Singapore, 2024; ISBN 978-981-9989-71-3. [Google Scholar]
- Aydin, B.; Gensel, J.; Genoud, P.; Calabretto, S.; Tellez, B. Extending Augmented Reality Mobile Application with Structured Knowledge from the LOD Cloud. In Proceedings of the Proceedings of the 3rd International Workshop on Information Management for Mobile Applications, Riva del Garda, Italy, 26 August 2013; Delot, T., Geisler, S., Ilarri, S., Quix, C., Eds.; RWTH Aachen University: Aachen, Germany, 2013; Volume 1075, pp. 21–27. [Google Scholar]
- Jamali, S.S.; Shiratuddin, M.F.; Wong, K.W. A Review of Augmented Reality (AR) and Mobile-Augmented Reality (mAR) Technology: Learning in Tertiary Education. Int. J. Learn. High. Educ. 2014, 20, 37–54. [Google Scholar]
- Hofmann, S.; Mosemghvdlishvili, L. Perceiving Spaces through Digital Augmentation: An Exploratory Study of Navigational Augmented Reality Apps. Mob. Media Commun. 2014, 2, 265–280. [Google Scholar] [CrossRef]
- Aurelia, S.; Raj, M.D.; Saleh, O. Mobile Augmented Reality and Location Based Service. Adv. Inf. Sci. Appl. 2014, 2, 551–558. [Google Scholar]
- Cheng, K.-H.; Tsai, C.-C. Affordances of Augmented Reality in Science Learning: Suggestions for Future Research. J. Sci. Educ. Technol. 2012, 22, 449–462. [Google Scholar] [CrossRef]
- Jan, M.; Squire, K. Mad City Mystery: Developing Scientific Argumentation Skills with a Place-Based Augmented Reality Game on Handheld Computers. J. Sci. Educ. Technol. 2007, 16, 5–29. [Google Scholar] [CrossRef]
- FitzGerald, E.; Adams, A.; Ferguson, R.; Gaved, M.; Mor, Y.; Thomas, R. Augmented Reality and Mobile Learning: The State of the Art. In Proceedings of the CEUR Workshop Proceedings, Helsinki, Finland, 16 October 2012; Volume 955, pp. 62–69. [Google Scholar]
- Adams, M. The 10 Most Important Emerging Technologies for Humanity. Available online: http://www.naturalnews.com/SpecialReports/EmergingTechnologies.pdf (accessed on 22 July 2024).
- Johnson, L.; Smith, R.; Willis, H.; Levine, A.; Haywood, K. The Horizon Report 2011 Edition; The New Media Consortium; EDUCAUSE Learning Initiative: Austin, TX, USA, 2011; ISBN 978-0-9828290-5-9. [Google Scholar]
- Martínez Landa, H. Problems Analysis and Solutions for the Establishment of Augmented Reality Technology in Maintenance and Education. Ph.D. Thesis, Tampere University of Technology, Tampere, Finlandia, 2015. [Google Scholar]
- Martí, C.; Feliu, J.; Varga, D. Geographic Information Technology and Innovative Teaching: Keys to Geography Degree Curriculum Reform. J. Geogr. 2014, 113, 118–128. [Google Scholar] [CrossRef]
- Riera, A.S.; Redondo, E.; Fonseca, D. Geo-Located Teaching Using Handheld Augmented Reality: Good Practices to Improve the Motivation and Qualifications of Architecture Students. Univers. Access Inf. Soc. 2014, 14, 363–374. [Google Scholar] [CrossRef]
- Abbas, R.; Michael, K.; Michael, M. The Regulatory Considerations and Ethical Dilemmas of Location-Based Services (LBS). Inf. Technol. People 2014, 27, 2–20. [Google Scholar] [CrossRef]
- Meng, L.; Reichenbacher, T.; Zipf, A. (Eds.) Map-Based Mobile Services; Springer: Berlin/Heidelberg, Germany, 2005; ISBN 3-540-23055-6. [Google Scholar]
- Chen, G.; Kotz, D. A Survey of Context-Aware Mobile Computing Research; Department of Computer Science, Dartmouth College: Hanover, NH, USA, 2000; p. 16. [Google Scholar]
- Dey, A.K. Understanding and Using Context. Pers. Ubiquitous Comput. 2001, 5, 4–7. [Google Scholar] [CrossRef]
- Perera, C.; Zaslavsky, A.; Christen, P.; Georgakopoulos, D. Context Aware Computing for The Internet of Things: A Survey. IEEE Commun. Surv. Tutor. 2014, 16, 414–454. [Google Scholar] [CrossRef]
- Gómez Delgado, M.; Barredo Cano, J.I. Sistemas de Información Geográfica y Evaluación Multicriterio: En la Ordenación del Territorio; Ra-Ma: Madrid, Spain, 2005; ISBN 978-84-7897-673-7. [Google Scholar]
- Consejo de Monumentos Nacionales de Chile Monumentos en Google Earth (Archivo KMZ). Available online: https://www.monumentos.gob.cl/sites/default/files/consejo_de_monumentos_nacionales-1_0.kmz (accessed on 3 March 2025).
- Secretaría de Planificación de Transporte Ortofotomosaico Gran Santiago. Available online: https://www.sectra.gob.cl/datos_informacion_espacial/metropolitana/santiago01.htm (accessed on 3 March 2025).
- Gobierno Regional Metropolitano Datos Planta Urbana de Santiago. Available online: http://www.gobiernosantiago.cl/servidor-de-mapas# (accessed on 3 March 2025).
- Earth Resources Observation and Science (EROS) Center Región Metropolitana, Santiago de Chile. Shuttle Radar Topography Mission. Available online: https://www.usgs.gov/centers/eros/science/usgs-eros-archive-digital-elevation-global-30-arc-second-elevation-gtopo30?qt-science_center_objects=0#qt-science_center_objects (accessed on 3 March 2025).
- De Ramón, A. Santiago de Chile (1541–1991): Historia de una Sociedad Urbana; Editorial MAPFRE: Madrid, Spain, 1992; ISBN 84-7100-427-5. [Google Scholar]
- Consejo de Monumentos Nacionales de Chile Nómina Oficial de Monumentos Nacionales Declarados Por Decreto. Available online: https://www.monumentos.gob.cl/monumentos/monumentos-monumentos#:~:text=07_nomina_mn_declarados_por_decreto_web.xlsx-,DESCARGAR,-Monumentos%20en%20Google (accessed on 3 March 2025).
- Henríquez, C.; Quense, J. Evaluación Multicriterio/Multiobjetivo aplicada a los usos y coberturas de suelo en la cuenca de Chillán. Tiempo Espac. Univ. Bio-Bío 2009, 25, 21–39. [Google Scholar]
- Palma Herrera, J.L. Sistemas de Información Geográfica (SIG) y Metodologías de Evaluación Multicriterio (EMC) En La Búsqueda de Escenarios Alternativos Para El Mejoramiento Socioespacial de Las Áreas Urbanas Populares de La Ciudad de Comayagua. Geogr. Sist. Inf. Geográfica GESIG-UNLU Luján 2013, 5, 180–193. [Google Scholar] [CrossRef]
- Colls, C.S.; Colls, K. Reconstructing a Painful Past: A Non-Invasive Approach to Reconstructing Lager Norderney in Alderney, the Channel Islands. In Visual Heritage in the Digital Age; Ch’ng, E., Gaffney, V., Chapman, H., Eds.; Springer Series on Cultural Computing; Springer: London, UK, 2013; pp. 119–146. ISBN 978-1-4471-5534-8. [Google Scholar]
- Galani, A.; Mazel, A.; Maxwell, D.; Sharpe, K. Situating Cultural Technologies Outdoors: Empathy in the Design of Mobile Interpretation of Rock Art in Rural Britain. In Visual Heritage in the Digital Age; Ch’ng, E., Gaffney, V., Chapman, H., Eds.; Springer Series on Cultural Computing; Springer: London, UK, 2013; pp. 183–204. ISBN 978-1-4471-5534-8. [Google Scholar]
- Kokalj, Ž.; Pehani, P.; Goodchild, H.; Gaffney, V.; Oštir, K. Crossing Borders: A Multi-Layer GIS Mapping Framework for the Cultural Management of the Mundo Maya Region. In Visual Heritage in the Digital Age; Ch’ng, E., Gaffney, V., Chapman, H., Eds.; Springer Series on Cultural Computing; Springer: London, UK, 2013; pp. 169–182. ISBN 978-1-4471-5534-8. [Google Scholar]
- Ramsey, E. Urban Scrawl: Reconstructing Urban Landscapes Using Documentary Sources. In Visual Heritage in the Digital Age; Ch’ng, E., Gaffney, V., Chapman, H., Eds.; Springer Series on Cultural Computing; Springer: London, UK, 2013; pp. 147–167. ISBN 978-1-4471-5534-8. [Google Scholar]
- Garnica Berrocal, R.; Galvis Causil, S. Análisis geográfico del turismo desde la perspectiva espacial de los equipamientos y sitios de interés turísticos en Montería, una ciudad ribereña al norte de Colombia. Rev. Geográfica América Cent. 2014, 1, 117–138. [Google Scholar]
- Rahimi, M.; Malek, M.R. Context-Aware Abstraction and Generalization of Street Networks: Two Cognitively Engineered User-Oriented Approaches Using Network Voronoi Diagrams. Geocarto Int. 2015, 30, 560–579. [Google Scholar] [CrossRef]
- She, B.; Zhu, X.; Ye, X.; Guo, W.; Su, K.; Lee, J. Weighted Network Voronoi Diagrams for Local Spatial Analysis. Comput. Environ. Urban Syst. 2015, 52, 70–80. [Google Scholar] [CrossRef]
- Enviroment Research System Investigation Optimized Hot Spot Analysis (Spatial Statistics)—ArcGIS Pro|Documentation. Available online: https://pro.arcgis.com/en/pro-app/latest/tool-reference/spatial-statistics/optimized-hot-spot-analysis.htm (accessed on 13 January 2025).
- Ord, J.K.; Getis, A. Local Spatial Autocorrelation Statistics: Distributional Issues and an Application. Geogr. Anal. 1995, 27, 286–306. [Google Scholar] [CrossRef]
- Law, M.; Collins, A.K. Getting to Know ArcGIS, 4th ed.; Esri Press: Redlands, CA, USA, 2015; ISBN 978-1-58948-382-8. [Google Scholar]
- Sevtsuk, A.; Mekonnen, M. Urban Network Analysis. A New Toolbox for ArcGIS. Rev. Int. Géomat. 2012, 222, 287–305. [Google Scholar] [CrossRef]
- Enviroment Research System Investigation ArcGIS Network Analyst. Available online: http://www.esri.com/software/arcgis/extensions/networkanalyst/key-features (accessed on 3 March 2025).








| Type of Information | Data Source | Type |
|---|---|---|
| Real estate and heritage sites | National Monuments Council [26] | Vector (Point) |
| Image of the study area | Secretariat of Transportation Planning [27] | Raster (Orthophotography) |
| Street axis | Metropolitan Regional Government of Santiago de Chile [28] | Vector (Line) |
| Properties and plots | Metropolitan Regional Government of Santiago de Chile [28] | Vector (Polygon) |
| Elevations | Earth Resources Observation and Science (EROS) Center [29] | Digital Elevation Model |
| Dimension | Item | Description |
|---|---|---|
| I. Identification | 1. Name of the building or place | Identification common to the property. |
| 2. Type | It corresponds to the current use that was given to the property. For example: domestic civil building/public civil building/religious building/military building. | |
| 3. Nominal address | Location based on the street and the number in which the building is located. | |
| 4. Absolute location (geographical coordinates) | Location in geographical coordinates of the structure. It is considered the user’s observation site. | |
| 5. Relative Location | Dynamic location with respect to the location of the user at a time t and its distance to the building or place. It is measured in time and distance. | |
| 6. Cultural heritage category that the building has | Historical monument, world heritage site, among others. | |
| 7. Description of the architectural intervention carried out | According to stylistic and museological criteria, such as: functional and structural restructuring; conservation, preservation and restoration; Enhancement intervention and exhibition in a museum. | |
| 8. Type of relevant legislation | Architectural and heritage protection. | |
| II. Heritage background | 1. Date of construction | Approximate date of initial construction. It does not include subsequent modifications. |
| 2. Significant historical milestones | Significant historical events present in the building and that are a reference for the city in its general context. | |
| 3. Architectural style | It corresponds to the temporal classification of the building in terms of parameters of form, techniques, materials, decoration, period, among others. Related to the history of architecture. | |
| 4. Essential characteristics, modifications and architectural alterations. | The relevant modifications and alterations that the building has undergone over time are mentioned and characterised. | |
| 5. Creator or architect | It corresponds to the director of the work. It can be the client or its designer. | |
| 6. Evolution of its use and functionality | The changes in use and utilisation of the building throughout its existence are mentioned. | |
| 7. Relevant characters linked to the heritage space | It corresponds to important people directly or indirectly related to the building. | |
| 8. Relevant photographic documentation | Historical photographic information of the site. Multimedia digital data will be used in this field. | |
| 9. Change in functionality | Boolean field related to the “Evolution of Usage and Functionality” field. | |
| III. Educational dimension of heritage building | 1. Value/meaning of the property from the pedagogical perspective | The value is realised from the historical, archaeological, heritage, museological, geographical context, among others. |
| 2. Ideological elements and conceptions associated with the property | Significant elements developed by our societies, which are associated with historical legacy, aesthetic, artistic, technological values, among others. | |
| 3. Historical-figurative analysis | Aesthetic definition and critical valuation of the heritage asset. | |
| 4. Socio-functional analysis | Relationship between the real estate and its relationship with the rest of the city, its context; concept of cultural landscape. | |
| 5. Presence of elements that allow a scientific approach to the past | Through procedures of observation, interpretation and analysis. | |
| 6. Diversity of elements | Presence of elements that allow an interdisciplinary approach to the cultural heritage property. |
| Objective | Criterion | Description of the Criterion and Function (Fuzzy) |
|---|---|---|
| Urban environment | Real estate and heritage sites | Boolean data representation: indicates whether information is present or absent within the dataset. |
| Street axis | Standardisation of data according to type of road: pedestrian, street, passage, highway, etc. Criteria defined based on the ease and difficulty of pedestrian movement. | |
| Properties and plots | Boolean data representation: indicates whether information is present or absent within the dataset. | |
| Elevations (slope) | Symmetrical function: greater suitability between 0° and 25° of slope for pedestrian movement. | |
| Heritage background | Essential characteristics, modifications and architectural alterations. | Standardisation according to reclassification of data from highest to lowest number and type of modifications. |
| Evolution of its use and functionality | Boolean data representation: indicates whether information is present or absent within the dataset. | |
| Relevant characters linked to the heritage space | Boolean data representation: indicates whether information is present or absent within the dataset. | |
| Relevant photographic documentation | Boolean data representation: indicates whether information is present or absent within the dataset. | |
| Change in functionality | Boolean data representation: indicates whether information is present or absent within the dataset. |
| Route E: Santiago de Chile and Milestones |
|---|
| Milestone 1: Church of San Agustín |
| Milestone 2: Club de La Unión |
| Milestone 3: New York Street, La Bolsa and Club de la Unión Sector |
| Milestone 4: Stock Exchange |
| Milestone 5: Banco de Santander Building (former Hotel Mundial) |
| Milestone 6: Church of Las Agustinas |
| Milestone 7: Santiago City Hall (former building of the Illustrated Newspaper) |
| Milestone 8: Palacio de la Moneda. Old Royal Mint |
| Milestone 9: Civic Quarter—Bulnes Axis—Almagro Park |
| Milestone 10: Former Casa Rivas, also known as the old “Ferretería Montero” |
| Route | MCE | Surface Weighted MCE | Number of Milestones | Hectares |
|---|---|---|---|---|
| A: Eastern sector of the city | 75 | 6.11 | 5 | 29.99 |
| B: Saint Lucia and surroundings | 86 | 13.17 | 8 | 2.62 |
| C: Museum of Fine Arts and surroundings | 106 | 7.87 | 10 | 32.17 |
| D: Northern sector of the city | 87 | 4.51 | 5 | 22.69 |
| E: Southern sector of the city. Civic Quarter | 155 | 19.80 | 10 | 39.83 |
| F: Central sector. Plaza de Armas and surroundings | 53 | 1.55 | 11 | 22.48 |
| G: Courts of Justice and surroundings | 126 | 42.40 | 8 | 19.83 |
Disclaimer/Publisher’s Note: The statements, opinions and data contained in all publications are solely those of the individual author(s) and contributor(s) and not of MDPI and/or the editor(s). MDPI and/or the editor(s) disclaim responsibility for any injury to people or property resulting from any ideas, methods, instructions or products referred to in the content. |
© 2025 by the authors. Licensee MDPI, Basel, Switzerland. This article is an open access article distributed under the terms and conditions of the Creative Commons Attribution (CC BY) license (https://creativecommons.org/licenses/by/4.0/).
Share and Cite
Joo-Nagata, J.; Rodríguez-Becerra, J. Mobile Pedestrian Navigation, Mobile Augmented Reality, and Heritage Territorial Representation: Case Study in Santiago de Chile. Appl. Sci. 2025, 15, 2909. https://doi.org/10.3390/app15062909
Joo-Nagata J, Rodríguez-Becerra J. Mobile Pedestrian Navigation, Mobile Augmented Reality, and Heritage Territorial Representation: Case Study in Santiago de Chile. Applied Sciences. 2025; 15(6):2909. https://doi.org/10.3390/app15062909
Chicago/Turabian StyleJoo-Nagata, Jorge, and Jorge Rodríguez-Becerra. 2025. "Mobile Pedestrian Navigation, Mobile Augmented Reality, and Heritage Territorial Representation: Case Study in Santiago de Chile" Applied Sciences 15, no. 6: 2909. https://doi.org/10.3390/app15062909
APA StyleJoo-Nagata, J., & Rodríguez-Becerra, J. (2025). Mobile Pedestrian Navigation, Mobile Augmented Reality, and Heritage Territorial Representation: Case Study in Santiago de Chile. Applied Sciences, 15(6), 2909. https://doi.org/10.3390/app15062909

