Next Article in Journal
Investigation of Constant SVPWM and Variable RPWM Strategies on Noise Generated by an Induction Motor Powered by VSI Two- or Three-Level
Previous Article in Journal
Retrieval-Augmented Vision–Language Agents for Child-Centered Encyclopedia Learning
Previous Article in Special Issue
Client-Oriented Highway Construction Cost Estimation Models Using Machine Learning
 
 
Font Type:
Arial Georgia Verdana
Font Size:
Aa Aa Aa
Line Spacing:
Column Width:
Background:
Article

Climbing Tests and Dynamic Simulation of a Cable-Climbing Mechanism for Stay Cable De-Icing Robot

1
School of Civil Engineering, Hubei University of Technology, Wuhan 430068, China
2
State Key Laboratory of Precision Blasting, Jianghan University, Wuhan 430056, China
3
Hubei Jiaotou Intelligent Testing Co., Ltd., Wuhan 430050, China
*
Author to whom correspondence should be addressed.
Appl. Sci. 2025, 15(19), 10822; https://doi.org/10.3390/app151910822
Submission received: 9 September 2025 / Revised: 28 September 2025 / Accepted: 2 October 2025 / Published: 9 October 2025

Abstract

In winter, stay cable sheaths are prone to icing, which increases cable loads and poses a falling-ice hazard upon thawing. While manual and chemical de-icing are common methods, their safety and cost drawbacks make robotic de-icing a promising alternative. Robotic de-icing offers a promising alternative. However, to protect the sheath from damage, the de-icing blade is designed to minimize contact with its surface. Consequently, a thin layer of residual ice is often left behind, which reduces the surface friction coefficient and complicates the climbing process. This study evaluates the climbing performance of a self-manufactured cable-climbing mechanism through laboratory tests and dynamic simulations (ADAMS). A physical prototype was built, and dynamic simulations of the cable-climbing mechanism were conducted using Automated Dynamic Analysis of Mechanical Systems (ADAMS) software. The preliminary validation results demonstrate that the mechanism is capable of maintaining stable climbing under extreme conditions, including a friction coefficient of 0.12 to reflect thin-ice variability and indicated stable climbing even at μ = 0.12), a vertical inclination of 90°, and a load of 12 kg, confirming the design’s validity. Furthermore, we analyzed key parameters. A lower friction coefficient requires a higher clamping force and adversely affects the climbing speed due to increased slip. Similarly, an increased payload elevates the mechanism’s deflection angle, spring force, and wheel torque, which in turn reduces the climbing speed. Cable inclination has a complex effect: deflection decreases with slope, yet clamping force peaks near 70°, showing a bell-shaped trend. This peak requirement dictated the damping spring selection, which was given a safety margin. This ensures safe operation and acceleration at all other angles. Limitations: The present results constitute a feasibility validation under controlled laboratory conditions and rigid-support simulations. The long-term effects of residual ice and field performance remain to be confirmed in planned field trials.

1. Introduction

In winter, the high-density polyethylene (HDPE) sheath of stay cables is susceptible to freezing [1,2]. As temperatures rise, ice shedding may occur from the surface of stay cable sheaths, posing significant impact hazards to pedestrians and vehicles below, resulting in safety incidents and traffic disruptions [3,4]. For instance, in both 2019 and 2024, ice shedding from the stay cables of the Wuhan Erqi Yangtze River Bridge resulted in vehicle damage and significant traffic congestion [5]. The phenomenon of ice shedding from stay cable sheaths is depicted in Figure 1. Additionally, when ice remains attached to the stay cables, they become more vulnerable to aerodynamic forces and wind-induced vibrations [6], which, in extreme cases, could cause the structural integrity of the bridge to be compromised. Consequently, timely and effective de-icing measures are considered crucial for ensuring bridge traffic safety and for the protection of lives and property during winter.
At present, the main de-icing methods include artificial, chemical methods, and laying carbon fiber heating cables [7,8,9,10]. Although these methods have been implemented in specific scenarios, their effectiveness is often limited by low efficiency, safety concerns, and high costs, making them insufficient to meet current demands [11]. As a result, de-icing robots have been developed as a more efficient, safer, and cost-effective alternative for stay cable sheaths de-icing.
While the efficiency of ice removal is being improved, the sheath of stay cables must be protected from damage caused by de-icing robots. Consequently, the complete removal of all ice accumulation cannot be achieved, and residual ice may remain on the cable surface after de-icing [12]. When the robot continues to climb after the de-icing process, these residuals can significantly reduce the friction coefficient between the robot and the stay cable sheaths, potentially leading to slippage or even falling due to insufficient traction. Therefore, reliable climbing capability is considered a core requirement for the proper functioning of stay cable de-icing robots. The rationality of the climbing mechanism’s design is regarded as a key factor in determining the robot’s operational efficiency and safety under complex conditions. In this paper, design rationality refers to the adequacy of component sizing and parameter choices (clamping, traction, torque, speed) to meet stability targets under thin-ice, high-inclination, and elevated-load conditions. The cable-climbing mechanism is regarded as the core subsystem of stay cable de-icing robots, with its structural rationality directly affecting the operational reliability, efficiency, and safety of the robot under complex conditions. In recent years, numerous robotic solutions have been proposed by researchers worldwide to meet the repair and inspection demands of high-altitude stay cable structures, snow removal of stay cables and de-icing of power transmission lines.
The design of robots for power transmission lines is dictated by the requirement to operate on slender, elevated, and electrically energized conductors spanning long distances. The foremost design priorities are established as electrical insulation, operational safety, minimal weight to avoid increasing line loads, and reliable obstacle-crossing capability. Consequently, the focus in typical solutions is placed on dynamic balancing and obstacle-surmounting mechanisms. These designs are commonly validated through multibody dynamic simulations and field tests. For example, a climbing robot integrating an obstacle-surmounting mechanism with a dynamic balancing system was proposed by Xiang Yue et al., and Hao et al. [13,14] whose motion stability was verified through both ADAMS based simulations and field experiments.
However, the stay cables of cable-stayed bridges are characterized by large diameters, steep inclinations, and outer sheaths made of smooth high-density polyethylene. These conditions impose three primary technical requirements on robotic design: first, sufficient attachment capacity with a prudent clamping margin must be ensured; second, traction and clamping stability must be ensured under conditions of both low surface friction and high operational load; and third, adequate payload capability is required to carry and operate on-cable tools for tasks such as inspection, repair, snow removal, or de-icing. For instance, an adaptive variable-diameter robot that integrated snow removal and real-time monitoring capabilities was developed by Kim et al. [15] the stable climbing and effective snow-clearing performance of this robot were subsequently demonstrated through laboratory and field tests. Furthermore, stay cable inspection robots were designed by Wang et al., and Cho et al. [16,17] whose climbing mechanisms were experimentally tested to validate their stability and feasibility. Xu et al. [18] conducted wind-load-equivalent vibration tests on full-scale cable models to evaluate the climbing performance and safety of such robots. Stable operation under Grade 7 wind conditions was successfully verified. Additionally, a climbing robot for cable repair was developed by Zheng et al. and Xu et al. and Kong et al. [19,20,21] and its performance was validated through dynamic modeling and field tests on actual bridge structures.
Although substantial progress has been achieved under normal conditions, climbing stability remains a prominent challenge when covered thin ice is present on the surface of stay cables. Under such circumstances, the coefficient of friction between the climbing mechanism and the cable sheath decreases markedly and becomes spatially non-uniform. This effect is particularly pronounced when mechanical de-icing leaves an uneven distribution of residual ice. These conditions trigger intermittent transitions between static and kinetic friction, as well as a localized loss of traction. Consequently, at steep inclination angles, the risk of backward slip or yaw is significantly elevated. Patchy icing further interrupts continuous contact between the drive module and the stay cables, thereby weakening closed-loop control of traction and clamping forces. Therefore, parameters that guarantee stability on dry surfaces do not guarantee it under thin-ice conditions. It follows that, under the combined operating conditions of low friction, high inclination, and high load, climbing stability on stay cables remains a key issue that warrants further investigation.
To achieve stable climbing on stay cables under thin ice conditions, this paper evaluates the rationality of a dedicated climbing mechanism designed for low-friction, high-inclination, and high-load conditions. Goal: evaluate design rationality and explore the regular trends of motion parameters. Tasks: (1) establish performance criteria for attachment capacity, clamping stability, and payload capability; (2) test the physical prototype to measure key motion parameters under thin-ice conditions and verify stability; (3) conduct a parametric analysis of key structural and control parameters using a virtual prototype. Methods: integrate mechanical theory, climbing experiments, and multibody dynamic simulation in Adams, and assess model–test consistency using relative root mean square error and speed-fluctuation metrics. Results: report stability outcomes and operating margins that provide preliminary validation of the mechanism’s design rationality, quantify friction coefficient and payload boundaries relevant to de-icing operations; and identify regular trends in key motion parameters to enable reliable climbing on low-friction, steeply inclined stay cables. Unlike prior work centered on dry surfaces or power-transmission lines, this study targets stay-cable sheaths under thin ice: we experimentally measured the friction coefficient of the thin-ice–covered sheath–contact interface and validated dynamics (ADAMS) against laboratory climbing tests under μ down to 0.12, 90° inclination, and 12 kg load. This context-specific evidence yields direct design checks (torque/clamping margins, friction/payload limits) and an operational rule (the upper critical clamping force peaks near ~70°; therefore, verify extra clamping margin there and schedule tool deployment away from the peak), providing a practical envelope for component sizing, control set-points, and deployment planning of stay-cable de-icing robots in winter. The structure of this paper is as follows: Section 2 introduces the structural composition and working principles of the cable-climbing mechanism. Section 3 provides a theoretical mechanical analysis and discusses the selection of key components. Section 4 describes the experimental measurements of friction coefficients and climbing velocities under different load conditions. Section 5 outlines a virtual prototype that was built using ADAMS software, and its accuracy was validated through comparison with experimental data. Section 6 investigates the variation patterns of critical parameters under various conditions through virtual prototype simulations. Section 7 summarizes the key findings and proposes future research directions. The complete research workflow is illustrated in Figure 2.

2. Description of the Prototype

2.1. Structural Composition

The de-icing robot consists of a cable-climbing mechanism (30 kg) and a de-icing mechanism. As the core subsystem responsible for maintaining stable climbing on stay cables, the cable-climbing mechanism operates through the coordination of three submodules: the clamping module, which achieves active clamping of the cable using a lead screw-stepping motor damping spring linkage system; the drive module, which provides climbing power through a reduction motor and track wheel assembly; and the support frame, which integrates the subsystems and resists external loads. The three driving modules are symmetrically distributed along the circumference at 120° intervals, and the resultant three-way clamping force ensures self-centering functionality. The complete 3D model of the cable-climbing mechanism is shown in Figure 3.

2.2. Operational Principles

A control command from the remote unit first activates the clamping module. The stepper motor rotates the lead screw, the screw–nut pair converts rotation into linear motion, and the damping spring is compressed. The resulting spring force pulls each driving module radially inward, applying normal force to the stay-cable sheath until reliable clamping (the fuzzy-PID–regulated speed loop settles (≤10% speed fluctuation) with no reverse motion and no slip inferred during a ≥1 s dwell) is achieved. After clamping, the remote unit enables the DC geared motor, which transmits torque to the track-wheel assembly, generating the tractive force for motion along the sheath.
Crucially, three driving modules are arranged symmetrically at 120°, producing a self-centering effect that maintains uniform contact and mitigates yaw. Together with spring clamping and remote control, this three-module self-centering architecture enables stable, remote-controlled ascent on stay-cable sheaths under thin-ice conditions, providing the functional basis for de-icing operations. The complete system is shown in Figure 4.

3. Theoretical Analysis

3.1. Theoretical Mechanical Analysis

The mechanical behavior of the cable-climbing mechanism under varying stay cables inclination angles requires systematic investigation. According to previous studies, these angles generally fall within the range of 30° to 90° [22]. To assess the mechanism’s climbing performance under extreme operating conditions, an inclination angle of 90° is selected as the reference case. The dominant mechanical forces acting on the mechanism during its ascent along the ice-covered stay cable are analyzed to determine whether it can sustain stable climbing at a target speed of 10 m/min during high-altitude operations.
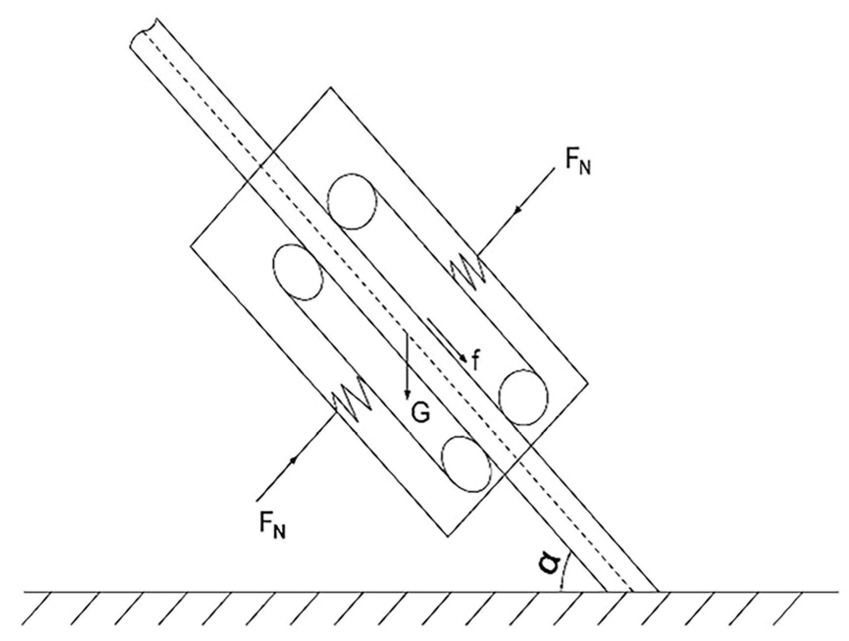
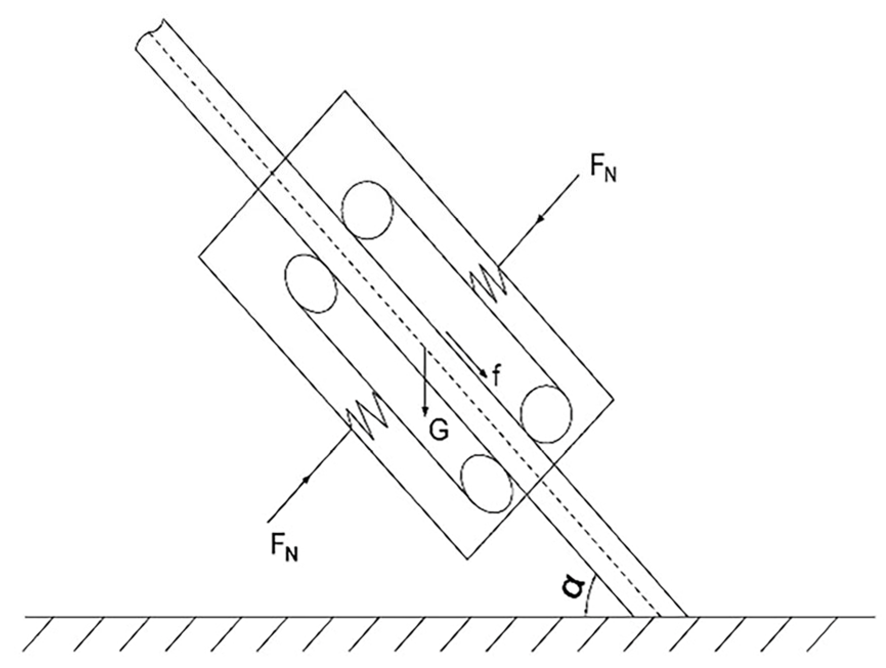
Figure 5 illustrates the force analysis diagram of the cable-climbing mechanism during climbing. To ensure that the de-icing robot can perform stable and safe climbing on stay cable, the following conditions need be met:
(1)
Rotational motion should be prevented during the climbing process to maintain the overall balance of the climbing mechanism.
(2)
Adequate driving force should be maintained during the climbing operation to prevent slippage or potential instability caused by insufficient torque.
The minimum frictional force required for slip-free ascent of the climbing mechanism along the stay cable is given by:
F m = μ ( F N 1 + F N 2 + F N 3 ) G sin α
where FNi (i = 1, 2, 3) are the contact reaction forces (clamping force) at the robot–cable interface, and μ is the rubber–ice friction coefficient, typically ranging from 0.12 to 0.23 [23]. In this study, a friction coefficient of 0.12 was adopted to represent the most extreme operating condition.
The contact reaction force at the cable-robot interface consists of two primary components: (1) the servo-applied clamping force, and (2) the gravity normal component G cosα that is primarily carried by the upper clamping module, where α denotes the cable inclination angle. This relationship is expressed as:
F N 1 = F T 1
F N 2 = F T 2
F N 3 = F T 3 + G cos α
In the equation, FTi (i = 1, 2, 3) represents the servo-driven normal force produced by the active clamping module.
F T 1 = F T 2 = F T 3
The minimum clamping force necessary to prevent slipping during the climbing mechanism’s ascent can be derived by solving Equations (1) through (5) simultaneously:
F T 1 , F T 2 , F T 3 G sin α 3 μ G cos α 3
The traction force required for the climbing mechanism to ascend is determined by overcoming gravitational component (tangential and normal) and frictional resistance resulting from the clamping force applied by the damping springs, and can be expressed as:
F Q = G sin α + μ ( G cos α + F N , total )
The de-icing robot has six driving wheels, each driven independently by a geared motor. Accordingly, the driving torque demands for each geared motor are determined as follows:
M = F Q 6 × r

3.2. Component Selection

When operating on stay cables with thin ice accumulation, a friction coefficient of 0.12 is applied, and the cable-climbing mechanism has a total mass of 30 kg. Based on Equations (4) and (6), the maximum required normal clamping force at the upper module is determined to be FN,max = 839.86 N when the inclination angle α is 76°. When the inclination angle α is 90°, the total clamping force reaches its maximum value of FN,total = 2450 N. At this inclination, the maximum traction force required by the de-icing robot is FQ = 588 N, as calculated from Equation (7). With each driving wheel having a radius of 35 mm and the target climbing velocity set at 10 m/min, the required torque per wheel is determined to be M = 3.43 N·m according to Equation (8).
The geared motor (XYT-5882-50ZY) and damping spring (2.5 × 30 × 35 mm) were selected based on theoretical calculations. Their specifications are detailed in Table 1 and Table 2, respectively.
To ensure a controlled reliability margin under thin-ice conditions, the damping springs (SUS304-WPB, k = 12.42 N/mm) were selected from standard sizes. Thus, the configuration of four springs per side provides a clamping force of 1242 N, achieving a safety factor of ≈1.48 relative to the upper-module load (839.86 N at α = 76°) and ≈1.01 when subjected to the maximum total load (2450 N at α = 90°). In operation, the preload is set below the absolute maximum to limit sheath contact pressure while retaining reserve capacity to accommodate friction variability, tolerances, and dynamic disturbances. Likewise, the drive unit was sized with a deliberate torque margin: each wheel requires 3.43 N·m at the target speed, whereas the selected geared motor delivers up to 4.905 N·m (safety factor ≈ 1.43), which mitigates transient slip-induced peaks and reduces stall risk under steep-inclination, thin-ice conditions. These theoretical values provide the baseline for the subsequent dynamic simulation and experimental validation.

4. Laboratory Test

The performance of the climbing mechanism on stay cable surfaces covered with thin ice was systematically evaluated through two complementary test procedures: (1) quantitative characterization of interfacial friction properties between the rubber track and ice surface, and (2) measuring the climbing speed of the climbing mechanism under varying load conditions. A physical prototype was fabricated, and a climbing tests platform was established in a step-in constant humidity laboratory. To replicate field conditions of stay cables, climbing tests were conducted on ice-covered stay cable sheaths at inclination angles of 45° and 90°.

4.1. Materials and Equipment

The test was conducted in a step-in constant humidity laboratory (Figure 6a), with the environmental temperature set to −10 °C ± 0.5 °C. The test focuses on a self-manufactured prototype of a stay cable climbing mechanism (Figure 6b), which was mounted on a 2 m stay cable sheath with a diameter of 200 mm. To replicate extreme environmental conditions, a spraying system was employed to form a 2 mm-thick layer of thin ice on the surface of the stay cable sheath (Figure 6c). To replicate various load conditions, standard weights were evenly distributed on the upper platform (Figure 6d).
Notably, laboratory tests were performed under controlled thin-ice conditions without wind loading, freeze–thaw cycling, or deliberately patterned irregular ice. This setup isolates low-friction climbing behavior and enables repeatable measurement of traction, clamping margin, and stability of climbing speed, but does not replicate in-service environmental variability.
The testing data collection consisted of two key components:
(1)
Friction coefficient determination: The deformation of the spring was measured using a vernier caliper with an accuracy of 0.01 mm. Based on Hooke’s law and the established mechanical model, the equivalent friction coefficient between the climbing mechanism and the surface of the stay cable sheath was calculated.
(2)
Speed measurement: the climbing mechanism’s speed is measured using an encoder integrated into the drive system.

4.2. Determination of the Friction Coefficient

The friction coefficient between the climbing mechanism and the stay cable sheath surface was determined through tests conducted under two representative operational conditions: dry and covered with thin ice. The physical prototype was initially mounted onto the stay cable sheath (Figure 7), and the spring preload was gradually increased via stepper motor-driven lead screw control until the mechanism approached its critical sliding threshold. Each condition was tested in triplicate, and the mean spring compression displacement was recorded. The corresponding critical clamping force was then determined based on Hooke’s law. Subsequently, the equivalent friction coefficient μ was derived from the mechanical model described in Section 2. The calculated results are presented in Table 3.
Application of the present icing protocol yielded a mean friction coefficient of μ = 0.15 on the iced sheath, with a range of 0.12–0.20 observed across repeated tests owing to spatial non-uniformity and thin meltwater films. Table 3 lists the representative mean (μ ≈ 0.15), and the dynamic simulations therefore adopt μ ∈ [0.12, 0.20].

4.3. Climbing Tests

The climbing speed of the cable-climbing mechanism is a key indicator of its operational performance, as it directly affects the efficiency of engineering applications. Different combinations of inclination angle and applied load are listed as climbing test conditions in Table 4. During testing, all six driving motors were synchronously controlled at a constant voltage. The maximum sustainable climbing speed and the corresponding limit load were continuously recorded in real time. The climbing process is illustrated in Figure 8.
Figure 9 presents the test results, showing that increasing the load prolongs the time required to reach steady-state speed and reduces the maximum attainable speed. Additionally, under the same load condition, the climbing mechanism exhibited a significantly higher climbing speed at 45° compared to 90°, indicating that steeper inclination angles impair overall climbing performance.
The tests quantified the climbing mechanism’s maximum load capacity. At 45°, the mechanism successfully supported loads up to 27 kg but failed at 28 kg. The maximum effective load (Load metrics, two load metrics are used at each inclination: (1) maximum load capacity, defined as the highest payload at which the robot does not exhibit sustained backslip or fall (non-slippage threshold), irrespective of speed; and (2) maximum effective load, defined as the highest payload at which the robot maintains the design target speed of 10 m/min without sustained backslip. Unless otherwise stated, “stable operation” in this paper refers to the maximum effective load.) was 20 kg. In contrast, under 90° conditions, the maximum load capacity dropped to 19 kg, with failure at 20 kg, while the effective load limit reduced to 12 kg.

5. Dynamic Simulation

In the preceding section, performance tests were conducted on the physical prototype to determine the friction coefficient and the maximum effective load. This section presents the dynamic simulation and calibration procedures aimed at aligning the simulated results with the performance of the physical prototype under identical test conditions. Comparison with the physical prototype test results is used to further verify the accuracy and reliability of the simulation model.
To accurately simulate the frictional behavior on ice-covered stay cables, ADAMS was selected as the simulation platform in this study. Its built-in stick-slip friction model is capable of maintaining static friction under low-speed or stationary conditions, thereby avoiding the errors commonly introduced by traditional models that cannot preserve stiction [24]. This feature makes it well-suited for modeling clamping and micro-sliding contact scenarios in the present research. The corresponding workflow is illustrated in Figure 10.

5.1. Virtual Prototype Established

A modular modeling approach was adopted to develop the multi-body dynamic model of the cable-climbing mechanism. A parametric 3D model was constructed using the SolidWorks 2021, followed by a functional decomposition of the mechanism into two main submodules. The driving module consists of six drive wheels, three support wheels, and rubber tracks. The clamping module comprises a lead screw, two support plates, and four damping springs. Interaction between the two modules is realized through the deformation of the spring units, enabling coordinated climbing behavior.
In the ADAMS/View (2020) simulation environment, a complete constraint system was established. A fixed joint was applied between the stay cable and the ground. The lead screw and the locomotion mechanism were modeled using translational joints, and revolute joints were defined between the drive wheels and their corresponding bearings. To ensure motion synchronization, the translational joint of the upper lead screw and the revolute joint of the drive wheel were defined as the active degrees of freedom, the lower units were kinematically constrained to the upper units through coupling relationships, enabling coordinated motion. Finally, contact forces were defined between the drive wheels and the stay cable sheath to simulate the wheel–cable interaction. The virtual model accurately replicates the designed parametric characteristics, as illustrated in Figure 11.
For computational tractability and to approximate the prototype’s operating state, the feasibility-stage model adopts the following idealizations.
1. The stay cable is represented as rigid and fixed; sag, wind-induced vibration, and deflection under the mechanism’s weight are not modeled.
2. Direct track–cable contact on a flexible cable is outside the present scope. To focus on clamping and traction, contact is represented as drive-wheel–sheath interaction: the sheath is modeled as PVC, the drive wheel as a rigid aluminum-alloy body, with normal contact stiffness set to 1000 (model units). This penalty stiffness keeps peak normal approach (penetration) well below a millimeter fraction of the 35 mm wheel radius while maintaining numerical stability; force/speed time histories are smooth without chatter.
3. Idealized actuation. The drive wheel is speed-prescribed in ADAMS; the solver-reported wheel/output torque is used for feasibility checks. Actuation dynamics (rotor/gearbox inertia, torque ripple, closed-loop control) are not modeled.
During the dynamic simulation using ADAMS, the climbing mechanism was mounted on a 200 mm diameter stay cable sheath. The simulation parameters are listed in Table 5. A simulation script was developed with 800 iterations and a total simulation time of 8 s. (Here, STEPS = 800 defines an output sampling interval of 0.01 s; the solver’s internal integration step size remains adaptive under local error control and is not fixed at 0.01 s. When spot checks were performed with coarser (0.02 s) and finer (0.005 s) output sampling rates and step caps under the worst-case condition (μ = 0.12, 90° inclination, effective load), the slip/no-slip classification remained unchanged and the time-history responses were visually indistinguishable.) The clamping duration was set to 1 s, followed by a 7 s climbing phase. The gravity vector was reoriented to simulate 45° and 90° gravitational fields by setting directional components, as summarized in Table 6. Figure 12 presents the dynamic behavior of the climbing mechanism under 45° and 90° climbing conditions.

5.2. Virtual Prototype Validation

Representative velocity data points covering both the acceleration and steady-state phases were extracted to facilitate validation of the virtual prototype. The climbing speeds of the physical (Figure 9) and virtual prototypes (Figure 13) were compared under various loading conditions, and the results are shown in Figure 14a,b. The test results are generally lower than the simulated results. This discrepancy is attributed to surface-level variations, such as non-uniform ice accumulation, differences in surface hardness, and contaminants on the stay cable sheaths, all of which contribute to local fluctuations in the friction coefficient.
To quantify the agreement between the simulation and test results, the relative root mean square error (RRMSE) was calculated based on the climbing speed data obtained from both the virtual and prototype tests [25], as shown in Table 7 and Table 8. The Relative Root Mean Square Error (RRMSE) was selected for this study because it is a dimensionless metric that enables direct comparison of errors across variables and conditions with different scales. While a slight deviation exists, the RRMSE of climbing speed across varying loads remains below 5%. This level of deviation is considered negligible. Therefore, the virtual model can accurately reflect the physical prototype’s behavior.

6. Parameter Analysis

Previous studies indicate that the inclination angle of stay cables generally ranges from 30° to 90°, while icing-condition tests show that the friction coefficient between the climbing mechanism and the stay cable sheath varies from 0.12 to 0.2. Under these conditions, the mechanism is capable of supporting a maximum effective payload of 12 kg. Based on this data, an extreme working condition is characterized by a 90° inclination angle, a friction coefficient of 0.12, and a 12 kg payload. Figure 15 illustrates the rationality verification process, which consists of two components:
(1)
Validation of key component selection: dynamic simulations were conducted in ADAMS/View to evaluate the output torque of the driving wheel and the clamping force provided by the spring under extreme conditions. If the rated output torque of the selected geared motor and the clamping force generated by the damping spring both exceed the corresponding simulated values, the component selection is considered sufficient for the target application.
(2)
Evaluation of motion stability: the deflection angle and speed of the center of mass were tracked throughout the simulation to assess motion stability. The deflection angle of the center of mass should remain smooth to maintain postural stability, and speed fluctuation should be kept within 10% to ensure continuous and steady climbing.
Additionally, simulations were performed under varying conditions, including inclination angles of 30–90°, friction coefficients from 0.12 to 0.2, and payloads ranging from 0 to 12 kg. The effects of key parameters on the climbing mechanism’s performance were analyzed to support further design optimization and motion control strategy formulation.
Each parameter combination in Table was simulated three times (n = 3) with identical settings. With fixed solver tolerances, ADAMS produced repeatable results; the steady-state value was taken as the mean over 1–8 s, and the fluctuation as (max − min)/mean over the same window. Across repeats, steady-state metrics agreed within ≤1%, and fluctuation estimates within ≤0.5%.

6.1. Component Selection Verification

6.1.1. Critical Clamping Force

Clamping mechanism performance plays a key role in ensuring the safety and efficiency of cable climbing operations. The critical clamping force, a key parameter in climbing performance, is defined as the minimum clamping force required for the cable-climbing mechanism to achieve stable ascent on a stay cable sheath under varying inclinations and surface conditions. A systematic parametric analysis was performed to examine how the friction coefficient, external load, and cable inclination affect the critical clamping force. Detailed parameter settings are provided in Table 9.
Figure 16 shows the simulation results. Under extreme working conditions, the maximum critical clamping force on a single side is observed near an inclination angle of 70°, reaching 1050 N in the upper module. Meanwhile, the maximum total critical clamping force, resulting from all three clamping modules, is observed at 90° inclination, with each side contributing approximately 1030 N.
Both critical values are below the prototype spring’s maximum clamping capacity (1240 N), indicating adequacy under extreme conditions.
At 90° inclination, the three clamping modules carry equal, symmetrically distributed critical clamping forces. Across friction and load cases, the critical-clamping-force time histories peak within the first second and then settle to a steady state. The critical clamping force decreases with friction (≈5% per +0.01 in μ) (Quantification note: Percentage trends were computed from steady-state means using finite-difference ratios between adjacent conditions) and increases with payload (≈4% per +1 kg). If the external load exceeds the designed effective limit (12 kg), the clamping margin can be restored by adopting higher-stiffness damping springs. The upper module consistently carries more clamping force than the lower modules, and the disparity grows with inclination: the upper-module force rises, peaks near ~70°, then declines, recovering three-way equilibrium at 90°. By contrast, the lower-module force increases with angle. This differential arises because the upper module additionally resists the downslope gravitational component of the mechanism.

6.1.2. Output Torque

The output torque of the climbing mechanism constitutes a pivotal performance parameter that governs both the system’s climbing task execution capability. The output torque is the result of the power source’s original torque after being adjusted by the transmission system, reflecting the system’s capacity to generate rotational motion. We performed dynamic simulations under multiple operating conditions (Table 10) to quantify how load and inclination angle affect output torque.
As evidenced by the simulation results in Figure 17, the output torque demonstrates dynamic fluctuations between 4186 and 4874 N·mm. Under the worst-case thin-ice scenario (μ = 0.12, 90° inclination, effective load), the wheel torque settled at ≈4.4 N·m, with occasional peaks approaching but not exceeding 4.905 N·m (motor’s rated output). Thus, the mechanism meets the torque requirement within the idealized-drive assumption.
The output torque exhibits a consistent increasing trend with both applied load and inclination angle across all tested conditions. Specifically, the torque rapidly rises to its peak value within the first second and then maintains a steady state with minor fluctuations. The output torque exhibits consistent evolutionary behavior across all tested operational conditions: the output torque increases with the applied load, showing an approximate 4.7% increase per kilogram increase. It also shows positive correlation with inclination angle, while the output torque continues to grow with steeper angles, this growth becomes less pronounced. As the inclination increases through 30°, 45°, 60°, 75°, and 90°, the incremental torque rise between each successive angle is 30%, 18.7%, 13.9%, and 8.5%, respectively.

6.2. Motion Stability Evaluation

6.2.1. Deflection Angle

Climbing posture is governed by the mechanism’s body deflection angle. Here, the deflection angle is the inclination of the body relative to the direction of travel. Large or rapid deflections degrade motion steadiness and operational efficiency. We therefore use dynamic simulations to quantify how friction coefficient, payload, and stay-cable inclination affect body deflection. These findings inform posture-control strategies under complex environments. Parameter settings and ranges are listed in Table 11, and results are shown in Figure 18.
The simulation results demonstrate that the climbing mechanism’s deflection angle increases with decreasing inclination angle. Decreasing inclination angles induces: (1) asymmetric load distribution in the clamping mechanism, and (2) enhanced normal gravitational forces that exacerbate interfacial pressure differences, these effects collectively produce deflection-amplifying torque that peaks at 30°. In contrast, at the 90° vertical position, equilibrium force distribution among the three clamping mechanisms achieves minimal deflection.
The simulation demonstrated under 30° inclination, 12 kg loading, and 0.12 friction coefficient conditions, the climbing mechanism maintained stable posture without abrupt motions. The deflection angle curve showed a steady increase throughout the simulation, meeting the stability requirements of posture.
Deflection angle shows consistent, monotonic growth over the 1–8 s climbing window across friction and load cases. When the friction coefficient increases from 0.12 to 0.20, the growth rate of the deflection angle drops from 0.139° to 0.111° (final steady-state body-deflection angles) (a 25.2% reduction). By contrast, the deflection angle rises from 0.128° to 0.139° as the payload increases from 0 to 12 kg (an 8.6% increase). Thus, lightweighting the de-icing mechanism can improve posture steadiness during climbing.

6.2.2. Motion Speed

Climbing speed is a key performance variable that shapes dynamic steadiness and operational efficiency. Both overly high and overly low speeds can degrade stability, especially under variable friction or time-varying loads. We therefore use dynamic simulations to quantify how key parameters affect speed; parameter settings and ranges are listed in Table 12.
As shown in Figure 19, the cable-climbing mechanism maintains a stable speed of 150–163 mm/s (variation < 10%) under extreme conditions. No abrupt fluctuations were observed. As shown in Figure 19, the cable-climbing mechanism maintains a stable speed of 150–163 mm/s (variation < 10%) under extreme conditions. No abrupt fluctuations were observed, and the stability requirement is met.
Across variations in friction coefficient, payload, clamping force, and cable inclination, the climbing speed settles within ~1.5 s and then fluctuates slightly about a steady value. Under more extreme conditions (lower μ, higher load, steeper inclination), the settling time increases noticeably.
The friction coefficient and clamping force both increase climbing speed. Increasing μ from 0.12 to 0.20 raises the steady speed from 158 mm/s to 192 mm/s (+21.5%). Increasing clamping force from 1050 N to 1250 N raises speed from 156 mm/s to 179 mm/s (+14.7%). By contrast, speed decreases with payload and inclination. Increasing load from 0 kg to 12 kg reduces steady speed from 194 mm/s to 156 mm/s (−24.3%). Increasing inclination from 30° to 90° lowers speed from 195.9 mm/s to 156 mm/s (−25.6%). Design implications: improve effective friction (via contact materials or contact area), increase clamping force within safety limits, and reduce structural mass to enhance climbing efficiency.

7. Conclusions

This study provides a preliminary validation of the self-clamping cable-climbing mechanism, based on laboratory tests under rigid-support, thin-ice conditions and dynamic simulations incorporating simplified assumptions such as ideal actuation. The following conclusions are drawn:
1. Design rationality and the effective operating range were preliminarily confirmed under controlled laboratory conditions. Experiments on HDPE sheaths with covered thin ice, combined with simulations assuming a rigid cable, demonstrated stable climbing at steep inclinations with high payloads. The mechanism achieved an effective operating load of 12 kg at 90°, with a higher non-slippage limit (e.g., 19 kg at 90°), thereby delineating a feasible parameter range for safe operation under the tested conditions.
2. The high accuracy of the model was validated by an RRMSE of less than 5%, which was calculated from a comparison between the simulated speeds and the speeds measured in laboratory experiments. Despite its rigid-support assumption, the model elucidated key trends and delivered actionable results. These trends offer practical guidance: higher friction reduces clamping needs and stabilizes speed; increased payload raises clamping/torque demand and lowers speed; and the non-linear peak in clamping force near 70° informs critical design and control parameters.
3. The work offers a targeted advance over existing analogues. Unlike robots designed for power lines or dry bridge cables, this mechanism was purpose-validated under thin ice, steep inclinations, and payload. By incorporating explicit safety margins, this study contributes to extending the robot’s validated operational domain toward real-world de-icing conditions, thereby enhancing its potential for practical deployment.
In summary, these results constitute a fundamental preliminary validation under controlled laboratory conditions and with modeled simplifications. Field trials under natural icing, wind, and on flexible stay cables remain essential to fully confirm practical applicability and refine system parameters.

8. Discussion

A second limitation concerns the long-term reliability of the mechanism. The present work does not quantify wear or performance degradation over repeated operational cycles. To address this gap and evaluate the service life, a dedicated durability program will be implemented. This program will involve accelerated life-cycle testing on instrumented rigs, monitoring key indicators including: (1) wear of the roller treads (tracking changes in profile, diameter, and surface condition); (2) retention of spring preload; (3) potential growth in gearbox backlash and the thermal behavior of motors under typical duty cycles; and (4) the evolution of performance metrics such as steady-state speed, speed variation, slip events, and clamping margin. The acceptance criteria will stipulate no sustained backslip, speed variation within target limits, and preload retention within a specified engineering tolerance over a target number of cycles. Components exhibiting wear beyond these thresholds will be serviced or replaced.

Author Contributions

Conceptualization, Y.P. and H.X.; methodology, Y.P. and Z.C.; software, Y.P. and Y.L.; validation, Y.P., Z.C. and H.X.; formal analysis, Y.P. and Y.L.; investigation, Y.P., Y.L. and Z.C.; resources, H.X., S.H. and C.L.; data curation, Y.L.; writing—original draft preparation, Y.P.; writing—review and editing, Y.P., H.X., Z.C., Y.L., S.H. and C.L.; visualization, Y.L. and Y.P.; supervision, H.X.; project administration, Y.P. and H.X.; funding acquisition, H.X. All authors have read and agreed to the published version of the manuscript.

Funding

This research was funded by the National Natural Science Foundation of China [No. U22A20234], the Key Research and Development Program of Hubei Province [No. 2023BCB116], the Key Research and Development Program of Hubei Province [No. 2023BAB024], the Key Research and Development Program of Hubei Province [No. 2024BEB001]. The APC was funded by the corresponding author.

Data Availability Statement

The datasets generated and analyzed in this study are available from the corresponding author on reasonable request.

Conflicts of Interest

Silu Huang and Changjie Li are employees of Hubei Communications Investment Group Co., Ltd. The employer had no role in the research. The authors declare no other conflicts of interest.

References

  1. Demartino, C.; Koss, H.H.; Georgakis, C.T.; Ricciardelli, F. Effects of Ice Accretion on the Aerodynamics of Bridge Cables. J. Wind Eng. Ind. Aerodyn. 2015, 138, 98–119. [Google Scholar] [CrossRef]
  2. Li, W.; Geng, Z.; Xiao, H.; Pei, Y.; Yang, K. An Experimental Study on Ice Accretion under Bridge Cable in Different Conditions. Appl. Sci. 2023, 13, 3963. [Google Scholar] [CrossRef]
  3. Szilder, K.; D’Auteuil, A.; McTavish, S. Predicting Ice Accretion from Freezing Rain on Bridge Stay Cables. Cold Reg. Sci. Technol. 2021, 187, 103285. [Google Scholar] [CrossRef]
  4. Brassard, J.-D.; Blackburn, C.; Toth, M.; Momen, G. Ice Accretion, Shedding, and Melting on Cable-Stayed Bridges: A Laboratory Performance Assessment. Cold Reg. Sci. Technol. 2022, 204, 103672. [Google Scholar] [CrossRef]
  5. Liu, Q.; Han, Y.; Fan, X. Research on Hot Air Ice Melt System for Cable Sheaths of Er’qi Yangtze River Bridge. E3S Web Conf. 2021, 237, 02006. [Google Scholar] [CrossRef]
  6. Jafari, M.; Hou, F.; Abdelkefi, A. Wind-Induced Vibration of Structural Cables. Nonlinear Dyn. 2020, 100, 351–421. [Google Scholar] [CrossRef]
  7. Ma, Z.; Wei, H. Parameters Optimization of Conductive Rubber Snow-Melting Bridge Deck Pavement Based on Material-Structure Integrated Design Idea. Arab. J. Sci. Eng. 2024, 50, 8407–8423. [Google Scholar] [CrossRef]
  8. Pei, Y.; Luo, Z.; Xiao, H.; Chen, Z.; Zhou, X.; Yang, Z. A Simple Carbon Fiber Heating Wire Design Method for Preventing Ice Accretion on Stay Cables. Case Stud. Therm. Eng. 2022, 34, 101996. [Google Scholar] [CrossRef]
  9. Peng, Y.; Veerakumar, R.; Zhang, Z.; Hu, H.; Liu, Y.; He, X.; Hu, H. An Experimental Study on Mitigating Dynamic Ice Accretion Process on Bridge Cables with a Superhydrophobic Coating. Exp. Therm. Fluid Sci. 2022, 132, 110573. [Google Scholar] [CrossRef]
  10. Yuan, H.-B.; Zhao, M.; Zhu, X.; Sha, D.; Chen, G.; Xing, T. Facile Fabrication of Durable and Breathable Superhydrophobic Cotton Fabric for Self-Cleaning, UV-Blocking, Anti-Icing, and Photothermal de-Icing. Cellulose 2024, 31, 4627–4644. [Google Scholar] [CrossRef]
  11. Matejicka, L.; Georgakis, C.T. A Review of Ice and Snow Risk Mitigation and Control Measures for Bridge Cables. Cold Reg. Sci. Technol. 2022, 193, 103429. [Google Scholar] [CrossRef]
  12. Hong, Z.; He, K.; Xu, Y.; Fang, H.; Zuo, Q.; Li, Z. Design and Research on Impact Deicing Mechanism of Cable Climbing Robot. In Proceedings of the 2021 International Conference on Computer, Control and Robotics (ICCCR), Shanghai, China, 8–10 January 2021; pp. 70–74. [Google Scholar]
  13. Hao, J.; Zhang, Q.; Feng, T.; Zhou, F. The Design and Simulation of Anti-Icing and Deicing Robots for High-Voltage Transmission Lines. Value Eng. 2021, 151–154. [Google Scholar] [CrossRef]
  14. Yue, X.; Wang, H.; Jiang, Y. A Novel 110 kV Power Line Inspection Robot and Its Climbing Ability Analysis. Int. J. Adv. Rob. Syst. 2017, 14, 1729881417710461. [Google Scholar] [CrossRef]
  15. Kim, J.; Seo, D.-W.; Jung, K.-S.; Park, K.-T. Development of Inspection Robot for Removing Snow on Stays of Cable-Stayed Bridge. J. Korea Acad. -Ind. Coop. Soc. 2020, 21, 246–252. [Google Scholar]
  16. Wang, Z.; He, B.; Zhou, Y.; Liu, K.; Zhang, C. Design and Implementation of a Cable Inspection Robot for Cable-Stayed Bridges. Robotica 2021, 39, 1417–1433. [Google Scholar] [CrossRef]
  17. Cho, K.H.; Kim, H.M.; Jin, Y.H.; Liu, F.; Moon, H.; Koo, J.C.; Choi, H.R. Inspection Robot for Hanger Cable of Suspension Bridge: Mechanism Design and Analysis. IEEE/ASME Trans. Mechatron. 2013, 18, 1665–1674. [Google Scholar] [CrossRef]
  18. Xu, F.; Dai, S.; Jiang, Q.; Wang, X. Developing a Climbing Robot for Repairing Cables of Cable-Stayed Bridges. Autom. Constr. 2021, 129, 103807. [Google Scholar] [CrossRef]
  19. Xu, F.; Wang, X.; Jiang, G. Experimental Studies on the Dynamic Behaviour of a Robot Cable-Detecting System. Trans. Inst. Meas. Control 2016, 38, 338–347. [Google Scholar] [CrossRef]
  20. Zheng, Z.; Wang, C.; Hu, X.; Zhang, L.; Zhang, W.; Xu, Y.; Liu, P.; Pang, X.; Lam, T.L.; Ding, N. Developing a Climbing Robot for Stay Cable Maintenance with Security and Rescue Mechanisms. J. Field Rob. 2025, 42, 2532–2548. [Google Scholar] [CrossRef]
  21. Kong, X.; Liu, Z.; Liu, H.; Hu, J.; Deng, L. Recent Advances on Inspection, Monitoring, and Assessment of Bridge Cables. Autom. Constr. 2024, 168, 105767. [Google Scholar] [CrossRef]
  22. Wang, Y.; Li, X.; Yang, M.; Yin, F. Design and Implementation of the Wheel-Clamping Stay Cable Inspection Robot. Adv. Mech. Eng. 2023, 15, 16878132231194409. [Google Scholar] [CrossRef]
  23. Wang, Q.; Qi, X.; Wang, Y.; Yang, Z.; Wang, G.; Lyu, D. Relevance Study between Friction Characteristics of Vehicle Tires on Ice-Snow Roads and Physical Mechanical Properties of Rubber Materials. J. Wuhan Univ. Technol. 2018, 42, 574–578. [Google Scholar]
  24. Schuderer, M.; Rill, G.; Schaeffer, T.; Schulz, C. Friction Modeling from a Practical Point of View. Multibody Sys. Dyn. 2025, 63, 141–158. [Google Scholar] [CrossRef]
  25. Chen, S.; Zheng, W. RRMSE-Enhanced Weighted Voting Regressor for Improved Ensemble Regression. PLoS ONE 2025, 20, e0319515. [Google Scholar] [CrossRef]
Figure 1. Dangers posed by ice shedding from stay cable sheaths: (a) ice shedding from stay cable sheaths; (b) falling ice strikes caused vehicular damage.
Figure 1. Dangers posed by ice shedding from stay cable sheaths: (a) ice shedding from stay cable sheaths; (b) falling ice strikes caused vehicular damage.
Applsci 15 10822 g001
Figure 2. Diagram of working process.
Figure 2. Diagram of working process.
Applsci 15 10822 g002
Figure 3. Three-dimensional model of the cable-climbing mechanism.
Figure 3. Three-dimensional model of the cable-climbing mechanism.
Applsci 15 10822 g003
Figure 4. System block diagram of the stay cable de-icing robot.
Figure 4. System block diagram of the stay cable de-icing robot.
Applsci 15 10822 g004
Figure 5. Force analysis diagram of the cable-climbing mechanism.
Figure 5. Force analysis diagram of the cable-climbing mechanism.
Applsci 15 10822 g005
Figure 6. Testing facility: (a) step-in constant humidity laboratory; (b) the stay cable climbing mechanism; (c) stay cable sheath covered with thin ice; (d) distribution of standard weights on the platform.
Figure 6. Testing facility: (a) step-in constant humidity laboratory; (b) the stay cable climbing mechanism; (c) stay cable sheath covered with thin ice; (d) distribution of standard weights on the platform.
Applsci 15 10822 g006
Figure 7. Friction coefficient determination of the climbing mechanism under two surface conditions: (a) dry surface of the stay cable sheath; (b) Ice-covered surface of the stay cable sheath.
Figure 7. Friction coefficient determination of the climbing mechanism under two surface conditions: (a) dry surface of the stay cable sheath; (b) Ice-covered surface of the stay cable sheath.
Applsci 15 10822 g007
Figure 8. Climbing process of the climbing mechanism: (a) climbing process at 45°; (b) climbing process at 90°.
Figure 8. Climbing process of the climbing mechanism: (a) climbing process at 45°; (b) climbing process at 90°.
Applsci 15 10822 g008
Figure 9. Climbing speed of the climbing mechanism: (a) speed curve at 45°; (b) speed curve at 90°.
Figure 9. Climbing speed of the climbing mechanism: (a) speed curve at 45°; (b) speed curve at 90°.
Applsci 15 10822 g009
Figure 10. Flowchart of the simulation process.
Figure 10. Flowchart of the simulation process.
Applsci 15 10822 g010
Figure 11. Virtual prototype model of the cable-climbing mechanism.
Figure 11. Virtual prototype model of the cable-climbing mechanism.
Applsci 15 10822 g011
Figure 12. Simulation behavior of the climbing mechanism: (a) 45° inclined condition; (b) 90° inclined condition.
Figure 12. Simulation behavior of the climbing mechanism: (a) 45° inclined condition; (b) 90° inclined condition.
Applsci 15 10822 g012
Figure 13. Simulation results of speed tests under different loads: (a) simulated speed curve at 45°; (b) simulated speed curve at 90°.
Figure 13. Simulation results of speed tests under different loads: (a) simulated speed curve at 45°; (b) simulated speed curve at 90°.
Applsci 15 10822 g013
Figure 14. Comparison of laboratory test and simulation analysis results: (a) speed comparison at 45°; (b) speed comparison at 90°.
Figure 14. Comparison of laboratory test and simulation analysis results: (a) speed comparison at 45°; (b) speed comparison at 90°.
Applsci 15 10822 g014
Figure 15. Validation process for design rationality.
Figure 15. Validation process for design rationality.
Applsci 15 10822 g015
Figure 16. Influence of key parameters on the critical clamping force: (a) friction coefficient; (b) payload; (c) stay cable inclination angle.
Figure 16. Influence of key parameters on the critical clamping force: (a) friction coefficient; (b) payload; (c) stay cable inclination angle.
Applsci 15 10822 g016
Figure 17. Parametric analysis of output torque: (a) stay cable inclination angle; (b) load.
Figure 17. Parametric analysis of output torque: (a) stay cable inclination angle; (b) load.
Applsci 15 10822 g017
Figure 18. Deflection angle response to parameter variations: (a) friction coefficient; (b) load; (c) stay cable inclination angle.
Figure 18. Deflection angle response to parameter variations: (a) friction coefficient; (b) load; (c) stay cable inclination angle.
Applsci 15 10822 g018
Figure 19. Parameter sensitivity analysis on climbing speed: (a) friction coefficient; (b) load; (c) clamping force; (d) stay cable inclination angle.
Figure 19. Parameter sensitivity analysis on climbing speed: (a) friction coefficient; (b) load; (c) clamping force; (d) stay cable inclination angle.
Applsci 15 10822 g019aApplsci 15 10822 g019b
Table 1. Parameters of geared motor model XYT-5882-50ZY.
Table 1. Parameters of geared motor model XYT-5882-50ZY.
Reduction RatioCurrent
I (A)
Rated Load Torque (N·m)Speed
RPM (r/min)
Power
P (W)
484.54.90586108
Table 2. Parameters of damping spring model 2.5 × 30 × 35 mm.
Table 2. Parameters of damping spring model 2.5 × 30 × 35 mm.
Spring MaterialAverage Coil Diameter
(mm)
Wire Diameter
(mm)
Total Number of Coils (Turns)Spring Original Length
(mm)
Free Length
(mm)
Spring Constant
(k)
SUS304-WPB302.53352512.42
Table 3. Friction coefficients μ between the climbing mechanism and stay cable surfaces under dry and thin-ice-covered conditions.
Table 3. Friction coefficients μ between the climbing mechanism and stay cable surfaces under dry and thin-ice-covered conditions.
ConditionAverage Spring LengthUnilateral Clamping ForceFriction Coefficient
μ (-)
Dry
Thin-ice
31.95 mm151.5 N0.65
21.92 mm649.8 N0.15
Table 4. Climbing test conditions.
Table 4. Climbing test conditions.
Inclination Angle (°)Load (kg)
45010202530
9005101520
Table 5. Virtual prototype dynamic simulation parameters.
Table 5. Virtual prototype dynamic simulation parameters.
Mass of Virtual PrototypeMaterial of Virtual PrototypeMaterial of Stay CableNumber of Drive Wheels
30 kgAluminum alloyPolyvinyl chloride6
Drive wheel speedNumber of springsSpring stiffness coefficientDrive wheel diameter
516 d/s1212.4270 mm
Direction of gravityStatic friction coefficientDynamic friction coefficientContact stiffness
The z-axis is directed downward0.150.121000
Table 6. Gravitational acceleration settings of the climbing mechanism under different inclination conditions. Coordinate convention. (A right-handed frame {X, Y, Z} is used; the cable lies in the Y-Z, plane with the Z-axis collinear with the cable. The Y-axis is the plane normal to the cable.).
Table 6. Gravitational acceleration settings of the climbing mechanism under different inclination conditions. Coordinate convention. (A right-handed frame {X, Y, Z} is used; the cable lies in the Y-Z, plane with the Z-axis collinear with the cable. The Y-axis is the plane normal to the cable.).
45°90°
X00
Y−6934.130
Z6934.139806.65
Table 7. Error analysis between test and results of 45° climbing speed.
Table 7. Error analysis between test and results of 45° climbing speed.
Load (kg)010202527
RRMSE (%)3.963.374.554.774.98
Table 8. Error analysis between test and results of 90° climbing speed.
Table 8. Error analysis between test and results of 90° climbing speed.
Load (kg)05101519
RRMSE (%)2.242.663.833.873.79
Table 9. Parameter settings and ranges for the critical clamping force.
Table 9. Parameter settings and ranges for the critical clamping force.
GroupFriction CoefficientLoad (kg)Inclination Angle (°)
10.12–0.21290
20.120–1290
30.121230–90
Table 10. Parameter settings and ranges for the output torque.
Table 10. Parameter settings and ranges for the output torque.
GroupLoad (kg)Inclination Angle (°)
10–1290
21230–90
Table 11. Parameter settings and ranges for the deflection angle.
Table 11. Parameter settings and ranges for the deflection angle.
GroupFriction CoefficientLoad (kg)Inclination Angle (°)
10.12–0.21230
20.120–1230
30.121230–90
Table 12. Parameter settings and ranges for the motion speed.
Table 12. Parameter settings and ranges for the motion speed.
GroupFriction CoefficientLoad (kg)Clamping Force (N)Inclination Angle (°)
10.12–0.212105090
20.120–12105090
30.12121050–125090
40.1212105030–90
Disclaimer/Publisher’s Note: The statements, opinions and data contained in all publications are solely those of the individual author(s) and contributor(s) and not of MDPI and/or the editor(s). MDPI and/or the editor(s) disclaim responsibility for any injury to people or property resulting from any ideas, methods, instructions or products referred to in the content.

Share and Cite

MDPI and ACS Style

Pei, Y.; Li, Y.; Chen, Z.; Xiao, H.; Huang, S.; Li, C. Climbing Tests and Dynamic Simulation of a Cable-Climbing Mechanism for Stay Cable De-Icing Robot. Appl. Sci. 2025, 15, 10822. https://doi.org/10.3390/app151910822

AMA Style

Pei Y, Li Y, Chen Z, Xiao H, Huang S, Li C. Climbing Tests and Dynamic Simulation of a Cable-Climbing Mechanism for Stay Cable De-Icing Robot. Applied Sciences. 2025; 15(19):10822. https://doi.org/10.3390/app151910822

Chicago/Turabian Style

Pei, Yaoyao, Yayu Li, Zhi Chen, Henglin Xiao, Silu Huang, and Changjie Li. 2025. "Climbing Tests and Dynamic Simulation of a Cable-Climbing Mechanism for Stay Cable De-Icing Robot" Applied Sciences 15, no. 19: 10822. https://doi.org/10.3390/app151910822

APA Style

Pei, Y., Li, Y., Chen, Z., Xiao, H., Huang, S., & Li, C. (2025). Climbing Tests and Dynamic Simulation of a Cable-Climbing Mechanism for Stay Cable De-Icing Robot. Applied Sciences, 15(19), 10822. https://doi.org/10.3390/app151910822

Note that from the first issue of 2016, this journal uses article numbers instead of page numbers. See further details here.

Article Metrics

Back to TopTop