Design and Validation of a Fixture Device for Machining Surfaces with Barrel End-Mill on a 3-Axis CNC Milling Machine
Abstract
1. Introduction
- Designing a fixture to orient the workpiece in accordance with the programming angle of the cutter and the motion axes of the 3-axis CNC machine tool.
- Ensuring workpiece clamping during machining.
- Providing probing surfaces for defining the workpiece-fixture coordinate system, in which the machining program is written.
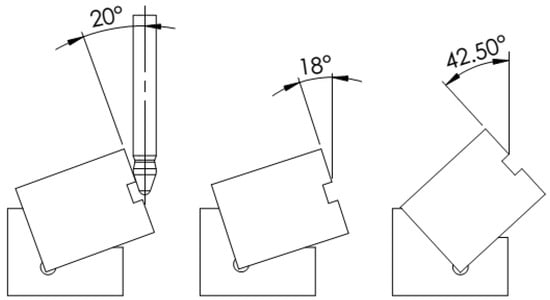
- The fixture must orient the workpiece in accordance with the programming angles of the tools used for testing (18°, 20°, and 42.5°).
2. Literature Review
2.1. Barrel End Milling Technology
2.2. Workpiece Fixturing Solutions for CNC Machining
2.3. Design of Adaptive Fixtures
3. Materials and Methods
3.1. Barrel Tool Selection
3.2. Workpiece Material
3.3. Device Design
3.4. Justification of Material Selection
3.5. Device Manufacturing Process
3.6. Actual Machining of the Support Jaw
3.7. Inspection
- Primary locating surface: The surface on which the semi-finished product is positioned, thus defining the machining angle of the specimen.
- Third locating surface: An auxiliary reference surface used in the measurement process.
- Cutting surface: The surface of the specimen resulting from face milling, whose roughness will be evaluated after machining with the barrel tool.
- Programming angle: The angle between the side and cutting surfaces, representing the programming angle of the cutter.
- Complementary angle to programming angle: The angle between the bottom and cutting surfaces, used for verifying angular deviations.
- The control was focused on the key surfaces of the support jaw, those that directly influence the precision of the specimen’s positioning and, consequently, the programming angle of the barrel tool.
- The measured parameters included
- Surface flatness: The maximum deviation of each surface from the theoretical flatness, important for ensuring correct seating of the specimen and machining accuracy.
- Angular accuracy: The conformity of the machined angles with the designed nominal values, essential for adhering to the programming angle of the cutter.
- To ensure a correct interpretation of the results, a precise definition of the reference surfaces used in the measurements was made:
- Bottom: The base surface of the jaw parallel to the machine tool table plane.
- Side: The lateral surface of the jaw, perpendicular to the fixed jaw of the vice and the machine tool table. This surface defines the direction of the transverse feed and will be used as a reference for establishing the origin on the Y-axis during specimen machining.
- Top: The upper surface of the jaw, parallel to the machine tool table. This surface will serve as a reference for establishing the origin on the Z-axis.
- Secondary locating surface/Stationary Jaw: The surface that defines the direction of the longitudinal feed and will be used for establishing the origin on the X-axis.
3.8. Device Inspection Results
- Bottom: 0.003 mm
- Side: 0.008 mm
- Top: 0.002 mm
- Secondary locating surface/Stationary Jaw: 0.005 mm
- Primary locating surface: 0.004 mm
- Third locating surface: 0.007 mm
- Cutting surface: 0.012 mm
- Programming angle: 42.505°
- Complementary angle to Programming angle: 47.489° (angular deviation: 0.006°)
- The device positioned the workpiece with small dimensional deviations, indicating good accuracy in achieving the designed geometry.
- The angular accuracy of the device was also high, with an angular non-closure of only 0.006°.
- The sources of deviations can be attributed to manufacturing errors, measurement errors, or material variations.
- The impact of the deviations on machining accuracy is considered minimal, given their small values.
3.9. Discussions
- Automating the changing of locating elements for different programming angles, which would increase the flexibility and efficiency of the device.
- Designing a universal device, adaptable to a wider range of programming angles without requiring component changes, which would reduce complexity and costs.
- Integrating sensors for monitoring cutting forces and optimizing machining parameters, which would allow for more precise control of the machining process and an improvement in surface quality.
- Extending the research to include machining tests with different materials and barrel tools, to evaluate the device’s performance under various conditions and identify optimal machining parameters.
- Performing advanced simulations, such as Finite Element Method (FEM) analysis, to thoroughly evaluate the fixture’s vibration and stiffness characteristics under various cutting conditions, thereby enabling further structural optimization.
4. Device Validation
5. Conclusions
- Evaluating the performance of the device with different materials and barrel tools.
- Integrating sensors for monitoring and optimizing cutting parameters.
- Automating the process of changing locating elements.
- Designing a universal device, adaptable to a wide range of programming angles.
- Conducting Finite Element Method (FEM) analysis to further optimize the fixture’s structural performance and dynamic behavior.
Author Contributions
Funding
Institutional Review Board Statement
Informed Consent Statement
Data Availability Statement
Acknowledgments
Conflicts of Interest
References
- Pelayo, G.U.; Olvera-Trejo, D.; Luo, M.; De Lacalle, L.L.; Elías-Zuñiga, A. Surface roughness prediction with new barrel-shape mills considering runout: Modelling and validation. Measurement 2021, 173, 108670. [Google Scholar] [CrossRef]
- Pop, A.B.; Ravai-Nagy, S.; Titu, A.M.; Medan, N.; Filip, A.C. Recent Contributions to the Development of Barrel End-Mill Machining Technologies for Titanium Alloys in the Aerospace Context. Aerospace 2025, 12, 55. [Google Scholar] [CrossRef]
- Zhou, Y.; Jiang, Y.; Lu, C.; Huang, J.; Pei, J.; Xing, T.; Zhao, S.; Zhu, K.; Yan, H.; Xu, Z.; et al. A review of 5-axis milling techniques for centrifugal impellers: Tool-path generation and deformation control. J. Manuf. Process. 2024, 131, 160–186. [Google Scholar] [CrossRef]
- Jiang, Y.; Guo, M.; Du, G.; Wei, Z. Cutting dynamics research on the five-axis machining of thin curved surface with barrel-taper-ball milling cutter. Int. J. Adv. Manuf. Technol. 2024, 131, 3905–3919. [Google Scholar] [CrossRef]
- Khorasani, M.; Ghasemi, A.H.; Farabi, E.; Leary, M.; Gibson, I.; Rolfe, B. A comprehensive investigation of abrasive barrel finishing on hardness and manufacturability of laser-based powder bed fusion hollow components. Int. J. Adv. Manuf. Technol. 2022, 120, 3471–3490. [Google Scholar] [CrossRef]
- Shi, H.; Li, X.; Yang, S.; Zhao, R.; Yuan, X. Analysis of Chemical Oxygen Demand in Barrel Finishing Based on Reusing Water Resource of Grinding Fluid. Materials 2024, 17, 4051. [Google Scholar] [CrossRef]
- Żurawski, K.; Żurek, P.; Kawalec, A.; Bazan, A.; Olko, A. Modeling of Surface Topography after Milling with a Lens-Shaped End-Mill, Considering Runout. Materials 2022, 15, 1188. [Google Scholar] [CrossRef]
- Suzuki, T.; Okamoto, K.; Morishige, K. Tool path generation for five-axis controlled machining of free-form surfaces using a barrel tool considering continuity of tool postures. Int. J. Autom. Technol. 2021, 15, 885–892. [Google Scholar] [CrossRef]
- Uchida, S.; Oyaizu, N.; Nakagawa, M.; Hirogaki, T.; Aoyama, E. Investigation of Machining Condition for Barrel End Mill Based on Data-Mining Method for Tool Catalog Database. Key Eng. Mater. 2025, 1008, 49–55. [Google Scholar] [CrossRef]
- Artetxe, E.; Urbikain, G.; Lamikiz, A.; López-de-Lacalle, L.N.; González, R.; Rodal, P. A mechanistic cutting force model for new barrel end mills. Procedia Eng. 2015, 132, 553–560. [Google Scholar] [CrossRef]
- Urbikain, G.; Artetxe, E.; de Lacalle, L.N.L. Numerical simulation of milling forces with barrel-shaped tools considering runout and tool inclination angles. Appl. Math. Model. 2017, 47, 619–636. [Google Scholar] [CrossRef]
- López de Lacalle, L.N.; Lamikiz, A.; Muñoa, J.; Salgado, M.A.; Sánchez, J.A. Improving the high-speed finishing of forming tools for advanced high-strength steels (AHSS). Int. J. Adv. Manuf. Technol. 2006, 29, 49–63. [Google Scholar] [CrossRef]
- Bo, P.; Fan, H.; Bartoň, M. Efficient 5-axis CNC trochoidal flank milling of 3D cavities using custom-shaped cutting tools. Comput.-Aided Des. 2022, 151, 103334. [Google Scholar] [CrossRef]
- Tsai, C.Y. Optimum error design and 5-axis CNC machining of preloaded roller-gear-cam in roller-drive system. Measurement 2025, 241, 115715. [Google Scholar] [CrossRef]
- Lu, F.; Zhou, G.; Zhang, C.; Liu, Y.; Chang, F.; Lu, Q.; Xiao, Z. Energy-efficient tool path generation and expansion optimisation for five-axis flank milling with meta-reinforcement learning. J. Intell. Manuf. 2024. [Google Scholar] [CrossRef]
- Marin, F.; de Souza, A.F.; da Silva Gaspar, H.; Calleja-Ochoa, A.; de Lacalle, L.N.L. Topography simulation of free-form surface ball-end milling through partial discretization of linearised toolpaths. Eng. Sci. Technol. Int. J. 2024, 55, 101757. [Google Scholar] [CrossRef]
- Liang, F.; Kang, C.; Fang, F. A review on tool orientation planning in multi-axis machining. Int. J. Prod. Res. 2021, 59, 5690–5720. [Google Scholar] [CrossRef]
- O’Toole, L.; Kang, C.W.; Fang, F.Z. Precision micro-milling process: State of the art. Adv. Manuf. 2021, 9, 173–205. [Google Scholar] [CrossRef]
- Jarosz, K.; Chen, Y.T.; Liu, R. Investigating the differences in human behavior between conventional machining and CNC machining for future workforce development: A case study. J. Manuf. Process. 2023, 96, 176–192. [Google Scholar] [CrossRef]
- Li, R.; Xin, M.; Wu, J.; Kong, B. Influence of material selection on fixture accuracy of CNC machine tools. J. Phys. Conf. Ser. 2021, 1986, 012029. [Google Scholar] [CrossRef]
- Kaliński, K.J.; Stawicka-Morawska, N.; Galewski, M.A.; Mazur, M.R. A method of predicting the best conditions for large-size workpiece clamping to reduce vibration in the face milling process. Sci. Rep. 2021, 11, 20773. [Google Scholar] [CrossRef]
- Liu, W.; Zhang, S.; Lin, J.; Xia, Y.; Wang, J.; Sun, Y. Advancements in accuracy decline mechanisms and accuracy retention approaches of CNC machine tools: A review. Int. J. Adv. Manuf. Technol. 2022, 121, 7087–7115. [Google Scholar] [CrossRef]
- Ab Wahab, N.; Adlin, N.; Nassiruddin, M.A.A.; Yaakob, M.Y.; Bakar, M.H.A.; Sani, M.A.M.; Rahman, I.U. Impact of Vacuum Clamping System Designs on Surface Quality During the End Milling Process. Malays. J. Microsc. 2024, 20, 121–132. [Google Scholar]
- Ullah, A.; Chan, T.C.; Xie, Z.Y. Improving CNC Turning Machine Precision through Vibration Analysis for Clamping Error Detection Employing Principal Component Analysis. Res. Sq. 2024. [Google Scholar] [CrossRef]
- Du, X.; Liu, S.; Jin, S. Distribution analysis of deterministic clamping and positioning error for machining of ring-shaped workpieces considering alignment uncertainty. Int. J. Adv. Manuf. Technol. 2024, 131, 3921–3936. [Google Scholar] [CrossRef]
- Zhang, Z.; Yang, Y.; Li, G.; Qi, Y.; Yue, C.; Hu, Y.; Li, Y. Machining accuracy reliability evaluation of CNC machine tools based on the milling stability optimization. Int. J. Adv. Manuf. Technol. 2023, 124, 4057–4074. [Google Scholar] [CrossRef]
- Nguyen, D.K.; Huang, H.C.; Feng, T.C. Prediction of Thermal Deformation and Real-Time Error Compensation of a CNC Milling Machine in Cutting Processes. Machines 2023, 11, 248. [Google Scholar] [CrossRef]
- Ivanov, V.; Botko, F.; Dehtiarov, I.; Kočiško, M.; Evtuhov, A.; Pavlenko, I.; Trojanowska, J. Development of flexible fixtures with incomplete locating: Connecting rods machining case study. Machines 2022, 10, 493. [Google Scholar] [CrossRef]
- Kovalev, A.A.; Pobedinskii, A.V.; Rogov, N.V. Strategies for Optimal Technological Base Selection in CNC Machining Process Design for Machine Casing Components. J. Mach. Manuf. Reliab. 2024, 53 (Suppl. 1), S66–S79. [Google Scholar] [CrossRef]
- Ismartaya, K.; Wijaya, T.G.; Purnomo, R.; Karyadi, G.B. Design and Manufacture of Automatic Collet Clamping Systems for Sprocket-CAM Handling on CNC Lathes. SINTEK J. J. Ilm. Tek. Mesin 2024, 18, 99–112. [Google Scholar] [CrossRef]
- Weckx, S.; Robyns, S.; Baake, J.; Kikken, E.; De Geest, R.; Birem, M.; Maes, D. A cloud-based digital twin for monitoring of an adaptive clamping mechanism used for high performance composite machining. Procedia Comput. Sci. 2022, 200, 227–236. [Google Scholar] [CrossRef]
- Aphale, S.; Nandurdikar, V.; Desale, S. Design and deployment of fixture on assembly line to improve productivity. J. Phys. Conf. Ser. 2021, 1803, 012025. [Google Scholar] [CrossRef]
- Campi, F.; Favi, C.; Germani, M.; Mandolini, M. CAD-integrated design for manufacturing and assembly in mechanical design. Int. J. Comput. Integr. Manuf. 2022, 35, 282–325. [Google Scholar] [CrossRef]
- Artetxe, E.; Olvera, D.; de Lacalle, L.N.L.; Campa, F.J.; Olvera, D.; Lamikiz, A. Solid subtraction model for the surface topography prediction in flank milling of thin-walled integral blade rotors (IBRs). Int. J. Adv. Manuf. Technol. 2017, 90, 741–752. [Google Scholar] [CrossRef]
- ISO 5832-3:2016; Implants for Surgery—Metallic Materials—Part 3: Wrought Titanium 6-aluminium 4-vanadium Alloy. International Organization for Standardization: Geneva, Switzerland, 2016.





























| Company | Programming Angle | Code | Tool Type | |||
|---|---|---|---|---|---|---|
| (Radius) | (Tooth No.) | (Coating) | ||||
| EMUG | 20 42.5 | 3540L/3541L | .12250A .12200A | 250 200 | 3 3 | ALCR |
| --- | 3538L | .12080A | 80 | 4 | ||
| SECO | 20 | JH744120T2R3R250.0Z4 SIRA | 250 | 4 | SIRON-A | |
| -- | JH734120X2R2R80.0Z4 SIRA | 80 | 4 | |||
| ISCAR | 20 | ETB-R3R250A12/20-4C12-83 | 250 | 4 | IC902 (PVD) | |
| 15.98–18.38 | EOB-R3R80A24/8-4C12-83 EOB-R2R80A27/9-4C12-83 | 80 | 4 | |||
| InovaTools | --- | 633 | 040.00 040.09 | 90 | 4 | VAROCON -- |
| 18 | 634 | 040.00 040.90 | 450 | 4 | VAROCON -- | |
| Chemical Composition (AIMS 03-05-012 REV 1) | Specific Value | Measured Values |
|---|---|---|
| Si | Max 0.15 | 0.12 |
| Fe | Max 0.2 | 0.08 |
| Cu | 1.2–2.0 | 1.7 |
| Mn | Max 0.1 | 0.01 |
| Mg | 2.1–2.9 | 2.2 |
| Cr | 0.18–0.28 | 0.2 |
| Zn | 5.1–6.1 | 5.8 |
| Ti + Zr | Max 0.15 | 0.04 |
| Each | Max 0.05 | |
| Total | Max 0.15 | |
| Mechanical characteristics (AIMS 03-05-012 REV. 1) | Specific Value | Measured values |
| Tear resistance (MPa) | Min 540 | 597 |
| 0.2% Yield strength (MPa) | Min 480 | 545 |
| Elongation (%) | Min 6 | 10 |
| Hardness HB | Y.P. | 165 |
| Electrical conductivity (MS/m) | 21.6 | |
| Elastic Modulus (MPa) | 71,160 | |
| Extruded thickness (mm) | 3 |
| Feature | Nominal Value | Measured Value | Deviation | Upper Tolerance | Lower Tolerance | Out of Tolerance |
|---|---|---|---|---|---|---|
| Bottom—X | 278.536 | 278.536 | 0 | 0.05 | −0.05 | 0 |
| Bottom—Y | 103.899 | 103.899 | 0 | 0.05 | −0.05 | 0 |
| Bottom—Z | 96.564 | 96.564 | 0 | 0.05 | −0.05 | 0 |
| 0 | 0.003 | 0.003 | 0.05 | 0 | ||
| Side—X | 275.639 | 275.639 | 0 | 0.05 | −0.05 | 0 |
| Side—Y | 47.676 | 47.676 | 0 | 0.05 | −0.05 | 0 |
| Side—Z | 120.262 | 120.262 | 0 | 0.05 | −0.05 | 0 |
| 0 | 0.008 | 0.008 | 0.05 | 0 | ||
| Top—X | 275.961 | 275.961 | 0 | 0.05 | −0.05 | 0 |
| Top—Y | 71.734 | 71.734 | 0 | 0.05 | −0.05 | 0 |
| Top—Z | 151.197 | 151.197 | 0 | 0.05 | −0.05 | 0 |
| 0 | 0.002 | 0.002 | 0.05 | 0 | ||
| Stationary Jaw—X | 255.975 | 255.975 | 0 | 0.05 | −0.05 | 0 |
| Stationary Jaw—Y | 114.411 | 114.411 | 0 | 0.05 | −0.05 | 0 |
| Stationary Jaw—Z | 116.026 | 116.026 | 0 | 0.05 | −0.05 | 0 |
| 0 | 0.005 | 0.005 | 0.05 | 0 | ||
| Primary Locating Surface—X | 279.3 | 279.3 | 0 | 0.05 | −0.05 | 0 |
| Primary Locating Surface—Y | 149.443 | 149.443 | 0 | 0.05 | −0.05 | 0 |
| Primary Locating Surface—Z | 125.871 | 125.871 | 0 | 0.05 | −0.05 | 0 |
| 0 | 0.004 | 0.004 | 0.05 | 0 | ||
| Third Locating Surface—X | 278.323 | 278.323 | 0 | 0.05 | −0.05 | 0 |
| Third Locating Surface—Y | 105.188 | 105.188 | 0 | 0.05 | −0.05 | 0 |
| Third Locating Surface—Z | 132.204 | 132.204 | 0 | 0.05 | −0.05 | 0 |
| 0 | 0.007 | 0.007 | 0.05 | 0 | ||
| Cutting Surface—X | 279.352 | 279.352 | 0 | 0.05 | −0.05 | 0 |
| Cutting Surface—Y | 156.438 | 156.438 | 0 | 0.05 | −0.05 | 0 |
| Cutting Surface—Z | 165.815 | 165.815 | 0 | 0.05 | −0.05 | 0 |
| 0 | 0.012 | 0.012 | 0.05 | 0 | ||
| ANGL1 | 42.504 | 42.504 | 0 | 0.1 | −0.1 | 0 |
| ANGL2 | 89.991 | 89.991 | 0 | 0.1 | −0.1 | 0 |
| ANGL3 | 89.954 | 89.954 | 0 | 0.1 | −0.1 | 0 |
| ANGL4 | 90.138 | 90.138 | 0 | 0.1 | −0.1 | 0 |
| ANGL5 | 0.014 | 0.014 | 0 | 0.1 | −0.1 | 0 |
| ANGL6 | 47.479 | 47.479 | 0 | 0.1 | −0.1 | 0 |
| ANGL7 | 132.495 | 132.495 | 0 | 0.1 | −0.1 | 0 |
| ANGL7 | 47.505 | 47.505 | 0 | 0.1 | −0.1 | |
| ANGL8 | 47.489 | 47.489 | 0 | 0.1 | −0.1 | 0 |
| ANGL9 | 42.513 | 42.513 | 0 | 0.1 | −0.1 | 0 |
| ANGL10 | 42.493 | 42.493 | 0 | 0.1 | −0.1 | 0 |
Disclaimer/Publisher’s Note: The statements, opinions and data contained in all publications are solely those of the individual author(s) and contributor(s) and not of MDPI and/or the editor(s). MDPI and/or the editor(s) disclaim responsibility for any injury to people or property resulting from any ideas, methods, instructions or products referred to in the content. |
© 2025 by the authors. Licensee MDPI, Basel, Switzerland. This article is an open access article distributed under the terms and conditions of the Creative Commons Attribution (CC BY) license (https://creativecommons.org/licenses/by/4.0/).
Share and Cite
Ravai-Nagy, S.; Pop, A.B.; Titu, A.M. Design and Validation of a Fixture Device for Machining Surfaces with Barrel End-Mill on a 3-Axis CNC Milling Machine. Appl. Sci. 2025, 15, 7379. https://doi.org/10.3390/app15137379
Ravai-Nagy S, Pop AB, Titu AM. Design and Validation of a Fixture Device for Machining Surfaces with Barrel End-Mill on a 3-Axis CNC Milling Machine. Applied Sciences. 2025; 15(13):7379. https://doi.org/10.3390/app15137379
Chicago/Turabian StyleRavai-Nagy, Sandor, Alina Bianca Pop, and Aurel Mihail Titu. 2025. "Design and Validation of a Fixture Device for Machining Surfaces with Barrel End-Mill on a 3-Axis CNC Milling Machine" Applied Sciences 15, no. 13: 7379. https://doi.org/10.3390/app15137379
APA StyleRavai-Nagy, S., Pop, A. B., & Titu, A. M. (2025). Design and Validation of a Fixture Device for Machining Surfaces with Barrel End-Mill on a 3-Axis CNC Milling Machine. Applied Sciences, 15(13), 7379. https://doi.org/10.3390/app15137379

