Next Article in Journal
Investigating the Adsorption Behavior of Zwitterionic Surfactants on Middle Bakken Minerals
Next Article in Special Issue
Entropy-Guided Distributional Reinforcement Learning with Controlling Uncertainty in Robotic Tasks
Previous Article in Journal
Multi-Fidelity Machine Learning for Identifying Thermal Insulation Integrity of Liquefied Natural Gas Storage Tanks
Previous Article in Special Issue
Adaptive Control for Hydronic Radiant Heating System Using Occupant Behaviors in Residential Building
 
 
Font Type:
Arial Georgia Verdana
Font Size:
Aa Aa Aa
Line Spacing:
Column Width:
Background:
Article

A Low-Cost IoT System Based on the ESP32 Microcontroller for Efficient Monitoring of a Pilot Anaerobic Biogas Reactor

by
Sotirios D. Kalamaras
*,
Maria-Athina Tsitsimpikou
,
Christos A. Tzenos
,
Antonios A. Lithourgidis
,
Dimitra S. Pitsikoglou
and
Thomas A. Kotsopoulos
*
Department of Hydraulics, Soil Science and Agricultural Engineering, School of Agriculture, Aristotle University of Thessaloniki, GR 54124 Thessaloniki, Greece
*
Authors to whom correspondence should be addressed.
Appl. Sci. 2025, 15(1), 34; https://doi.org/10.3390/app15010034
Submission received: 10 November 2024 / Revised: 20 December 2024 / Accepted: 23 December 2024 / Published: 24 December 2024
(This article belongs to the Special Issue Intelligent Control and Optimization in Energy System)

Abstract

A pilot anaerobic bioreactor requires near-daily monitoring and frequent maintenance. This study aimed to upgrade a pilot bioreactor into a low-cost IoT device via ESP32 microcontrollers. The methodology was based on remote data acquisition and online monitoring of various parameters towards assessing the anaerobic digestion performance. A semi-continuous tank bioreactor with a 60 L total volume was initially inoculated mainly with livestock manure and fed daily with a mixture of glucose, gelatin, and oleic acid, supplemented with a basic anaerobic medium. Under steady-state conditions, the organic loading rate was 2 g VS LR−1 d−1. Sensors for pH, temperature, REDOX potential, and ammonium concentration, along with devices measuring biogas volume and methane content, were integrated and validated against analytical methods. Biogas production was recorded accurately, enabling the early detection of production declines through ex-situ data analysis. Methane concentration variance was less than 6% compared to gas chromatography, while temperature and pH deviations were 0.15% and 1.67%, respectively. Ammonia ion measurements required frequent recalibration due to larger fluctuations. This IoT-enhanced system effectively demonstrated real-time monitoring of critical bioreactor parameters, with ESP32 enabling advanced control and monitoring capabilities.

1. Introduction

Anaerobic digestion (AD) is a key biological process for energy and agricultural sustainability. In AD, microorganisms break down organic matter, such as animal manure, food waste, and agricultural residues, in the absence of oxygen [1]. Biogas is produced from the AD process, a mixture primarily composed of methane (CH4) and carbon dioxide (CO2), which can be captured and used as a renewable energy source mainly for electricity generation, heating, and even as a vehicle fuel [2]. Additionally, AD effluent can be used as a natural fertilizer to enhance soil fertility and crop yields [3]. AD is a key process that produces biogas as a renewable energy source, reduces emissions, recycles nutrients, and promotes agricultural sustainability, all of which offer important environmental advantages.
AD is a complex biochemical process that relies on the activity of diverse microbial communities to break down organic matter through a series of biochemical reactions, including hydrolysis, acidogenesis, acetogenesis, and methanogenesis [4]. AD instability can arise due to various factors such as feedstock composition fluctuations, overloading, inhibitory substances such as ammonia, and others [5]. Therefore, process indicators and their monitoring are essential to detect and tackle forthcoming inhibition incidents towards maximization efficiency.
An ideal indicator should be easy to measure, provide clear insights into the process’ current state, and reliably predict potential instability, enabling prompt corrective actions [6]. Key monitor indicators of AD are pH, biogas production and composition, volatile fatty acids (VFAs), temperature, and alkalinity [7]. These indicators can be measured by reliable analytical equipment, such gas chromatography, mid-infrared spectroscopy, high performance liquid chromatography, and bench-scale pH meter, among others. However, these methods are often complex, time-consuming, require manual operation, entail high maintenance costs, and are typically offline measurements [8]. In contrast, online sensors offer significant advantages by providing continuous, real-time data, reducing the need for manual sampling and analysis. This not only enhances the efficiency and accuracy of monitoring but also facilitates immediate data storage and retrieval for trend analysis and process optimization. Moreover, online systems can be equipped with alarms to alert operators when sensor measurements deviate from the preferred range, allowing rapid corrective actions to maintain the stability and performance of the AD process [9].
Despite extensive research on AD indicators, there is no consensus on their applicability, as selected indicators may not be suitable for different reactor types or substrates. Additionally, some indicators are complex to measure, and a limited understanding of their interrelationships can lead to ineffective monitoring and process inefficiencies [10]. However, a comprehensive understanding of the anaerobic bioreactor’s state can be achieved by monitoring the AD process through multiple indicators, including the use of online sensors that measure various parameters in real time [11]. Therefore, it is important to develop a system that is relatively easy to integrate with various sensors, cost-effective to implement, and low maintenance to ensure reliable and efficient monitoring of the AD process.
Internet of Things (IoT)-based wireless monitoring holds great potential for wastewater treatment, enabling more effective real-time monitoring and control of processes, leading to improved efficiency [12]. The general idea of IoT technology is based on the connection between objects or “things” that interact with sensors, software, services and other technologies, enabling the collection and exploitation of data [13,14]. Through IoT technology, these devices communicate with each other in real time via the internet and other communication protocols [15]. Most research to date has leveraged IoT technology with Programmable Logic Controllers (PLC), an industry-approved solution for reliable data generation widely adopted across various sectors. Logan et al. used a PLC to perform remote monitoring of pH, temperature, and Oxidation–Reduction Potential (ORP) of a pilot reactor with a working volume of 657 L that anaerobically processed food waste to produce biogas [16]. It was concluded that the IoT system contributed significantly to the process performance improvement resulting in optimized operation and maintenance. Riera et al. developed a biogas-pH automation monitoring and control system based on a PLC to optimize the organic loading rate (OLR) of an anaerobic membrane bioreactor treating high Chemical Oxygen Demand (COD) starch wastewater. However, PLC systems require specialized personnel for programming, while the implementation of complex changes often demands reprogramming [17]. Additionally, securing these systems involves obtaining specific financial resources and arranging repairs through external technicians, who are usually not part of the university or research center staff, leading to significant delays in research.
The ESP32 microcontroller developed by Espressif Systems (Shanghai, China) offers an affordable and versatile solution for IoT applications, featuring built-in Wi-Fi and Bluetooth capabilities that enable real-time data transmission and remote monitoring [18]. It can be easily programmed by leveraging the Arduino© Integrated Development Environment software and can utilize various peripherals such as sensors and actuators for online monitoring and controlling process systems [19]. Andrade Cruz et al. used an ESP32 to monitor the temperature, pH, pressure, and biogas volume of a 7.5 L anaerobic bioreactor treating cassava wastewater [20]. They concluded that it helped automatically save data, reducing both the effort and time required for data acquisition. Nowadays, open-source Artificial Intelligence platforms are valuable tools for coding and learning the appropriate programming languages for microcontrollers like the ESP32 [21]. Additionally, the ESP32, when equipped with suitable sensors, can efficiently generate datasets that can be stored online. The quantity and quality of this data are the backbone of neural network training [22], which is crucial for developing future AI applications aimed at improving anaerobic bioreactor efficiency. Modern microcontrollers like the ESP32 provide low acquisition cost, high quality, and reliability, as well as the ability to connect via communication protocols, like Wi-Fi and Bluetooth, for data transmission and logging. Nevertheless, their adoption among researchers remains limited, which might be due to the time investment required to learn how to program new devices. However, with the ongoing development of the IoT, programming and controlling these devices offer unprecedented monitoring and control capabilities that were previously challenging to implement due to high costs.
In this direction, a low-cost and relatively accessible solution was developed for data-driven research and AD process monitoring by integrating IoT-compatible microcontroller technology. This study aimed to achieve a low-cost transformation of a 60 L pilot anaerobic bioreactor into an IoT-enabled device. Pilot reactors are typically installed in locations where access to analytical instruments is limited. The purpose of this study was to evaluate the capabilities and reliability of an IoT-based monitoring system for the AD process using online sensor instruments. Key parameters, including temperature, pH, reduction-oxidation (REDOX) potential, ammonium concentration, biogas production, and CH4 content in biogas, were measured and logged into a database. Analytical methods were used to validate the data collected by the IoT system’s sensors and devices. The study also explored the efficiency, capabilities, advantages, and potential future upgrades of an IoT-based bioreactor.

2. Materials and Methods

2.1. Inoculum

The inoculum used in this study was obtained from a full-scale biogas reactor that operated under mesophilic conditions (37 ± 1 °C). The biogas plant was in Central Macedonia, Greece, treating mainly animal manures and various agri-food wastes. The inoculum was sieved through a 1 mm mesh to remove large solid particles, ensuring the smooth operation of peristaltic pumps and electrodes. The inoculum remained in a temperature-controlled environment (37.00 ± 0.50 °C) without any nutrient supply for 5 days to avoid any residual CH4 production. In the last 2 days preceding the start-up of the pilot reactor, methane production by the inoculum was negligible. The inoculum characteristics are presented in Table 1.

2.2. Substrate

The substrates used were d-glucose (C6H12O6·H2O, Duchefa Biochemie, Haarlem, The Netherlands, purity > 99.50%), gelatine (gelatine for microbiology, Millipore, Darmstadt, Germany), and oleic acid (C18H34O2, Thermo Scientific, Waltham, MA, USA, purity 90%), which were used as carbohydrate, protein, and lipid sources, respectively. In addition, a basic anaerobic medium (BA medium), as described by Angelidaki and Sanders [23], was used to supply sufficient quantities of micro and macronutrients for proper microbial growth.

2.3. Bioreactor Characteristics, Operation, and Substrate Supply

The study utilized a pilot-scale semi-continuously stirred tank reactor (s-CSTR) with a total and working volume of 60 L and 43 L, respectively (Figure 1). Stirring was intermittent, operating for 1.15 min every 4.15 min. This was achieved using a 24 V DC motor (56B14, Transtechno, Bologna, Italy) with an RPM reducer, set to maintain a stirring speed of 750 RPM. The reactor’s effluent overflowed into a 10 L collection bottle via a silicone tube, positioned at a height that ensured the working volume was maintained. The effluent was released by a manual valve positioned at the bottom of the effluent bottle (Supplementary Materials (SM), Figure S1). An inlet was created at the top of the bottle to prevent air ingress during the process of emptying the effluent bottle. This inlet was connected to a bag filled with nitrogen N2 gas (N2 > 99%), which remained closed and opened only when emptying the effluent bottle.
A stainless-steel, helix-shaped heat exchanger (6 m length, 12 mm internal diameter) was placed inside the reactor to maintain the substrate temperature at 37 ± 0.5 °C. This was controlled by circulating hot water heated by an element located in a separate stainless-steel tank. The heating element was managed by a digital thermostat (TZ4ST, Autonics, Busan, Republic of Korea) to maintain a constant temperature.
Substrate feeding was automated using four peristaltic pumps, each delivering glucose, gelatin, oleic acid, and BA medium. The pumps were activated twice daily via timer switches to supply the bioreactor with fresh substrates. The target Organic Loading Rate (OLR) was approximately 2 g VS per LR−1 (L of bioreactor) d−1, with a Hydraulic Retention Time (HRT) of 25 days. Daily substrate input OLRs are provided in Table 2.
To investigate the CH4 potential of the used substrate mixture, four BioMethane Potential (BMP) tests were performed in triplicate under mesophilic conditions (37 ± 1 °C). Detailed information about the batch reactors used in the BMP experiment and the followed procedure can be found in the study of Kalamaras et al. [24].

2.4. Conversion of a Bioreactor into an IoT-Enabled System

To facilitate the transformation of the pilot bioreactor mentioned above into an IoT-enabled system (IoT Bioreactor), the chosen key component was the ESP32 microcontroller. This device formed the core of the implemented automation systems, allowing for comprehensive monitoring and data logging capabilities. Specifically, the ESP32-WROOM-32E Firebeetle board, developed by Espressif Systems (Shanghai, China), was used as it provided an ideal platform due to its reliability, low cost, and ease of integration with other components, like sensors and valves.
Two distinct monitoring systems were developed. The first focused on monitoring biogas volume production and CH4 content, while the second system was responsible for monitoring parameters such as pH, ammonium (NH4+), temperature, and REDOX potential (Figure S1). The ESP32s were programmed using the Arduino© IDE software along with appropriate libraries for each component (boards and sensors), which are open source and available for free.
The systems’ date and time were synchronized via the internet, enabling the user to easily verify proper operation and continuous connectivity. Additionally, each monitoring system was scheduled to restart automatically at midnight to ensure continued and stable operation.

2.4.1. Gas Monitoring System

The liquid displacement method was used to measure biogas volume production and its CH4 content (Figure 1). Each setup (for biogas and CH4 content) consisted of two cylinders of different diameters; the smaller (inner) cylinder, which was also taller, was placed inside the larger (outer) cylinder. Holes were made near the base of the inner cylinder to allow the displacement of liquid into the outer cylinder. A non-contact capacitive sensor was installed at a specific height on the outer cylinder and connected to an ESP32 microcontroller. The gas produced passed through a triode valve into the inner cylinder, causing the liquid to displace into the outer cylinder. Once the liquid reached the sensor, the valve was activated via a relay by the ESP32 stopping further gas entry and releasing the measured gas. Measured gas volume calibration was performed using air, which was inserted with a syringe of similar capacity to the volume being measured.
There were two main differences between the biogas volume and the CH4 content measuring devices. The biogas volume device was filled with a solution of tap water and the addition of ortho-H3PO4 (87% purity) to adjust the pH to approximately 3, preventing CO2 absorption. For CH4 content measurement, the device was filled with tap water, and a CO2 scrubber filled with NaOH was used to remove CO2 from the biogas, enabling accurate CH4 measurements.
The CO2 scrubber device consisted of two 250 mL volumetric cylinders filled with packing materials. Rubber stoppers were used to close the cylinders’ top to prevent biogas leakage, and they were filled with a sodium hydroxide (NaOH) solution of a 2 M concentration. The two packed cylinders were connected in a series by tubes and the CH4 gas flowing from them was measured by the liquid displacement device described above. Biogas taken directly by the bioreactor was introduced to the first packed cylinder by a small peristaltic pump activated by a relay through the ESP32. The peristaltic pump was activated for a specific period (3 min), introducing the same volume (180 mL) of biogas each time. Two DC-powered mini valves, controlled by the ESP32, were installed: one between the final CO2 scrubber and the CH4 volumetric device, and another between the biogas injection pump and the first CO2 scrubber. These valves were activated 5 min after each measurement to release any residual trapped biogas, preparing the system for the next measurement.
Methane content of biogas was measured twice a day at specific times, calculated using Equation (1):
M b = 100 Y V m V p
where the symbols of the equation correspond to the following:
  • Mb = Daily methane content of biogas (%);
  • Y = number of sensor activations in 24 h;
  • Vm = standard methane volume measured each time the sensor was activated (mL);
  • Vp = standard volume of biogas introduced during the specific period when the peristaltic pump was activated (mL).
Daily biogas volume was calculated using Equation (2):
D b = X V b V f 2 V p
where the symbols of the equation correspond to the following:
  • Db = Daily biogas production (mL);
  • X = Number of sensor activations in 24 h;
  • Vb = Standard biogas volume measured each time the sensor was activated (mL);
  • Vf = Standard volume corresponding to the daily addition of substrate into the bioreactor (mL).
One ESP32 microcontroller was used to connect and control the relevant sensors, valves, and pump for the gas measurement device. Additionally, the ESP32 was equipped with a small 1.3″ display showing how many times each sensor (biogas and CH4) was activated in 24 h. All the above components were assembled into a circuit centered around the ESP32 (Figure S5) and a software flowchart is provided as Supplementary Materials (Figure S7). The microcontroller was connected to the internet via Wi-Fi, and each time a sensor was activated, the data were posted to a structured query language (SQL) database with a timestamp for storage.

2.4.2. Sensor Monitoring System of pH, REDOX, Temperature, and Ammonium

The system was developed using an ESP32 microcontroller, connected to various sensors for the online measurement of pH, REDOX potential, temperature, and ammonium of the anaerobic bioreactor (Figure S1). It featured a 2″ display to show current measurements. Specifically, pH, REDOX potential, temperature, and ammonium were measured in real time, with data updates displayed every 15 s (Figure S1). All the components mentioned below were integrated into a circuit (Figure S6) with the ESP32 as its core and a software flowchart is provided as Supplementary Materials (Figure S8).
The pH value was monitored using the GE 117-BNC electrode combined with GPHU 014 MP-BNC transducer to convert the signal to a 4–20 mA output (Greisinger GmbH, Regenstauf, Germany). The REDOX potential was monitored using the GE 175-BNC electrode while the GRMU 2000 MP-BNC transducer also provided a 4–20 mA signal, both manufactured by Greisinger GmbH (Regenstauf, Germany). Both electrodes were suitable for measuring pH and REDOX of a biogas bioreactor and were installed through specific ports on the bioreactor to ensure constant contact with the liquid substrate.
Two Gravity: I2C Digital Wattmeter converters (Zhiwei Robotics Corp, Shanghai, China) were used to read the output signals from the GPHU 014 MP-BNC and GRMU 2000 MP-BNC transducers. These converters can receive current signals in mA and convert them into digital signals via the Inter-Integrated Circuit (I2C) communication protocol, allowing the ESP32 to process and store data over an internet connection.
The pH and REDOX devices were factory calibrated. Measurements were taken with different standard solutions to create equations that allowed ESP32 to accurately calculate sensor values (Figure S2).
The temperature was measured by DS18B220 sensor (Texas Instruments, Dallas, TX, USA) with waterproof protection for immersion in liquids. This sensor was connected directly to the ESP32 using a Dallas 1-Wire digital output and was housed in a stainless-steel thermowell that was immersed in the liquid within the bioreactor. The sensor has a temperature range of −55 °C to +125 °C, a resolution of 9–12 bits, and an accuracy of ±0.5 °C.
Ammonium was monitored using the Ammonium 3051 Combination Ion Selective Electrode (ISE) (Sentek, Braintree, UK). It was connected via a pH/OPR Adapter 1130 manufactured by Phidgets Inc. (Calgary, AB, Canada) which provided analog voltage output. This adapter was connected to ADS1115 16-Bit ADC over I2C which is a four-channel programmable gain amplifier (Adafruit Industries, New York, NY, USA) and can be interfaced by an ESP32. The equation (Figure S3) for calculating the ammonium concentration was created with solutions made in the laboratory by using distilled water and the addition of ammonium chloride (NH4Cl) in varying concentrations that corresponded to specific voltage outputs, except of the ammonium solutions 100 ppm and 1000 ppm (Chem-Lab, Zedelgem, Belgium).
The ammonium electrode could not be installed directly in the reactor for continuous measurements, as the membrane at the tip of the electrode could become clogged by suspended particles or damaged by prolonged exposure to the reactor environment [25,26]. When the electrode was not in use, the manufacturer recommended that the electrode tip be immersed in a 100 ppm ammonium standard solution. To address this, an external measurement cell (Figure 2 and Figure S1) was constructed from acrylic material. The setup had two positions for electrodes of similar dimensions, allowing for measurements to be taken outside the bioreactor using fresh samples of its content. The filling of the cell with new material from the bioreactor, washing it with the 100 ppm ammonium standard and emptying it, were performed by three low-cost peristaltic pumps, controlled by the ESP32 via relays (Table S1). Ammonium measurements were taken once a day, as significant changes in concentration were not expected frequently.

2.4.3. IoT Architecture

The IoT system developed for bioreactor monitoring implements a four-tier architecture comprising perception, processing, transmission, and application layers [27].
The perception layer consists primarily of the following sensing elements: a digital temperature sensor, pH electrode, REDOX electrode, and ammonium ion sensor. While the temperature sensor interfaces directly with the ESP32 through digital communication, the pH, REDOX, and ammonium ion sensors transmit analog signals. The system also incorporates gas measurement devices utilizing the water displacement method, which are triggered by capacitive sensors (Figure 3).
At the processing layer, the ESP32 microcontroller serves as the central processing unit. It performs several key functions such as converting raw sensor data (DC voltage or current) into meaningful parameter values through calibration equations, calculating running averages, and preparing data packets for transmission.
The transmission layer utilizes Wi-Fi communication over the 2.4 GHz band to establish connectivity between the ESP32 and the cloud infrastructure. Data transmission is implemented through HTTP POST requests, enabling secure and reliable data transfer to a MySQL database.
The application layer consists of a web-based interface developed using PHP and HTML. This interface provides remote monitoring capabilities and allows users to access historical data. Furthermore, it incorporates data export functionality, enabling users to perform analysis and processing of the collected parameters.

2.5. Analytical Methods

Ammonium concentration, total solids (TS), and volatile solids (VS) were measured following the procedures outlined in the APHA’s Standard Methods [28]. The pH of the solutions was determined using a digital pH meter (Model 3520, Jenway, London, UK). Calibration of the bench pH meter was performed daily with standard buffer solutions before measurements.
Methane content was analyzed using a gas chromatograph (GC-2010plusAT, Shimadzu, Tokyo, Japan) with a thermal conductivity detector, with the column characteristics and method parameters previously reported [29]. A standard sample was injected before the injection of the gas sample from the IoT Bioreactor to validate the good operation of the gas chromatograph device.
Volatile fatty acids (VFAs) profiles and concentrations were also analyzed using a gas chromatograph (GC-2010plusAT, Shimadzu, Kyoto, Japan) equipped with a flame ionization detector, following the column specifications and method parameters outlined earlier [24].
Ammonium concentration, CH4 content, and pH measurements were performed to validate the proper functioning of the sensor devices in the IoT-enabled anaerobic bioreactor. Additionally, to ensure the accuracy of the digital temperature sensor, the temperature of the liquid substrate inside the bioreactor was cross-checked once per day with an analog thermometer (Nahita, Navarra, Spain).

2.6. Statistical Analyses

The average values and standard deviations were calculated from the data obtained through analytical methods and from the IoT bioreactor sensors. Mean comparisons were conducted using one-way analysis of variance (ANOVA), while pairwise differences were assessed using the LSD post hoc test. These statistical analyses were carried out using IBM SPSS Statistics, version 25. A p-value of less than 0.05 was considered to indicate statistically significant differences.

3. Results and Discussion

3.1. IoT Bioreactor Performance

The IoT bioreactor operated successfully for 40 consecutive days, with no issues related to substrate supply or the supporting devices’ functioning essential for its operation. On the 41st day, a malfunction occurred in the oleic acid peristaltic pump, which led to increased added volume to the bioreactor. This resulted in an OLR of 2.30 ± 0.03 g VS L1− d−1. While this issue impacted biogas production, it did not interfere with the monitoring capabilities of the IoT system.
Data from the sensors were collected and stored in the database without interruption, and there were no connectivity problems with the ESP32 during data transmission. Overall, the IoT system’s performance was highly satisfactory and intervention or corrective action was not required in terms of data collection, transmission, or recording. Similar performance has been observed in other studies [30,31], highlighting the robustness and reliability of the system in maintaining continuous, effective monitoring.

3.1.1. Biogas Production Monitoring of the IoT Bioreactor

The daily biogas production and total concentration of VFAs in the pilot IoT bioreactor are presented in Figure 4. Biogas production displayed an upward trend from the first days of bioreactor operation, stabilizing on day 16 as OLR reached the target level of 2 g VS LR−1 d−1. During the first five days, when the OLR was 1 g VS LR−1 d−1, the average biogas production was 19.74 ± 1.04 L d−1. In the following two periods, as the OLR gradually increased to 1.25 and 1.65 g VS LR−1 d−1, and biogas production was 25.61 ± 1.50 and 37.21 ± 1.59 L d−1, respectively. When the OLR reached 2 g VS LR−1 d−1, biogas production stabilized at an average of 43.22 ± 0.91 L d−1.
However, on day 41, the biogas production decreased due to the increased addition of oleic acid to the bioreactor, caused by the malfunction of the peristaltic pump mentioned earlier. Afterwards, it stabilized for a 7-day period at 38.02 ± 1.76 L d−1. Subsequently, a sudden reduction in biogas production was observed. This decrease may be attributed to several factors, including the introduction of oleic acid, which can inhibit microbial activity [32,33]. Additionally, the absence of lignocellulosic materials in the substrate, which could have aided in microbial immobilization [34], combined with a low HRT for this type of substrate, probably contributed to the washout of microorganisms essential for biogas production.
The concentration of total volatile fatty acids (VFAs) remained at relatively low levels until day 40, not exceeding 0.22 g L−1. Following the malfunction of the oleic acid peristaltic pump (OLR 2.30 g VS L−1 d−1), a noticeable increase in VFA concentration was observed, with levels nearly sextupling by day 48 (Figure 4). During the initial feeding period at 1.00 g VS L−1 d−1, acetic acid remained low and stable, persisting through day 40 (OLR 2.00 g VS L−1 d−1) at 157.75 ± 18.64 g L−1. However, in the period with an OLR of 2.30 g VS L−1 d−1, acetic acid concentration nearly quadrupled. Propionic acid had an initial concentration of 4.95 ± 2.88 g L−1 and remained at low levels, not exceeding 3.15 ± 1.68 g L−1. In the final period, propionic acid followed a similar trend to acetic acid, with its concentration reaching 62.24 ± 11.17 g L−1.
VFA concentration is a key indicator of potential inhibition in AD processes. The observed VFA levels suggest that inhibition did not occur in the bioreactor during the anaerobic process. Typically, acetic and propionic acid concentrations rise significantly under inhibition; however, both remained within stable, low levels, indicating the absence of inhibitory effects. The observed VFA increase may be attributed to the wash-out of microorganisms from the bioreactor.
The IoT bioreactor recorded each activation of the biogas meter with precise timestamps, generating a detailed database of biogas production events. Each event was logged with date and time down to the exact second. This setup allowed for the calculation of time intervals between biogas counter activations for each day. Figure 5 presents these intervals in minutes, four days before and four days after day 42, when a biogas production drop of approximately 11% was observed. Since the bioreactor received two substrate feedings per day via peristaltic pumps, the intervals displayed in Figure 5 focus on the first 40 biogas meter activations following each 12-h feeding cycle.
The results in Figure 5 indicate a statistically significant difference in time intervals between biogas counter activations in the four days after the production decrease compared to the preceding four days. This can also be seen by observing the time intervals’ values (42a-45a) after the production decrease on day 42, which increased compared to the 38a-41b period. This increase (statistical difference) persisted until 45a, whereas afterwards it was even more eminent (45b). Notably, this pattern provides a valuable signal to the bioreactor’s operator that AD may be facing an operational disruption. Given the IoT protocol’s capability to support real-time notifications, the bioreactor operator could be promptly alerted via email or another digital channel. Such timely notifications would enable rapid corrective actions informed by further analytical data, potentially preventing the extended biogas production decline observed in the following days.

3.1.2. Methane Production and Monitoring

Methane production, calculated from CH4 content in the biogas using both gas chromatography and the IoT system’s volumetric method, is presented in Figure 6. From day 20 to day 41, CH4 production remained stable, with the reactor’s performance yielding 296.61 ± 23.28 mL CH4 g−1 VS d−1. The bioreactor was considered to have reached steady-state conditions when CH4 production varied by less than 10% over ten consecutive days.
For the given substrate, methane yield in batch reactors was 450.63 ± 14.63 mL CH4 g−1 VS, indicating that the s-CSTR produced approximately 34.17% less CH4 than the batch reactors. This reduction is generally expected, as s-CSTRs frequently show lower CH4 yields than batch reactors for the same substrate [35,36].
The IoT device’s monitoring performance in measuring biogas CH4 content closely aligned with reference measurements obtained from gas chromatography. Throughout the monitoring period, 85% of daily IoT device measurements deviated within ±6% of gas chromatography readings, with 32% falling within a tighter ±2% range. Larger deviations, ranging from +10% to −14%, were observed on specific days, potentially due to volumetric device maintenance (water evaporation). Additionally, the biogas flow rate of 60 mL min−1 through the CO2 scrubbers might have influenced the CO2 diffusion efficiency, contributing to the observed discrepancies between the two measurement methods.
To enhance the IoT device’s performance, technical adjustments could be implemented, such as reducing the pump operating voltage to decrease the biogas flow rate or incorporating lower-flow-rate pumps to optimize CO2 absorption by the NaOH solution. Additionally, incorporating diffusion stones into both CO2 scrubbers could improve CO2 dissolution by reducing bubble size, thereby increasing the NaOH solution’s reactive surface area and enhancing CO2 absorption efficiency [37].
The proposed IoT system offers distinct advantages over gas chromatography, including lower acquisition and operational costs and the potential for remote applications beyond laboratory settings, making it particularly suitable for field monitoring of pilot anaerobic bioreactors.

3.2. pH, Temperature, and REDOX Monitoring

One of the primary indicators of AD is the stability of the whole system. The pH value is considered to be one of the most important factors in assessing the stability of the entire process, as it is reported that the optimal pH values for methanogenesis are ranging between 6.5 and 8.2 [38,39]. Since pH is relatively simple to measure and provides important information on system stability, it is often measured online in industrial biogas plants [40].
pH values, measured from the pH meter and the IoT pH sensor, are depicted in Figure 7. As can be easily observed, the pH value remained relatively stable throughout the experiment, with an average value of 7.68 ± 0.01 and 7.55 ± 0.04, as measured by the pH meter and the IoT sensor, respectively. Furthermore, from day 41 onward, the response of pH values was in accordance with the increase in OLR and VFA production. During this period, as the organic load led to increased accumulation of VFAs, the reactor’s pH value dropped, as measured by both the instrument and the sensor. However, the pH fluctuation was smaller than the VFAs variation. Specifically, pH values drop by only 0.034 ± 0.009 units as measured by the pH meter, and by 0.025 ± 0.003 units as measured by the IoT pH sensor. This very slight change in pH with the increase in VFAs is attributed to the buffering capacity of the reactor [40,41], due to the presence of carbonate salts in the BA medium.
Overall, the proposed system appeared to perform well in monitoring the pH values of the reactor, as the average deviation between the pH meter and the IoT sensor readings was only 1.67% throughout the experiment. Thus, the presence of the IoT sensor provides a representative indication of the reactor’s pH condition. However, as previously indicated, monitoring the pH alone is not sufficient for a well-buffered system, given the low sensitivity in the pH response in these reactors [10].
Another AD process indicator that is often monitored in the liquid face is temperature. Temperature range has a significant impact on the biodegradability of different substances used in AD since it directly affects the metabolic activity of microorganisms [42]. The temperature of the digestion process influences the CH4 content of the biogas and, thus, the overall CH4 production [43]. It has been reported that a small change in the temperature can immediately alter the activity of the methanogens, which can lead to potential process imbalances [44,45]. Therefore, temperature is one of the key indicators that are commonly monitored in anaerobic reactors.
The temperature fluctuations measured from the analog thermometer and the IoT temperature sensor during the 48-day study period are presented in Figure 7. The average temperature recorded by the IoT temperature sensor was 37.19 ± 0.31 °C, whereas the analog thermometer indicated an average temperature of 37.24 ± 0.0 °C, resulting in a deviation of 0.15%. As can be easily observed from Figure 7, the IoT temperature sensor showed variations throughout the day since it recorded data four times every hour (every 15 min) all day long, making it more responsive to environmental changes. In contrast, readings from the analog thermometer were taken manually at roughly the same time each day.
On the 43rd day (Figure 7) of monitoring, the automated temperature notification system was evaluated. The bioreactor’s heating system was intentionally deactivated to induce a temperature drop below the setpoint of 35.0 °C. The IoT system was preconfigured so that normal operation is within a temperature range of 35.0 °C to 37 °C. Upon any deviation from this range, a predefined email notification from a designated email account was automatically sent to the operator’s email account. As expected, when the bioreactor temperature fell below 35.0 °C, the system accurately triggered the alert, prompting the operator to take corrective actions to restore normal operating conditions. The heating system was subsequently reactivated, returning the temperature to the desired setpoint. This notification system could be invaluable, as it can alert the operator to prevent significant malfunctions of the bioreactor and associated equipment, thereby minimizing disruptions of the anaerobic process.
Monitoring the reactor’s temperature range using the proposed system yielded excellent results and the values from the analog instrument and the sensor were significantly close to one another, thus making it a reliable tool for real-time temperature control.
As for REDOX potential, which is an activity indicator of electrons in a system, it plays a crucial role in AD as it affects the activity of anaerobic microorganisms. Since anaerobes are highly sensitive to alterations in REDOX potential [46], maintaining the optimal REDOX levels is of great importance to ensure the smooth operation of an AD reactor. The REDOX values recorded by the IoT REDOX sensor during the experiment are shown in Figure 7. The recorded data showed an average value of −393.75 ± 15.90 mV, which falls within the optimal range of −200 to −400 mV [47].

3.3. External Sampling Cell Efficiency and Ammonium Monitoring

A dedicated measurement cell was developed to determine the ammonium ion concentration in the bioreactor. This cell sampled the reactor’s content once daily, by activating a 12 V DC-powered peristaltic pump. An Ion Selective Electrode (ISE) specific to ammonium ions provided concentration measurements after the sample reached the measurement cell. To ensure that fresh samples were analyzed, the cell system’s pumps flushed the cell, removing residual contents from previous measurements and preparing it for new analyses.
The cell required minimal weekly maintenance due to sedimentation from suspended solids in the anaerobic substrate. Maintenance included rinsing the cell with deionized water and manually activating the pumps to remove accumulated solids from the cell’s base. This sampling cell approach was deemed necessary since the ISE electrode used was not suited for continuous measurements in AD systems, as suspended solids could potentially clog the electrode’s membrane [48].
Overall, the cell and accompanying pumps performed reliably throughout bioreactor monitoring. The IoT system controlling the pumps offered flexible options, including adjusting sampling frequency, cleaning schedules, and the potential for sample dilutions. This cell was specifically designed for the employed bioreactor, fed with a filtered inoculum (sieved at 1 mm), making it suitable for the BA medium and the chemical substrates used in this study. However, adapting the cell for real wastewater—common in pilot-scale bioreactors—would require redesigning the cell and selecting pumps capable of handling higher solids content.
Ammonium ion concentrations measured by the IoT device’s ISE electrode and by the reference analytical method (Kjeldahl Distillation) are presented in Figure 8. The ISE electrode consistently underestimated ammonium concentration but reflected similar trends in concentration fluctuations compared to the reference method. In the first 11 days, the underestimation ranged from 4.68% to 14.53% (average 10.31%). From days 11 to 20, the discrepancy increased, with underestimation ranging from 15.17% to 24.21% (average 19.84%). Given this difference, an alternative calibration approach for the ISE electrode was undertaken.
For the initial calibration, standard solutions with ammonium ion concentrations of 100 ppm and 1000 ppm were employed (Figure S3). Subsequently, higher concentration standards were prepared by diluting ammonium chloride (NH4Cl) salt within deionized water. However, potassium and sodium ions present in the anaerobic medium and inoculum likely interfered with the electrode, as indicated in the previous literature [49,50,51]. A new calibration was performed using bioreactor-derived samples, adjusting the ammonium ion concentration analytically and preparing a range of solutions by diluting with water or adding NH4Cl (Figure S4). This revised calibration method improved measurement accuracy, with deviations ranging from −4.18% to +15.94% (mean 8.26%) between days 21 and 31. Afterward, the underestimation range increased again from 9.63% to 20.08% (average 16.24%) and a recalibration at this stage could have further refined results.
The ISE electrode displayed almost continuously a lower value in comparison with the analytical method. An ISE electrode has been reported to underestimate ammonium ion concentrations in high-solids samples [52]. Solid particles present in the inoculum were likely suspended in the cell interior during sampling, which hindered measurement accuracy by clogging the ISE electrode membrane. This issue could be resolved by filtering the sample, although automatic sampling requires specialized high-cost equipment. Temperature control also plays a significant role in accurate measurement [53]. Specifically, the bioreactor operated at a mesophilic range of 37 °C, and the sample remained in the measurement cell for a few minutes, reaching a temperature of around 32 °C. However, the instrument calibration was conducted at approximately 20 °C, as ammonia ion concentration decreases with increasing temperature, assuming constant pH values [54]. Performing calibration at temperatures closer to the bioreactor’s conditions requires specialized equipment, making it challenging to implement. Under these conditions, a potential solution to the above issues could be to perform dilutions [55] within the measurement cell, initially taking a smaller sample volume from the bioreactor. This approach would bring the temperature closer to the calibration environment while reducing the solid content in the final diluted solution for ammonium concentration measurement, mitigating the membrane clogging issue.

3.4. Overall Operation of the IoT Anaerobic Bioreactor and Future Additions

The cost for a preconfigured commercial bioreactor of 3 L according to an offer (July 2024) was EUR 46,500. The commercial reactor included a borosilicate glass vessel, stirrer, temperature control system, flow entry control system for two gases, pH, pO2, and antifoam control, four peristaltic pumps with control, and an operating panel. However, incorporating a biogas analyzer module (measuring CH4, CO2, O2, and H2S) would increase the cost of the commercial bioreactor by approximately EUR 8000 (offered October 2024).
The 60 L pilot bioreactor was significantly lower than the commercial bioreactor. The total cost of the bioreactor without the IoT system was approximately EUR 20,000, including the materials (made of acrylic), four peristaltic pumps, labor, steel base for the bioreactor and peristaltic pumps, the stirring, and the heating system (Figure S1). The total cost of converting the bioreactor to an IoT-enabled device was under EUR 2000, excluding labor. The purchase of pH, REDOX, and ammonium electrodes was the highest expense, which accounted for 75% of the total. The remaining costs covered ESP32 boards, auxiliary circuit boards, temperature sensors, and other components. Moreover, the IoT system could be installed in existing bioreactors minimizing the cost only to the cost of the IoT system. Although the commercial bioreactor had more capabilities and probably better efficiency, the IoT bioreactor in this study was a more cost-effective solution for monitoring AD parameters. The high monitoring efficiency and low cost of these microcontrollers and IoT devices have been confirmed by other researchers [20,30].
With proper maintenance, especially for the electrodes, all the equipment of the IoT system can be reused in other experimental setups. In contrast, most commercial bioreactors often feature custom sensors or ancillary equipment tailored to the device, limiting their use in other configurations.
While the development time for a custom IoT bioreactor using microcontrollers such as the ESP32 may be longer, the resulting system offers greater customization options and long-term cost-effectiveness. The ability to program these microcontrollers provides researchers with a versatile tool for AD studies. It empowers researchers to tailor the system to specific research needs, enabling continuous data logging and remote monitoring. Additionally, since they are DC-powered, these devices can maintain data logging during power outages by switching to battery backup. Moreover, the required time to learn microcontroller programming has significantly decreased due to the rapid development of conversational AI, which can simplify complex code, explain functionality, suggest improvements, and even generate and execute code [56].
The IoT bioreactor has potential for future upgrades, such as the ability to monitor and adjust operational parameters, as well as adding new monitoring features. Operational adjustments could include controlling the runtime of substrate feed pumps for optimal sampling, automatic pH regulation using acid/base pumps, and electric valves for automated effluent bottle draining. Additional monitoring features could involve sensors for leak detection, both for liquids and biogas, enabling immediate response by the operator. Installing a web camera, integrated with other monitoring parameters, can improve site oversight through remote surveillance. Incorporating an in situ storage device, such as an SD card, can improve data security by safeguarding against potential data loss due to internet connectivity issues or cybersecurity breaches. Finally, the development of an AI-powered software solution could process bioreactor monitoring data. This AI system could be trained on historical data of the IoT bioreactor to optimize feedstock composition for obtaining the maximum CH4 yield from the used substrates.
Overall, the ESP32 microcontroller is an inexpensive and rarely utilized tool in AD research, which provides potential for widespread adoption due to its low-cost implementation and adaptability. This application is promising for engineering optimization in waste management and energy recovery, offering a scalable and accessible solution for real-time monitoring. The ability to retrofit this system into existing bioreactors with minor modifications highlights its potential for future applications. Addressing these gaps will advance the knowledge of AD applications and accelerate the development of appropriate and relevant bioreactor optimization approaches. As waste management strategies increasingly prioritize renewable energy recovery, the development of affordable and effective monitoring technologies, like the one proposed in this study, becomes critical.

4. Conclusions

Upgrading the pilot anaerobic bioreactor for biogas production into an IoT device yielded satisfactory monitoring results of the critical parameters. The system effectively tracked biogas production, CH4 content, pH, and temperature, with minimal variance compared to analytical methods. Further research is recommended to improve ammonia ion measurement using ISE electrodes in AD samples. Nevertheless, this low-cost monitoring system can be adapted to existing bioreactors with minor modifications for electrode integration. Efficient and accurate data recording and storage, which enable easier data processing, represent key advantages of IoT-based systems and make them a valuable addition to anaerobic bioreactors. Overall, this study contributes to the growing role of IoT technologies in addressing global challenges related to sustainable waste management and energy production.

Supplementary Materials

The following supporting information can be downloaded at: https://www.mdpi.com/article/10.3390/app15010034/s1, Figure S1. Photo images of the anaerobic bioreactor and the IoT devices. a. General view of the reactor and IoT devices, b. Filling of the reactor and view of the stainless-steel helix heat exchanger, c. Measurement cell and ammonium electrode during measurement, d. IoT device of ESP32 for volumetric gas measurements of biogas and its methane content showing real time values, e. Close view of the 2″ display of the IoT device for sensors logging showing real time values, and f. General view of the IoT device for sensors logging and Greisinger GPHU 014 MP-BNC transducer for pH, showing real time values. Figure S2. Measurements from the GPHU 014 MP-BNC transducer connected with Gravity: I2C Digital Wattmeter converters for the creation of the final equation of pH used by ESP32. Figure S3. Measurements for ammonium equation creation by pH/OPR Adapter 1130 which provided analog voltage output and connected to the adapter ADS1115 16-Bit ADC over I2C to ESP32. Solutions with different concentrations were made by deionized water and appropriate addition of NH4Cl, except for 100 ppm and 1000 ppm standards. Figure S4. Measurements for second ammonium equation creation by pH/OPR Adapter 1130 which provided analog voltage output and connected to the adapter ADS1115 16-Bit ADC over I2C to ESP32. Solutions with different concentrations were made by known concentration sample from the bioreactor and appropriate addition of NH4Cl. Figure S5. Circuit diagram showing the connections between different parts of the gas monitoring system based on the ESP-32 microcontroller. Figure S6. Circuit diagram showing the connections between different parts of the sensor monitoring system of pH, REDOX, temperature, and ammonium based on the ESP-32 microcontroller. Figure S7. Software flowchart of gas monitoring system. Figure S8. Software flowchart of sensor monitoring system of pH, REDOX, temperature, and ammonium. Table S1. Measurement cell activation schedule of low-cost peristaltic pumps.

Author Contributions

Conceptualization, S.D.K.; methodology, S.D.K.; software, S.D.K.; validation, S.D.K., M.-A.T., C.A.T., D.S.P. and A.A.L.; formal analysis, S.D.K. and M.-A.T.; investigation, S.D.K., M.-A.T., C.A.T., D.S.P. and A.A.L.; resources, S.D.K. and T.A.K.; data curation, S.D.K. and M.-A.T.; writing—original draft preparation, S.D.K. and M.-A.T.; writing—review and editing, S.D.K. and T.A.K.; visualization, S.D.K. and M.-A.T.; supervision, S.D.K. and T.A.K.; project administration, T.A.K.; funding acquisition, T.A.K. All authors have read and agreed to the published version of the manuscript.

Funding

This research was carried out as part of the project “SmartMethane—Smart feeding system for biogas plants” (Project code: KMP6-0143289) which was implemented in the framework of the Action «Investment Plans of Innovation» of the Program «Central Macedonia», PARD 2021–2027, that is co-funded by the European Union and Greece.

Institutional Review Board Statement

Not applicable.

Informed Consent Statement

Not applicable.

Data Availability Statement

The original contributions presented in this study are included in the article. Further inquiries can be directed to the corresponding author.

Conflicts of Interest

The authors declare no conflicts of interest.

References

  1. Khalid, A.; Arshad, M.; Anjum, M.; Mahmood, T.; Dawson, L. The anaerobic digestion of solid organic waste. Waste Manag. 2011, 31, 1737–1744. [Google Scholar] [CrossRef] [PubMed]
  2. Angelidaki, I.; Treu, L.; Tsapekos, P.; Luo, G.; Campanaro, S.; Wenzel, H.; Kougias, P.G. Biogas upgrading and utilization: Current status and perspectives. Biotechnol. Adv. 2018, 36, 452–466. [Google Scholar] [CrossRef] [PubMed]
  3. Nikolaidou, C.; Mola, M.; Papakostas, S.; Aschonitis, V.G.; Monokrousos, N.; Kougias, P.G. The effect of anaerobic digestate as an organic soil fertilizer on the diversity and structure of the indigenous soil microbial and nematode communities. Environ. Sci. Pollut. Res. 2024. [Google Scholar] [CrossRef]
  4. Anukam, A.; Mohammadi, A.; Naqvi, M.; Granström, K. A Review of the Chemistry of Anaerobic Digestion: Methods of Accelerating and Optimizing Process Efficiency. Processes 2019, 7, 504. [Google Scholar] [CrossRef]
  5. Shen, R.; Geng, T.; Yao, Z.; Yu, J.; Luo, J.; Wang, H.; Zhao, L. Characteristics of instability and suitable early-warning indicators for cornstalk-fed anaerobic digestion subjected to various sudden changes. Energy 2023, 278, 127735. [Google Scholar] [CrossRef]
  6. Wu, D.; Liu, H.; Xing, T.; Xiao, F.; Liu, Y.; Zhen, F.; Sun, Y. An integrated evaluation strategy for anaerobic digestion monitoring based on acid-base balance and thermodynamics of volatile fatty acid degradation. Chem. Eng. J. 2024, 486, 150340. [Google Scholar] [CrossRef]
  7. Li, L.; He, Q.; Wei, Y.; He, Q.; Peng, X. Early warning indicators for monitoring the process failure of anaerobic digestion system of food waste. Bioresour. Technol. 2014, 171, 491–494. [Google Scholar] [CrossRef]
  8. Cruz, I.A.; Andrade, L.R.S.; Bharagava, R.N.; Nadda, A.K.; Bilal, M.; Figueiredo, R.T.; Ferreira, L.F.R. An overview of process monitoring for anaerobic digestion. Biosyst. Eng. 2021, 207, 106–119. [Google Scholar] [CrossRef]
  9. Drosg, B. Process Monitoring in Biogas Plants; IEA Bioenergy: Paris, France, 2013. [Google Scholar]
  10. Li, Y.; Jin, H.; Li, H.; Li, J. Study on indicators for on-line monitoring and diagnosis of anaerobic digestion process of piggery wastewater. Environ. Technol. Innov. 2017, 8, 423–430. [Google Scholar] [CrossRef]
  11. Wu, D.; Li, L.; Zhao, X.; Peng, Y.; Yang, P.; Peng, X. Anaerobic digestion: A review on process monitoring. Renew. Sustain. Energy Rev. 2019, 103, 1–12. [Google Scholar] [CrossRef]
  12. Gopikumar, S.; Banu, J.R.; Robinson, Y.H.; Shanmuganathan, V.; Kadry, S.; Rho, S. Novel framework of GIS based automated monitoring process on environmental biodegradability and risk analysis using Internet of Things. Environ. Res. 2021, 194, 110621. [Google Scholar] [CrossRef]
  13. Mahmoud, R.; Yousuf, T.; Aloul, F.; Zualkernan, I. Internet of things (IoT) security: Current status, challenges and prospective measures. In Proceedings of the 2015 10th International Conference for Internet Technology and Secured Transactions (ICITST), London, UK, 14–16 December 2015; pp. 336–341. [Google Scholar]
  14. Abomhara, M.; Køien, G.M. Security and privacy in the Internet of Things: Current status and open issues. In Proceedings of the 2014 International Conference on Privacy and Security in Mobile Systems (PRISMS), Aalborg, Denmark, 11–14 May 2014; pp. 1–8. [Google Scholar]
  15. Atzori, L.; Iera, A.; Morabito, G. The Internet of Things: A survey. Comput. Netw. 2010, 54, 2787–2805. [Google Scholar] [CrossRef]
  16. Logan, M.; Safi, M.; Lens, P.; Visvanathan, C. Investigating the performance of internet of things based anaerobic digestion of food waste. Process Saf. Environ. Prot. 2019, 127, 277–287. [Google Scholar] [CrossRef]
  17. Riera, B.; Marange, P.; Gellot, F.; Nocent, O.; MagalhÃEs, A.; VigáRio, B. Complementary usage of real and virtual manufacturing systems for safe PLC training. IFAC Proc. Vol. 2010, 42, 89–94. [Google Scholar] [CrossRef]
  18. Foltýnek, P.; Babiuch, M.; Šuránek, P. Measurement and data processing from Internet of Things modules by dual-core application using ESP32 board. Meas. Control 2019, 52, 970–984. [Google Scholar] [CrossRef]
  19. Márquez-Vera, M.A.; Martínez-Quezada, M.; Calderón-Suárez, R.; Rodríguez, A.; Ortega-Mendoza, R.M. Microcontrollers programming for control and automation in undergraduate biotechnology engineering education. Digit. Chem. Eng. 2023, 9, 100122. [Google Scholar] [CrossRef]
  20. Andrade Cruz, I.; Andrade, L.R.S.; Jesus, A.A.d.; Vasconcelos, B.R.d.; Bharagava, R.N.; Bilal, M.; Figueiredo, R.T.; Souza, R.L.d.; Romanholo Ferreira, L.F. Potential of eggshell waste derived calcium for sustainable production of biogas from cassava wastewater. J. Environ. Manag. 2022, 321, 116000. [Google Scholar] [CrossRef] [PubMed]
  21. Johnson, D.M.; Doss, W.; Estepp, C.M. Agriculture students’ use of generative artificial intelligence for microcontroller programming. Nat. Sci. Educ. 2024, 53, e20155. [Google Scholar] [CrossRef]
  22. Ye, L.; Su, Z.; Yang, C.; He, Z.; Wang, X. Hierarchical development of training database for artificial neural network-based damage identification. Compos. Struct. 2006, 76, 224–233. [Google Scholar] [CrossRef]
  23. Angelidaki, I.; Sanders, W. Assessment of the anaerobic biodegradability of macropollutants. Rev. Environ. Sci. Bio/Technol. 2004, 3, 117–129. [Google Scholar] [CrossRef]
  24. Kalamaras, S.D.; Vitoulis, G.; Christou, M.L.; Sfetsas, T.; Tziakas, S.; Fragos, V.; Samaras, P.; Kotsopoulos, T.A. The Effect of Ammonia Toxicity on Methane Production of a Full-Scale Biogas Plant—An Estimation Method. Energies 2021, 14, 5031. [Google Scholar] [CrossRef]
  25. Ansell, R.O. ION-SELECTIVE ELECTRODES | Water Applications. In Encyclopedia of Analytical Science, 2nd ed.; Worsfold, P., Townshend, A., Poole, C., Eds.; Elsevier: Oxford, UK, 2005; pp. 540–545. [Google Scholar]
  26. Qi, L.; Jiang, T.; Liang, R.; Qin, W. Polymeric membrane ion-selective electrodes with anti-biofouling properties by surface modification of silver nanoparticles. Sens. Actuators B Chem. 2021, 328, 129014. [Google Scholar] [CrossRef]
  27. Jabraeil Jamali, M.A.; Bahrami, B.; Heidari, A.; Allahverdizadeh, P.; Norouzi, F. IoT Architecture. In Towards the Internet of Things: Architectures, Security, and Applications; Jabraeil Jamali, M.A., Bahrami, B., Heidari, A., Allahverdizadeh, P., Norouzi, F., Eds.; Springer International Publishing: Cham, Switzerland, 2020; pp. 9–31. [Google Scholar]
  28. Eaton, A.D.; Franson, M.A.H.; Association, A.P.H.; Association, A.W.W.; Federation, W.E. Standard Methods for the Examination of Water and Wastewater; American Public Health Association: Washington, DC, USA, 2005. [Google Scholar]
  29. Kalamaras, S.D.; Vasileiadis, S.; Karas, P.; Angelidaki, I.; Kotsopoulos, T.A. Microbial adaptation to high ammonia concentrations during anaerobic digestion of manure-based feedstock: Biomethanation and 16S rRNA gene sequencing. J. Chem. Technol. Biotechnol. 2020, 95, 1970–1979. [Google Scholar] [CrossRef]
  30. Cruz, I.A.; de Melo, L.; Leite, A.N.; Melquiades Sátiro, J.V.; Santos Andrade, L.R.; Torres, N.H.; Cabrera Padilla, R.Y.; Bharagava, R.N.; Tavares, R.F.; Romanholo Ferreira, L.F. A new approach using an open-source low cost system for monitoring and controlling biogas production from dairy wastewater. J. Clean. Prod. 2019, 241, 118284. [Google Scholar] [CrossRef]
  31. Kianijaya, M.R.; Hasanuddin, M.O. Implementation of Data Storage for the Monitoring System for Biogas Production Optimization. In Proceedings of the 2022 8th International Conference on Wireless and Telematics (ICWT), Yogyakarta, Indonesia, 21–22 July 2022; pp. 1–5. [Google Scholar]
  32. Wu, L.-J.; Kobayashi, T.; Li, Y.-Y.; Xu, K.-Q.; Lv, Y. Determination and abatement of methanogenic inhibition from oleic and palmitic acids. Int. Biodeterior. Biodegrad. 2017, 123, 10–16. [Google Scholar] [CrossRef]
  33. Shin, H.; Kim, S.H.; Le, C.Y.; Nam, S.Y. Inhibitory effects of long-chain fatty acids on VFA degradation and beta-oxidation. Water Sci. Technol. 2003, 47, 139–146. [Google Scholar]
  34. Faisal, S.; Thakur, N.; Jalalah, M.; Harraz, F.A.; Al-Assiri, M.S.; Saif, I.; Ali, G.; Zheng, Y.; Salama, E.-S. Facilitated lignocellulosic biomass digestibility in anaerobic digestion for biomethane production: Microbial communities’ structure and interactions. J. Chem. Technol. Biotechnol. 2021, 96, 1798–1817. [Google Scholar] [CrossRef]
  35. Hansen, K.H.; Angelidaki, I.; Ahring, B.K. Anaerobic digestion of swine manure: Inhibition by ammonia. Water Res. 1998, 32, 5–12. [Google Scholar] [CrossRef]
  36. Ünyay, H.; Yılmaz, F.; Başar, İ.A.; Altınay Perendeci, N.; Çoban, I.; Şahinkaya, E. Effects of organic loading rate on methane production from switchgrass in batch and semi-continuous stirred tank reactor system. Biomass Bioenergy 2022, 156, 106306. [Google Scholar] [CrossRef]
  37. Üresin, E.; Saraç, H.İ.; Sarıoğlan, A.; Ay, Ş.; Akgün, F. An experimental study for H2S and CO2 removal via caustic scrubbing system. Process Saf. Environ. Prot. 2015, 94, 196–202. [Google Scholar] [CrossRef]
  38. Ge, Y.; Tao, J.; Wang, Z.; Mu, L.; Guo, W.; Cheng, Z.; Yan, B.; Shi, Y.; Su, H.; Chen, G. A hybrid approach of anaerobic digestion model no. 1 and machine learning to model and optimize continuous anaerobic digestion processes. Biomass Bioenergy 2024, 184, 107176. [Google Scholar] [CrossRef]
  39. Mao, C.; Feng, Y.; Wang, X.; Ren, G. Review on research achievements of biogas from anaerobic digestion. Renew. Sustain. Energy Rev. 2015, 45, 540–555. [Google Scholar] [CrossRef]
  40. Ghofrani-Isfahani, P.; Valverde-Pérez, B.; Alvarado-Morales, M.; Shahrokhi, M.; Vossoughi, M.; Angelidaki, I. Supervisory control of an anaerobic digester subject to drastic substrate changes. Chem. Eng. J. 2020, 391, 123502. [Google Scholar] [CrossRef]
  41. Singh, A.; Kumar, V. Recent developments in monitoring technology for anaerobic digesters: A focus on bio-electrochemical systems. Bioresour. Technol. 2021, 329, 124937. [Google Scholar] [CrossRef]
  42. Yan, P.; Gai, M.; Wang, Y.; Gao, X. Review of Soft Sensors in Anaerobic Digestion Process. Processes 2021, 9, 1434. [Google Scholar] [CrossRef]
  43. Chae, K.J.; Jang, A.; Yim, S.K.; Kim, I.S. The effects of digestion temperature and temperature shock on the biogas yields from the mesophilic anaerobic digestion of swine manure. Bioresour. Technol. 2008, 99, 1–6. [Google Scholar] [CrossRef] [PubMed]
  44. Cinar, S.Ö.; Cinar, S.; Kuchta, K. Machine Learning Algorithms for Temperature Management in the Anaerobic Digestion Process. Fermentation 2022, 8, 65. [Google Scholar] [CrossRef]
  45. Wu, D.; Li, L.; Peng, Y.; Yang, P.; Peng, X.; Sun, Y.; Wang, X. State indicators of anaerobic digestion: A critical review on process monitoring and diagnosis. Renew. Sustain. Energy Rev. 2021, 148, 111260. [Google Scholar] [CrossRef]
  46. Hirano, S.; Matsumoto, N.; Morita, M.; Sasaki, K.; Ohmura, N. Electrochemical control of redox potential affects methanogenesis of the hydrogenotrophic methanogen Methanothermobacter thermautotrophicus. Lett. Appl. Microbiol. 2013, 56, 315–321. [Google Scholar] [CrossRef]
  47. Mostafa, A.; Im, S.; Song, Y.-C.; Ahn, Y.; Kim, D.-H. Enhanced Anaerobic Digestion by Stimulating DIET Reaction. Processes 2020, 8, 424. [Google Scholar] [CrossRef]
  48. Radu, A.; Anastasova-Ivanova, S.; Paczosa-Bator, B.; Danielewski, M.; Bobacka, J.; Lewenstam, A.; Diamond, D. Diagnostic of functionality of polymer membrane—Based ion selective electrodes by impedance spectroscopy. Anal. Methods 2010, 2, 1490–1498. [Google Scholar] [CrossRef]
  49. Capella, J.V.; Bonastre, A.; Campelo, J.C.; Ors, R.; Peris, M. A New Ammonium Smart Sensor with Interference Rejection. Sensors 2020, 20, 7102. [Google Scholar] [CrossRef] [PubMed]
  50. Dimeski, G.; Badrick, T.; John, A.S. Ion Selective Electrodes (ISEs) and interferences—A review. Clin. Chim. Acta 2010, 411, 309–317. [Google Scholar] [CrossRef]
  51. Cecconi, F.; Reifsnyder, S.; Ito, Y.; Jimenez, M.; Sobhani, R.; Rosso, D. ISE-ammonium sensors in WRRFs: Field assessment of their influencing factors. Environ. Sci. Water Res. Technol. 2019, 5, 737–746. [Google Scholar] [CrossRef]
  52. Fayose, T.; Thomas, E.; Radu, T.; Dillingham, P.; Ullah, S.; Radu, A. Concurrent measurement of nitrate and ammonium in water and soil samples using ion-selective electrodes: Tackling sensitivity and precision issues. Anal. Sci. Adv. 2021, 2, 279–288. [Google Scholar] [CrossRef]
  53. Pedersen, J.W.; Larsen, L.H.; Thirsing, C.; Vezzaro, L. Reconstruction of corrupted datasets from ammonium-ISE sensors at WRRFs through merging with daily composite samples. Water Res. 2020, 185, 116227. [Google Scholar] [CrossRef] [PubMed]
  54. Wen, Y.; Mao, Y.; Kang, Z.; Luo, Q. Application of an ammonium ion-selective electrode for the real-time measurement of ammonia nitrogen based on pH and temperature compensation. Measurement 2019, 137, 98–101. [Google Scholar] [CrossRef]
  55. Yagüe, M.R.; Quílez, D. On-farm Measurement of Electrical Conductivity for the Estimation of Ammonium Nitrogen Concentration in Pig Slurry. J. Environ. Qual. 2012, 41, 893–900. [Google Scholar] [CrossRef]
  56. Rocha, A.; Sousa, L.; Alves, M.; Sousa, A. The underlying potential of NLP for microcontroller programming education. Comput. Appl. Eng. Educ. 2024, 32, e22778. [Google Scholar] [CrossRef]
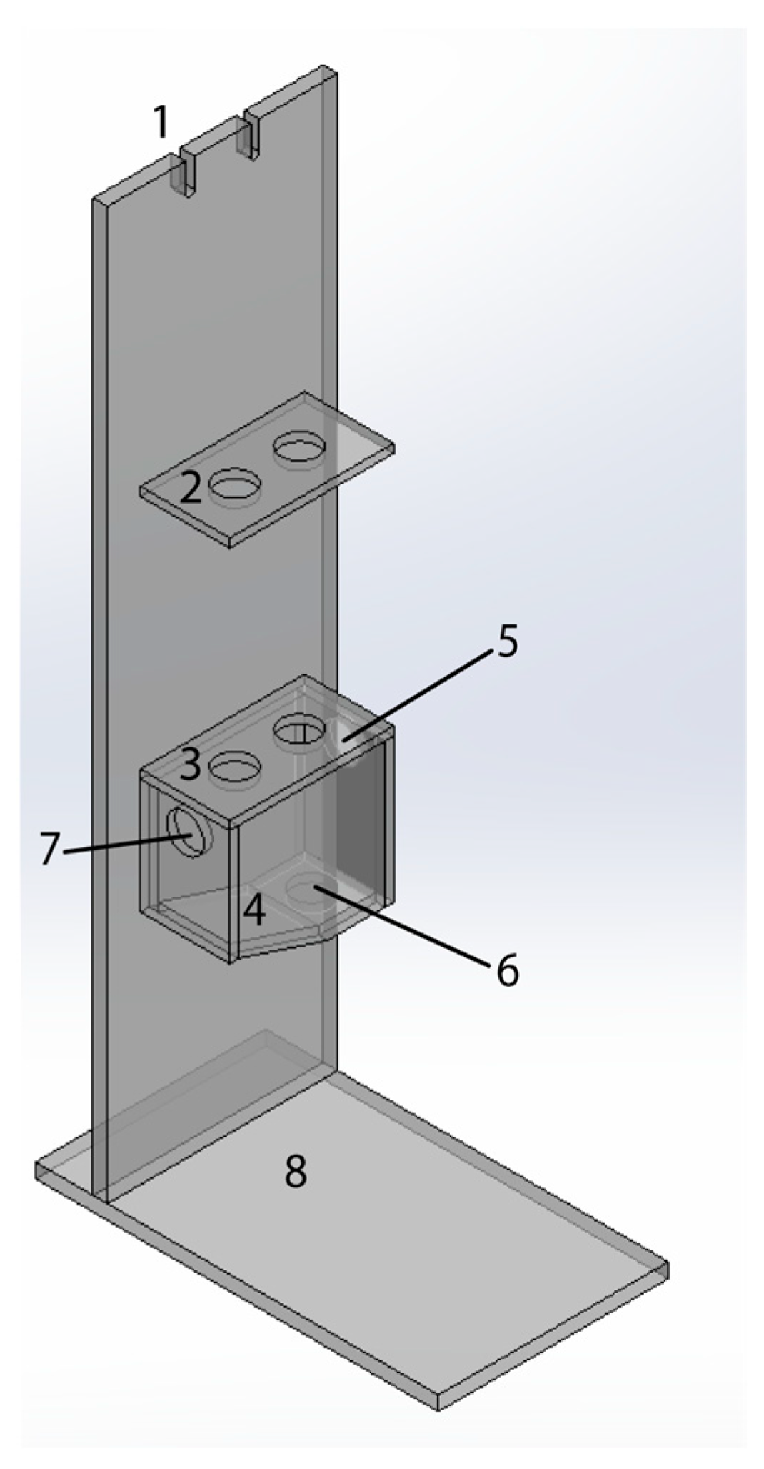
Figure 1. Schematic of the experimental IoT pilot bioreactor system. 1. Main body of the reactor. 2. Effluent bottle. 3. Connection tube for free effluent and biogas flow between bioreactor and effluent bottle. 4. Stainless-steel, helix-shaped heat exchanger. 5. Stirrer. 6. Inlets for pH and REDOX electrodes. 7. Sample outlet for the measurement cell. 8. Inlet for temperature sensor. 9. Analog thermometer. 10. Biogas outlet. 11. Biogas outlet for methane content measurement. 12. CO2 scrubber. 13. Methane water volume measurement device. 14. Biogas volume measurement device. 15. Triode valve, 16. N2 gas inlet.
Figure 1. Schematic of the experimental IoT pilot bioreactor system. 1. Main body of the reactor. 2. Effluent bottle. 3. Connection tube for free effluent and biogas flow between bioreactor and effluent bottle. 4. Stainless-steel, helix-shaped heat exchanger. 5. Stirrer. 6. Inlets for pH and REDOX electrodes. 7. Sample outlet for the measurement cell. 8. Inlet for temperature sensor. 9. Analog thermometer. 10. Biogas outlet. 11. Biogas outlet for methane content measurement. 12. CO2 scrubber. 13. Methane water volume measurement device. 14. Biogas volume measurement device. 15. Triode valve, 16. N2 gas inlet.
Applsci 15 00034 g001
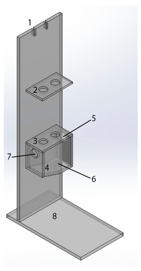
Figure 2. Measurement cell for external electrode sensors made by acrylic. 1. Cable management of electrodes. 2. Perforated holder for electrodes. 3. Measurement cell apertures for electrode mounting. 4. Primary measurement cell body for receiving liquid samples from the bioreactor. 5. Bioreactor sample inlet. 6. Content outlet. 7. Maintenance solution inlet for electrode preservation. 8. Base.
Figure 2. Measurement cell for external electrode sensors made by acrylic. 1. Cable management of electrodes. 2. Perforated holder for electrodes. 3. Measurement cell apertures for electrode mounting. 4. Primary measurement cell body for receiving liquid samples from the bioreactor. 5. Bioreactor sample inlet. 6. Content outlet. 7. Maintenance solution inlet for electrode preservation. 8. Base.
Applsci 15 00034 g002
Figure 3. Instrumentation block diagram and communication protocols of the IoT Bioreactor.
Figure 3. Instrumentation block diagram and communication protocols of the IoT Bioreactor.
Applsci 15 00034 g003
Figure 4. Daily biogas production and total Volatile Fatty Acids (VFAs) concentration (g VS L−1 d−1) of the pilot IoT bioreactor for 48 days of continuous operation.
Figure 4. Daily biogas production and total Volatile Fatty Acids (VFAs) concentration (g VS L−1 d−1) of the pilot IoT bioreactor for 48 days of continuous operation.
Applsci 15 00034 g004
Figure 5. Biogas counter hit intervals (min) over eight consecutive days before and after day 42, when a reduction (<11%) in biogas production was observed. Subscripts “a” and “b” indicate 12-h intervals following substrate addition. Different letters above bars indicate statistical significance between groups (p > 0.05).
Figure 5. Biogas counter hit intervals (min) over eight consecutive days before and after day 42, when a reduction (<11%) in biogas production was observed. Subscripts “a” and “b” indicate 12-h intervals following substrate addition. Different letters above bars indicate statistical significance between groups (p > 0.05).
Applsci 15 00034 g005
Figure 6. Calculated methane production of the bioreactor after biogas’ CH4 concentration measurement by gas chromatography and by the IoT device system.
Figure 6. Calculated methane production of the bioreactor after biogas’ CH4 concentration measurement by gas chromatography and by the IoT device system.
Applsci 15 00034 g006
Figure 7. Bioreactor pH, temperature (°C), and REDOX measurements from the IoT device, along with pH and temperature readings from a bench pH meter and an analog thermometer over time (days).
Figure 7. Bioreactor pH, temperature (°C), and REDOX measurements from the IoT device, along with pH and temperature readings from a bench pH meter and an analog thermometer over time (days).
Applsci 15 00034 g007
Figure 8. Daily ammonium concentration of the IoT bioreactor measured by ISE ammonium sensor and by the analytical method of Kjeldahl distillation.
Figure 8. Daily ammonium concentration of the IoT bioreactor measured by ISE ammonium sensor and by the analytical method of Kjeldahl distillation.
Applsci 15 00034 g008
Table 1. Inoculum characteristics.
Table 1. Inoculum characteristics.
ParameterInoculum (Value ± SD *)
Total Solids (g L−1)32.91 ± 3.27
Volatile Solids (g L−1)20.50 ± 3.21
Volatile Fatty Acids (mg L−1)154.27 ± 3.22
Ammonium (mg L−1)2160 ± 70.05
pH7.92 ± 0.01
* SD: Standard Deviation.
Table 2. Daily substrate input Organic Loading Rates for the operation period of the IoT Bioreactor.
Table 2. Daily substrate input Organic Loading Rates for the operation period of the IoT Bioreactor.
Period (Day)Organic Loading Rate g VS LR−1 d−1 (value ± SD *)Substrates
Glucose
g VS d−1
Gelatin
g VS d−1
Oleic Acid
g VS d−1
1–41.00 ± 0.05304.32.2
5–91.25 ± 0.07408.64.4
10–141.65 ± 0.085013.16.6
15–482.00 ± 0.096017.28.8
* SD: Standard Deviation, VS: Volatile Solids.
Disclaimer/Publisher’s Note: The statements, opinions and data contained in all publications are solely those of the individual author(s) and contributor(s) and not of MDPI and/or the editor(s). MDPI and/or the editor(s) disclaim responsibility for any injury to people or property resulting from any ideas, methods, instructions or products referred to in the content.

Share and Cite

MDPI and ACS Style

Kalamaras, S.D.; Tsitsimpikou, M.-A.; Tzenos, C.A.; Lithourgidis, A.A.; Pitsikoglou, D.S.; Kotsopoulos, T.A. A Low-Cost IoT System Based on the ESP32 Microcontroller for Efficient Monitoring of a Pilot Anaerobic Biogas Reactor. Appl. Sci. 2025, 15, 34. https://doi.org/10.3390/app15010034

AMA Style

Kalamaras SD, Tsitsimpikou M-A, Tzenos CA, Lithourgidis AA, Pitsikoglou DS, Kotsopoulos TA. A Low-Cost IoT System Based on the ESP32 Microcontroller for Efficient Monitoring of a Pilot Anaerobic Biogas Reactor. Applied Sciences. 2025; 15(1):34. https://doi.org/10.3390/app15010034

Chicago/Turabian Style

Kalamaras, Sotirios D., Maria-Athina Tsitsimpikou, Christos A. Tzenos, Antonios A. Lithourgidis, Dimitra S. Pitsikoglou, and Thomas A. Kotsopoulos. 2025. "A Low-Cost IoT System Based on the ESP32 Microcontroller for Efficient Monitoring of a Pilot Anaerobic Biogas Reactor" Applied Sciences 15, no. 1: 34. https://doi.org/10.3390/app15010034

APA Style

Kalamaras, S. D., Tsitsimpikou, M.-A., Tzenos, C. A., Lithourgidis, A. A., Pitsikoglou, D. S., & Kotsopoulos, T. A. (2025). A Low-Cost IoT System Based on the ESP32 Microcontroller for Efficient Monitoring of a Pilot Anaerobic Biogas Reactor. Applied Sciences, 15(1), 34. https://doi.org/10.3390/app15010034

Note that from the first issue of 2016, this journal uses article numbers instead of page numbers. See further details here.

Article Metrics

Back to TopTop