Abstract
The pneumatic centralized fertilizer discharge system is an important part of pneumatic fertilization machinery and mainly includes a fertilizer discharge device, an air–fertilizer mixing device and a pneumatic distribution device. In this paper, the mechanical structure, key parameters and research methods of pneumatic centralized discharge devices, air–fertilizer mixing devices and pneumatic distribution devices at home and abroad are briefly analyzed. The advantages and disadvantages of these existing devices are summarized, the existing problems are discussed and improvement methods are put forward. In this paper, the structural adaptability, uniformity and stability of the fertilizer discharge of different types of fertilizer discharge devices, such as external groove wheel types, spiral types and centrifugal types, are comprehensively analyzed. The working principle of air–fertilizer mixing devices using the Venturi effect to achieve the uniform mixing of fertilizer and airflow is expounded. The effects of air–fertilizer mixing devices with different structural forms and parameters on mixing performance and the motion characteristics of air–solid two-phase flows are analyzed. The influence of the internal structure, key parameters and distribution mode of pneumatic distribution devices on the uniformity and accuracy of fertilizer distribution are analyzed. This paper focuses on how to improve the uniformity, stability and consistency of discharge across rows provided by the pneumatic centralized fertilizer discharge system. The research status and progress made regarding the core components of the pneumatic centralized fertilizer discharge system at home and abroad are summarized. Based on different research results, the key factors and methods for improving the uniformity of fertilizer discharge are discussed.
1. Introduction
As a strategic material to increase crop yield and ensure food security, fertilizer plays an important role in agriculture [1]. Reasonable fertilization and improving the utilization rate of chemical fertilizers can achieve not only a high quality and high yield of grain but also sustainable agricultural development. The traditional mechanical fertilization device has the problems of uneven fertilizer discharge, poor stability and low efficiency, and it does not meet the requirements of modern agriculture, including a high speed, wide width, high precision and high efficiency [2,3].
Pneumatic conveying technology for bulk materials, as a well-established and widely used material transportation method in the industrial sector, is particularly suitable for the continuous, efficient, and contactless transportation of granular, powdered, and other bulk materials. By precisely controlling airflow speed, pneumatic conveying technology ensures rapid, continuous, and uniform material transport. The design of agricultural equipment often draws on cutting-edge design ideas and research results from the industrial sector. In the agricultural field, the use of pneumatic conveying technology, especially in fertilizer application, pneumatic collection and discharge fertilizer systems that pneumatically transport fertilizer particles through pipelines not only improves the uniformity and efficiency of fertilization, but also reduces fertilizer waste and environmental pollution.
In recent years, the pneumatic centralized fertilization method has developed rapidly. It has the advantages of high accuracy, a simple structure and strong reliability. It can realize the uniform discharge of granular fertilizer. By controlling the speed and direction of the airflow, granular fertilizer can be accurately transported to the target area to ensure the uniformity and consistency of fertilization [4,5,6,7]. In the pneumatic centralized fertilizer discharge system, fertilizer is pneumatically transported through the pipeline. During the discharge process, the fertilizer particles are suspended, and the system has good adaptability to the size and shape of the fertilizer particles. Long-term contact and friction are not required to reduce the loss of fertilizer [8,9,10]. Compared with the traditional mechanical fertilization method, the pneumatic drainage system can maintain the integrity and nutritional value of the fertilizer to the greatest extent [11].
This paper introduces the mechanical structure and working principle of the pneumatic centralized fertilizer discharge system and presents a brief comprehensive analysis of the mechanical structure, key parameters and research methods of the pneumatic centralized fertilizer discharge device, air–fertilizer mixing device and pneumatic distribution device at home and abroad, summarizing the advantages and disadvantages of these existing devices and putting forward the existing problems and improvement methods. By analyzing the relationship between the structure and working parameters of each component of the pneumatic centralized fertilizer discharge system, it provides technical reference and theoretical support for the mechanical design and structural optimization of the pneumatic centralized fertilizer discharge system and points out the future research focus of the pneumatic centralized fertilizer discharge system in order to provide reference for the development of pneumatic fertilization machinery.
2. Mechanical Structure and Working Principle of Pneumatic Centralized Fertilizer Discharge System
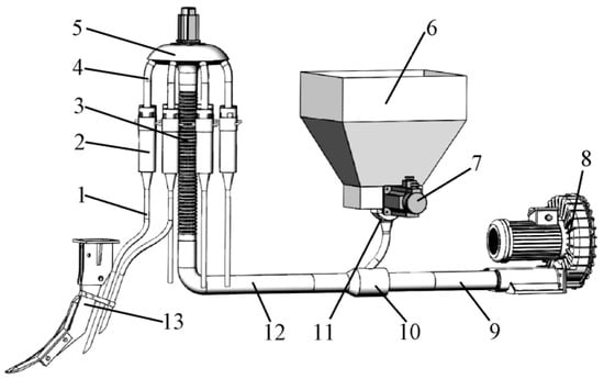
The pneumatic centralized fertilizer discharge system is an important part of pneumatic fertilization machinery and mainly includes a fertilizer discharge device, an air–fertilizer mixing device and a pneumatic distribution device [12], as shown in Figure 1. The working process of the pneumatic centralized fertilizer discharge system is divided into four stages: fertilizer supply, fertilizer mixing, fertilizer distribution and fertilizer discharge [13,14,15]. The fertilizer discharge device discharges the fertilizer in the fertilizer box quantitatively, and the fertilizer particles enter the air–fertilizer mixing device via their own gravity and pressure difference. The air–fertilizer mixing device uses the Venturi principle to mix the quantitatively supplied fertilizer particles with the high-speed airflow to form an air–fertilizer mixed flow. The air–fertilizer mixed flow enters the bellows through the bend pipe, forms a uniform air–fertilizer mixed flow and enters the pneumatic distribution device. The distribution device evenly distributes the mixed flow to each fertilizer outlet. The allocated air–fertilizer mixture flows through the fertilizer discharge pipe to the opener, and the fertilizer is discharged into the soil [16,17,18,19].
Figure 1.
Structural schematic diagram of a pneumatic centralized fertilizing system. 1. Fertilizing pipe. 2. Air–fertilizer separation device. 3. Bellows. 4. Distributor outlet. 5. Distributor. 6. Fertilizer box. 7. Fertilizing motor. 8. Fan. 9. Airflow conveying pipe. 10. Air–fertilizer mixing device. 11. Outer–groove wheel fertilizer feeder. 12. Air–fertilizer conveying pipe. 13. Layered deep fertilizing shovel.
3. Research Status of Fertilizer Discharge Devices
The fertilizer discharge device is a key component of the pneumatic centralized fertilizer discharge system. During the working process, the fertilizer discharge device discharges the fertilizer into the pneumatic conveying system. Under the action of high-speed airflow, the fertilizer is transported along the pipeline at a fixed point, and, finally, it is evenly distributed to each row and discharged from the fertilizer outlet [20,21,22,23]. In recent years, scholars at home and abroad have conducted extensive research on fertilizer discharge devices and achieved good results.
Aiming to solve the problem of poor uniformity of fertilizer discharge caused by the fluctuation of fertilizer discharge with time in the process of fertilizer transportation, Yang et al. [24] selected Russian Akang compound fertilizer (density 1320 kg/m3, diameter 3.6 mm) and studied the influence of the length and angle of the fertilizer outlet on the uniformity of fertilizer discharge. Their results showed that the length and angle of the fertilizer outlet had a significant effect on the performance of fertilizer discharge. When the angle of the fertilizer outlet was 135° and the length was 60 mm, the effect of fertilizer discharge was the best. The structure of a spiral fertilizer discharger is shown in Figure 2.
Figure 2.
Structural diagram of a spiral fertilizer device. 1. Drive motor. 2. Coupling. 3. Feeding inlet. 4. Screw. 5. Screw shell. 6. Discharge port. 7. Concentrator.
To achieve quantitative and variable fertilization, Lei et al. [25] designed a screw-type fertilizer feeding device, as shown in Figure 3. This fertilizer feeding device can realize variable, quantitative and centralized fertilizer discharge, and it meets the requirements of fertilization stability in agricultural production, but it is not suitable for fertilizers with a high powder content.
Figure 3.
Structural diagram of a screw-type fertilizer feeding device: (a) structure of fertilizer feeding device; (b) fertilizer feeding mechanism. 1. Fertilizer box. 2. Fertilizer churning mechanism. 3. Fertilizer filling room. 4. Shell. 5. Blocking plate. 6. Brush. 7. Unloaded plate. 8. Screw-type fertilizer feeding unit. 9. Feeding port. 10. Discharging shaft. 11. End cover. 12. Replace wheel. 13. Clapboard.
To improve the efficiency of fertilizer utilization, Du et al. [26] developed a hole fertilizer device and, using the simulation analysis method, studied the influence of the length of the fertilizer hole, the working speed and the airflow speed on the amount of fertilizer discharged. Their results showed that the airflow had a significant effect on the performance of the hole. Dun et al. [27] developed a double-gear fertilizer discharger. Taking the pressure angle of the fertilizer discharge wheel and the theoretical gap of the fertilizer discharge as the test factors, the quadratic general rotation combination test was used to establish a regression equation. The test results showed that changing the rotation speed of the fertilizer wheel could achieve the linear adjustment of the amount of fertilizer discharged. Liu et al. [28] improved the screw fertilizer device, as shown in Figure 4. Through a comparative analysis of the three hole structures, namely the symmetrical hole, the inclined hole and the straight hole, it was determined that the inclined hole had the best fertilizer discharge performance, and, within a certain range, the fertilizer discharge rate had a linear relationship with the rotation speed.
Figure 4.
Screw fertilizer device: (a) fertilizer mechanism; (b) schematic diagram. 1. Fertilizer box. 2. Fertilizer shell. 3. Fertilizer plate. 4. Arc base brush. 5. Arc base. 6. Arc rear cover. 7. Fertilizer wheel. 8. Back cover arc brush. 9. D shaft. 10. Replace wheel. 11. Partition plate. 12. Through-shaft motor.
In order to improve the performance of fertilizer discharge and reduce the requirements of fertilizer discharge devices to accommodate for fertilizer morphological characteristics, Chen et al. [29] developed a two-stage spiral fertilizer discharge device. Batian compound fertilizer and powdered rice special fertilizer developed by South China Agricultural University were selected as experimental fertilizers (moisture content 2.0–10.8%). The results showed that there was a linear relationship between the amount of fertilizer discharged by the spiral fertilizer discharger and the rotational speed at 10~200 r/min, and the overall linear determination coefficient was greater than 0.998. The spiral fertilizer device had a good effect on powder fertilizer and granular fertilizer after moisture absorption. Zhang et al. [30] used a spiral grooved wheel instead of a straight grooved wheel, and they optimized the key structural parameters of the spiral grooved wheel fertilizer discharger. Discrete element method was used to compare and analyze the different spiral angles of the spiral grooved wheel fertilizer discharger, and it was concluded that, when the spiral angle of the spiral grooved wheel was 60.83°, the fertilizer discharge performance was the best. The structure of the spiral grooved wheel fertilizer discharger is shown in Figure 5.
Figure 5.
Spiral groove wheel fertilizer feeder graph.
To address the issues of the poor uniformity and the unstable fertilizer discharge performance of side-deep fertilizer applicators in paddy fields, Wang et al. [31] developed a conical disc push-plate double-row fertilizer discharger. By constructing a mechanical model and performing a simulation analysis, it was concluded that when the number of push plates was eight, the performance of the fertilizer discharger was the best. Bangura et al. [32] designed a spiral grooved wheel fertilizer device to replace the traditional straight grooved wheel fertilizer device. The measured three-axis sizes of the two fertilizers (compound fertilizer and urea fertilizer) were small, and the sphericity was greater than 90%. They used the discrete element method (DEM) to compare and analyze the fertilizer discharge performance of the two grooved wheel mechanisms. The research showed that the uniformity of the spiral grooved wheel was obviously better than that of the straight grooved wheel. Gao et al. [33] designed a type of staggered symmetrical spiral groove seed feeding wheel, as shown in Figure 6. A full factor simulation test was carried out on the inclination angle and length of the spiral groove, and it was concluded that the staggered symmetrical spiral groove metering wheel greatly improved the uniformity of seeding.
Figure 6.
Structure diagram of staggered symmetrical spiral grooved seed feeding.
Aiming to solve the problem of fertilizer particles having strong hygroscopicity and often agglomerating, which leads to the problem of the outer groove wheel fertilizer discharger easily becoming blocked, Song et al. [34] studied the influence of the different working parameters of a spiral grooved wheel on fertilizer discharge performance, and they determined the best working parameter combination for spiral grooved wheels. Sugribay et al. [35] designed a pin-roller metering device, as shown in Figure 7, which can improve the discharge and uniformity of granular fertilizer.
Figure 7.
Test rig to optimize pin-roller parameters. 1. Hopper. 2. Metering device frame. 3. Left and right outer caps. 4. Left and right inner caps. 5. Lower flap 6. Bolt adjuster 7. Hexagonal roller shaft 8. Pin-roller 9. Inclined top flap.
To solve the problem of uneven fertilization, Dun et al. [36] designed a type of helical fertilizer discharger with an inclined mouth. In an experimental study, urea fertilizer (equivalent diameter 2.05 mm, density 0.948 g/cm3) was selected, the length, angle and width of the inclined mouth were taken as the experimental factors, and the flow rate and coefficient of variation were taken as the indices. The results showed that when the rotation speed was 60 r/min, the variation coefficient of the amount of fertilizer discharged by the inclined spiral fertilizer discharger was 13.59%, and the fertilizer discharge performance was better. Gao et al. [37] designed an inclined slot-type fertilizer discharge device, as shown in Figure 8. Through a theoretical analysis and model calculations of the fertilizer filling stage and fertilizer discharge stage of the fertilizer discharge device, the optimal parameter combination for fertilizer discharge was determined.
Figure 8.
Force analysis before the slipping of the granular fertilizer.
In view of the lack of in-depth research on the related theory and analytical models of fertilizer dispensers, Liu et al. [38] established a motion model of fertilizer particles in fertilizer dispensers. The quadratic regression orthogonal rotation combination test was used to determine the optimal horizontal inclination of fertilizer dispensers, and it was found that the angle is 30.4°, the cone disc speed is 130 r/min, and the radial deflection angle of the push plate is 3.2°. Lv et al. [39] designed a screw-propelled fertilizer applicator which uses two sets of opposite spirals symmetrically arranged on the same axis and fertilizes two rows of crops at the same time. A test showed that the relative error of single-rotation displacement was 1.6% and the rotation speed and displacement were linear.
To sum up, at present, the fertilizer discharge devices studied and designed at home and abroad mainly include outer groove wheel types, air delivery types, centrifugal types and spiral types, among which the outer groove wheel-type and spiral-type fertilizer discharge devices are the most widely used [40,41,42,43,44,45]. The outer groove wheel-type fertilizer discharge device has a simple structure, easy operation and low price, and it can meet the needs of large fertilizer discharge [46,47].
There are various types of grooved wheels in outer groove wheel-type fertilizer dischargers: the straight grooved type, the inclined grooved type and the staggered grooved type [48,49,50,51]. The traditional straight grooved pulley has a simple structure, but it has problems relating to broken fertilization bars and pulsation [52]. The interlaced straight grooved wheel type adopts the interlaced form of bilateral tooth grooves to discharge fertilizer, thus avoiding the discontinuous and pulsating phenomenon of fertilizer discharge caused by the grooves and groove teeth of the straight grooved wheel [53]. The inclined grooved wheel type can promote the continuous discharge of fertilizer particles through the continuous rotation of its spiral, which increases the uniformity of fertilization [54]. A spiral fertilizer discharge device has a simple structure and convenient operation. It is suitable for granular fertilizer with good fluidity. The linear adjustment of fertilizer discharge can be realized by changing the rotation speed of the fertilizer discharge wheel, which improves the accuracy of fertilizer discharge and results in good fertilizer discharge performance [55].
Spiral fertilizer discharge devices belong to various types, including the spiral propulsion type, the spiral combination type, the inclined spiral type, and the staggered symmetrical spiral groove type. Spiral propulsion fertilizer discharge devices are suitable for loose fertilizer and compound granular fertilizer with good fluidity, but can easily cause the extrusion deformation and crushing of fertilizer particles during the working process. Spiral combined fertilizer discharge devices have a large amount of fertilizer and good uniformity of fertilizer discharge, but the structure is more complicated. The structure of inclined spiral fertilizer discharge devices is relatively simple and is suitable for dry and loose fertilizers. The fertilizer discharge performance is good, but it is not suitable for the discharge of fertilizers with strong hygroscopicity, which is prone to overhead and broken bars. The filling rate of the spiral blade gap of staggered symmetrical spiral groove type fertilizer discharge devices is reduced, which avoids the problem of excessive filling of the fertilizer, and these devices have the characteristics of uniform fertilizer discharge, not being easy to block, and strong adaptability to the fertilizer.
4. Research Progress of Air–Fertilizer Mixing Devices
The air–fertilizer mixing device is a core component of the pneumatic centralized fertilizer discharge system, using high-speed airflow to mix the air–solid two-phase flow evenly. The air–fertilizer mixing device uses the Venturi effect to achieve the uniform mixing of the airflow and fertilizer. It is a key component in achieving continuous fertilizer supply. Scholars at home and abroad have conducted extensive research on the internal structure and key parameters of air–fertilizer mixing devices, achieving good results. Yang et al. [12] designed an air–fertilizer mixing device for the problem of fertilizer falling into the fertilizer inlet of the fertilizer discharge system, as shown in Figure 9. The commercial compound fertilizer was selected, with an equivalent diameter of 3.26 mm and a density of 1448 kg/m3. Through a theoretical analysis, the optimal parameters for fully mixing the fertilizer and airflow field in the air–fertilizer mixing device were determined.
Figure 9.
Structural schematic diagram of an air–fertilizer mixing device. 1. Air–fertilizer mixing chamber. 2. Transition room. 3. Fertilizer receiving room. 4. Fertilizer inlet. 5. Nozzle.
Addressing the issue of the uneven distribution of fertilizers during the fertilization process in paddy fields, Hu et al. [56] designed a Venturi tube mixing cavity and analyzed the flow field. According to the angle between the fertilizer inlet and the air inlet, mixing chambers can be divided into the right angle type, the acute angle type and the obtuse angle type, as shown in Table 1. This study showed that when the diameter of the mixing chamber was 15 mm, and the fertilizer inlet and the air inlet were acutely angled, the air–fertilizer mixing uniformity was better, there was no backflow at the fertilizer outlet, and fertilizer transportation was faster and smoother.
Table 1.
Structure analysis of air–fertilizer mixing devices.
Li et al. [57] used the discrete element method and computational fluid dynamics to carry out air–solid coupling numerical research on the air–fertilizer mixing device of a rice fertilizer applicator. The movement law of airflow and fertilizer particles was analyzed by studying the influence of the internal structure parameters, air inlet pressure and fertilizer discharge rate of the air–fertilizer mixing device. In order to improve the uniformity of the Venturi feeding tube, Gao et al. [58] analyzed the variation in the internal flow field under different contraction angles of the nozzle port by using the coupling simulation method. It was concluded that when the contraction angle was 70°, the pneumatic conveying effect was the best, and the coupling field did not appear. The phenomenon of blockage and accumulation, in addition to transportation, was continuous and smooth. The test showed that the main factors affecting the uniformity of seed supply were displacement and wind speed. The structure of the seed supply tube is shown in Figure 10.
Figure 10.
Structure diagram of Venturi feeding tube.
To increase the uniformity of fertilizer discharge, Jia et al. [59] designed a mixed fertilization device. Through simulation experiments, the movement law of the fertilizer particles in the fertilizer mixer was analyzed, and the optimal structural parameters of the fertilizer mixer were determined. Zhang et al. [60] designed a Venturi fertilizer applicator and analyzed its performance by carrying out a numerical simulation. Ma et al. [61] studied the influence of the structural parameters of the Venturi tube on the variation characteristics of the airflow field during the pneumatic conveying process, and they determined the optimal parameter combination of the Venturi tube. Lei et al. [62] designed a seed supply device, as shown in Figure 11. The discrete element method and computational fluid dynamics coupling method were used to simulate the influence of the throat section structure, throat length, airflow inlet velocity and inlet velocity on the seed motion characteristics in the airflow field, and the optimal structural parameters of the seed supply device were determined.
Figure 11.
Two-dimensional sketch of a feeding device.
In order to improve the uniformity of feeding, Li et al. [63] designed a Venturi feeder, and they studied the characteristics of the internal flow field of the feeder and the influence of different structural parameters on the performance of pneumatic conveying. Their research showed that the material conveying performance of the feeder is good, but, inside the feeder, pile up and blockage easily occur, and the structural design needs to be improved. Wang et al. [64] designed a forced discrete mixed fertilizer system. Its working principle is that several fertilizer particles are blown into a discrete state in the pipeline by means of the strong air flow generated by a fan, and then several fertilizer particles are fully mixed through the mixing device. Khasanov et al. [65] established a mathematical calculation model for the pneumatic distribution system of a seeder by using the two-phase flow mechanics method, analyzed the flow characteristics of the air–solid mixed flow in the spiral mixer and determined the optimal structural parameters of the mixer.
In summary, most air–fertilizer mixing devices are designed according to the Venturi principle. The structural parameters affect not only the movement characteristics of fertilizer particles and the uniformity of air–fertilizer mixing but also the overall pressure loss of the pneumatic centralized fertilizer discharge system. Designing a suitable air–fertilizer mixing device is of great significance for the continuous and smooth discharge of fertilizer and for reducing energy loss.
5. Research Progress of Pneumatic Distribution Devices
The pneumatic distribution device is a core component of the pneumatic centralized fertilizer discharge system, and it evenly distributes the mixed flow of air and fertilizer to each row of fertilizer outlets to achieve high-speed and uniform fertilization [66]. Domestic and foreign scholars have conducted extensive research on the mechanical composition, internal structure, and key parameters of pneumatic fertilizer separation devices, achieving good research results.
To improve distribution uniformity, Wang et al. [67] developed a dome-shaped distribution device, as shown in Figure 12. The relationship between the dome-shaped surface equation of the distribution device and the key parameters was analyzed. The DEM-CFD air–solid coupling simulation was used to study the influence of the radius of the sphere where the dome-shaped upper arc plate is located, the length of the diversion baffle and the height of the seed guide on the consistency of the displacement of each row of the dome-shaped distribution device.
Figure 12.
Seeding principle sketch of a dome-shaped distributor device. 1. Conveying air flow. 2. Seeds in the feeding area. 3. Seeds in the secondary mixing area. 4. Seeds in the seeding area. I. Seeding area. II. Secondary mixing zone of seed and transport airflow. III. Seeding area.
To enhance the working performance of fertilizer applicators. Ma et al. [68] optimized the design of a distribution head. In order to study the influence of different types of end caps on the internal flow field characteristics, parallel, convex arc and concave cone end caps were compared and analyzed. The results showed that the distribution head of the concave cone end cap had a small gradient of flow velocity, and there was no eddy current zone or retention zone, which is beneficial for the uniform distribution of air–solid two-phase flow. Dai [69] developed a distributor, as shown in Figure 13. Through a CFD simulation analysis and bench test, the distribution uniformity of the distributor was studied. The results showed that the distribution uniformity of the distributor was related to the input air pressure and the diameter of the bellows. The best inlet diameter for the distributor was 58 mm, and the best outlet diameter was 20 mm.
Figure 13.
Distributor structure diagram. 1. Inlet. 2. Outer cover. 3. Inner cover. 4. Metering disc. 5. Distribution port. 6. Duct.
In order to improve the uniformity and stability of fertilizer distribution, Yang et al. [70] designed a fertilizer adjustment device, as shown in Figure 14. The density of the granular compound fertilizer measured by means of the fine salt filling method was 1476 kg/m3, the average triaxial size was 3.686 × 3.369 × 3.076 mm, and the sphericity rate was 0.91. In the simulation model, the fertilizer particles were simplified to a sphere with a diameter of 3.38 mm. The research showed that, when the cone angle θ of the rotating cone was 120°, it could effectively avoid the turbulence inside the distribution mechanism and improve the stability and reliability of the fertilizer distribution.
Figure 14.
Structural schematic diagram of fertilizer amount adjustment device: (a) main view; (b) sectional view. 1. Bellows. 2. Fertilizer outlet. 3. Sector-slider. 4. Adjusting handle. 5. Bearing bracket. 6. Bearing. 7. Coupling. 8. Direct current motor. 9. Motor shaft. 10. Rotary cone shaft. 11. Rotary cone with push tooth. 12. Sector cylinder. 13. Fertilizer outlet. 14. Fixing bolt. I. Fertilizer outlet I distribution area. II. Fertilizer outlet II distribution area.
To enhance the uniformity and accuracy of granular fertilizer distribution, Yang et al. [71] used the CFD-DEM coupling simulation method to study the flow characteristics of fertilizer particles in a pneumatic centralized fertilizer distribution device. Three kinds of compound fertilizers (Stanley, Woft, Sakefu) were selected as the research objects. The fertilizer particles were regarded as spheres with a diameter of 3.56 mm. The average density of the three fertilizers was 1461 kg/m3. The results showed that when the cone angle of the distributor cap was 120° and the diameter of the bellows was 80 mm, the flow and uniformity of the air–fertilizer two-phase flow in the fertilizer distribution device were optimal. The distribution device is shown in Figure 15.
Figure 15.
Structural schematic of a pneumatic centralized fertilizer distribution device. 1. Ripple pipe. 2. Distributor shell. 3. Fertilizer outlet. 4. Distributor cap.
To determine the optimal combination of key parameters for distributors, YATSKUL et al. [72] carried out theoretical analysis and experimental research on the pneumatic conveying system of a pneumatic centralized seeding machine. Their research showed that three parameters affected the conveying performance of the materials in the pipeline, namely wind speed, material concentration and pipe diameter, and that the geometric shape and structural parameters of the distribution device were among the most critical aspects of the conveying system. By comparing several commonly used outlet pipe diameter parameters, the optimal outlet pipe diameter of the distributor was determined.
Reich et al. [73] invented a pneumatic distribution device, as shown in Figure 16, which achieved the uniform distribution and efficient utilization of granular materials through clever design and technological innovation. This device utilizes aerodynamics to achieve uniform distribution and efficient utilization of particle materials, cleverly combining pneumatic conveying and distribution technology to improve the uniformity of particle material distribution.
Figure 16.
Schematic diagram of a pneumatic distribution device structure.
Mudarisov et al. [74] numerically simulated the air–solid two-phase flow in a pneumatic centralized seeder distribution system, which provided a reference for studying and improving the structural parameters of pneumatic centralized distribution systems.
Wang et al. [75] invented a pneumatic centralized spatial layered fertilization device which achieved the uniform distribution and efficient utilization of fertilizers through clever design and technological innovation. The distributor of this device is one of its core components, consisting of a distributor housing and a distributor conical cap. The design of the distributor housing takes into account the fluidity and distribution requirements of the fertilizer, while the conical cap guides and controls the flow path of the fertilizer through its unique shape and structure.
Kirchmayr et al. [76] invented a distributor head for a fertilizer applicator, as shown in Figure 17. The design of the distributor head is very clever. It combines pneumatic distribution elements, blocking elements, and return devices, which can solve the problem of blockage during material transportation, achieve the efficient and precise control of granular fertilizers, and improve the uniformity of fertilizer distribution.
Figure 17.
Schematic diagram of a distributor head structure. 7. Pipe. 8. Distributor head. 13. Distributor chamber. 14. Outlet. 15. Distributor body. 16. Distributor chamber base. 17. Bypass opening. 18. Closure elements. 20. Funnel. 21. Nozzle element. 20o. The upper rim of the funnel. 20u. The lower rim of the funnel.
Bourges et al. [77] determined the minimum velocity of the air–solid mixed flow in a distribution device by carrying out a numerical analysis of the flow characteristics of the air–solid mixed flow in the distribution device. Zhang et al. [78] designed a pneumatic distribution system. Through a CFD simulation analysis and theoretical research, it was concluded that when the pipe diameter was 50 mm, the corrugated length was 16 mm, the cone angle of the distributor outer cover was 120°, and the corrugated pipe angle was 90°, the distribution system had the best distribution effect. Hu et al. [79] studied the influence of different structural and working parameters of a distribution device on the seed motion characteristics and airflow field, and they determined the optimal diameter–height ratio, inner cone angle and streamline structure of the distributor.
Brüggemann et al. [80] invented a distribution device which can realize the rapid and accurate transportation of granular fertilizer under the action of high-speed airflow and improve the transportation efficiency of fertilizer. Horsch et al. [81] invented a distribution device that can switch between single-row and multi-row fertilization. This flexibility allows the distribution device to adapt to a variety of different operating scenarios and improves the accuracy and reliability of fertilization. Pirkenseer et al. [82] invented a distribution device, as shown in Figure 18, which achieves the efficient and uniform distribution of fertilizers by skillfully using the design of airflow and distribution head. The core component of this distribution device is a circular distribution head, which is surrounded by multiple outlets. In the manifold head, a central manifold air volume flow is converted into multiple manifold part air volume flow according to the number of outlets, improving the uniformity of fertilizer distribution and ensuring the consistency of each row displacement.
Figure 18.
Schematic diagram of a distribution device structure: (a) overall structural diagram; (b) partial structure diagram.
In summary, the structural forms of distribution devices mainly include flat-topped, cone-topped and dome-topped forms, among which the dome-topped form is the most widely used [83,84,85,86,87]. Corrugated pipes are often used at the inlet of the distributor to increase the mixing uniformity of the air–solid two-phase flow [88]. The internal structure, key parameters and distribution mode of the distribution device have a great influence on the uniformity and accuracy of fertilizer distribution. It is of great significance to study the different structures and working parameters of the distribution device to improve the uniformity of fertilizer distribution and the consistency of row displacement [89,90,91].
6. Conclusions
The mechanical structure design and working principle of a pneumatic centralized fertilizer discharge system, as the core part of pneumatic fertilization machinery, play a decisive role in the fertilization effect and equipment performance. The conveying performance of fertilizer particles in the pipeline of a pneumatic centralized fertilizer discharge system is affected by many parameters, mainly including the particle size, the density and shape of fertilizer particles, the airflow pressure, velocity and temperature, the pipeline diameter, length, bending, and branching, and other key parameters. A pneumatic centralized fertilizer discharge system mainly includes a fertilizer discharge device, an air–fertilizer mixing device and a pneumatic distribution device. This paper comprehensively analyzes the research progress made in pneumatic centralized fertilizer discharge systems at home and abroad, including the mechanical structure, key parameters and research methods of fertilizer discharge devices, air–fertilizer mixing devices and pneumatic distribution devices. Through comparative analysis, the advantages and disadvantages of the existing devices are summarized, and the existing problems and improvement directions are pointed out. The mechanical structure and existing problems of the key components of pneumatic centralized fertilizer systems are discussed in depth from the following perspectives:
(1) There are three main types of fertilizer discharge devices, namely the external groove wheel type, the spiral type, and the double tooth wheel type. Among these, external groove wheel-type and spiral-type fertilizer discharge devices are the most widely used. External groove wheel fertilizer discharge devices have the characteristics of a simple structure and convenient operation, with the main types including the straight groove, inclined groove, staggered groove and other types. The straight groove structure is simple, but there are problems with fertilization breakage and fluctuation in the fertilization amount. An inclined groove drives the fertilizer to be discharged through continuous spiral rotation, which can increase the uniformity of fertilization, but the rate of fertilizer particle damage is high. A staggered straight groove can effectively avoid the phenomenon of discontinuous and pulsating fertilizer discharge and improve the uniformity of fertilization. A spiral fertilizer discharge device has a simple structure, convenient operation, and is suitable for granular fertilizers with good fluidity. Spiral fertilizer discharge devices mainly include the spiral combination type, the oblique spiral type, the staggered symmetric spiral groove type, and other types. Spiral combination fertilizer discharge devices distribute a large amount of fertilizer with good uniformity, but their structure is complex and not suitable for fertilizers with a high powder content. The oblique spiral type is suitable for dry and loose fertilizers, with good fertilizer discharge performance, but is not suitable for fertilizers with strong moisture absorption. The staggered symmetric spiral groove reduces the filling rate of the gaps in the spiral blades, avoids the overfilling of fertilizer, and has the characteristics of uniform fertilizer discharge, less clogging, and a strong adaptability to fertilizer.
(2) The air–fertilizer mixing device usually adopts the Venturi tube structure design to realize the mixing and transportation of air–solid two-phase flow. In the air–fertilizer mixing device, the air–solid two-phase flow involves a variety of motion mechanisms, including collision between solid particles, friction and resistance between particles and airflow and the suspension and diffusion of particles. The interaction of these mechanisms leads to the complex trajectories and distribution of granular fertilizers in the mixing device. The structural parameters of the air–fertilizer mixing device not only affect the motion characteristics of the fertilizer particles and the uniformity of the air–fertilizer mixing, but also affect the overall pressure loss of the pneumatic centralized fertilizer discharge system. The key parameters of the air–fertilizer mixing device mainly include the mechanical structure design parameters and working parameters. The mechanical structural design parameters mainly include the structural form of the air–fertilizer mixing chamber, the contraction angle of the nozzle port, the throat section structure, the throat length, etc. The working parameters mainly include airflow velocity, fertilizer emission velocity, working environment temperature and so on. Designing the appropriate internal mechanical structure of the air–fertilizer mixing device and determining the optimal structural and working parameters are essential to ensuring the continuity and smoothness of fertilizer discharge and reducing energy loss.
(3) The structural forms of pneumatic distribution devices are mainly flat-topped, cone-topped, and dome-topped, among which the dome-topped form is the most widely used. Flat-topped distribution devices have a simple structure and low cost, but the distribution uniformity is poor. Due to the structural characteristics of flat-topped distribution device, it may be difficult to ensure the uniform distribution of fertilizer in some specific cases. Especially, in the treatment of fertilizers with different particle sizes, shapes or densities, the distribution uniformity may be greatly affected. Cone-topped distribution devices have a tapered structure that gradually shrinks, which helps to guide the material to the outlet of the distribution device, thereby improving the fluidity of the material. Dome-type distribution devices can adapt to granular fertilizers with different particle sizes, shapes and densities. By accurately controlling the inlet pressure and airflow velocity of dome-type distribution devices, the precise control of the fertilizer flow can be achieved.
7. Future Research Directions
In recent years, the technology of pneumatic centralized fertilizer discharge has developed rapidly. A large number of scholars at home and abroad have designed and improved the structure of the traditional pneumatic centralized fertilizer discharge system according to the characteristics of granular fertilizer, with strong hygroscopicity, cohesiveness, overhead and fluidity deviation. However, the research on the pneumatic centralized fertilizer discharge system in China started late, and the uniformity and stability of the fertilizer discharge system still need to be improved. In the future, theoretical innovation and technological breakthroughs can be explored from the following perspectives:
(1) The structure of a fertilizer discharge device has poor adaptability to granular fertilizers. Due to the irregular shape and size of granular fertilizers, in a fertilizer discharge device, the crushing and uneven distribution of granular fertilizer can easily occur in the process of fertilizer discharge. At present, the structure of fertilizer dischargers is mostly designed according to the structural size of the fertilizer, and the adaptability is poor. Thus, it is necessary to continue to optimize the mechanical structure and key parameters of fertilizer discharge devices.
(2) In air–fertilizer mixing devices, there are problems such as fertilizer backflow at the fertilizer outlet, uneven velocity distribution, accumulation and blockage of fertilizer particles. In the future, it is necessary to continue to optimize the internal mechanical structure of the air–fertilizer mixing chamber and determine the optimal combination of key parameters, such as the contraction angle of the nozzle port, the throat section structure, and the throat length of the air–fertilizer mixing device.
(3) At present, domestic and foreign researchers are using CFD-DEM coupled simulation methods to study the flow characteristics of fertilizer particles in pneumatic centralized fertilizer discharge systems in order to simplify the fertilizer particles into a single diameter spherical model. Although this simplification assumption is convenient for calculation and analysis, it ignores the actual situation of irregular shape and size of fertilizer particles, which may lead to deviations between simulation results and actual situations. In future research, multiple sizes of fertilizer particle simulation models should be set up according to the actual proportions to more accurately reflect the distribution and flow status of fertilizer particles in the system. In addition to size differences, the shape of fertilizer particles is also an important factor affecting their flow characteristics. Future research can attempt to establish irregularly shaped fertilizer particle models to more comprehensively consider the influence of fertilizer particle shape on flow characteristics.
(4) Because granular fertilizer has certain hygroscopicity and cohesiveness, adherence easily occurs between the particles, which leads to the blockage of the fertilizer in the pneumatic distribution device and affects distribution uniformity. Due to the evenness of the ground, the fertilizer applicator vibrates and deviates when walking, resulting in the pneumatic centralized fertilizer discharge system applying fertilizer unevenly to each row, and there are problems such as more fertilization, less fertilization and missed fertilization. When the device is tilted, there are problems such as uneven fertilizer distribution and poor consistency in each row in the pneumatic distribution device. In the future, developments regarding automation and intelligence can be targeted in order to keep the pneumatic distribution device level throughout the work engineering. In the future, intelligent pneumatic centralized fertilization systems can be developed, which can enable the fertilization system to apply fertilizer quantitatively based on the growth status of crops and the walking speed variables of the fertilization machine.
Author Contributions
Conceptualization, L.Z. and W.Y.; methodology, L.Z. and G.L.; validation, W.Y., C.J., Y.F. and Y.H.; investigation, L.Z. and G.L.; writing—original draft preparation, L.Z.; writing—review and editing, L.Z. and G.L.; visualization, L.Z. and W.Y.; supervision, W.Y., C.J., Y.F. and Y.H. All authors have read and agreed to the published version of the manuscript.
Funding
This research was funded by the Agricultural Science and Technology Innovation Program (Grant No. CAAS-ZDRW202202).
Institutional Review Board Statement
Not applicable.
Informed Consent Statement
Not applicable.
Data Availability Statement
The original contributions presented in the study are included in the article, further inquiries can be directed to the corresponding authors.
Acknowledgments
The authors thank the editor and anonymous reviewers for providing helpful suggestions for improving the quality of this manuscript.
Conflicts of Interest
The authors declare no conflicts of interest.
References
- Zou, Y.; Fan, J. Review on Effect of Organic Fertilizer on Soil Fertility. Chin. Agric. Sci. Bull. 2013, 29, 12–16. [Google Scholar]
- Zhang, X.; Pei, Y.; Chen, Y.; Song, Q.; Zhou, P.; Xia, Y.; Liu, X. The Design and Experiment of Vertical Variable Cavity Base Fertilizer Fertilizing Apparatus. Agriculture 2022, 12, 1793. [Google Scholar] [CrossRef]
- Zhao, X.; Li, F.; Li, F.; Yuan, H.; Zhao, W. Study on Air-blowing Centralized Fertilizer Distributor. Agric. Technol. 2021, 41, 61–63. [Google Scholar]
- Yu, X.; Geng, D.; Du, R.; Jin, C.; Yang, S.; Lu, X. Design and Experiment of Wheat Planter by Pneumatic Conveying with No-tillage. Trans. Chin. Soc. Agric. Mach. 2018, 49, 141–148. [Google Scholar]
- Xing, H.; Zang, Y.; Wang, Z.; Luo, X.; Pei, J.; He, S.; Xu, P.; Liu, S. Design and parameter optimization of rice pneumatic seeding metering device with adjustable seeding rate. Trans. Chin. Soc. Agric. Eng. 2019, 35, 20–28. [Google Scholar]
- Xing, H.; Zhang, G.; Han, Y.; Gao, Y.; Zha, X. Development and experiment of double cavity pneumatic rice precision direct seeder. Trans. Chin. Soc. Agric. Eng. 2020, 36, 29–37. [Google Scholar]
- Chang, J.; Zhang, X. Design and test of one-step centralized type pneumatic seeding system. Trans. Chin. Soc. Agric. Eng. 2011, 27, 136–141. [Google Scholar]
- Wang, L. Design and Experiment on Broad Width and High-Speed Air-Assisted Planter for Rapeseed and Wheat. Ph.D. Thesis, Huazhong Agricultural University, Wuhan, China, 2021. [Google Scholar]
- Cha, X. Design and Experiment Research on Centralized Pneumatic Synchronous Deep Precision Fertilizer Applicator for Rice Transplanter. Ph.D. Thesis, Huazhong Agricultural University, Wuhan, China, 2021. [Google Scholar]
- Li, Z.; Wang, D.; Liu, G.; Yang, M.; Wang, Z. CFD Simulation and Improvement of Air-stream Distributive Metering Device. Trans. Chin. Soc. Agric. Mach. 2009, 40, 64–68. [Google Scholar]
- Qi, X. Actuator Design and Experiment of Pneumatic Variable-Rate Fertilizer Applicator for Topdressing in Rice Production. Master’s Thesis, South China Agricultural University, Guangzhou, China, 2017. [Google Scholar]
- Yang, Q.; Wang, Q.; Li, H.; He, J.; Lu, C.; Wang, Y.; Yu, C. Structural optimization and experiment of pneumatic centralized fertilizer system. Trans. Chin. Soc. Agric. Eng. 2020, 36, 1–10. [Google Scholar]
- Yang, C. Study on Variable Rate Fertilization Control System of Pneumatic Topdressing Machine for Paddy Field. Master’s Thesis, South China Agricultural University, Guangzhou, China, 2017. [Google Scholar]
- Liu, D. Design and Experiment of Pneumatic Double-Side Fertilizer Device for Ratoon Rice. Master’s Thesis, Huazhong Agricultural University, Wuhan, China, 2020. [Google Scholar]
- Zheng, Z. Stratified Fertilization System with Airflow for Rice Direct Seeding Machine. Master’s Thesis, South China Agricultural University, Guangzhou, China, 2018. [Google Scholar]
- Zha, X.; Zhang, G.; Zhang, S.; Hou, Q.; Wang, Y.; Zhou, Y. Design and experiment of centralized pneumatic deep precision fertilization device for rice transplanter. Int. J. Agric. Biol. Eng. 2020, 13, 109–117. [Google Scholar] [CrossRef]
- Qi, X.; Zhou, Z.; Yang, C.; Luo, X.; Gu, X.; Zang, Y.; Liu, W. Design and experiment of key parts of pneumatic variable-rate fertilizer applicator for rice production. Trans. Chin. Soc. Agric. Eng. 2016, 32, 20–26. [Google Scholar]
- Lin, J. Research on the Flow Property in the Pneumatic Conveying System. Ph.D. Thesis, Zhejiang University, Hangzhou, China, 2004. [Google Scholar]
- Li, T.; Gong, J.; Zheng, M.; Li, Y.; Yang, Z.; Zou, H.; Guo, J.; Deng, X.; Ren, W.; Hu, J.; et al. Design and experiment of air-assisted centralized fertilization system. J. Chin. Agric. Univ. 2023, 28, 206–218. [Google Scholar]
- Zeng, J. Design and Experimental Study on Pneumatic Fertilizer Deep Applicator for Paddy Field. Master’s Thesis, Shenyang Agricultural University, Shenyang, China, 2019. [Google Scholar]
- Yang, S. Design and Experiment of Pneumatic Wheat Seed Metering System. Master’s Thesis, Northwest A&F University, Xi’an, China, 2022. [Google Scholar]
- Zhao, Z. Design and Experiment of Air Blowing Anti-Blocking Soybean No-Tillage Planter. Master’s Thesis, Anhui Agricultural University, Hefei, China, 2020. [Google Scholar]
- Zuo, X. Design and Experimental Study of Air-Assisted Rice Side Deep Precision Fertilization Device. Master’s Thesis, Northwest A&F University, Xi’an, China, 2016. [Google Scholar]
- Yang, W.; Fang, L.; Luo, X.; Li, H.; Ye, Y.; Liang, Z. Experimental study of the effects of discharge port parameters on the fertilizing performance for fertilizer distribution apparatus with screw. Trans. Chin. Soc. Agric. Eng. 2020, 36, 1–8. [Google Scholar]
- Lei, X.; Li, M.; Zhang, L.; Ren, W. Design and experiment of horizontal pneumatic screw combination adjustable quantitative fertilizer feeding device for granular fertilizer. Trans. Chin. Soc. Agric. Eng. 2018, 34, 9–18. [Google Scholar]
- Du, X.; Liu, C.; Jiang, M.; Yuan, H.; Dai, L.; Li, F. Design and Experiment of Inclined Trapezoidal Hole Fertilizer Point-applied Discharging Device. Trans. Chin. Soc. Agric. Mach. 2021, 52, 43–53. [Google Scholar]
- Dun, G.; Yu, C.; Guo, Y.; Ji, W.; Islam, K.R.; Du, J. Design and Experiment of Double-gear Type Fertilizer Apparatus. Trans. Chin. Soc. Agric. Mach. 2020, 51, 87–96. [Google Scholar]
- Liu, H.; Li, T.; Zhao, H.; Li, J.; Lei, X.; Ren, W. Design and Experiment of Screw-type Feeding Device of Air- assisted centralized fertilizer application device. J. Chin. Agric. Univ. 2021, 26, 150–161. [Google Scholar]
- Chen, X.; Luo, X.; Wang, Z.; Zhang, M.; Hu, L.; Yang, W.; Zeng, S.; Ying, Z.; Wei, H.; Zheng, L. Design and experiment of fertilizer distribution apparatus with double-level screws. Trans. Chin. Soc. Agric. Eng. 2015, 31, 10–16. [Google Scholar]
- Zhang, L.; Zhang, L.; Zheng, W. Fertilizer Feeding Mechanism and Experimental Study of a Spiral Grooved-Wheel Fertilizer Feeder. J. Eng. Sci. Technol. Rev. 2018, 11, 107–115. [Google Scholar]
- Wang, J.; Fu, Z.; Weng, W.; Wang, Z.; Wang, J.; Yang, D. Design and Experiment of Conical-disc Push Plate Double-row Fertilizer Apparatus for Side-deep Fertilization in Paddy Field. Trans. Chin. Soc. Agric. Mach. 2023, 54, 53–62+106. [Google Scholar]
- Bangura, K.; Gong, H.; Deng, R.; Tao, M.; Liu, C.; Cai, Y.; Liao, K.; Liu, J.; Qi, L. Simulation analysis of fertilizer discharge process using the Discrete Element Method (DEM). PLoS ONE 2020, 15, e235872. [Google Scholar] [CrossRef]
- Gao, X.; Zhao, P.; Li, J.; Xu, Y.; Huang, Y.; Wang, L. Design and Experiment of Quantitative Seed Feeding Wheel of Air-Assisted High-Speed Precision Seed Metering Device. Agriculture 2022, 12, 1951. [Google Scholar] [CrossRef]
- Song, X.; Dai, F.; Zhang, X.; Gao, W.; Li, X.; Zhang, F.; Zhao, W. Simulation and Experiment of Fertilizer Discharge Characteristics of Spiral Grooved Wheel with Different Working Parameters. Sustainability 2023, 15, 11309. [Google Scholar] [CrossRef]
- Sugirbay, A.; Zhao, K.; Liu, G.; Nukeshev, S.; Chen, J.; Hu, G.; Bu, L.; Chen, Y.; Jin, H.; Zhang, S.; et al. Investigation of the pin-roller metering device and tube effect for wheat seeds and granular fertilizers based on DEM. Int. J. Agric. Biol. Eng. 2023, 16, 103–114. [Google Scholar]
- Dun, G.; Wu, X.; Ji, X.; Ji, W.; Ma, H. Optimization Design and Experiment of Oblique Opening Spiral Precision Control Fertilizer Apparatus. Trans. Chin. Soc. Agric. Mach. 2023, 54, 167–174. [Google Scholar]
- Gao, G. Design and Experiment of Key Parts of Side-Depth Fertilizer Device with Pneumatic Conveying for Paddy. Master’s Thesis, Northeast Agricultural University, Harbin, China, 2019. [Google Scholar]
- Liu, X.; Hu, R.; Wang, D.; Bang, L.; Wang, W.; Ding, Y. Optimization and Test of Fertilizer Apparatus Based on Granular Fertilizer Movement Model. Trans. Chin. Soc. Agric. Mach. 2021, 52, 85–95. [Google Scholar]
- Lv, J.; Wang, Z.; Sun, X.; Li, Z.; Guo, Z. Design and Experimental Study of Feed Screw Potato Planter Propulsion. J. Agric. Mech. Res. 2015, 194–196, 200. [Google Scholar]
- Zheng, J.; Wang, X.; Wei, Q.; Fu, X.; Li, G. Research and Experiment on a Two-Stage Spiral Precision Variable Auto-Targeting Remote Fertilization Device. J. Southwest Univ. (Nat. Sci. Ed.) 2024, 46, 174–188. [Google Scholar]
- Dai, Y.; Luo, X.; Zhang, M.; Lan, F.; Zhou, Y.; Wang, Z. Design and experiments of the key components for centralized pneumatic rice dry direct seeding machine. Trans. Chin. Soc. Agric. Eng. 2020, 36, 1–8. [Google Scholar]
- Wang, J.; Liu, Y.; Weng, W.; Wang, J.; Fu, Z.; Wang, Z. Design and Experiment of Chute Rotary Side Deep Fertilizing Device in Paddy Field. Trans. Chin. Soc. Agric. Mach. 2022, 53, 76–85. [Google Scholar]
- Wang, J.; Gao, G.; Weng, W.; Wang, J.; Yan, D.; Chen, W. Design and Experiment of Key Components of Side Deep Fertilization Device for Paddy Field. Trans. Chin. Soc. Agric. Mach. 2018, 49, 92–104. [Google Scholar]
- Dun, G.; Liu, W.; Du, J.; Zhou, C.; Mao, N.; Ji, W. Optimal Design and Experiment of Arc-groove Double-spiral Fertilizer Discharge Device. Trans. Chin. Soc. Agric. Mach. 2022, 53, 118–125+174. [Google Scholar]
- Zhang, J.; Liu, G.; Hu, H.; Huang, J.; Liu, Y. Influence of Control Sequence of Spiral Fluted Roller Fertilizer Distributer on Fertilization Performance. Trans. Chin. Soc. Agric. Mach. 2020, 51, 137–144. [Google Scholar]
- Zhu, Q.; Wu, G.; Chen, L.; Zhao, C.; Meng, Z. Influences of structure parameters of straight flute wheel on fertilizing performance of fertilizer apparatus. Trans. Chin. Soc. Agric. Eng. 2018, 34, 12–20. [Google Scholar]
- Wen, F.; Wang, H.; Zhou, L.; Zhu, Q. Optimal design and experimental research on the spiral groove wheel fertilizer apparatus. Sci. Rep. 2024, 14, 510. [Google Scholar] [CrossRef]
- Yan, Y.; Zhao, Q.; Wang, R.; Han, S.; Song, Z.; Tian, F. Discrete Element Analysis and Optimization Design of Collision Blending for Four Flute-wheels Fertilizer. Trans. Chin. Soc. Agric. Mach. 2023, 54, 49–59. [Google Scholar]
- Gao, W.; Yang, X.; Ni, P.; Tan, Y.; Zhao, J. Simulation Experiment and Research on the Crushing Effect of Spiral Groove Wheel Fertilizer Feeder on Fertilizer Blocks. Hebei Agric. Mach. 2023, 9–14. [Google Scholar] [CrossRef]
- Song, C.; Zhou, Z.; Wang, G.; Wang, X.; Zang, Y. Optimization of the groove wheel structural parameters of UAV-based fertilizer apparatus. Trans. Chin. Soc. Agric. Eng. 2021, 37, 1–10. [Google Scholar]
- Liang, Y.; Tang, Z.; Ji, C.; Zheng, X.; Liu, J.; Li, Q.; Zhang, L. Optimization and Experiment of Structural Parameters of Outer Groove Wheel Fertilizer Drainer. J. Agric. Mech. Res 2023, 45, 7–14. [Google Scholar]
- Zhang, X. Optimization Design and Key Working Parameters of External Trough Wheel Type Fertilizer Effect on Fertilizer Performance. Master’s Thesis, Nanjing Agricultural University, Nanjing, China, 2019. [Google Scholar]
- Li, D. An Improved Design of Outer Grooved Wheel Fertilizer Discharger. Farm Mach. 2021, 86–87. [Google Scholar] [CrossRef]
- Qi, X.; Zhou, Z.; Lin, S.; Xu, L. Design of Fertilizer Spraying Device of Pneumatic Variable-rate Fertilizer Applicator for Rice Production. Trans. Chin. Soc. Agric. Mach. 2018, 49, 164–170. [Google Scholar]
- Zhu, Q. Study on Inclined Fluted Roller Fertilizer Distributor. Master’s Thesis, South China Agricultural University, Guangzhou, China, 2017. [Google Scholar]
- Hu, C.; Fang, X.; Shi, Y. Design and test of pneumatic fertilizer apparatus in paddy field. J. Chin. Agric. Mech. 2022, 43, 14–19+32. [Google Scholar]
- Li, L.; Meng, Z.; Wang, X.; An, X.; Wang, P.; Wu, G. Simulation Analysis of Gas-Solid Two Phase Flow in Pneumatic Conveying Fertilizer Feeder of Rice Fertilizer Applicator. Trans. Chin. Soc. Agric. Mach. 2018, 49, 171–180. [Google Scholar]
- Gao, X.; Xu, Y.; Yang, L.; Zhang, D.; Li, Y.; Cui, T. Simulation and Experiment of Uniformity of Venturi Feeding Tube Based on DEM-CFD Coupling. Trans. Chin. Soc. Agric. Mach. 2018, 49, 92–100. [Google Scholar]
- Jia, H.; Tan, H.; Wen, X.; Wang, G.; Yuan, H.; Huang, D. Design and Experiment of Pneumatic Aggregate and Discharge Precision Fertilizer Mixing Device. Trans. Chin. Soc. Agric. Mach. 2022, 53, 109–119. [Google Scholar]
- Zhang, J. Design and Experiment of Variable Rate Fertilization Control Device for Venturi Injector. Master’s Thesis, Kunming University of Science and Technology, Kunming, China, 2018. [Google Scholar]
- Ma, H.; Zhao, C.; Yang, S.; Li, S.; Sun, X.; Zhai, C. Research on a new-designed Venturi ejector and dazomet particle motion characteristics for dilute-phase pneumatic conveying systems based on CFD-DEM. Comput. Electron. Agric. 2023, 213, 108240. [Google Scholar] [CrossRef]
- Lei, X.L.; Liao, Y.T.; Liao, Q.X. Simulation of seed motion in seed feeding device with DEM-CFD coupling approach for rapeseed and wheat. Comput. Electron. Agric. 2016, 131, 29–39. [Google Scholar] [CrossRef]
- Li, Y.; Zhang, W.; Hu, J. Comparative Study on the Theoretical Design and Numerical Simulation of Venturi Feeder. Mech. Electron. 2017, 35, 15–18. [Google Scholar]
- Wang, L.; Jin, X.; Chen, B.; Li, C.; Sun, S. Research on Key Technology of Precision Mixed Fertilization. Agric. Technol. Equip. 2019, 45, 14–16. [Google Scholar]
- Khasanov, E.; Khamaletdinov, R.; Mudarisov, S.; Shirokov, D.; Akhunov, R. Optimization parameters of the spiral mixing chamber of the device for pre-sowing seed treatment with biological preparations. Comput. Electron. Agric. 2020, 173, 105437. [Google Scholar] [CrossRef]
- Cheng, B. Design and Test of Key Components of Fertilization System of Pneumatic Distribution Rapeseed Direct-Seeder. Master’s Thesis, Nanjing Agricultural University, Nanjing, China, 2020. [Google Scholar]
- Wang, L.; Liao, Y.; Wan, X.; Wang, B.; Hu, Q.; Liao, Q. Design and Test on Distributor Device of Air-assisted Centralized Metering Device for Rapeseed and Wheat. Trans. Chin. Soc. Agric. Mach. 2022, 53, 68–79. [Google Scholar]
- Ma, W.; You, Y.; Wang, D.; Huan, X.; Zhu, L. Optimal Design and Experiment of Pneumatic and Pneumatic Collecting and Discharging System of Alfalfa Cut-root Reseeding and Fertilizer Applicator. Trans. Chin. Soc. Agric. Mach. 2021, 52, 70–78. [Google Scholar]
- Dai, Y. Design and Experiment of Centralized Pneumatic Rice Drilling Machine for Dry Land. Ph.D. Thesis, South China Agricultural University, Guangzhou, China, 2018. [Google Scholar]
- Yang, Q.; Wang, Q.; Li, H.; He, J.; Lu, C.; Yu, C.; Lou, S.; Wang, Y. Development of layered fertilizer amount adjustment device of pneumatic centralized variable fertilizer system. Trans. Chin. Soc. Agric. Eng. 2020, 36, 1–10. [Google Scholar]
- Yang, Q.; Li, Z.; Li, H.; He, J.; Wang, Q.; Lu, C. Numerical Analysis of Particle Motion in Pneumatic Centralized Fertilizer Distribution Device Based on CFD-DEM. Trans. Chin. Soc. Agric. Eng. 2019, 50, 81–89. [Google Scholar]
- Yatskul, A.; Lemiere, J. Establishing the conveying parameters required for the air-seeders. Biosyst. Eng. 2018, 166, 1–12. [Google Scholar] [CrossRef]
- Reich, A.A.; Gelinske, J.N.; Batcheller, B.D. Air Seeder Manifold System. U.S. Patent US20170156258A1, 8 June 2017. [Google Scholar]
- Mudarisov, S.; Badretdinov, I.; Rakhimov, Z.; Lukmanov, R.; Nurullin, E. Numerical simulation of two-phase “Air-Seed” flow in the distribution system of the grain seeder. Comput. Electron. Agric. 2020, 168, 105151. [Google Scholar] [CrossRef]
- Wang, Q.; Yang, Q.; Li, H.; He, J.; Lu, C.; Wang, S.; Mao, N. Pneumatic Gathering and Discharging Spatial Layered Fertilization Device. Chinese Patent CN109526317A, 29 March 2019. [Google Scholar]
- Kirchmayr, A.; Preimess, H.; Stadlbauer, F. Distribution Head for a Sowing or Fertilising Machine. Spanish Patent EP13002920.0A, 6 June 2013. [Google Scholar]
- Bourges, G.; Eliach, J.J.; Medina, M.A. Numerical evaluation of a seed distributor head for air seeders. Chem. Eng. Trans. 2017, 58, 571–576. [Google Scholar]
- Zhang, X.; Wang, Y.; Zhang, L.; Peng, C.; Fan, G. Design and Experiment of Wheat Pneumatic Centralized Seeding Distributing System. Trans. Chin. Soc. Agric. Mach. 2018, 49, 59–67. [Google Scholar]
- Hu, H.; Zhou, Z.; Wu, W.; Yang, W.; Li, T.; Chang, C.; Ren, W.; Lei, X. Distribution characteristics and parameter optimisation of an air-assisted centralised seed-metering device for rapeseed using a CFD-DEM coupled simulation. Biosyst. Eng. 2021, 208, 246–259. [Google Scholar] [CrossRef]
- Brüggemann, K.; Wilken, M.; Schröder, O. Agricultural Pneumatic Distributor. European Patent EP20100401011, 19 January 2010. [Google Scholar]
- Horsch, P. Agricultural Distributor and Method for Individual Row and Group Control of Such an Agricultural Distributor. European Patent EP18213737.2A, 18 December 2018. [Google Scholar]
- Pirkenseer, M. Distribution Head for Agricultural Distribution Machine and Method for Row Deactivation at Such Distribution Head. European Patent EP19216995.1A, 27 September 2016. [Google Scholar]
- Li, Z.; Zhang, H.; Xie, R.; Gu, X.; Du, J.; Chen, Y. Evaluation on the Performance of Airflow Distribution Device of Pneumatic Seeder for Rapeseed through CFD Simulations. Agriculture 2022, 12, 1781. [Google Scholar] [CrossRef]
- Lei, X.; Hu, H.; Yang, W.; Liu, L.; Liao, Q.; Ren, W. Seeding performance of air-assisted centralized seed-metering device for rapeseed. Int. J. Agric. Biol. Eng. 2021, 14, 79–87. [Google Scholar] [CrossRef]
- Ednach, V.; Romanyuk, N.; Ageichik, V.; Kalimullin, M.; Orekhovskaya, A.; Klyosov, D.; Smelik, V. Development of the design and justification of the parameters of the distribution head of the pneumatic fertilizer seeder. Am. Inst. Phys. Conf. Ser. 2022, 2467, 30009. [Google Scholar]
- Gierz, L.; Markowski, P.; Choszcz, D.; Wojcieszak, D. Effect of using deflector in the distributor head of a pneumatic seed drill on the oat seed sowing unevenness. Sci. Rep. 2023, 13, 15471. [Google Scholar] [CrossRef] [PubMed]
- Kravtsov, A.; Konovalov, V.; Zaitsev, V.; Petrov, A.; Petrova, S. Results of seeder pneumatic system distributor and aero-product stream flow in the pipeline numerical studies. In Proceedings of the 6th International Conference on Agriproducts Processing and Farming, IOP Conference Series: Earth and Environmental Science, Voronezh, Russia, 17–18 October 2019. [Google Scholar]
- Li, F. Design and Experimental Study of Gas Blowing and Discharge Fertilizer Separator. Master’s Thesis, Jilin Agricultural University, Changchun, China, 2021. [Google Scholar]
- Yuan, W.; Ji, C.; Liu, Z.; Jin, C.; Feng, Y. Influencing Factors of the Distribution Accuracy and the Optimal Parameters of a Pneumatic Fertilization Distributor in a Fertilizer Applicator. Agronomy 2022, 12, 2222. [Google Scholar] [CrossRef]
- Cheng, B.; He, R.; Xu, Y.; Zhang, X. Simulation Analysis and Test of Pneumatic Distribution Fertilizer Discharge System. Agronomy 2022, 12, 2282. [Google Scholar] [CrossRef]
- Sun, X.; Niu, L.; Cai, M.; Liu, Z.; Wang, Z.; Wang, J. Particle motion analysis and performance investigation of a fertilizer discharge device with helical staggered groove wheel. Comput. Electron. Agric. 2023, 213, 108241. [Google Scholar] [CrossRef]
Disclaimer/Publisher’s Note: The statements, opinions and data contained in all publications are solely those of the individual author(s) and contributor(s) and not of MDPI and/or the editor(s). MDPI and/or the editor(s) disclaim responsibility for any injury to people or property resulting from any ideas, methods, instructions or products referred to in the content. |
© 2024 by the authors. Licensee MDPI, Basel, Switzerland. This article is an open access article distributed under the terms and conditions of the Creative Commons Attribution (CC BY) license (https://creativecommons.org/licenses/by/4.0/).


