Next Article in Journal
SAITI-DCGAN: Self-Attention Based Deep Convolutional Generative Adversarial Networks for Data Augmentation of Infrared Thermal Images
Previous Article in Journal
Charging Strategies for Electric Vehicles Using a Machine Learning Load Forecasting Approach for Residential Buildings in Canada
 
 
Font Type:
Arial Georgia Verdana
Font Size:
Aa Aa Aa
Line Spacing:
Column Width:
Background:
Article

Integrated Dynamic Analysis of Thin-Walled Beams: Coupled Bidirectional Bending, Torsion, and Axial Vibrations Under Axial Loads

1
College of Hydraulic and Environmental Engineering, China Three Gorges University, Yichang 443002, China
2
Department of Mechanical Engineering, National University of Singapore, Singapore 119077, Singapore
3
Hubei Key Laboratory of Hydropower Engineering Construction and Management, China Three Gorges University, Yichang 443002, China
*
Author to whom correspondence should be addressed.
Appl. Sci. 2024, 14(23), 11390; https://doi.org/10.3390/app142311390
Submission received: 23 October 2024 / Revised: 4 December 2024 / Accepted: 5 December 2024 / Published: 6 December 2024

Abstract

This paper proposes a beam model integrating the Timoshenko beam theory with Vlasov beam theory to capture the coupled behavior of bidirectional bending, torsion, and axial vibration in thin-walled beams subjected to axial loads. Our model incorporates the effects of shear deformation, rotational inertia, and axial loads, offering a comprehensive approach to complex dynamic behaviors. By utilizing Hamilton’s principle, we derived a complete set of coupled dynamic equations and boundary conditions. The highlight of this model is its capacity to accurately predict the dynamic response of thin-walled beams under multifaceted loading conditions, surpassing traditional models by integrating coupled axial vibrations. This research significantly advances the understanding of the dynamic behavior of thin-walled beams, providing a precise analytical tool for structural design and safety assessment. The robustness and accuracy of the proposed model were validated through extensive theoretical analysis and empirical validation, equipping engineers with critical insights to optimize the design of engineering structures subjected to complex dynamic loads.

1. Introduction

Understanding the dynamic behavior of thin-walled beams is fundamental in structural engineering to ensure safety and functionality. Thin-walled beam structures are extensively used across various engineering fields, including bridges, aircraft wings, high-rise buildings, and frame structures. As modern engineering demands advance, these structures frequently encounter complex dynamic loads, including axial loads, torsion, and bending. Traditional beam theories, such as Bernoulli–Euler and Timoshenko, offer reliable predictions for simpler scenarios but often fall short when addressing the coupled behavior of bending, torsion, and axial vibration under axial loads. Over the years, numerous scholars have explored the coupled bending–torsion vibration theory of beams. For instance, Bishop and Price [1] and Banerjee and Williams [2] proposed theories for Timoshenko beams under axial loads. Li et al. [3,4] further studied these theories considering the coupling stiffness of bending and torsion.
However, earlier theories did not account for warping effects. To address this, Bercin and Tanaka [5] included warping effects in their studies. Yaman and Ozdemir [6] investigated the coupled vibration theory of the bidirectional bending and torsion of beams. Li et al. [7,8,9,10,11] examined the coupled bending–torsion vibration problems of Bernoulli–Euler and Timoshenko beams under axial loads and the stochastic vibration and dynamic response of coupled bending–torsion. Li et al. [12] also studied the coupled vibration theory of the bidirectional bending and torsion of Bernoulli–Euler beams under axial loads. Prokic [13] studied the coupled vibration theory of the bidirectional bending and torsion of Timoshenko beams, and later they studied the coupled vibration theory under axial loads as well [14]. Yadav et al. [15] researched the coupled dynamic response of beams under axial loads and the relationship between axial loads and natural frequencies. Jrad et al. [16] studied the coupled bending–torsion vibration theory of Vlasov beams. Burlon and Failla [17] provided a theoretical framework for the coupled dynamic response of the bidirectional bending and torsion of beams. Cai et al. [18] gave analytical solutions for the coupled bending–torsion vibration of simply supported beams.
Despite these advances, most studies have focused primarily on coupled bending–torsion vibration, with limited attention to axial vibration. Banerjee and Ananthapuvirajah [19] proposed a coupled vibration theory of axial and bending vibrations, and then applied this theory to Timoshenko beams [20].
Although traditional beam theories have provided invaluable insight into simplified engineering problems, they are increasingly inadequate for modeling the complex dynamic behavior of modern structures subjected to combined axial, torsional, and bending loads. This paper introduces an advanced beam model that integrates the Timoshenko and Vlasov theories, offering a comprehensive framework capable of capturing the full spectrum of coupled bending, torsion, and axial vibrations under axial loads. By addressing the limitations of earlier approaches, this model delivers unprecedented accuracy in predicting the dynamic responses of thin-walled beams, offering a powerful analytical tool for the design and safety assessment of engineering structures under multifaceted loading conditions.
Utilizing Hamilton’s principle, we derived a comprehensive set of dynamic equations and boundary conditions, incorporating damping effects. Our findings significantly enhance the understanding of the dynamic behavior of thin-walled beams under complex loads, providing a robust analytical tool for structural design and safety assessment. This study also explores the impact of various parameters, such as axial loads, on the natural frequencies of the beams, offering practical guidance for engineering design.
The results presented in this study establish a theoretical and practical foundation for addressing challenges in modern structural engineering, particularly in the design and analysis of thin-walled beam structures subjected to complex dynamic loads. Through rigorous theoretical analysis and extensive empirical validation, we demonstrate the effectiveness and accuracy of the improved Timoshenko–Vlasov beam model in predicting the complex dynamic responses encountered in actual engineering structures.

2. Governing Equations and Boundary Conditions

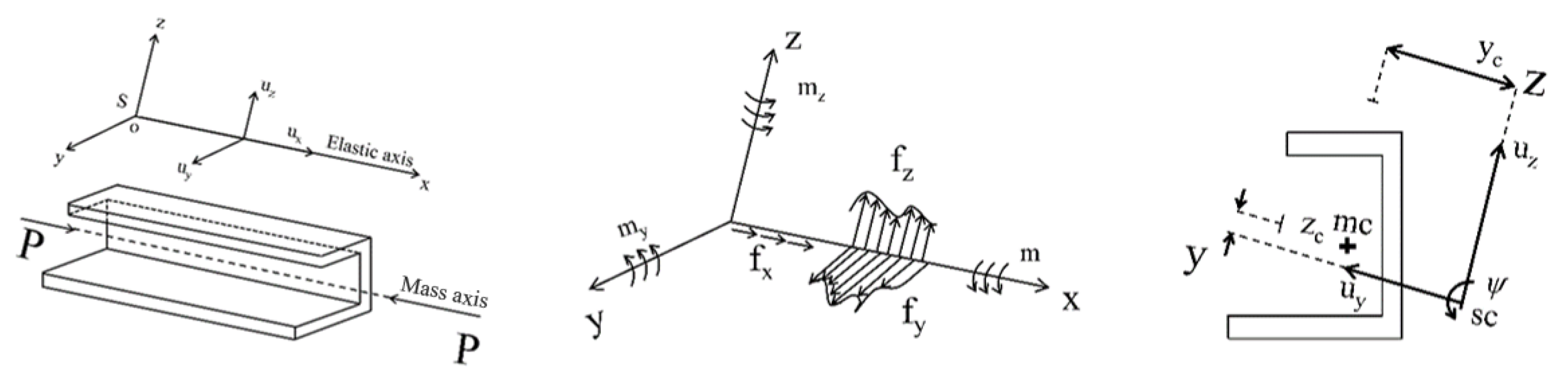
Consider the beam model with coupled bending, torsion, and axial deformation shown in Figure 1. Points SC and MC represent the shear center and the centroid of the beam cross-section, respectively. The distances from the shear center to the z-axis and y-axis are z c and y c , respectively. The cross-section is constant along the beam and is asymmetric. The elastic axis, i.e., the locus of the SCs, is the x axis, while the mass axis, i.e., the locus of the MCs, is at a distance of z c 2 + y c 2 from the elastic axis. Both the z-axis and y-axis were chosen as principal axes for the beam cross-section. When the beam is subjected to dynamic loads, its response characteristics cannot be accurately estimated using the classical Bernoulli–Euler or Timoshenko beam theory. Therefore, it was necessary to establish a calculation method for the dynamic response of the coupled bending–torsion–axial beam. In this analysis, the effects of axial loads, shear deformation, rotational inertia, and warping stiffness were considered.
Let u z ( x , t ) and u y ( x , t ) be the bending deflections in the z-direction and y-direction, and ψ ( x , t ) the torsional rotation about the x-axis of the SCs; let u x ( x , t ) be the axial deformation along the x-axis of the beam, θ y ( x , t ) the cross-sectional rotation due to bending in the y-direction, and θ z ( x , t ) the cross-sectional rotation due to bending in the z-direction. A constant compression axial force P is assumed to act through the centroid of the cross-section of the thin-walled beam. P can be positive or negative, so that tension is included. The excitations that act on the thin-walled beam are represented by the forces f x ( x , t ) , f y ( x , t ) , and f z ( x , t ) per unit length that is parallel to the x-axis, the y-axis, and the z-axis and applied to the shear center, together with a torque m ( x , t ) about the x-axis, bending moment m y ( x , t ) about the y-axis, and bending moment m z ( x , t ) about the z-axis per unit length, respectively (Figure 1).
In the context of small torsion, the classical relationships used in Vlasov’s model [14,16] are straightforward. Firstly, the deformations in three directions are represented by
u X = u x z θ z y θ y ω ψ u Y = u y z ψ u Z = u z + y ψ
The component deformations for the defined displacement field [13] are given as
ε x x = u X x = u x z θ z y θ y ω ψ ε x y = u Y x + u X z = u y z ψ θ y ψ ω z ε x z = u Z x + u X z = u z + y ψ θ z ψ ω z
Furthermore, by integrating the coupled vibration theory of Timoshenko beams with axial vibrations, as outlined by Banerjee and Ananthapuvirajah [19] and Banerjee et al. [20], and accounting for shear effects, we propose a novel beam model. In this model, the conditions u y θ y 0 and u z θ z 0 hold, enabling it to accurately describe the coupled behavior of bidirectional bending, torsion, and axial vibrations, while also incorporating the influence of axial loads.
For a linear elastic material, the stress–strain relationship is defined by Hooke’s law:
σ x x = E ε x x = E u x z θ z y θ y ω ψ τ x y = G ε x y = G u y z ψ θ y ψ ω y τ x z = G ε x z = G u z + y ψ θ z ψ ω z
The damped governing equations and the boundary condition of motion for the forced vibration of the axially loaded composite Timoshenko–Vlasov thin-walled beam exhibiting bending–torsional–axial coupling can be written as the following six coupled differential equations and fourteen boundary conditions, which can be derived using Hamilton’s principle [2] as follows.
The total strain energy U of an axially loaded Timoshenko–Vlasov thin-walled beam is given by
U = 1 2 0 L A σ x x ε x x + τ x y ε x y + τ x z ε x z d A P u Y x 2 + u Z x 2 ( 2 u x f x + 2 u z f z + 2 u y f y + 2 m ψ + 2 m y θ z + 2 m z θ y ) d x
which can be approximated as
U 1 2 0 L { A [ E u x z θ z y θ y ω ψ 2 + k z G u z θ z 2 + k y G u y θ y 2 + G z 2 + y 2 ( ψ ) 2 ] d A + 2 K y θ y ψ + 2 K z θ z ψ P u z + y ψ 2 + u y z ψ 2 2 u x f x + 2 u z f z + 2 u y f y + 2 m ψ + 2 m y θ z + 2 m z θ y } d x
Finally, simplify the expression:
U = 1 2 0 L { E A ( u x ) 2 2 E A z c u x θ z 2 E A y c u x θ y + E I y ( θ z ) 2 + E I z ( θ y ) 2 + 2 E I z y θ y θ z P ( u z ) 2 + 2 y c u z ψ + ( u y ) 2 2 z c u y ψ + I s μ ( ψ ) 2 + k z A G ( u z θ z ) 2 + k y A G ( u y θ y ) 2 + G J ( ψ ) 2 + E Γ ( ψ ) 2 + 2 K y θ y ψ + 2 K z θ z ψ + 2 E ψ S ˜ ω u x + J y ω θ y + J z ω θ z 2 u x f x + 2 u z f z + 2 u y f y + 2 m ψ + 2 m y θ z + 2 m z θ y } d x
The total kinetic energy T of an axially loaded Timoshenko thin-walled beam is given by
T = 1 2 0 L A ρ u ˙ x 2 + u ˙ y 2 + u ˙ z 2 d A d x = 1 2 0 L A ρ ( u ˙ z + y ψ ˙ ) 2 + ( u ˙ y z ψ ˙ ) 2 + ( u ˙ x y θ ˙ y z θ ˙ z ω ψ ˙ ) 2 d A d x
As we know,
ρ u ˙ z + y ψ ˙ 2 + u ˙ y z ψ ˙ 2 = ρ { u ˙ z 2 + 2 y u ˙ z ψ ˙ + y ψ ˙ 2 + u ˙ y 2 2 z u ˙ y ψ ˙ + z ψ ˙ 2 }
ρ u ˙ x y θ ˙ y z θ ˙ z ω ψ ˙ 2 = ρ [ u ˙ x 2 + y θ ˙ y 2 + z θ ˙ z 2 + ω ψ ˙ 2 2 y u ˙ x θ ˙ y 2 z u ˙ x θ ˙ z 2 ω u ˙ x ψ ˙ + 2 y z θ ˙ y θ ˙ z + 2 y ω θ ˙ y ψ ˙ + 2 z ω θ ˙ z ψ ˙ ]
Therefore, we have
T = 1 2 0 L { μ ( u ˙ z ) 2 + 2 y c u ˙ z ψ ˙ + ( u ˙ y ) 2 2 z c u ˙ y ψ ˙ + I s ( ψ ˙ ) 2 + ρ A ( u ˙ x ) 2 2 μ z c u ˙ x θ ˙ z + y c u ˙ x θ ˙ y + 2 ρ I z y θ ˙ z ψ ˙ + ρ I y ( θ ˙ z ) 2 + ρ I z ( θ ˙ y ) 2 + ρ Γ ( ψ ˙ ) 2 + 2 ρ ψ ˙ S ˜ ω u ˙ x + J y ω θ ˙ y + J z ω θ ˙ z } d x
The Lagrangian is given by L = T U , and the governing equations of motion and the boundary conditions are derived by means of Hamilton’s principle, which is stated as
δ t 1 t 2 L d t = 0
in which the boundary conditions are specified as
δ u x = δ u y = δ u z = δ θ y = δ θ z = 0 at t = t 1 , t 2
Further, we have
δ t 1 t 2 L d t = δ 1 2 t 1 t 2 0 L { μ ( u ˙ z ) 2 + 2 y c u ˙ z ψ ˙ + ( u ˙ y ) 2 2 z c u ˙ y ψ ˙ + I s ( ψ ˙ ) 2 + ρ A ( u ˙ x ) 2 + 2 ρ I z y θ ˙ z θ ˙ y 2 μ z c u ˙ x θ ˙ z + y c u ˙ x θ ˙ y + ρ I y ( θ ˙ z ) 2 + ρ I z ( θ ˙ y ) 2 + ρ Γ ( ψ ˙ ) 2 + 2 ρ ψ ˙ S ˜ ω u ˙ x + J y ω θ ˙ y + J z ω θ ˙ z [ E A ( u x ) 2 2 E A z c u x θ z 2 E A y c u x θ y + E I y ( θ z ) 2 + E I z ( θ y ) 2 + 2 E I z y θ y θ z + k z A G ( u z θ z ) 2 + k y A G ( u y θ y ) 2 P ( u z ) 2 + 2 y c u z ψ + ( u y ) 2 2 z c u y ψ + I s μ ( ψ ) 2 + G J ( ψ ) 2 + E Γ ( ψ ) 2 + 2 E ψ S ˜ ω u x + J y ω θ y + J z ω θ z + 2 K y θ y ψ + 2 K z θ z ψ ( 2 u x f x + 2 u z f z + 2 u y f y + 2 m ψ + 2 m y θ z + 2 m z θ y ) ] } d x d t
A coordinate system is established with the shear center (SC) as the origin. The x-axis is aligned with the beam’s longitudinal axis, while the yz-plane represents the cross-section of the beam. It is also designated as the principal sectoral pole. The principal sectoral zero is chosen such that
S ˜ ω = J y ω = J z ω = 0 .
Substituting Equations (6), (10), and (11) into Equation (13) and carrying out the usual steps yields the governing equations of motion and the boundary conditions. The boundary conditions at the ends where x = 0 or x = L are
E A ( u x ) + E A z c θ z + E A y c θ y δ u x = 0 , P ( u y z c ψ ) k y A G ( u y θ y ) δ u y = 0 , P ( u z + y c ψ ) k z A G ( u z θ z ) δ u z = 0 , E I y θ z E I z y θ y K z ψ + E A z c u x δ θ z = 0 , E I z θ y E I z y θ z K y ψ + E A y c u x δ θ y = 0 , E Γ ψ δ ψ = 0 .
Therefore, the following physical quantities are given by the following equations:
Axial force : F = E A ( u x ) + E A z c θ z + E A y c θ y , Shear force in y - direction : S y = P ( u y z c ψ ) k y A G ( u y θ y ) , Shear force in z - direction : S z = P ( u z + y c ψ ) k z A G ( u z θ z ) , Torque : T = P I s m ψ z c u y + y c u z + E Γ ψ G J ψ K y θ y K z θ z ρ Γ ψ ¨ , Bending moment in y - direction : M y = E I z θ y E I z y θ z K y ψ + E A y c u x , Bending moment in z - direction : M z = E I y θ z E I z y θ y K z ψ + E A z c u x , Bimoment : B = E Γ ψ .
Then, the governing equations of motion are introduced as follows.
Force balance equations:
f x ( x , t ) = E A 2 u x ( x , t ) x 2 + E A z c 2 θ z ( x , t ) x 2 + E A y c 2 θ y ( x , t ) x 2 + ρ A 2 u x ( x , t ) t 2 μ z c 2 θ z ( x , t ) t 2 + y c 2 θ y ( x , t ) t 2 , f y ( x , t ) = μ 2 u y ( x , t ) t 2 μ z c 2 ψ ( x , t ) t 2 k y A G 2 u y ( x , t ) x 2 θ y ( x , t ) x + P 2 u y ( x , t ) x 2 z c 2 ψ ( x , t ) x 2 , f z ( x , t ) = μ 2 u z ( x , t ) t 2 + μ y c 2 ψ ( x , t ) t 2 k z A G 2 u z ( x , t ) x 2 θ z ( x , t ) x + P 2 u z ( x , t ) x 2 + y c 2 ψ ( x , t ) x 2 .
Moment equilibrium equations:
m y ( x , t ) = ρ I y 2 θ z ( x , t ) t 2 E I y 2 θ z ( x , t ) x 2 E I z y 2 θ y ( x , t ) x 2 + E A z c 2 u x ( x , t ) x 2 μ z c 2 u x ( x , t ) t 2 + ρ I z y 2 θ y ( x , t ) t 2 k z A G u z ( x , t ) x θ z ( x , t ) K z 2 ψ ( x , t ) x 2 , m z ( x , t ) = ρ I z 2 θ y ( x , t ) t 2 E I z 2 θ y ( x , t ) x 2 E I z y 2 θ z ( x , t ) x 2 + E A y c 2 u x ( x , t ) x 2 μ y c 2 u x ( x , t ) t 2 ρ I z y 2 θ z ( x , t ) t 2 k y A G u y ( x , t ) x θ y ( x , t ) K y 2 ψ ( x , t ) x 2 , m ( x , t ) = G J 2 ψ ( x , t ) x 2 + ρ Γ 4 ψ ( x , t ) x 2 t 2 P I s μ 2 ψ ( x , t ) x 2 z c 2 u y ( x , t ) x 2 + y c 2 u z ( x , t ) x 2 μ y c 2 u z ( x , t ) t 2 + μ z c 2 u y ( x , t ) t 2 I s 2 ψ ( x , t ) t 2 E Γ 4 ψ ( x , t ) x 4 + K y 2 θ y ( x , t ) x 2 + K z 2 θ z ( x , t ) x 2 .
Considering the damping term, the equations of motion are further modified as
f x ( x , t ) = E A 2 u x ( x , t ) x 2 + E A z c 2 θ z ( x , t ) x 2 + E A y c 2 θ y ( x , t ) x 2 μ z c 2 θ z ( x , t ) t 2 + y c 2 θ y ( x , t ) t 2 + ρ A 2 u x ( x , t ) t 2 + c 4 u x ( x , t ) t z c θ z ( x , t ) t y c θ y ( x , t ) t , f y ( x , t ) = μ 2 u y ( x , t ) t 2 μ z c 2 ψ ( x , t ) t 2 k y A G 2 u y ( x , t ) x 2 θ y ( x , t ) x + P 2 u y ( x , t ) x 2 z c 2 ψ ( x , t ) x 2 + c 1 z u y ( x , t ) t z c ψ ( x , t ) t , f z ( x , t ) = μ 2 u z ( x , t ) t 2 + μ y c 2 ψ ( x , t ) t 2 k z A G 2 u z ( x , t ) x 2 θ z ( x , t ) x + P 2 u z ( x , t ) x 2 + y c 2 ψ ( x , t ) x 2 + c 1 y u z ( x , t ) t + y c ψ ( x , t ) t .
m y ( x , t ) = ρ I y 2 θ z ( x , t ) t 2 E I y 2 θ z ( x , t ) x 2 E I z y 2 θ y ( x , t ) x 2 + E A z c 2 u x ( x , t ) x 2 μ z c 2 u x ( x , t ) t 2 + ρ I z y 2 θ y ( x , t ) t 2 k z A G u z ( x , t ) x θ z ( x , t ) K z 2 ψ ( x , t ) x 2 + c 3 y θ z ( x , t ) t + c 4 z c u x ( x , t ) t + θ y ( x , t ) t , m z ( x , t ) = ρ I z 2 θ y ( x , t ) t 2 E I z 2 θ y ( x , t ) x 2 E I z y 2 θ z ( x , t ) x 2 + E A y c 2 u x ( x , t ) x 2 μ y c 2 u x ( x , t ) t 2 ρ I z y 2 θ z ( x , t ) t 2 k y A G u y ( x , t ) x θ y ( x , t ) K y 2 ψ ( x , t ) x 2 + c 3 z θ y ( x , t ) t c 4 y c u x ( x , t ) t + θ z ( x , t ) t , m ( x , t ) = G J 2 ψ ( x , t ) x 2 + ρ Γ 4 ψ ( x , t ) x 2 t 2 P I s μ 2 ψ ( x , t ) x 2 z c 2 u y ( x , t ) x 2 + y c 2 u z ( x , t ) x 2 μ y c 2 u z ( x , t ) t 2 + μ z c 2 u y ( x , t ) t 2 I s 2 ψ ( x , t ) t 2 E Γ 4 ψ ( x , t ) x 4 + K y 2 θ y ( x , t ) x 2 + K z 2 θ z ( x , t ) x 2 + c 5 3 ψ ( x , t ) x 2 t c 2 ψ ( x , t ) t c 1 y y c u z ( x , t ) t + c 1 z z c u y ( x , t ) t .
where all the variables and symbols are defined in the Abbreviations.
It can be seen that the various types of coupled vibration equations for beams proposed by previous researchers are all special cases of this set of equations, and under different conditions, they can degenerate into the existing coupled vibration equations of different beams [2,3,4,5,6,7,8,9,10,11,12,13,14,15,16,17,18,19,20].

3. Numerical Examples

The free harmonic vibrations are defined by the coupled homogeneous Equations (17) and (18). The solution may be expressed in the form as follows:
u x ( x , t ) = V x ( x ) sin ( ω t ) , u y ( x , t ) = V y ( x ) sin ( ω t ) , u z ( x , t ) = V z ( x ) sin ( ω t ) , θ y ( x , t ) = Θ y ( x ) sin ( ω t ) , θ z ( x , t ) = Θ z ( x ) sin ( ω t ) , ψ ( x , t ) = Ψ ( x ) sin ( ω t ) .
where ω is the radian frequency and V x , V y , V z , Θ y , Θ z , and Ψ are the amplitudes of the sinusoidally varying axial motion along the x direction, the flexural translation in the y and z directions, the flexural rotation about the y and z axes, and the torsional rotation, respectively. Substituting Equation (21) into homogeneous Equations (17) and (18) yields
E A d 2 V x ( x ) d x 2 E A z c d 2 Θ z ( x ) d x 2 E A y c d 2 Θ y ( x ) d x 2 + ρ A ω 2 V x ( x ) + μ z c ω 2 Θ z ( x ) y c ω 2 Θ y ( x ) = 0 , ρ I z ω 2 Θ y ( x ) E I z d 2 Θ y ( x ) d x 2 E I z y d 2 Θ z ( x ) d x 2 + E A y c d 2 V x ( x ) d x 2 + μ y c ω 2 V x ( x ) + ρ I z y ω 2 Θ z ( x ) k y A G d V y ( x ) d x Θ y ( x ) K y d 2 Ψ ( x ) d x 2 = 0 , ρ I y ω 2 Θ z ( x ) E I y d 2 Θ z ( x ) d x 2 E I z y d 2 Θ y ( x ) d x 2 + E A z c d 2 V x ( x ) d x 2 + μ z c ω 2 V x ( x ) ρ I z y ω 2 Θ y ( x ) k z A G d V z ( x ) d x Θ z ( x ) K z d 2 Ψ ( x ) d x 2 = 0 , μ ω 2 V y ( x ) + μ ω 2 z c Ψ ( x ) k y A G d 2 V y ( x ) d x 2 d Θ y ( x ) d x + P d 2 V y ( x ) d x 2 z c d 2 Ψ ( x ) d x 2 = 0 , μ ω 2 V z ( x ) μ ω 2 y c Ψ ( x ) k z A G d 2 V z ( x ) d x 2 d Θ z ( x ) d x + P d 2 V z ( x ) d x 2 + y c d 2 Ψ ( x ) d x 2 = 0 , G J d 2 Ψ ( x ) d x 2 ρ Γ ω 2 d 2 Ψ ( x ) d x 2 P I s μ d 2 Ψ ( x ) d x 2 z c d 2 V y ( x ) d x 2 + y c d 2 V z ( x ) d x 2 + μ ω 2 y c V z ( x ) μ ω 2 z c V y ( x ) + I s ω 2 Ψ ( x ) E Γ d 4 Ψ ( x ) d x 4 + K y d 2 Θ y ( x ) d x 2 + K z d 2 Θ z ( x ) d x 2 = 0 .
In general, it is not possible to derive the closed-form solution for an arbitrary type of the boundary conditions. Only when both ends of the beams are simply supported is it possible to determine the natural frequencies and the natural modes.
In the case of a beam with simply supported ends (fork supports at each end which prevent rotation and can warp freely), the end conditions are
V y , V z , d Θ y d x , d Θ z d x , Ψ , d 2 Ψ d x 2 T = 0
as provided in Prokic’s research [13].
The boundary conditions for a simply supported beam are that one end is fixed while the other end is free. Using Equation (15),
E A ( u x ) + E A z c θ z + E A y c θ y δ u x = 0 ,
and the axial force is
F = E A ( u x ) + E A z c θ z + E A y c θ y .
It is known that when one end is fixed, the boundary condition δ u x = 0 holds, which implies that V x remains constant.
For the case where the boundary condition at one end is free, we have F = 0 , which means the axial force is zero, leading to the equation
E A ( u x ) + E A z c θ z + E A y c θ y = 0 .
Additionally, the boundary conditions given in Equation (23) require
d Θ y d x = 0 and d Θ z d x = 0 ,
As a result, under these conditions, d V x d x = 0 holds. These requirements are satisfied by taking
V y ( x ) V z ( x ) Ψ ( x ) = C V y sin ( λ n x ) C V z sin ( λ n x ) C Ψ sin ( λ n x ) and V x ( x ) Θ y ( x ) Θ z ( x ) = C V x λ n cos ( λ n x ) C Θ y λ n cos ( λ n x ) C Θ z λ n cos ( λ n x ) ,
where C V x , C V y , C V z , C Θ y , C Θ z , and C Ψ are unknown constants and λ n = n π L ( n = 1 , 2 , 3 , ) . Substituting Equation (28) into Equation (22) gives the six homogeneous differential equations for C V x , C V y , C V z , C Θ y , C Θ z , and C Ψ . The resulting equation is obtained as follows:
B ( 6 × 6 ) x ( 6 × 1 ) = 0 ( 6 × 1 ) ,
where x ( 6 × 1 ) = ( C V x , C V y , C Θ y , C Θ z , C Ψ ) T . For details of the matrix B form, see Appendix B. This system of linear equations cannot have x ( 6 × 1 ) being identically equal to zero, thus leading to the equation
det [ B ( 6 × 6 ) ] = 0 ,
b 1 ( ω 2 ) 6 + b 2 ( ω 2 ) 5 + b 3 ( ω 2 ) 4 + b 4 ( ω 2 ) 3 + b 5 ( ω 2 ) 2 + b 6 ( ω 2 ) 1 + b 7 = 0 .
The coefficients b 1 , b 2 , b 3 , b 4 , b 5 , b 6 , and b 7 are derived from the system of Equation (29). These coefficients imply that for each n, which defines an external vibration mode of the beam’s axis as a whole, there exist six internal modes of vibration within the cross-sections.
For n = 1 , 2 , 3 , six natural frequencies of a simply supported thin-walled beam, corresponding to three different cross-sectional types, were determined. These six numerical values characterize six distinct internal vibration modes: axial vibration along the x-direction, bending vibration along the y-direction and z-direction, and torsional vibration modes along the x-, y-, and z-directions.
In this section, three numerical examples are used to validate the effectiveness and accuracy of the proposed Timoshenko–Vlasov beam model in comparison to traditional beam models. For each example, beams with lengths of 3 m, 10 m, and 50 m are calculated and compared.

3.1. Numerical Example 1

The calculation example directly applies the simply supported beam model provided by Prokic in Reference [13]. The first cross-section is shown in Figure 2, characterized by its rectangular shape with an additional notch, designed to investigate the influence of geometric irregularities on the dynamic behavior of beams under axial loads and bidirectional bending. This geometry serves to elucidate how asymmetrical modifications affect structural responses and validates the accuracy of our model in simulating real-world structural elements. The geometric and material properties and parameters are listed in Appendix A (Table A1). The numerical results are shown in Table 1.
It can be observed that for different values of n, Equation (31) yields the six natural vibration frequencies of a simply supported beam. These frequencies correspond to the natural vibration modes associated with V x , V y , V z , Θ y , Θ z , and Ψ . The calculations are based on the parameters provided in the coordinate system defined in [13].
To validate the theory proposed in this paper, it was compared with the classical theory. By calculating the natural frequencies and comparing them with the results from traditional methods, we aimed to further demonstrate the effectiveness and accuracy of the proposed Timoshenko–Vlasov beam approach. The traditional calculation methods used to analyze vibrations in rods and beams are introduced below.
For the axial vibration of the rod, the displacement function V x ( x ) = C V x cos ( λ n x ) , as given in Equation (28), can be verified to satisfy the free boundary conditions, where the derivative at both x = 0 and x = L is zero. The corresponding frequency equation is given by
ω n = n π L E ρ ,
where E is Young’s modulus and ρ is the material density. In the case of the torsional vibration of the rod, the displacement function Ψ ( x ) = C Ψ sin ( λ n x ) satisfies the boundary conditions at x = 0 and x = L . The frequency equation for torsional vibration is then given by
ω n = n π L G ρ ,
where G is the shear modulus of the material. For the vibration of a Timoshenko beam with simply supported ends, considering the effect of the rotational inertia of the cross-section, the frequency equation is expressed as
ω n = n π L 2 E I ρ A 1 + I A n π L 2 1 / 2 ,
where I is the second moment of area, A is the cross-sectional area, and E is Young’s modulus.
The results of the comparison between Timoshenko–Vlasov and the traditional beam theory are listed in Table A2 (L = 3 m), Table A3 (L = 10 m), and Table A4 (L = 50 m) in Appendix C. Furthermore, the impact of variations in the axial load on the lowest natural vibration frequency was predicted using Timoshenko–Vlasov beam theory and is shown in Figure 3. The natural frequency becomes zero when the beam undergoes elastic buckling. The corresponding axial loads P for different beam lengths (L) and mode numbers (n) are listed in Table 2.
The Timoshenko–Vlasov model generally aligns with traditional results for bending modes, especially in long beams. However, it shows substantial deviations in torsional frequencies. As illustrated in Figure 3, the natural frequency decreases with an increasing axial load and reaches zero at the point of elastic buckling. The corresponding critical axial loads, listed in Table 2, vary significantly with the beam length (L) and mode number (n). Traditional beam theories assume decoupled axial, bending, and torsional vibrations, which limits their accuracy. In contrast, the Timoshenko–Vlasov model accounts for the coupled nature of these vibrations, capturing effects such as warping and geometric irregularities, which are particularly important in thin-walled beams. These discrepancies are more pronounced in short beams due to the greater influence of shear deformation and warping. Although the differences reduce as the beam length increases, significant errors in the torsional behavior remain, underscoring the need for advanced models like the Timoshenko–Vlasov to achieve accurate predictions in complex structural analyses.

3.2. Numerical Example 2

Figure 4 illustrates the cross-section for Example 2, which incorporates multiple flanges and web connections, simulating complex architectural elements. This configuration was utilized to study stress distribution and deformation under multidirectional loading, highlighting the model’s capability to handle advanced structures commonly found in aerospace and architectural engineering.
When an axial load of P = 0 kN is applied, Table 3 presents the six natural frequencies calculated for the simply supported thin-walled beam in modes n = 1, 2, and 3, as derived from Example 2. As illustrated in Figure 5, Example 2 exhibits a similar pattern to Example 1: the natural frequency decreases with an increasing axial load, ultimately reaching zero at the point of elastic buckling. Table 4 details the magnitude of the critical axial load at which buckling occurs. It is evident that the critical axial load decreases with an increase in the beam length while simultaneously increasing with higher mode numbers, a trend consistent with the observations in Example 1.
The calculation results in Appendix D indicate that, similarly to in Example 1, the differences between the Timoshenko–Vlasov and traditional beam theories decrease as the beam length increases. However, there is a trend of increasing error with an increase in the mode number for shorter beams (L = 3 m and L = 10 m). The increasing error with the mode number for shorter beams in this comparison can be attributed to several key factors. First, shear deformation and warping effects become more pronounced in shorter beams and at higher modes. The Timoshenko–Vlasov model incorporates these effects, whereas traditional beam theories neglect them, resulting in growing discrepancies as the mode number increases. Second, geometric non-linearities are more significant in shorter beams, and these non-linear effects become increasingly influential at higher modes, further intensifying the error in traditional models. Lastly, boundary conditions and localized stress concentrations exert a more substantial influence on the dynamic response of shorter beams, particularly at higher modes. Traditional theories, which often assume simplified boundary conditions, fail to account for these localized effects, thereby contributing to an increase in difference with higher modes.

3.3. Numerical Example 3

Shown in Figure 6, the cross-section of Example 3 adopts a T-shaped geometry with additional flanges, aimed at assessing the structural integrity and vibration properties under various loading conditions. This example focuses on practical applications such as structural joints and overhangs, demonstrating the utility of the model in predicting the dynamic responses of beams in complex framing and connection scenarios.
Applying an axial load of P = 0 kN, we computed the six natural frequencies for the simply supported thin-walled beam in modes n = 1, 2, 3, as shown in Table 5. Figure 7 demonstrates that this example exhibits behavior analogous to Examples 1 and 2. Natural frequencies progressively decrease with an increasing axial load, eventually reaching zero at the elastic buckling threshold. The critical axial load values corresponding to the onset of buckling are provided in Table 6. Notably, the critical axial load decreases with longer beam lengths while increasing with higher mode numbers, once again reflecting the same phenomena observed in the previous two examples.
The calculation results in Appendix E indicate that, compared with the traditional theory, the error decreases with an increasing beam length in the Timoshenko–Vlasov model. However, a trend of increasing error is observed at L = 3 m. Furthermore, the results presented in Table 6 show that, for L = 50 m, the axial load causing buckling in the Timoshenko–Vlasov beam remains nearly constant across different modes. First, the Timoshenko–Vlasov theory accounts for shear deformation and warping effects, which become particularly significant in thin-walled or non-standard beams. These effects, often neglected in the traditional classical stability theory of columns, reduce the sensitivity of the critical buckling load to higher modes by increasing the stiffness of the beam in certain directions. Consequently, the load required for buckling initiation does not increase significantly with the mode number, resulting in a nearly constant axial load across modes. Additionally, unlike traditional beam theories that assume decoupled behavior between bending, torsion, and axial loads, the Timoshenko–Vlasov model captures the interactions between these forces. In long beams or beams with complex geometries (such as the T-shaped cross-section in this example), the coupling of torsional and bending deformations with axial loads can alter the relationship between the load and mode number. This coupling redistributes stresses such that the axial load remains relatively unchanged across modes. Furthermore, in longer beams, localized buckling phenomena may dominate, where local deformations of the flanges or web significantly influence the global buckling behavior, leading to the stabilization of the axial load. Finally, geometric non-linearities, more pronounced in beams with complex cross-sections, may contribute as well. These non-linear effects can cause the axial load to plateau at higher modes, rather than increase significantly with the mode number, as would be expected.

4. Conclusions

By comparing the natural frequencies of the Timoshenko–Vlasov beam with results derived from traditional vibration theories, we observed distinct differences among various vibration modes. Axial vibration displays the smallest deviation from traditional theories, while bending vibration shows a decreasing gap with higher mode numbers. The torsional mode presents the most significant difference from traditional theories.
The axial vibration frequency predicted by the Timoshenko–Vlasov beam model, which incorporates bending–torsion–axial coupling, is nearly identical to the frequency obtained by considering only the axial vibrations of the rod. This similarity likely stems from the traditional beam theory’s assumptions of a continuous medium and isotropy, which naturally decouple axial motion from bending and torsional motions. Even when axial deformation is coupled in the Timoshenko–Vlasov model, the axial natural frequency remains almost unchanged compared to the axial vibration of the rod. However, bending deformation is influenced by coupled vibrations, leading to deviations from the traditional theory. In high-frequency scenarios, the results align closely with the natural frequencies obtained from studying only bending vibrations. Torsional modes are most affected by coupling, exhibiting the greatest deviation from traditional rod vibration theories.
We also investigated the impact of axial load variations on the first-order natural frequency of the Timoshenko–Vlasov beam. The analysis showed that as the axial load increases, the natural frequency of the beam gradually decreases, consistent with the existing literature [4,9,12,14,15,21]. As the axial load continues to increase, the lowest natural frequency eventually drops to zero, indicating the onset of elastic buckling, again in line with the trends in the literature [15,21].
Moreover, for Example 1 (L = 3 m, 10 m), Example 2 (L = 3 m, 10 m), and Example 3 (L = 3 m), the axial load values that cause the natural frequency to become zero are roughly proportional to n 2 and inversely proportional to L 2 , consistent with the classic Euler formula characteristics for the stability of a compression member. This relationship holds true across various examples studied, providing a solid theoretical and practical foundation for addressing modern structural engineering challenges, particularly in designing and analyzing thin-walled beam structures subjected to complex dynamic loads.
Through rigorous theoretical analysis, this study demonstrates the robustness and accuracy of the improved Timoshenko–Vlasov beam model in calculating natural frequencies under complex loading conditions. These findings significantly improve our understanding of the dynamic behavior of thin-walled beams and offer a precise analytical tool for structural design and safety assessment.
In our future research, we aim to extend the scope of our study to investigate the dynamic behavior of thin-walled beams under various boundary conditions and more complex geometries. Additionally, we plan to analyze non-linear effects and the influence of complex loading conditions in real-world engineering applications to broaden the applicability of the proposed method. Future research efforts will also be devoted to carrying out the experimental validation of the proposed framework. Furthermore, we intend to develop specialized finite element programs tailored to this mechanical model and perform numerical computations to verify the accuracy and robustness of the theoretical framework. These efforts will collectively advance the understanding and practical utility of the proposed method in diverse structural engineering scenarios.

Author Contributions

Conceptualization, Y.Y. and B.Z.; methodology, Y.Y.; investigation, Y.Y. and D.T.; resources, D.T. and L.H.; writing—original draft preparation, Y.Y.; writing—review and editing, H.W.; visualization, H.W.; supervision, B.Z. and H.W.; funding acquisition, B.Z. All authors have read and agreed to the published version of the manuscript.

Funding

This work was funded by the China National Key Research and Development Project (2021YFC3001901).

Institutional Review Board Statement

Not applicable.

Informed Consent Statement

Not applicable.

Data Availability Statement

The original contributions presented in this study are included in the article; further inquiries can be directed to the corresponding author.

Conflicts of Interest

The authors declare no conflicts of interest.

Abbreviations

The following abbreviations are used in this manuscript:
ρ Density of the beam
EYoung’s modulus of the beam
ACross-sectional area of the beam
I z Moment of inertia of the cross-section about the z-direction
I y Moment of inertia of the cross-section about the y-direction
I z y Product of inertia of the cross-section with respect to the z- and y-directions
G J Torsional rigidity of the cross-section
E Γ Warping rigidity
K y Bending–torsion coupling rigidity in the y-direction
K z Bending–torsion coupling rigidity in the z-direction
I s Polar mass moment of inertia per unit length about the shear center (x-direction)
J y ω Inertia product of the cross-section concerning the sectoral coordinates and the y-direction
J z ω Inertia product of the cross-section concerning the sectoral coordinates and the z-direction
κ z Shear correction factor in the z-direction
κ y Shear correction factor in the y-direction
μ Mass per unit length of the beam
vDisplacement of the beam in the y-direction
wDisplacement of the beam in the z-direction
uDisplacement of the beam in the x-direction
ϕ y Rotation due to displacement in the y-direction
ϕ z Rotation due to displacement in the z-direction
ψ Torsional angle about the x-direction
ω Sectoral area of a point on the cross-section
PAxial load on the beam through the centroid of the cross-section, positive in compression
f x Force per unit length parallel to the x-direction acting on the shear center
f y Force per unit length parallel to the y-direction acting on the shear center
f z Force per unit length parallel to the z-direction acting on the shear center
m x Moment per unit length about the x-direction acting on the beam
m y Moment per unit length about the y-direction acting on the beam
m z Moment per unit length about the z-direction acting on the beam
y c Distance from the centroid to the shear center along the y-direction
z c Distance from the centroid to the shear center along the z-direction
c 1 y Viscous coefficient per unit length due to bending deformation about the y-direction
c 1 z Viscous coefficient per unit length due to bending deformation about the z-direction
c 2 Viscous coefficient per unit length due to torsional deformation
c 3 y Viscous coefficient per unit length due to cross-sectional rotation from bending about the y-direction
c 3 z Viscous coefficient per unit length due to cross-sectional rotation from bending about the z-direction
c 4 Viscous coefficient per unit length due to axial deformation
c 5 Viscous coefficient per unit length due to cross-sectional warping deformation in torsion

Appendix A. Geometric and Material Properties in Examples

Table A1. Geometrical and material properties in the three examples.
Table A1. Geometrical and material properties in the three examples.
ParameterExample 1Example 2Example 3
Young’s modulus E 2.10 × 10 8   kN/m 2 2.10 × 10 8   kN/m 2 2.10 × 10 8   kN/m 2
Shear modulus G 8.07 × 10 7   kN/m 2 8.07 × 10 7   kN/m 2 8.07 × 10 7   kN/m 2
Density of the beam ρ 8.002   kN·s 2 /m 4 8.002   kN·s 2 /m 4 8.002   kN·s 2 /m 4
Cross-sectional area A 0.0340   m 2 0.0285   m 2 0.0240   m 2
Moment of inertia I z 3.6348 × 10 3   m 4 3.5049 × 10 3   m 4 2.5424 × 10 4   m 4
Moment of inertia I y 3.8796 × 10 3   m 4 5.4042 × 10 3   m 4 8.4563 × 10 4   m 4
Torsional constant J 4.5333 × 10 6   m 4 2.2875 × 10 6   m 4 5.2000 × 10 6   m 4
Product of inertia I z y 2.4914 × 10 3   m 4 2.2061 × 10 3   m 4 1.1386 × 10 4   m 4
Warping constant Γ 1.2802 × 10 4   m 6 9.2633 × 10 5   m 6 3.9426 × 10 6   m 6
Shear correction factor κ z 0.25000.28400.4740
Shear correction factor κ y 0.18100.19500.3060
Centroidal coordinate z c 0.3115 m−0.39183 m−0.086555 m
Centroidal coordinate y c 0.2353 m0.19755 m0.054809 m
Bending–torsion coupling rigidity K z 6.1065 × 10 2   kN·m 2 2.2081 × 10 3   kN·m 2 5.3390 × 10 2   kN·m 2
Bending–torsion coupling rigidity K y 8.1472 × 10 2   kN·m 2 1.1349 × 10 3   kN·m 2 1.7758 × 10 2   kN·m 2
Moment of inertia I z (Reference [13]) 1 1.75303 × 10 3   m 4 2.39265 × 10 3   m 4 1.82139 × 10 4   m 4
Moment of inertia I y (Reference [13]) 1 5.81146 × 10 4   m 4 1.02858 × 10 3   m 4 6.65827 × 10 4   m 4
1 In our work, a reference frame different from that in Reference [13] was employed, resulting in a coordinate transformation for Iy and Iz. In the calculations of the examples presented in this paper, Iy and Iz are used, while in [13], I y and I z are used.

Appendix B. Matrix Elements in Equation (uid29)

The expressions of matrix B ( 6 × 6 ) forms in Equation (28):
B ( 6 × 6 ) = B 11 ( 3 × 3 ) B 12 ( 3 × 3 ) B 21 ( 3 × 3 ) B 22 ( 3 × 3 )
where
B 11 ( 3 × 3 ) = E A λ n 3 + ρ A ω 2 λ n 0 0 E A y c λ n 3 + ρ A y c ω 2 λ n k y A G λ n 0 E A z c λ n 3 + ρ A z c ω 2 λ n 0 k z A G λ n B 12 ( 3 × 3 ) = E A y c λ n 3 + ρ A y c ω 2 λ n E A z c λ n 3 + ρ A z c ω 2 λ n 0 ρ I z ω 2 λ n + E I z λ n 3 + k y A G λ n E I z y λ n 3 + ρ I z y ω 2 λ n K y λ n 2 E I z y λ n 3 ρ I z y ω 2 λ n ρ I y ω 2 λ n + E I y λ n 3 + k z A G λ n K z λ n 2 B 21 ( 3 × 3 ) = 0 ρ A ω 2 + k y A G λ n 2 P λ n 2 0 0 0 ρ A ω 2 + k z A G λ n 2 P λ n 2 0 ρ A ω 2 z c P z c λ n 2 ρ A ω 2 y c + P y c λ n 2 B 22 ( 3 × 3 ) = k y A G λ n 2 0 ρ A ω 2 z c + P z c λ n 2 0 k z A G λ n 2 ρ A ω 2 y c P y c λ n 2 K y λ n 3 K z λ n 3 G J λ n 2 + ρ Γ ω 2 λ n 2 + P ( I z + I y A ) λ n 2 + ρ ( I z + I y ) ω 2 E Γ λ n 4

Appendix C. Compared Results of Example 1

Table A2. Natural frequencies (rad/s) of the beam with length L = 3 m studied as Example 1.
Table A2. Natural frequencies (rad/s) of the beam with length L = 3 m studied as Example 1.
Ext. ModeVibration ModeT-V BeamClassical TheoryError (%)
n = 1Bending vibration (y)623.79726.9516.39
Bending vibration (z)928.271239.8033.56
Torsional vibration4076.943323.8818.47
Axial vibration5364.625361.900.05
n = 2Bending vibration (y)2439.762830.8016.03
Bending vibration (z)5361.124603.7014.13
Torsional vibration7075.236647.776.04
Axial vibration10,729.2410,724.000.05
n = 3Bending vibration (y)3960.616108.8054.24
Bending vibration (z)6830.449338.4036.72
Torsional vibration9810.449971.651.64
Axial vibration16,093.8616,086.000.05
Table A3. Natural frequencies (rad/s) of the beam with length L = 10 m studied as Example 1.
Table A3. Natural frequencies (rad/s) of the beam with length L = 10 m studied as Example 1.
Ext. ModeVibration ModeT-V BeamClassical TheoryError (%)
n = 1Bending vibration (y)65.0965.981.37
Bending vibration (z)110.83114.403.22
Axial vibration1609.391608.570.05
Torsional vibration3487.30997.1771.40
n = 2Bending vibration (y)247.51263.256.36
Bending vibration (z)399.06454.1613.81
Axial vibration3218.773217.140.05
Torsional vibration3697.011994.3385.37
n = 3Bending vibration (y)518.71589.8613.72
Bending vibration (z)786.961009.4028.27
Torsional vibration3971.082991.5024.67
Axial vibration4828.164825.710.05
Table A4. Natural frequencies (rad/s) of the beam with length L = 50 m studied as Example 1.
Table A4. Natural frequencies (rad/s) of the beam with length L = 50 m studied as Example 1.
Ext. ModeVibration ModeT-V BeamClassical TheoryError (%)
n = 1Bending vibration (y)2.652.640.38
Bending vibration (z)4.624.590.65
Axial vibration321.88321.710.05
Torsional vibration3359.94199.4394.06
n = 2Bending vibration (y)10.5710.560.09
Bending vibration (z)18.3818.340.22
Axial vibration643.75643.430.05
Torsional vibration3377.22398.8788.19
n = 3Bending vibration (y)23.7123.770.25
Bending vibration (z)40.9841.250.66
Axial vibration965.63965.140.05
Torsional vibration3405.40598.2982.43

Appendix D. Compared Results of Example 2

Table A5. Natural frequencies (rad/s) of the beam with length L = 3 m studied as Example 2.
Table A5. Natural frequencies (rad/s) of the beam with length L = 3 m studied as Example 2.
Ext. ModeVibration ModeT-V BeamClassical TheoryError (%)
n = 1Bending vibration (y)798.361045.7030.98
Bending vibration (z)1180.571550.1031.81
Torsional vibration3206.053323.883.68
Axial vibration5364.625361.900.05
n = 2Bending vibration (y)3085.723962.8028.42
Bending vibration (z)4651.505561.3019.56
Torsional vibration8983.386647.7726.00
Axial vibration10,729.2410,724.000.05
n = 3Bending vibration (y)4996.548240.7064.93
Bending vibration (z)6222.4210,825.0073.97
Torsional vibration12,488.019971.6520.15
Axial vibration16,093.8616,086.000.05
Table A6. Natural frequencies (rad/s) of the beam with length L = 10 m studied as Example 2.
Table A6. Natural frequencies (rad/s) of the beam with length L = 10 m studied as Example 2.
Ext. ModeVibration ModeT-V BeamClassical TheoryError (%)
n = 1Bending vibration (y)92.6095.783.43
Bending vibration (z)141.80145.752.79
Axial vibration1609.391608.570.05
Torsional vibration2487.69997.1759.92
n = 2Bending vibration (y)336.88381.1213.13
Bending vibration (z)509.32575.9413.08
Torsional vibration2735.561994.3327.10
Axial vibration3218.773217.140.05
n = 3Bending vibration (y)673.49850.0926.22
Bending vibration (z)1001.671270.7026.86
Torsional vibration3078.472991.502.83
Axial vibration4828.164825.710.05
Table A7. Natural frequencies (rad/s) of the beam with length L = 50 m studied as Example 2.
Table A7. Natural frequencies (rad/s) of the beam with length L = 50 m studied as Example 2.
Ext. ModeVibration ModeT-V BeamClassical TheoryError (%)
n = 1Bending vibration (y)3.843.840.00
Bending vibration (z)5.905.850.85
Axial vibration321.88321.710.05
Torsional vibration2397.82199.4391.68
n = 2Bending vibration (y)15.2815.350.46
Bending vibration (z)23.5123.400.47
Torsional vibration643.75643.430.05
Axial vibration2409.41398.8783.45
n = 3Bending vibration (y)34.1434.521.11
Bending vibration (z)52.4552.610.31
Axial vibration965.63965.140.05
Torsional vibration2428.49598.2975.36

Appendix E. Compared Results of Example 3

Table A8. Natural frequencies (rad/s) of the beam with length L = 3 m studied as Example 3.
Table A8. Natural frequencies (rad/s) of the beam with length L = 3 m studied as Example 3.
Ext. ModeVibration ModeT-V BeamClassical TheoryError (%)
n = 1Bending vibration (y)851.62920.888.13
Bending vibration (z)469.98486.883.60
Axial vibration5364.625361.900.05
Torsional vibration11,622.623323.8871.40
n = 2Bending vibration (y)2801.353530.6026.03
Bending vibration (z)1697.721923.9013.32
Axial vibration10,729.2410,724.000.05
Torsional vibration14,133.296647.7752.96
n = 3Bending vibration (y)5135.787454.9045.16
Bending vibration (z)3357.584244.2026.41
Axial vibration16,093.8616,086.000.05
Torsional vibration17,345.459971.6542.51
Table A9. Natural frequencies (rad/s) of the beam with length L = 10 m studied as Example 3.
Table A9. Natural frequencies (rad/s) of the beam with length L = 10 m studied as Example 3.
Ext. ModeVibration ModeT-V BeamClassical TheoryError (%)
n = 1Bending vibration (y)83.4284.010.71
Bending vibration (z)43.8843.980.23
Axial vibration1609.391608.570.05
Torsional vibration10,678.39997.1790.66
n = 2Bending vibration (y)324.75334.693.06
Bending vibration (z)173.57175.741.25
Axial vibration3218.773217.140.05
Torsional vibration10,972.251994.3381.82
n = 3Bending vibration (y)701.09748.006.69
Bending vibration (z)383.51394.682.91
Axial vibration4828.164825.710.05
Torsional vibration11,435.582991.5073.84
Table A10. Natural frequencies (rad/s) of the beam with length L = 50 m studied as Example 3.
Table A10. Natural frequencies (rad/s) of the beam with length L = 50 m studied as Example 3.
Ext. ModeVibration ModeT-V BeamClassical TheoryError (%)
n = 1Bending vibration (y)3.373.370.00
Bending vibration (z)1.761.760.00
Axial vibration321.88321.710.05
Torsional vibration10,581.47199.4398.12
n = 2Bending vibration (y)13.4513.460.07
Bending vibration (z)7.047.040.00
Axial vibration643.75643.430.05
Torsional vibration10,593.67398.8796.23
n = 3Bending vibration (y)30.2130.270.20
Bending vibration (z)15.8415.840.00
Axial vibration965.63965.140.05
Torsional vibration10,613.94598.2994.36

References

  1. Bishop, R.; Price, W. Coupled bending and twisting of a Timoshenko beam. J. Sound Vib. 1977, 50, 469–477. [Google Scholar] [CrossRef]
  2. Banerjee, J.; Williams, F. Coupled bending-torsional dynamic stiffness matrix of an axially loaded Timoshenko beam element. Int. J. Solids Struct. 1994, 31, 749–762. [Google Scholar] [CrossRef]
  3. Li, J.; Shen, R.; Hua, H.; Jin, X. Bending-torsional coupled dynamic response of axially loaded composite Timoshenko thin-walled beam with closed cross-section. Compos. Struct. 2004, 64, 23–35. [Google Scholar] [CrossRef]
  4. Li, J.; Wu, G.; Shen, R.; Hua, H. Stochastic bending-torsion coupled response of axially loaded slender composite-thin-walled beams with closed cross-sections. Int. J. Mech. Sci. 2005, 47, 134–155. [Google Scholar] [CrossRef]
  5. Bercin, A.; Tanaka, M. Coupled flexural-torsional vibrations of Timoshenko beams. J. Sound Vib. 1997, 207, 47–59. [Google Scholar] [CrossRef]
  6. Yaman, Y.; Ozdemir, O. Forced vibrations of triply coupled periodically and elastically supported finite open-section channels. J. Sound Vib. 2002, 250, 649–673. [Google Scholar] [CrossRef]
  7. Li, J.; Hua, H.; Shen, R.; Jin, X. Dynamic response of axially loaded monosymmetrical thin-walled Bernoulli-Euler beams. Thin-Walled Struct. 2004, 42, 1689–1707. [Google Scholar] [CrossRef]
  8. Li, J.; Hua, H.; Shen, R.; Jin, X. Stochastic vibration of axially loaded monosymmetric Timoshenko thin-walled beam. J. Sound Vib. 2004, 274, 915–938. [Google Scholar] [CrossRef]
  9. Li, J.; Shen, R.; Hua, H.; Jin, X. Coupled bending and torsional vibration of axially loaded Bernoulli-Euler beams including warping effects. Appl. Acoust. 2004, 65, 153–170. [Google Scholar] [CrossRef]
  10. Li, J.; Shen, R.; Hua, H.; Jin, X. Response of monosymmetric thin-walled Timoshenko beams to random excitations. Int. J. Solids Struct. 2004, 41, 6023–6040. [Google Scholar] [CrossRef]
  11. Li, J.; Shen, R.; Hua, H.; Jin, X. Coupled bending and torsional vibration of axially loaded thin-walled Timoshenko beams. Int. J. Mech. Sci. 2004, 46, 299–320. [Google Scholar] [CrossRef]
  12. Li, J.; Li, W.; Shen, R.; Hua, H. Coupled bending and torsional vibration of nonsymmetrical axially loaded thin-walled Bernoulli-Euler beams. Mech. Res. Commun. 2004, 31, 697–711. [Google Scholar] [CrossRef]
  13. Prokic, A. On fivefold coupled vibrations of Timoshenko thin-walled beams. Eng. Struct. 2006, 28, 54–62. [Google Scholar] [CrossRef]
  14. Prokic, A.; Lukic, D. Flexural-Torsional Vibration Analysis of Axially Loaded Thin-Walled Beam. J. Braz. Soc. Mech. Sci. Eng. 2012, 34, 262–268. [Google Scholar]
  15. Yadav, A.; Panda, S.; Dey, T. Coupled Dynamic Instability Analysis of Thin-Walled Columns Subjected to Harmonic Axial Loading. Int. J. Appl. Mech. 2018, 10, 1850051. [Google Scholar] [CrossRef]
  16. Jrad, W.; Mohri, F.; Robin, G.; Daya, E.; Hajjar, J.A. Analytical and finite element solutions of free and forced vibration of unrestrained and braced thin-walled beams. J. Vib. Control 2020, 26, 255–276. [Google Scholar] [CrossRef]
  17. Burlon, A.; Failla, G. An original framework for triply-coupled bending-torsion dynamics of beams. Thin-Walled Struct. 2021, 159, 107317. [Google Scholar] [CrossRef]
  18. Cai, Y.; Chen, H.; Fan, X.; Lv, X. Flexural-torsional vibration of thin-walled beams with open cross sections considering the additional torsional moment. Acta Mech. 2023, 234, 6341–6357. [Google Scholar] [CrossRef]
  19. Banerjee, J.; Ananthapuvirajah, A. Coupled axial-bending dynamic stiffness matrix for beam elements. Comput. Struct. 2019, 215, 1–9. [Google Scholar] [CrossRef]
  20. Banerjee, J.; Ananthapuvirajah, A.; Liu, X.; Sun, C. Coupled axial-bending dynamic stiffness matrix and its applications for a Timoshenko beam with mass and elastic axes eccentricity. Thin-Walled Struct. 2021, 159, 107197. [Google Scholar] [CrossRef]
  21. Vo, T.; Lee, J.; Lee, K. On triply coupled vibrations of axially loaded thin-walled composite beams. Comput. Struct. 2010, 88, 144–153. [Google Scholar] [CrossRef][Green Version]
Figure 1. Beam with asymmetric cross-section subjected to time-varying distributed load.
Figure 1. Beam with asymmetric cross-section subjected to time-varying distributed load.
Applsci 14 11390 g001
Figure 2. Cross-section used in numerical example 1.
Figure 2. Cross-section used in numerical example 1.
Applsci 14 11390 g002
Figure 3. The impact of axial load variations on the lowest natural vibration frequency (rad/s) of numerical example 1: (a) L = 3, (b) L = 10, and (c) L = 50.
Figure 3. The impact of axial load variations on the lowest natural vibration frequency (rad/s) of numerical example 1: (a) L = 3, (b) L = 10, and (c) L = 50.
Applsci 14 11390 g003
Figure 4. Cross-section for numerical example 2.
Figure 4. Cross-section for numerical example 2.
Applsci 14 11390 g004
Figure 5. The impact of axial load variations on the lowest natural vibration frequency (rad/s) of numerical example 2: (a) L = 3, (b) L = 10, and (c) L = 50.
Figure 5. The impact of axial load variations on the lowest natural vibration frequency (rad/s) of numerical example 2: (a) L = 3, (b) L = 10, and (c) L = 50.
Applsci 14 11390 g005
Figure 6. Cross-section for numerical example 3.
Figure 6. Cross-section for numerical example 3.
Applsci 14 11390 g006
Figure 7. The impact of axial load variations on the lowest natural vibration frequency (rad/s) of numerical example 3: (a) L = 3, (b) L = 10, and (c) L = 50.
Figure 7. The impact of axial load variations on the lowest natural vibration frequency (rad/s) of numerical example 3: (a) L = 3, (b) L = 10, and (c) L = 50.
Applsci 14 11390 g007
Table 1. Natural frequencies (rad/s) of Timoshenko–Vlasov beam studied as numerical example 1.
Table 1. Natural frequencies (rad/s) of Timoshenko–Vlasov beam studied as numerical example 1.
External Mode L = 3 m L = 10 m L = 50 m
n = 1126.9212.110.96
623.7965.092.65
928.27110.834.62
4076.941609.39321.88
4648.633487.303359.94
5364.623532.803458.59
n = 2504.8346.192.47
1897.84247.5110.57
2439.76399.0618.38
5361.123218.77643.75
7075.233697.013377.22
10,729.243894.633467.12
n = 31132.85102.964.80
3351.31518.7123.71
3960.61786.9640.98
6830.853971.08965.63
9810.444441.753405.40
16,093.864828.163481.55
Table 2. Axial load at a natural frequency of zero for the different beam lengths and mode numbers of numerical example 1.
Table 2. Axial load at a natural frequency of zero for the different beam lengths and mode numbers of numerical example 1.
L (m)n = 1n = 2n = 3
33998.8 kN15,841.5 kN35,553.0 kN
10404.0 kN1470.7 kN3248.3 kN
5062.6 kN105.3 kN176.4 kN
Table 3. Natural frequencies (rad/s) of Timoshenko–Vlasov beam studied as numerical example 2.
Table 3. Natural frequencies (rad/s) of Timoshenko–Vlasov beam studied as numerical example 2.
External ModeL = 3 mL = 10 mL = 50 m
n = 1121.8111.380.77
798.3692.603.84
1180.57141.805.90
3206.051609.39321.88
5364.622487.692397.82
5867.064392.264212.44
n = 2485.2944.162.16
2200.81336.8815.28
3085.72509.3223.51
4651.502735.56643.75
8983.383218.772409.41
10,729.244893.864235.57
n = 31089.4798.764.37
3701.60673.4934.14
4996.541001.6752.45
6222.423078.47965.63
12,488.014828.162428.49
16,093.865600.634273.68
Table 4. Axial load at a natural frequency of zero for the different beam lengths and mode numbers of numerical example 2.
Table 4. Axial load at a natural frequency of zero for the different beam lengths and mode numbers of numerical example 2.
L (m)n = 1n = 2n = 3
33087.0 kN12,269.4 kN27,522.9 kN
10299.2 kN1126.6 kN2505.1 kN
5034.2 kN67.3 kN122.5 kN
Table 5. Natural frequencies (rad/s) of Timoshenko–Vlasov beam studied as numerical example 3.
Table 5. Natural frequencies (rad/s) of Timoshenko–Vlasov beam studied as numerical example 3.
External ModeL = 3 mL = 10 mL = 50 m
n = 119.573.600.66
469.9843.881.76
851.6283.423.37
5364.621609.39321.88
11,622.6210,678.3910,581.47
15,690.3515,123.0815,067.49
n = 268.418.801.34
1697.72173.577.04
2801.35324.7513.45
10,729.243218.77643.75
14,133.2910,972.2510,593.67
17,374.4815,294.7915,074.45
n = 3149.4516.422.04
3357.58383.5115.84
5135.78701.0930.21
16,093.864828.16965.63
17,345.4511,435.5810,613.94
19,766.8215,574.5215,086.05
Table 6. Axial load at a natural frequency of zero for the different beam lengths and mode numbers of numerical example 3.
Table 6. Axial load at a natural frequency of zero for the different beam lengths and mode numbers of numerical example 3.
L (m)n = 1n = 2n = 3
367.0 kN204.8 kN434.6 kN
1025.2 kN37.6 kN58.3 kN
5021.2 kN21.2 kN21.7 kN
Disclaimer/Publisher’s Note: The statements, opinions and data contained in all publications are solely those of the individual author(s) and contributor(s) and not of MDPI and/or the editor(s). MDPI and/or the editor(s) disclaim responsibility for any injury to people or property resulting from any ideas, methods, instructions or products referred to in the content.

Share and Cite

MDPI and ACS Style

Yu, Y.; Wei, H.; Zheng, B.; Tian, D.; He, L. Integrated Dynamic Analysis of Thin-Walled Beams: Coupled Bidirectional Bending, Torsion, and Axial Vibrations Under Axial Loads. Appl. Sci. 2024, 14, 11390. https://doi.org/10.3390/app142311390

AMA Style

Yu Y, Wei H, Zheng B, Tian D, He L. Integrated Dynamic Analysis of Thin-Walled Beams: Coupled Bidirectional Bending, Torsion, and Axial Vibrations Under Axial Loads. Applied Sciences. 2024; 14(23):11390. https://doi.org/10.3390/app142311390

Chicago/Turabian Style

Yu, Yunjie, Huanxia Wei, Baojing Zheng, Dongfang Tian, and Lingli He. 2024. "Integrated Dynamic Analysis of Thin-Walled Beams: Coupled Bidirectional Bending, Torsion, and Axial Vibrations Under Axial Loads" Applied Sciences 14, no. 23: 11390. https://doi.org/10.3390/app142311390

APA Style

Yu, Y., Wei, H., Zheng, B., Tian, D., & He, L. (2024). Integrated Dynamic Analysis of Thin-Walled Beams: Coupled Bidirectional Bending, Torsion, and Axial Vibrations Under Axial Loads. Applied Sciences, 14(23), 11390. https://doi.org/10.3390/app142311390

Note that from the first issue of 2016, this journal uses article numbers instead of page numbers. See further details here.

Article Metrics

Back to TopTop