Optimization of Embedded Retaining Walls Under the Effects of Groundwater Seepage Using a Reliability-Based and Partial Factor Design Approach
Abstract
1. Introduction
2. Optimization Model for the Embedded Retaining Wall
2.1. Objective Function and Geotechnical Constraints of the Optimization Model
- Balance the horizontal forces from active and passive earth pressure.
- Ensure that the moments generated by the active and passive earth pressure are balanced.
- Prevent failure due to hydraulic heave.
2.2. Expanded Optimization Model with a Target Probability of Failure
3. Application of the ORW Optimization Model—Case Study
3.1. Input Data for the Case Study
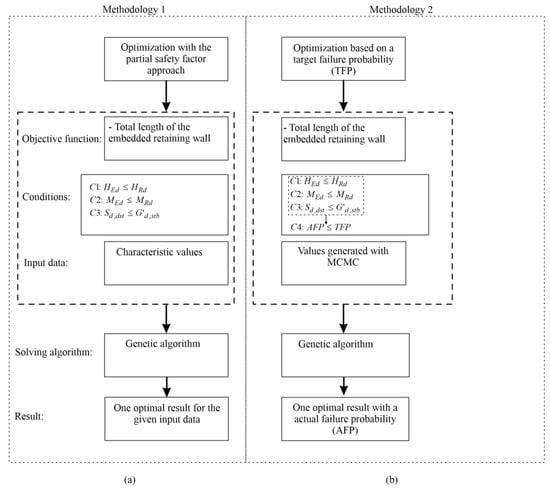
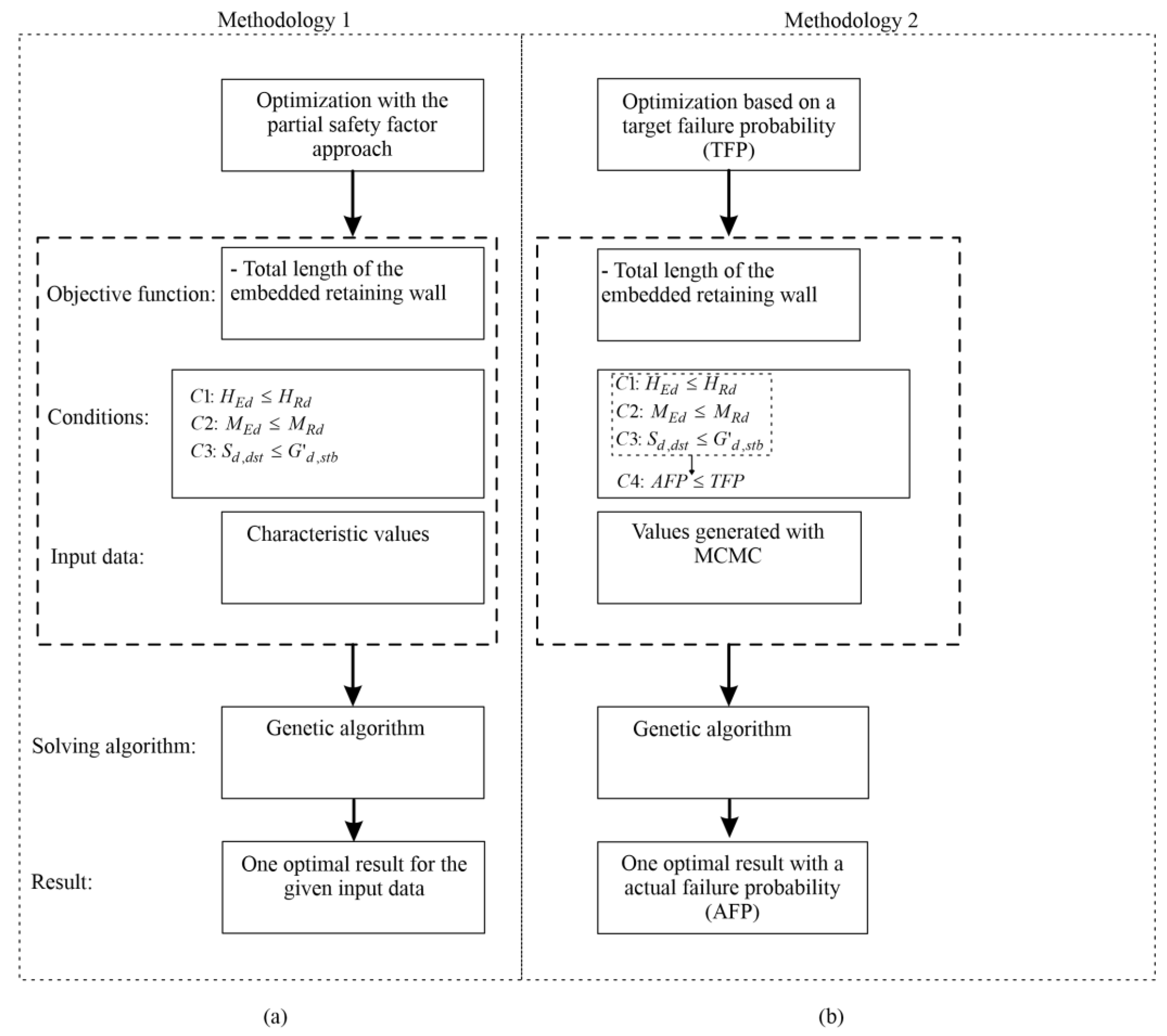
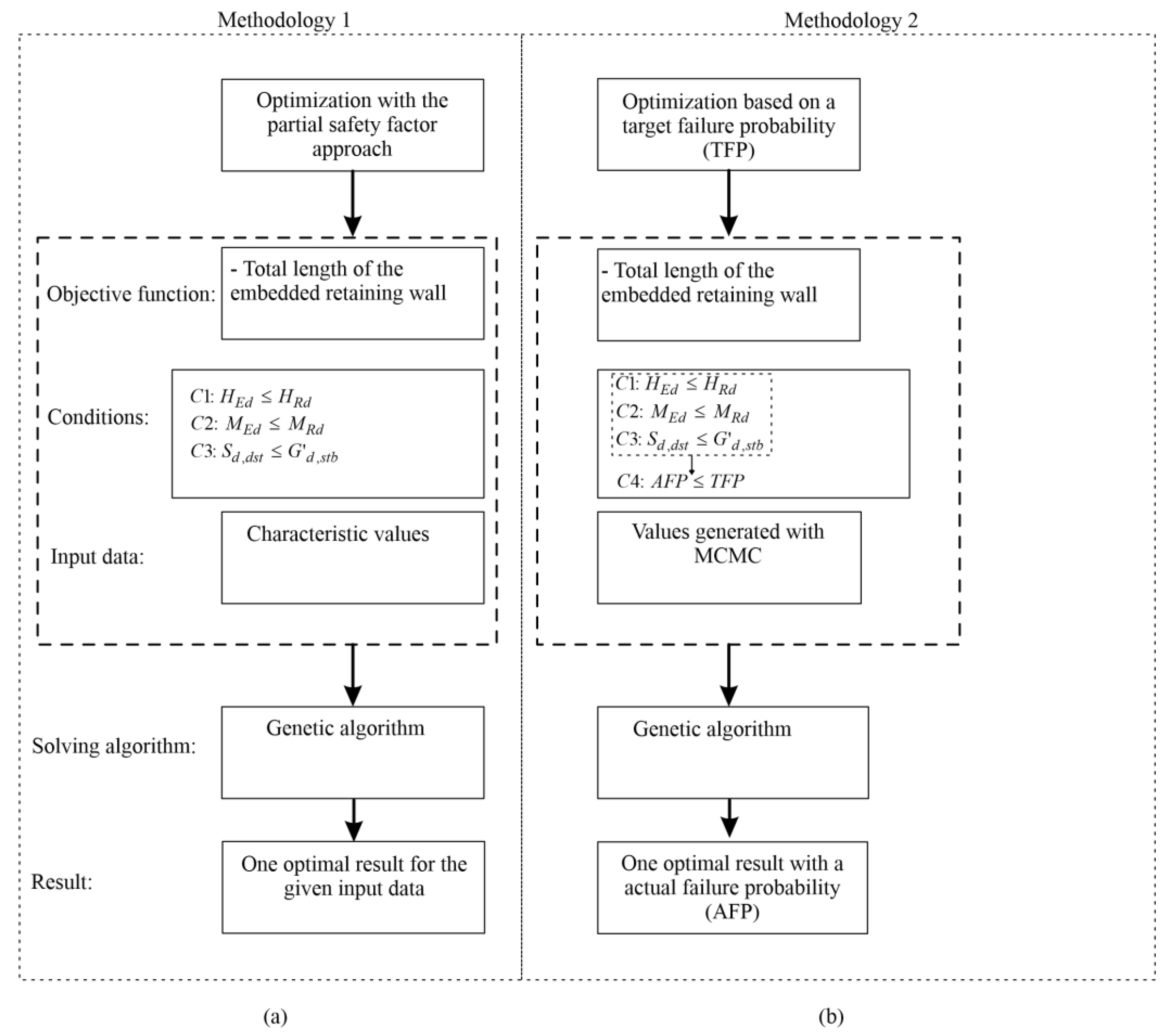
3.2. Optimization of the Embedded Retaining Wall with Partial Safety Factors (Methodology 1)
3.3. Optimization of the Embedded Retaining Wall with Target Failure Probability (Methodology 2)
4. Conclusions
Author Contributions
Funding
Institutional Review Board Statement
Informed Consent Statement
Data Availability Statement
Conflicts of Interest
Nomenclature
| Acronym | Meaning |
| AFP | Actual failure probability |
| BEST | Bayesian Equivalent Sample Toolkit |
| CDF | Cumulative Distribution Function |
| COV | Coefficient Of Variation |
| DA2 | Design approach 2 |
| DIN | Deutsche Institut für Normung |
| EC | Eurocode |
| MCMC | Monte Carlo Markov Chain |
| ORW | Optimal retaining wall |
| Probability density function | |
| RBD | Reliability-based design |
| TFP | Target failure probability |
| Symbol | Meaning |
| c′k | Cohesion of soil |
| d0.d | Pivot (rotation) point depth |
| d0.nom | Nominal pivot (rotation) point depth |
| dd | Embedment depth |
| dnom | Nominal embedment depth |
| G′d,stb | Submerged weight of the soil column |
| h1 | Average pressure head |
| HEd | Sum of horizontal forces |
| HEd,w,i | Horizontal forces due to groundwater presence |
| HEd,z,i | Horizontal forces due to earth pressure and surcharge load |
| Hnom | Nominal excavation depth |
| HRd | Sum of resistant horizontal forces |
| HRd,w,i | Horizontal resistances due to groundwater presence |
| HRd,z,i | Horizontal resistances due to earth pressure |
| hs | Total head pressure |
| ia | Hydraulic gradient (active side) |
| ip | Hydraulic gradient (passive side) |
| k | Reduction coefficient |
| Kach | Coefficient for active earth pressure due to cohesion of soil (active side) |
| Kaqh | Coefficient for active earth pressure due to surcharge load (active side) |
| Kaγh | Coefficient for active earth pressure due to soil unit weight (active side) |
| Kpch | Coefficient for active earth pressure due to cohesion of soil (passive side) |
| Kpγh | Coefficient for active earth pressure due to soil unit weight (passive side) |
| L | Total length of the wall |
| MEd | Design moment |
| MEd,w,i | Moment due to forces caused by groundwater |
| MEd,z,i | Moment due to forces caused by unit weight of soil and surcharge load |
| MRd | Resistant moment |
| MRd,w,i | Resisting moments due to groundwater |
| MRd,z,i | Resisting moments due to unit weight of soil |
| qQk | Uniformly distributed surcharge load |
| Sd,dst | Destabilizing seepage force |
| SFc | Partial safety factor for cohesion |
| SFG | Partial safety factor for permanent actions |
| SFG,fav | Partial safety factor for favorable permanent actions |
| SFQ | Partial safety factor for variable actions |
| SFRe | Partial safety factor for earth resistance |
| SFφ | Partial safety factor for the shear angle |
| ua,i | Individual water pressure (active side) |
| Ui | Randomly distributed values |
| up,i | Individual water pressure (passive side) |
| Xk | Characteristic value of a parameter |
| Xm | Mean value of a parameter |
| zi | Depth |
| Greek Symbol | Meaning |
| β | Slope angle |
| γk | Unit weight of soil |
| γ′k,a | Effective unit weight of soil (active side) |
| γ″k,a | Unit weight of soil when considering seepage (active side) |
| γ′k,p | Effective unit weight of soil (passive side) |
| γ″k,p | Unit weight of soil when considering seepage (passive side) |
| γw | Unit weight of water |
| ΔH | Change in depth due to site control |
| Δua,i | Change in water pressure (active side) |
| Δup,i | Change in water pressure (passive side) |
| κN | Coefficient for the sample population size |
| σ′a,d,i | Effective horizontal stresses (active side) |
| σN | Standard deviation |
| σ′p,d,i | Effective horizontal stresses (passive side) |
| σ′v,k,i | Effective vertical stresses (active side) |
| σ′v,k,i | Effective vertical stresses (passive side) |
| φ′k | Shear angle |
References
- Richards, D.J.; Wiggan, C.A.; Powrie, W. Seepage and Pore Pressures around Contiguous Pile Retaining Walls. Geotechnique 2016, 66, 523–532. [Google Scholar] [CrossRef]
- Bolshakov, Y.; Katsov, K.; Morozov, A.A. Seepage Properties of Materials of Antifiltration Earth Diaphragms. Int. J. Rock Mech. Min. Sci. Geomech. Abstr. 1984, 21, 73. [Google Scholar] [CrossRef]
- Yu, J.; Yang, X.-X.; Deng, P.-B.; Chen, W.-B. Analytical Solution for a Steady Seepage Field of a Foundation Pit in Layered Soil. Int. J. Geomech. 2022, 22, 1–10. [Google Scholar] [CrossRef]
- EN 1997-1; Eurocode 7: Geotechnical Design Part 1, Part 1. BSI: London, UK, 2004; ISBN 9780580671067/0580671062/0580452123/9780580452123.
- Kelly, L.; Tully, K.; Gaba, A.; Hardy, S.; Selemetas, D.; Doughty, L.; Powrie, W. Briefing: Ciria Guide C760: Guidance on Embedded Retaining Wall Design. Geotech. Res. 2019, 6, 234–242. [Google Scholar] [CrossRef]
- Tedd, P.; Charles, J.A. Strength of London Clay in Relation to the Design of Embedded Retaining Walls. Technical Note. Int. J. Rock Mech. Min. Sci. Geomech. Abstr. 1985, 22, 188. [Google Scholar] [CrossRef]
- Conte, E.; Troncone, A.; Vena, M. A Method for the Design of Embedded Cantilever Retaining Walls under Static and Seismic Loading. Geotechnique 2017, 67, 1081–1089. [Google Scholar] [CrossRef]
- Lees, A.S. Use of Geotechnical Numerical Methods with Eurocode 7. Proc. Inst. Civ. Eng. Comput. Mech. 2018, 170, 146–153. [Google Scholar] [CrossRef]
- Zastrow, P.; Molina-Moreno, F.; García-Segura, T.; Martí, J.V.; Yepes, V. Life Cycle Assessment of Cost-Optimized Buttress Earth-Retaining Walls: A Parametric Study. J. Clean. Prod. 2017, 140, 1037–1048. [Google Scholar] [CrossRef]
- Hosseinzadeh, S.; Joosse, J.F. Design Optimisation of Retaining Walls in Narrow Trenches Using Both Analytical and Numerical Methods. Comput. Geotech. 2015, 69, 338–351. [Google Scholar] [CrossRef]
- Gandomi, A.H.; Kashani, A.R.; Roke, D.A.; Mousavi, M. Optimization of Retaining Wall Design Using Recent Swarm Intelligence Techniques. Eng. Struct. 2015, 103, 72–84. [Google Scholar] [CrossRef]
- Mousa, A.; Isaac, R.; Eid, M.; Mohamed, A. Optimal design of restrained sheet pile walls. J. Adv. Eng. Trends 2020, 39, 109–120. [Google Scholar] [CrossRef][Green Version]
- Shao, J.; Fan, Z.; Huang, Y.; Zhan, Y.; Cai, Q. Multi-Objective Optimization of Double-Walled Steel Cofferdams Based on Response Surface Methodology and Particle Swarm Optimization Algorithm. Structures 2023, 49, 256–266. [Google Scholar] [CrossRef]
- Vaziri, H.H. A Simple Numerical Model for Analysis of Propped Embedded Retaining Walls. Int. J. Solids Struct. 1996, 33, 2357–2376. [Google Scholar] [CrossRef]
- Conti, R.; Viggiani, G.M.B. A New Limit Equilibrium Method for the Pseudostatic Design of Embedded Cantilevered Retaining Walls. Soil. Dyn. Earthq. Eng. 2013, 50, 143–150. [Google Scholar] [CrossRef]
- Gajan, S. Normalized relationships for depth of embedment of sheet pile walls and soldier pile walls in cohesionless soils. Soils Found. 2011, 51, 559–564. [Google Scholar] [CrossRef][Green Version]
- Krabbenhoft, K. Plastic Design of Embedded Retaining Walls. Proc. Inst. Civ. Eng. Geotech. Eng. 2018, 172, 131–144. [Google Scholar] [CrossRef]
- Krabbenhoft, K.; Damkilde, L.; Krabbenhoft, S. Ultimate Limit State Design of Sheet Pile Walls by Finite Elements 551 and Nonlinear Programming. Compos. Struct. 2005, 83, 383–393. [Google Scholar] [CrossRef]
- Daryani, K.E.; Mohamad, H. System Reliability-Based Analysis of Cantilever Retaining Walls Embedded in Granular Soils. Georisk Assess. Manag. Risk Eng. Syst. Geohazards 2014, 8, 192–201. [Google Scholar] [CrossRef]
- Li, D.-Q.; Shao, K.-B.; Cao, Z.-J.; Tang, X.-S.; Phoon, K.-K. A Generalized Surrogate Response Aided-Subset Simulation Approach for Efficient Geotechnical Reliability-Based Design. Comput. Geotech. 2016, 74, 88–101. [Google Scholar] [CrossRef]
- Fenton, G.A.; Griffiths, D.V.; Naghibi, F. Future Directions in Reliability-Based Geotechnical Design; Geo-Risk 2017; American Society of Civil Engineers: Reston, VR, USA, 2017; pp. 69–95. [Google Scholar] [CrossRef]
- Day, P.; De Koker, N. Assessment of Reliability-Based Design for a Spectrum of Geotechnical Design Problems. Proc. Inst. Civ. Eng. Geotech. Eng. 2017, 171, 147–159. [Google Scholar] [CrossRef]
- Low, B.K. Reliability-Based Design Applied to Retaining Walls. In Risk and Variability in Geotechnical Engineering; Thomas Telford Publishing: London, UK, 2007; pp. 151–163. ISBN 9780727734860. [Google Scholar]
- Varga, R.; Jelušič, P. Failure Probability of an Optimally Designed Gravity Retaining Wall. ASCE-ASME J. Risk Uncertain. Eng. Syst. Part A Civ. Eng. 2022, 8, 04022007. [Google Scholar] [CrossRef]
- Bond, A.; Harris, A. Decoding Eurocode 7; CRC Press: London, UK; New York, NY, USA, 2006; ISBN 9780429082535. [Google Scholar]
- DIN 4085:2011-05; Deutsches institut für Normung. German Institute for Standardisation: Berlin, Germany, 2011.
- Wang, Y.; Akeju, O.V.; Cao, Z. Bayesian Equivalent Sample Toolkit (BEST): An Excel VBA Program for Probabilistic Characterisation of Geotechnical Properties from Limited Observation Data. Georisk Assess. Manag. Risk Eng. Syst. Geohazards 2016, 10, 251–268. [Google Scholar] [CrossRef]
- Phoon, K.K.; Kulhawy, F.H. Evaluation of geotechnical property variability. Can. Geotech. J. 1999, 36, 625–639. [Google Scholar] [CrossRef]
- Phoon, K.K.; Kulhawy, F.H. Characterization of geotechnical variability. Can. Geotech. J. 1999, 36, 612–624. [Google Scholar] [CrossRef]
- Phoon, K.K. (Ed.) Reliability-Based Design in Geotechnical Engineering: Computations and Applications; CRC Press: London, UK, 2008; p. 544. [Google Scholar] [CrossRef]
- Doganaksoy, N.; Ushakov, I.A.; Harrison, R.A. Handbook of Reliability Engineering. J. Am. Stat. Assoc. 1995, 90, 804. [Google Scholar] [CrossRef]
- Rackwitz, R. Reviewing Probabilistic Soils Modelling. Comput. Geotech. 2000, 26, 199–223. [Google Scholar] [CrossRef]
- Rackwitz, R.; Flessler, B. Structural Reliability under Combined Random Load Sequences. Comput. Struct. 1978, 9, 489–494. [Google Scholar] [CrossRef]
- Phoon, K.-K.; Retief, J.V. Reliability of Geotechnical Structures in ISO2394; CRC Press: London, UK, 2016; ISBN 9781351783408. [Google Scholar]
- EURONORM EN 1990; Eurocode—Basis of Structural Design. European Commission: Brussels, Belgium, 2002.
- NAVFAC. Foundations and Earth Structures. Naval Facilities Engineering Command; DM.7.02; Department of Navy. Bureau of Yards and Docks: Alexandria, VR, USA, 1986; p. 278.





| Condition 1: | (2) | ||
| (2a) | (2ai) | ||
| (2b) | (2aj) | ||
| (2c) | (2ak) | ||
| (2d) | (2al) | ||
| (2e) | (2am) | ||
| (2f) | (2an) | ||
| (2g) | (2ao) | ||
| (2h) | (2ap) | ||
| (2i) | Three different cases are analyzed and the change in unit weight for and is as follows: | ||
| (2j) | Case 1: no presence of groundwater: | ||
| (2k) | (2ar) | ||
| (2l) | (2as) | ||
| (2m) | Case 2: groundwater is present (hydrostatic conditions): | ||
| (2n) | (2at) | ||
| (2o) | (2au) | ||
| (2p) | Case 3: groundwater and seepage are present: | ||
| (2r) | (2av) | ||
| (2s) | (2az) | ||
| (2t) | (2ba) | ||
| (2u) | (2bb) | ||
| (2v) | (2bc) | ||
| (2z) | (2bd) | ||
| (2aa) | (2be) | ||
| (2ab) | (2bf) | ||
| (2ac) | (2bg) | ||
| (2ad) | (2bh) | ||
| (2ae) | (2bi) | ||
| (2af) | (2bj) | ||
| (2ag) | (2bk) | ||
| (2ah) | |||
| Condition 2: | (3) | ||
| (3a) | (3h) | ||
| (3b) | (3i) | ||
| (3c) | (3j) | ||
| (3d) | (3k) | ||
| (3e) | (3l) | ||
| (3f) | (3m) | ||
| (3g) | (3n) | ||
| Condition 3: | (4) | ||
| (4a) | (4d) | ||
| (4b) | (4e) | ||
| (4c) | |||
| Correlation of the heights and depths: | |||
| (4f) | (4i) | ||
| (4g) | (4j) | ||
| (4h) | |||
| Random Variable | Value Estimated with Laboratory Tests and Field Tests | |||||||||
|---|---|---|---|---|---|---|---|---|---|---|
| φ′k (°) | 34.35 | 34.46 | 34.67 | 34.75 | 35.21 | 35.71 | 35.81 | 35.97 | 36.06 | 36.11 |
| 36.33 | 36.39 | 36.81 | 37.26 | 37.76 | ||||||
| c′k (kPa) | 5.71 | 5.79 | 5.85 | 5.90 | 5.92 | 5.96 | 5.97 | 5.98 | 6.07 | 6.13 |
| 6.22 | 6.36 | 6.37 | 6.44 | 6.48 | ||||||
| γk (kN/m3) | 19.61 | 19.79 | 19.91 | 19.92 | 19.98 | 20.54 | 20.68 | 20.84 | 20.99 | 21.02 |
| 21.34 | 21.49 | 21.55 | 21.78 | 21.82 | ||||||
| Random Variables | Min. Value | Max. Value | COV [%] | Min. Standard Deviation | Max. Standard Deviation |
|---|---|---|---|---|---|
| φ′k (°) | 34.35 | 37.76 | 5–10 | 1.72 | 3.78 |
| c′k (kPa) | 5.71 | 6.48 | 20–30 | 1.14 | 1.95 |
| γk (kN/m3) | 19.61 | 21.82 | 4–6 | 0.78 | 1.31 |
| Random Variable | Statistical Parameter | Value | Distribution |
|---|---|---|---|
| φ′k (°) | Mean value | 35.15 | Normal |
| Standard deviation | 0.82 | ||
| c′k (kPa) | Mean value | 6.6 | Normal |
| Standard deviation | 1.05 | ||
| γk (kN/m3) | Mean value | 20.55 | Normal |
| Standard deviation | 0.24 | ||
| ka | Minimal value | 0.5 | Triangle |
| Most probable value | 2/3 | ||
| Maximal value | 1 | ||
| Mean value | 0.71 | ||
| Standard deviation | 0.1 | ||
| kp | Minimal value | 0.3 | Triangle |
| Most probable value | 0.35 | ||
| Maximal value | 0.5 | ||
| Mean value | 0.39 | ||
| Standard deviation | 0.11 |
| Symbol | Description | Value |
|---|---|---|
| qQ,k | Uniformly distributed surcharge load | 14.5 kN/m |
| β | Slope angle | 0° |
| h | Groundwater height | 0 m |
| ka | Reduction coefficient on the active side | 2/3 |
| kp | Reduction coefficient on the passive side | 0.35 |
| φ′k | Shear angle of soil | 33.80° |
| c′k | Cohesion of soil | 4.87 kPa |
| γk | Unit weight of soil | 20.16 kN/m3 |
| γw | Unit weight of water | 9.81 kN/m3 |
| Hnom | Height of excavation | 3.2 m |
| Partial safety factors for DA2 | DA2 | |
| SFG | Partial safety factor for permanent actions | 1.35 |
| SFG,fav | Partial safety factor for favorable permanent actions | 1.0 |
| SFQ | Partial safety factor for variable actions | 1.5 |
| SFφ | Partial safety factor for the shear angle | 1.0 |
| SFc | Partial safety factor for the cohesion | 1.0 |
| SFRe | Partial safety factor for earth resistance | 1.4 |
| No Groundwater | Groundwater Present (Hydrostatic Conditions) | Groundwater and Seepage (Groundwater-Flow) | Groundwater, Seepage and Hydraulic Heave | |
|---|---|---|---|---|
| dd [m] | 2.691 | 6.459 | 6.520 | 6.520 |
| TFP | Embedment Depth dd [m] | |||
|---|---|---|---|---|
| No Groundwater | Groundwater Present (Hydrostatic Conditions) | Groundwater and Seepage (Groundwater-Flow) | Groundwater, Seepage and Hydraulic Heave | |
| 0 | 2.72 | 6.71 | 7.14 | 7.14 |
| 0.00001 | 2.71 | 6.59 | 6.90 | 6.90 |
| 0.00005 | 2.68 | 6.34 | 6.57 | 6.57 |
| 0.0001 | 2.62 | 6.06 | 6.32 | 6.32 |
| 0.0005 | 2.49 | 5.89 | 6.09 | 6.09 |
| 0.001 | 2.45 | 5.78 | 5.98 | 5.98 |
| 0.005 | 2.33 | 5.51 | 5.67 | 5.67 |
| 0.01 | 2.27 | 5.36 | 5.51 | 5.51 |
| 0.05 | 2.1 | 5.02 | 5.13 | 5.13 |
| 0.1 | 2.02 | 4.79 | 4.93 | 4.93 |
| 1 | 1.23 | 2.62 | 2.82 | 2.82 |
| No Groundwater | Groundwater Present (Hydrostatic Conditions) | Groundwater and Seepage (Groundwater-Flow) | Groundwater, Seepage and Hydraulic Heave | |
|---|---|---|---|---|
| Embedment depth dd [m] | 2.691 | 6.459 | 6.520 | 6.520 |
| Actual failure probability (AFP) | 0.00002 | 0.00002 | 0.00008 | 0.00008 |
| Failure Mechanism | No Groundwater | Groundwater Present (Hydrostatic Conditions) | Groundwater and Seepage (Groundwater-Flow) | Groundwater, Seepage and Hydraulic Heave |
|---|---|---|---|---|
| 0 * | 0 | 0 | 0 | |
| 2 | 2 | 8 | 8 | |
| 0 | 0 | 0 | 8 |
Disclaimer/Publisher’s Note: The statements, opinions and data contained in all publications are solely those of the individual author(s) and contributor(s) and not of MDPI and/or the editor(s). MDPI and/or the editor(s) disclaim responsibility for any injury to people or property resulting from any ideas, methods, instructions or products referred to in the content. |
© 2024 by the authors. Licensee MDPI, Basel, Switzerland. This article is an open access article distributed under the terms and conditions of the Creative Commons Attribution (CC BY) license (https://creativecommons.org/licenses/by/4.0/).
Share and Cite
Varga, R.; Žlender, B.; Jelušič, P. Optimization of Embedded Retaining Walls Under the Effects of Groundwater Seepage Using a Reliability-Based and Partial Factor Design Approach. Appl. Sci. 2024, 14, 11135. https://doi.org/10.3390/app142311135
Varga R, Žlender B, Jelušič P. Optimization of Embedded Retaining Walls Under the Effects of Groundwater Seepage Using a Reliability-Based and Partial Factor Design Approach. Applied Sciences. 2024; 14(23):11135. https://doi.org/10.3390/app142311135
Chicago/Turabian StyleVarga, Rok, Bojan Žlender, and Primož Jelušič. 2024. "Optimization of Embedded Retaining Walls Under the Effects of Groundwater Seepage Using a Reliability-Based and Partial Factor Design Approach" Applied Sciences 14, no. 23: 11135. https://doi.org/10.3390/app142311135
APA StyleVarga, R., Žlender, B., & Jelušič, P. (2024). Optimization of Embedded Retaining Walls Under the Effects of Groundwater Seepage Using a Reliability-Based and Partial Factor Design Approach. Applied Sciences, 14(23), 11135. https://doi.org/10.3390/app142311135

