Key Parameter Design and Experimental Analysis for Peelable Seedling Belts in Sweet Potato Transplanting Systems
Abstract
1. Introduction
2. Materials and Methods
2.1. Working Principle of the Seedling Belt Sweet Potato Transplanter
2.2. Design of Key Parameters for the Seedling Belt
2.2.1. Structure of the Seedling Belt
2.2.2. Calculation of Heat Seal Points’ Peel Strength
2.2.3. The Principle of Seedling Belt Peeling
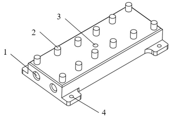
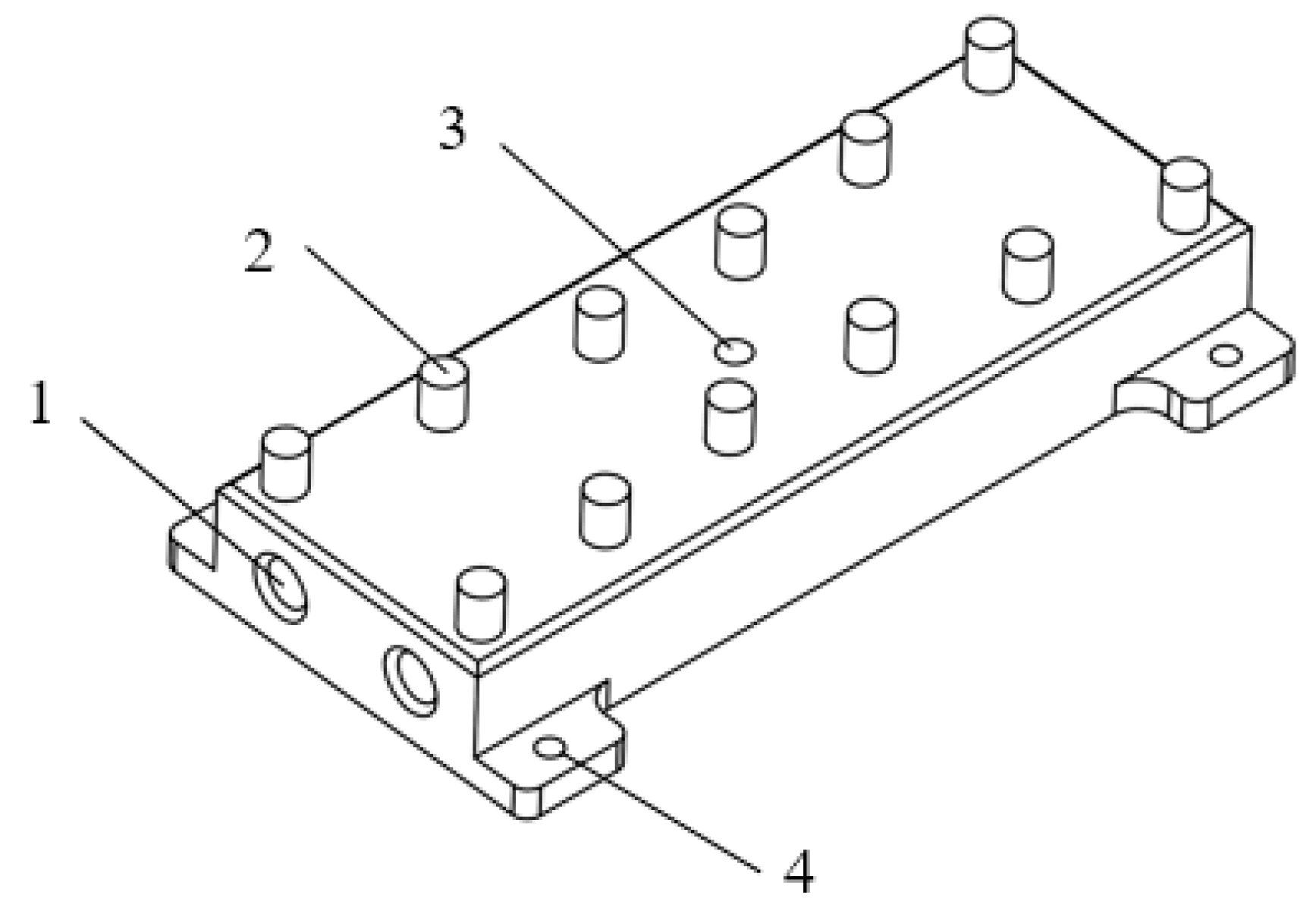
2.3. Design of Heat Seal Experimental Device
2.3.1. Structural Composition
2.3.2. Working Principle
2.3.3. Design of Heat Sealing Jaw
2.4. Experimental Study on Key Parameters of Seedling Belt Heat Sealing
2.4.1. Experimental Apparatus and Equipment
- Heat Seal Experimental Device. The main working components of the seedling belt heat seal are primarily made of aluminum alloy, and the heat sealing jaw can be equipped with different bonding point specifications. For precise adjustment of the heat sealing pressure, a cylinder-driven heat sealing jaw is used. An SDA thin cylinder with a diameter of 20 mm and a stroke of 15 mm is selected for this purpose. During heat sealing, a phenolic plastic board measuring 200 mm × 200 mm × 20 mm, known for its excellent electrical insulation and heat insulation, is placed directly beneath the heat sealing jaw. To account for fabrication inaccuracies of the test stand, 2 mm thick cardboard is placed on the phenolic resin board to ensure an even distribution of force between the heat sealing jaw bonding points and the test sample, thereby minimizing experimental error.
- Intelligent Temperature Controller. The Taiquan TC4M model intelligent temperature controller is used, powered by 24 V. It controls the temperature of the heat sealing jaw via its control panel and is connected to a control relay, which in turn, connects to the electric heating tube. When the temperature of the heat sealing jaw does not reach the set value, the temperature controller activates the relay to power the electric heating tube, heating the jaw to the set temperature. Once the set temperature is reached, the temperature controller disconnects the relay, stopping the heating. The overall temperature control precision can be maintained within ±0.3 °C.
- PT100-Type Thermistor. The PT100-type thermocouple has a simple structure and can directly measure the temperatures of liquids, gases, and solids within the range of −50 °C to 250 °C. It is a metal-type thermocouple and possesses several excellent characteristics such as high measurement accuracy (±0.1 °C), a wide measuring range, good linearity, high thermoelectric potential, high sensitivity, and good uniformity [24]. The PT100-type thermistor is embedded inside the heat sealing jaw to monitor its real-time temperature. The temperature controller collects the temperature signals to ensure that the temperature remains constant at the set value.
- Air Compressor. A small 220 V air compressor is used, which allows for precise control of the output air pressure via its control panel. The output air pressure ranges from 0.01 to 0.7 MPa.
- Electric Heating Tube. Based on the calculated heating power requirements for the heat sealing jaw previously discussed, selecting a heating tube with a power of 100 W per unit is sufficient to meet experimental needs.
- Switch Power Supply. The switch power supply uses a 24 V DC source, with a maximum output power of 300 W, providing power to the heating rod, temperature controller, and solenoid valve.
- Solenoid Valve with Control Box. The solenoid valve controls the extension and retraction of the cylinder. The cylinder’s operating time can be adjusted via the setting keys on the valve’s programmable control box, with a control precision of 0.1 s.
- Universal Testing Machine. This is used to precisely measure the peeling force required for the separation of the seedling belt.
2.4.2. Experimental Materials
2.4.3. Experimental Method
3. Results
3.1. Single-Factor Experiment
3.1.1. Determination of Peeling Strength
3.1.2. Bonding Point Peeling Conditions Under Different Heat Seal Strengths
3.2. Orthogonal Experiment
3.3. Validation of Optimal Parameters
4. Discussion
- In traditional sweet potato transplanting operations, manual labor is required to assist the transplanter by individually placing seedlings into specific feeding or delivery mechanisms [27,28], after which the planting mechanism plants the seedlings into the soil. The operational efficiency is limited by manual labor. The seedling belt feeding scheme proposed in this paper not only enables automated and efficient transplanting but also reduces labor input. Meanwhile, the seedling belt feeding scheme is not only applicable to the transplanting of bare sweet potato seedlings but also offers significant reference value for other similar crops such as codonopsis pilosula and rapeseed. In the field of automated sweet potato transplanting, seedling belt feeding has great development potential and represents the future direction for bare seedling transplanting.
- This study, through single-factor and orthogonal experiments, identified the key factors influencing the heat sealing effectiveness of seedling belts and their optimal parameter combinations. These parameters not only significantly enhanced the stability of the peel strength of the seedling tapes but also provided a critical theoretical basis for the design of automated seedling tape production equipment. However, the current experiments were primarily conducted using LDPE film, without considering the heat sealing performance variations when involving multilayer composite materials or films containing impurities. Future research could expand to more types of film materials and under complex environmental conditions (such as high humidity and temperature fluctuations) to further validate the applicability of the heat sealing parameters, thereby enhancing the technology’s universality and suitability.
- The results of this experiment met expectations; based on calculations of seedling belt bonding point strength, the target peeling strength was determined to be 13.2 N. At this strength, the connection at the bonding points can effectively secure the sweet potato seedlings and ensure that the bonding points do not damage the film during peeling. However, in this experiment, the temperature monitoring location was inside the main body of the heat sealing tool, and the temperature sensor displayed the temperature of the main body, not directly monitoring the contact surface of the hot spot. Therefore, there is a certain deviation between the displayed temperature and the temperature at the contact surface of the hot spot. In future research, it is recommended to directly monitor the temperature at the contact surface to reduce experimental errors.
- This study primarily examines the impact of heat sealing parameters on seedling tape performance from the perspectives of materials science and mechanical engineering, while the practical application of sweet potato seedling tapes spans multiple fields such as crop biology and agronomy. For instance, whether the rhizome structure of sweet potato seedlings is damaged due to excessive heat sealing strength and how the heat sealing effectiveness of film materials varies under different seasonal climatic conditions both necessitate interdisciplinary collaborative research. Furthermore, researching the specific needs of other similar bare-root crops in relation to seedling belt materials and heat sealing processes will provide more comprehensive guidance for the development of agricultural mechanization equipment.
5. Conclusions
- In response to the operational needs of the seedling belt-style sweet potato transplanter and the agronomic requirements for planting bare sweet potato seedlings, this paper uses LDPE film as the base material to design a new type of “bell-mouth” staggered seedling belt structure. Utilizing the heat sealing properties of LDPE film, sweet potato seedlings are fixed between films. The structural feature of this design is that it requires minimal force to separate the seedling belts, which facilitates smooth peeling.
- Considering the fixation state of sweet potato seedlings in the seedling belt, a force analysis was conducted on the bonding points of the belt. Calculations revealed that when the peel force at the bonding points is 13.2 N, the seedlings can be stably fixed. In single-factor experiments, the individual effects of each factor on the peel strength were examined, and the results showed that temperature, time, and pressure all have significant impacts on the peel strength. Comparing the separation states of seedling belts under different peel strengths, when the peel strength, W, is around 13 N, the bonding points exhibit the best peeling state at this strength. The bonding points can peel smoothly without tearing the film, thus demonstrating that the optimal heat sealing effect of the seedling belt is achieved at a peel strength of 13.2 N.
- The reasonable value ranges of influencing factors were determined through single-factor experiments. On this basis, a three-factor, three-level orthogonal experiment was conducted. The results indicated that the order of significance of each factor’s effect on heat sealing strength is A, B, and C. Through a comprehensive range and variance analysis, the optimal parameter combination was determined to be A2B3C3, that is, a heat sealing temperature of 140 °C, time of 1.2 s, and pressure of 0.4 MPa. Under these parameters, the experiment was repeated ten times, and the average peel strength of the seedling belt obtained after testing was 14.31 N, with the peeling state of the heat-sealed points meeting expectations.
Author Contributions
Funding
Data Availability Statement
Conflicts of Interest
References
- Zhou, X.Z.; Yan, W.; Wang, Y.X.; Liu, H.J.; Zhang, W.Y. Research Status and Prospect of Sweet Potato Mechanized Transplanting Tchnology. J. Chin. Agric. 2023, 44, 35–40. [Google Scholar]
- Yan, W.; Zhang, W.Y.; Hu, M.J.; Ji, Y.; Li, K.; Qi, B. Present Situation of Research and Expectation on Plant Mechanization of Sweet Potato in China and Abroad. J. Chin. Agric. 2018, 39, 12–16. [Google Scholar]
- Zhang, W.; Zhu, Q.; Zhang, T.; Liu, H.; Mu, G. Design and Control of a Side Dense Transplanting Machine for Sweet Potato Seedlings on Mulch Film. Comput. Electron. Agric. 2024, 224, 109193. [Google Scholar] [CrossRef]
- Liu, Z.; Wang, X.; Zheng, W.; Lv, Z.; Zhang, W. Design of a Sweet Potato Transplanter Based on a Robot Arm. Appl. Sci. 2021, 11, 9349. [Google Scholar] [CrossRef]
- Wu, X.; Shentu, L.F.; Liu, H.; Sun, X.Z.; Zhang, W.Y. Design of Sweet Potato Tray Clamping Transplanter. J. Agric. Mech. Res. 2022, 44, 107–112. [Google Scholar]
- Yan, W.; Zhang, W.Y.; Hu, M.J.; Ji, Y.; Li, K.; Qi, B. Comparative Experimental Study on Working Performance of Three Kinds of Sweet Potato Transplants. J. Jiangsu Norm. Univ. Nat. Sci. Ed. 2018, 36, 50–53. [Google Scholar]
- Han, J.W. Study on Design and Experimental of Automatic and Orderly Seedling Separation Equipment for Sweet Potato Seedlings. Doctoral Dissertation, Shandong Agricultural University, Taian, China, 2022. [Google Scholar]
- Shao, Y.Y.; Zhang, H.D.; Xuan, G.T.; Zhang, T.; Guan, X.L.; Wang, F.H. Simulation and Experiment of a Transplanting Mechanism for Sweet Potato Seedlings with ‘Boat-Bottom’ Transplanting Trajectory. Int. J. Agric. Biol. Eng. 2023, 16, 96–101. [Google Scholar] [CrossRef]
- Wu, G.W.; An, X.F.; Yan, B.X.; Li, L.W.; He, Y.F.; Meng, Z.J. Design and Experiment of Automatic Transplanter for Sweet Potato Naked Seedlings Based on Pretreatment Seedling Belt. J. Trans. Chin. Soc. Agric. Mach. 2022, 53, 99–109. [Google Scholar]
- Dong, A.H.; Liu, Z.T.; Zhou, M.X.; Tian, H.; Huang, H.N.; Yuan, Z.H. Optimization design and experiment of seedling conveying device of automatic transplanter. J. Henan Agric. Univ. 2024, 1–15. [Google Scholar] [CrossRef]
- Aghkand, Z.K. Effect of Sealant Structure and Sealing Condition on Heat Sealing Performance of Polyethylene Films. Doctoral Dissertation, Ecole Polytechnique, Montreal, QC, Canada, 2021. [Google Scholar]
- Ilhan, I.; Turan, D.; Gibson, I.; Ten Klooster, R. Understanding the Factors Affecting the Seal Integrity in Heat Sealed Flexible Food Packages: A Review. Packag. Technol. Sci. 2021, 34, 321–337. [Google Scholar] [CrossRef]
- Vu Minh, T.; Cong Thiet, V.; Thanh Tung, T. Design of an Automated Plastic Bag Packaging Machine. Acta Tecnol. 2023, 9, 35–38. [Google Scholar] [CrossRef]
- He, Y.F.; Cong, Y.; Yan, B.X.; Zu, Q.C.; Wu, G.W. Kinematics analysis and experiment of horizontal planting of sweet potato naked seedlings based on flexible disc. J. China Agric. Univ. 2022, 27, 187–196. [Google Scholar]
- Zhou, Q. Design and Experiment of Sweet Potato Transplanter for Linear Automatic Seedlings. Doctoral Dissertation, Anhui Agricultural University, Hefei, China, 2022. [Google Scholar]
- He, Y.; Zhu, Q.Z.; Fu, W.Q.; Luo, C.H.; Cong, Y.; Qin, W.C.; Meng, Z.J.; Chen, L.P.; Zhao, C.J.; Wu, G.W. Design and Experiment of a Control System for Sweet Potato Seedling Feeding and Planting Device Based on Pretreatment Seedling Belt. J. Agric. Eng. 2022, 53, 3. [Google Scholar] [CrossRef]
- Yan, W.; Hu, M.; Li, K.; Wang, J.; Zhang, W.Y. Design and Experiment of Horizontal Transplanter for Sweet Potato Seedlings. Agriculture 2022, 12, 675. [Google Scholar] [CrossRef]
- Mihindukulasuriya, S.; Lim, L.T. Effects of Liquid Contaminants on Heat Seal Strength of Low-density Polyethylene Film. Package. Technol. Sci. 2012, 25, 271–284. [Google Scholar] [CrossRef]
- Zhao, H.; Liu, X.X.; Pan, Z.G.; Li, L.; Sun, Y. Agronomic characteristics and mechanized planting technology of sweet potato. J. Chin. Agric. Mech. 2021, 42, 21–26. [Google Scholar]
- Liu, G.H.; Xiao, W. Analysis of winding tension of film winding machine. J. Manuf. Autom. 2021, 43, 116–120. [Google Scholar]
- Park, J.; Lee, C. Effect of Radial Stress on the Adhesive Force of a Wound Roll in Industrial Roll-to-Roll Manufacturing System. Int. J. Precis. Eng. Manuf. 2018, 19, 411–415. [Google Scholar] [CrossRef]
- Czerwinski, F. Thermal Stability of Aluminum Alloys. Materials 2020, 13, 3441. [Google Scholar] [CrossRef]
- Desai, P.D. Thermodynamic Properties of Selected Binary Aluminum Alloy Systems. J. Phys. Chem. Ref. Data 1987, 16, 109–124. [Google Scholar] [CrossRef]
- Sung, W.T.; Chen, J.H.; Hsiao, C.L. Data Fusion for PT100 Temperature Sensing System Heating Control Model. J. Meas. 2014, 52, 94–101. [Google Scholar] [CrossRef]
- Shao, Y.Y.; Liu, Y.; Xuan, G.T.; Hu, Z.C.; Han, X.; Wang, Y.X.; Chen, B.; Wang, W.Y. Design and Test of Multifunctional Vegetable Transplanting Machine. IFAC-PapersOnLine 2019, 52, 92–97. [Google Scholar] [CrossRef]
- Wu, G.W.; Wang, S.J.; Zhang, A.Q.; Xiao, Y.J.; Li, L.W.; Yin, Y.X.; Li, H.Q.; Wen, C.K.; Yan, B.X. Optimized Design and Experiment of a Self-Covering Furrow Opener for an Automatic Sweet Potato Seedling Transplanting Machine. Sustainability 2023, 15, 13091. [Google Scholar] [CrossRef]
- Zhou, B.; Miao, H.; Guan, C.; Ji, X.; Wang, X. Design and Test of Seedling-Picking Mechanism of Fully Automatic Transplanting Machine. Appl. Sci. 2024, 14, 9235. [Google Scholar] [CrossRef]
- Yang, Q.; Ahmad, I.; Faheem, M.; Siddique, B.; Xu, H.; Addy, M. Development and Assessment of Belt-Drive Seedlings Transmission Device for Fully-Automatic Vegetable Transplanter. Comput. Electron. Agric. 2021, 182, 105958. [Google Scholar] [CrossRef]













| No. | Temperature (°C) | Time (s) | Pressure (MPa) |
|---|---|---|---|
| 1 | 135 | 1 | 0.3 |
| 2 | 140 | 1.1 | 0.35 |
| 3 | 145 | 1.2 | 0.4 |
| 4 | 150 | 1.3 | 0.45 |
| 5 | 155 | 1.4 | 0.5 |
| No. | Temperature/°C | Time/s | Pressure/MPa | Peel Strength/N | Variance/S2 |
|---|---|---|---|---|---|
| 1 | 135 | 1.2 | 0.4 | 8.24 | 0.2674 |
| 2 | 140 | 1.2 | 0.4 | 12.45 | 0.3331 |
| 3 | 145 | 1.2 | 0.4 | 18.73 | 0.4306 |
| 4 | 150 | 1.2 | 0.4 | 23.43 | 0.3329 |
| 5 | 155 | 1.2 | 0.4 | 34.33 | 0.5207 |
| 6 | 145 | 1 | 0.4 | 10.24 | 0.2671 |
| 7 | 145 | 1.1 | 0.4 | 14.45 | 0.2134 |
| 8 | 145 | 1.2 | 0.4 | 18.23 | 0.4346 |
| 9 | 145 | 1.3 | 0.4 | 25.43 | 0.3265 |
| 10 | 145 | 1.4 | 0.4 | 31.33 | 0.3221 |
| 11 | 145 | 1.2 | 0.30 | 10.84 | 0.6773 |
| 12 | 145 | 1.2 | 0.35 | 15.45 | 0.3685 |
| 13 | 145 | 1.2 | 0.40 | 18.73 | 0.5513 |
| 14 | 145 | 1.2 | 0.45 | 24.43 | 0.4291 |
| 15 | 145 | 1.2 | 0.50 | 26.43 | 0.4841 |
| Levels | Temperature/°C | Pressure/MPa |
|---|---|---|
| 1 | 135 | 0.3 |
| 2 | 140 | 0.35 |
| 3 | 145 | 0.4 |
| No. | Experiment Factors | Evaluation Indicators | |||
|---|---|---|---|---|---|
| Peeling Strength W/N | |||||
| 1 | 1 | 1 | 1 | 4.45 | |
| 2 | 1 | 3 | 2 | 10.34 | |
| 3 | 1 | 2 | 3 | 9.25 | |
| 4 | 2 | 2 | 1 | 8.62 | |
| 5 | 2 | 1 | 2 | 10.21 | |
| 6 | 2 | 3 | 3 | 14.58 | |
| 7 | 3 | 3 | 1 | 16.57 | |
| 8 | 3 | 2 | 2 | 16.63 | |
| 9 | 3 | 1 | 3 | 15.83 | |
| 8.01 | 10.16 | 9.88 | |||
| 11.13 | 11.5 | 12.39 | |||
| 16.34 | 13.83 | 13.22 | |||
| 8.33 | 3.66 | 3.34 | |||
| Evaluation Indicators | Source of Variation | Sum of Square | Degrees of Freedom | Sum of Mean Squares | F | P |
|---|---|---|---|---|---|---|
| calibration model | 145.692 | 6 | 24.178 | 48.326 | <0.006 * | |
| 106.253 | 2 | 53.127 | 393.305 | 0.03 * | ||
| 20.66 | 2 | 10.33 | 76.475 | 0.013 * | ||
| 18.156 | 2 | 9.078 | 67.205 | 0.015 * | ||
| error | 0.443 | 2 | 0.222 |
| Experiment Number | Peel Strength W/N |
|---|---|
| 1 | 14.56 |
| 2 | 14.98 |
| 3 | 15.43 |
| 4 | 14.45 |
| 5 | 13.56 |
| 6 | 13.21 |
| 7 | 14.36 |
| 8 | 14.21 |
| 9 | 13.78 |
| 10 | 14.54 |
| Variance/S2 | 0.3908 |
| Mean | 14.31 |
Disclaimer/Publisher’s Note: The statements, opinions and data contained in all publications are solely those of the individual author(s) and contributor(s) and not of MDPI and/or the editor(s). MDPI and/or the editor(s) disclaim responsibility for any injury to people or property resulting from any ideas, methods, instructions or products referred to in the content. |
© 2024 by the authors. Licensee MDPI, Basel, Switzerland. This article is an open access article distributed under the terms and conditions of the Creative Commons Attribution (CC BY) license (https://creativecommons.org/licenses/by/4.0/).
Share and Cite
Wei, Y.; Li, K.; Hu, M.; Qi, B.; Ji, Y.; Zhang, W.; Yan, W. Key Parameter Design and Experimental Analysis for Peelable Seedling Belts in Sweet Potato Transplanting Systems. Appl. Sci. 2024, 14, 10993. https://doi.org/10.3390/app142310993
Wei Y, Li K, Hu M, Qi B, Ji Y, Zhang W, Yan W. Key Parameter Design and Experimental Analysis for Peelable Seedling Belts in Sweet Potato Transplanting Systems. Applied Sciences. 2024; 14(23):10993. https://doi.org/10.3390/app142310993
Chicago/Turabian StyleWei, Youhao, Kun Li, Minjuan Hu, Bing Qi, Yao Ji, Wenyi Zhang, and Wei Yan. 2024. "Key Parameter Design and Experimental Analysis for Peelable Seedling Belts in Sweet Potato Transplanting Systems" Applied Sciences 14, no. 23: 10993. https://doi.org/10.3390/app142310993
APA StyleWei, Y., Li, K., Hu, M., Qi, B., Ji, Y., Zhang, W., & Yan, W. (2024). Key Parameter Design and Experimental Analysis for Peelable Seedling Belts in Sweet Potato Transplanting Systems. Applied Sciences, 14(23), 10993. https://doi.org/10.3390/app142310993

