Promising Approaches for Heat Utilization in Agricultural Machinery Engines
Abstract
1. Introduction
2. Presentation of the Main Material
2.1. Research Methodology
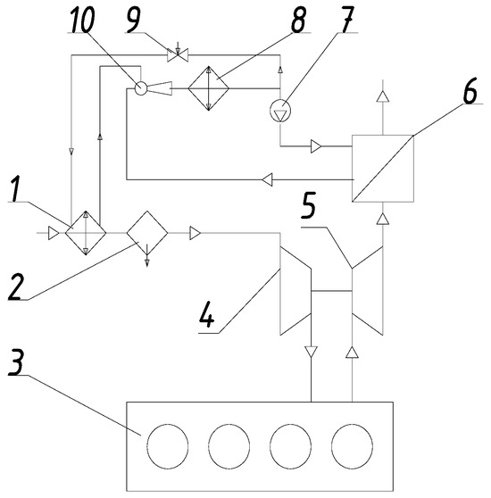
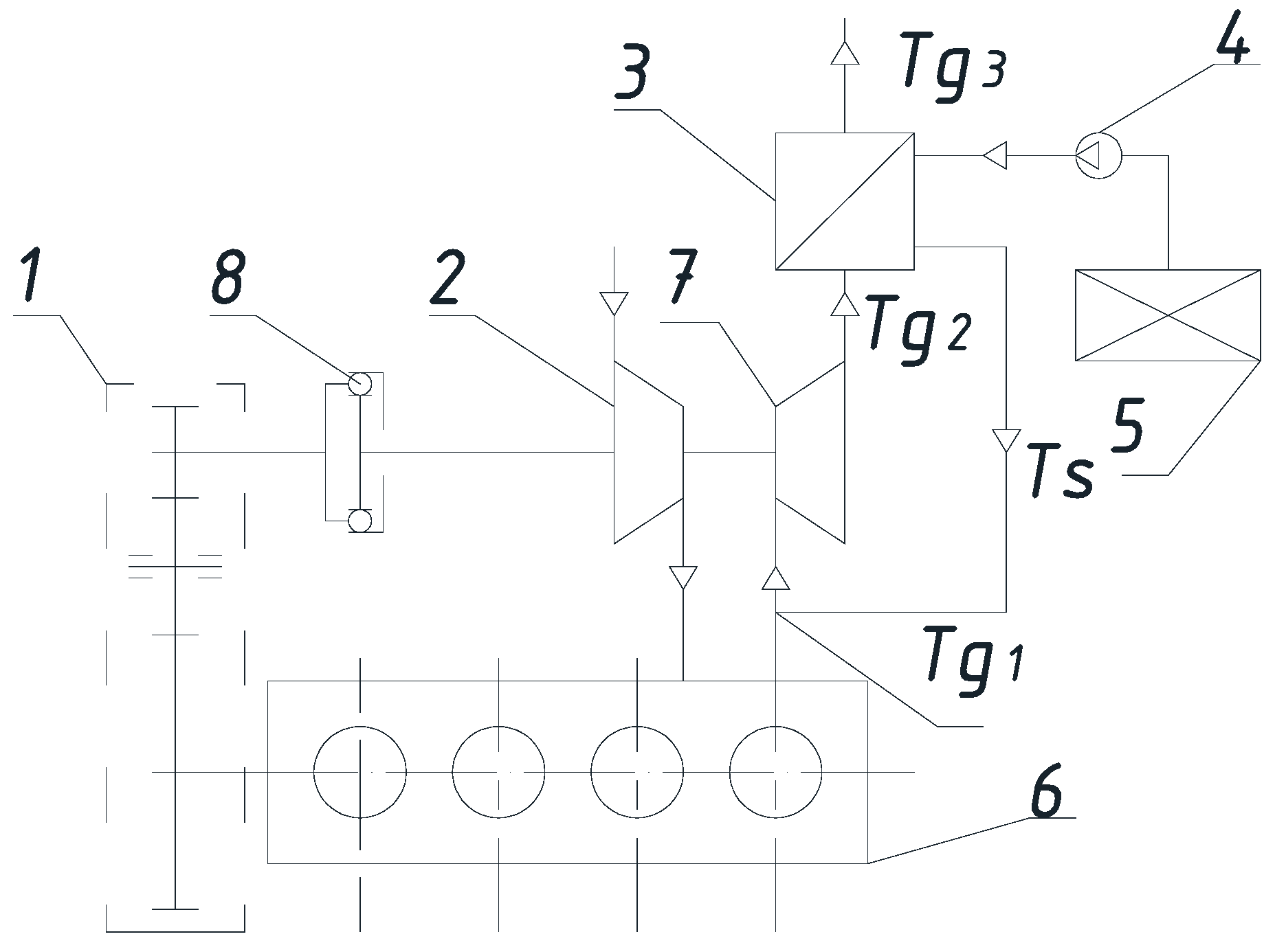
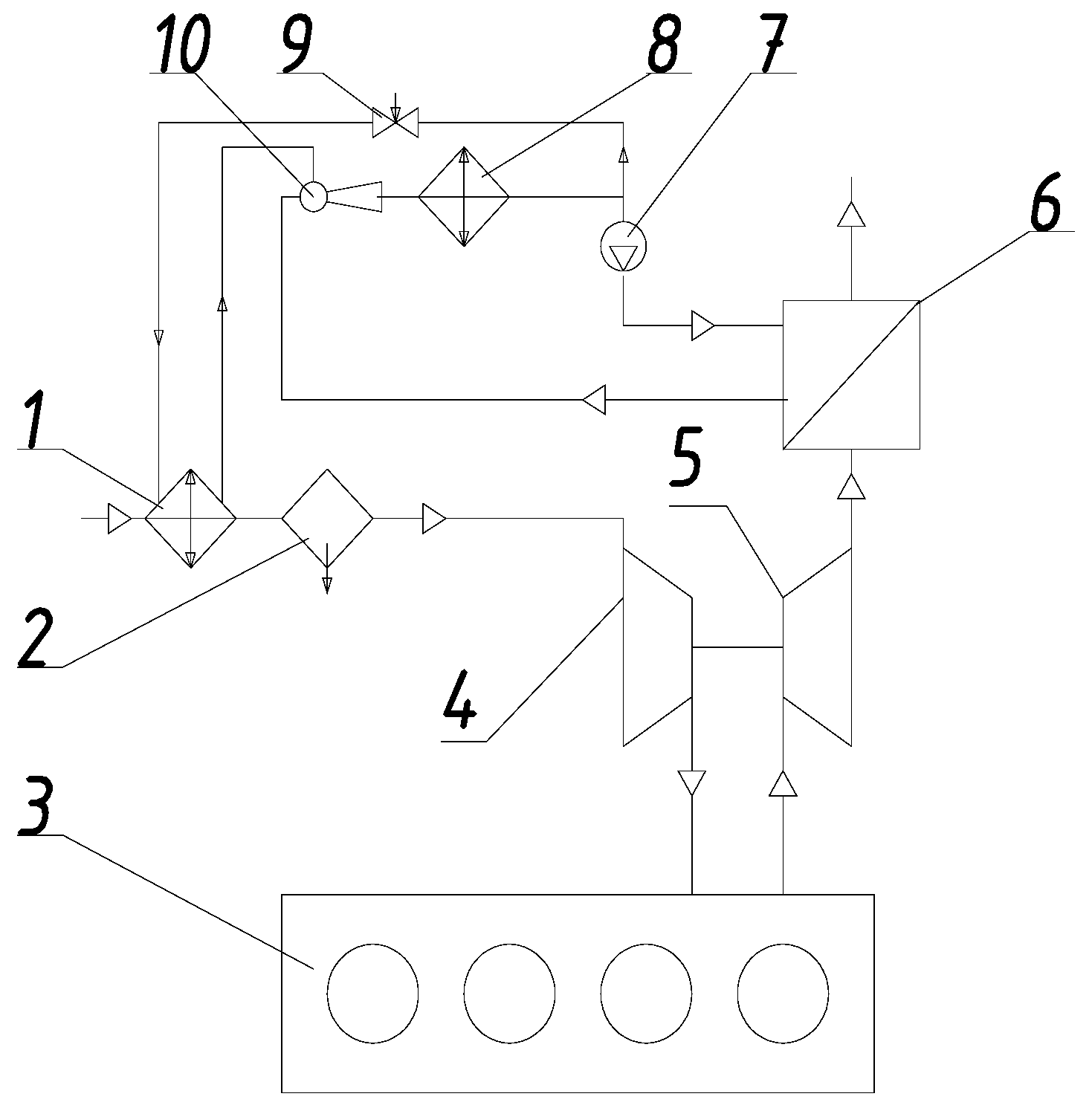
2.2. Research Results
- According to the source of secondary heat: coolant; engine oil; heat engine parts; exhaust gases.
- According to the type of energy resource that can be obtained: hot water; coupling; mechanical energy; electrical energy.
- Use of the obtained energy resources: hot water (heating system, power supply system, including heating of both liquid and gaseous fuels); injection at the input of a centrifugal compressor; heat accumulator; steam: steam engine/turbine; injection into the turbocharger turbine; electric energy (on-board electrical system power supply, traction electric motor power supply, fuel heating); mechanical energy (transmission to the crankshaft of the engine, fan of the cooling system).
- By types of recycling systems cycles: open (injection of superheated water into the compressor, injection of steam into the turbine); closed (Rankin cycle).
- By type of working fluid in utilization cycles: water; liquids with a low boiling point.
- By type of disposal: external; internal.
- According to the purpose of the disposal system: improvement in environmental indicators; improvement in economic indicators of the engine; ensuring the needs of external consumers.
- According to the thermal potential of the secondary coolant: high temperature (exhaust gases); low temperature (coolant, compressed air, engine oil).
3. Conclusions
- -
- Development of calculation methodology and computer program for its implementation;
- -
- Determination of the influence of turbocompressor parameters on the efficiency of the proposed disposal system;
- -
- Determination of the direction of use of excess turbine power (increase in air pressure after the compressor and its performance or transfer to the engine crankshaft);
- -
- Economic efficiency depending on the engine and turbocharger parameters.
Author Contributions
Funding
Institutional Review Board Statement
Informed Consent Statement
Data Availability Statement
Acknowledgments
Conflicts of Interest
References
- Jadin, D.W.; Nine, R. Super Truck—Development and Demonstration of a Fuel Efficiency Class 8 Tractor & Trailer. Engine Systems. Doe Merit Review. 2012. Available online: https://www1.eere.energy.gov/vehiclesandfuels/pdfs/merit_review_2012/veh_sys_sim/vss064_jadin_2012_o.pdf (accessed on 1 July 2024).
- Lunyaka, K.; Kliuiev, O.; Rusanov, S.; Kliuieva, O. The research of the work of the heat accumulator of the pre-starting system of worming up of the internal combustion engine. Thermophys. Therm. Power Eng. 2020, 42, 76–83. [Google Scholar] [CrossRef]
- Kuhtik, N. Improving of Fuel Economy and Ecologic Indicators of Modern Cars by Rational Engine Warm-Up. Ph.D. Thesis, National Transport University, Kyiv, Ukraine, 2021. Available online: https://uacademic.info/en/document/0821U102716 (accessed on 1 July 2024).
- Crower, H.B.; Mathews, W.W. Free Piston Pressure Spike Modulator for any Internal Combustion Engine. U.S. Patent 7,588,000 B2, 15 September 2009. Available online: https://patents.google.com/patent/US7588000B2/en (accessed on 1 July 2024).
- Thermoelectrics Gaining More Attention and Development Focus. Green Car Congress. 22 July 2005. Available online: https://www.greencarcongress.com/2005/07/thermoelectrics.html (accessed on 1 July 2024).
- Liere, J.; Meijer, C.G.; Laagland, G. Power Augmentation and NOx Reduction of Gas Turbines by Swirlflash® over Spray. 2002. Available online: https://www.researchgate.net/publication/293063196_Power_augmentation_and_NOx_reduction_of_gas_turbines_by_swirlflashR_over_spray (accessed on 1 July 2024).
- Greszler, A. Diesel Turbo-Compound Technology. ICCT/NESCCAF Workshop Improving the Fuel Economy of Heavy-Duty Fleets. 20 February 2008. Available online: http://www.nescaum.org/documents/improving-the-fuel-economy-of-heavy-duty-fleets-1/greszler_volvo_session3.pdf (accessed on 1 July 2024).
- Tennant, D.; Walsham, B. The Turbocompound Diesel Engine; SAE Technical Paper; SAE International: Warrendale, PA, USA, 1989; p. 890647. [Google Scholar] [CrossRef]
- Wilson, D. The Design of a Low Specific Fuel Consumption Turbocompound Engine; SAE Technical Paper; SAE International: Warrendale, PA, USA, 1986; p. 860072. [Google Scholar] [CrossRef]
- Brands, M.C.; Werner, J.; Hoehne, J.L.; Kramer, S. Vehicle Testing of Cummins Turbocompound Diesel Engine; SAE Technical Paper; SAE International: Warrendale, PA, USA, 1981; p. 810073. [Google Scholar] [CrossRef]
- Hopmann, U. Diesel Engine Waste Heat Recovery Utilizing Electric Turbocompound Technology. In Proceedings of the DEER Conference 2002, San Diego, CA, USA, 25–29 August 2002; Available online: http://www1.eere.energy.gov/vehiclesandfuels/pdfs/deer_2002/session8/2002_deer_hopmann.pdf (accessed on 1 July 2024).
- Velidi, G.; Yoo, C.S. A Review on Flame Stabilization Technologies for UAV Engine Micro-Meso Scale Combustors: Progress and Challenges. Energies 2023, 16, 3968. [Google Scholar] [CrossRef]
- Hopmann, U. Diesel engine waste heat recovery utilizing electric turbocompound technology. In Proceedings of the DEER Conference 2004, San Diego, CA, USA, 30 August–2 September 2004; Available online: https://www.energy.gov/sites/prod/files/2014/03/f9/2004_deer_hopmann.pdf (accessed on 1 July 2024).
- Parimal, P.S.; Doyle, E.F. Compounding the Truck Diesel Engine with an Organic Rankine Cycle System; SAE Technical Paper; SAE International: Warrendale, PA, USA, 1976; p. 760343. [Google Scholar] [CrossRef]
- Freymann, R.; Strobl, W.; Obieglo, A. The Turbosteamer: A System Introducing the Principle of Cogeneration in Automotive Application. MTZ 05 2008, 69, 404–412. Available online: https://connect.forcemotors.com/Employee_Information/library_doc/MTZ/may_06.pdf (accessed on 1 July 2024). [CrossRef]
- Hountalas, D.T.; Mavropoulos, G.C. Potential for Improving HD Diesel Truck Engine Fuel Consumption Using Exhaust Heat Recovery Techniques. New Trends Technol. Devices Comput. Commun. Ind. Syst. 2010, 17, 313–340. [Google Scholar] [CrossRef]
- Bhargava, R.; Meher-Homji, C.B. Parametric Analysis of Existing Gas Turbines With Inlet Evaporative and Overspray Fogging. In Proceedings of the ASME Turbo Expo 2002: Power for Land, Sea, and Air, Amsterdam, The Netherlands, 3–6 June 2002; Volume 4, pp. 387–401. [Google Scholar] [CrossRef]
- Nixdorf, M.; Prelipceanu, A.; Hein, D. Thermo-economic analysis of inlet air conditioning methods of a cogeneration gas turbine plant. In Proceedings of the ASME TURBO EXPO 2002: Ceramics, Industrial and Cogeneration Structures and Dynamics, Amsterdam, The Netherlands, 3–6 June 2002; pp. 403–412. [Google Scholar] [CrossRef]
- The Engine That Redefines Versatility. Available online: https://www.volvotrucks.us/trucks/powertrain/d13tc/ (accessed on 17 July 2018).
- Diesel Engine 6R 1500 for Agriculture and Forestry Applications with EPA Tier 4 and EU Stage IV Certification. Available online: https://mtupartssuppliers.wordpress.com/2018/06/20/mtu-series-1500/ (accessed on 17 October 2018).
- Detroit Diesel DD15. Available online: http://literature.puertoricosupplier.com/018/OT17636.pdf (accessed on 17 October 2018).
- Mack MP8 with Turbo Compounding Now Available for Order. Available online: https://www.volvogroup.com/en/news-and-media/news/2017/mar/mack-mp-8-with-turbo-compounding-nowp-available-for-order.html (accessed on 12 September 2024).
- Andrienko, A.A. Results of the Development and Research of a Turbofan for the Cooling System of a Turbo-Diesel Engine. Available online: http://engine.aviaport.ru/issues/59/page14.html (accessed on 10 June 2018).
- Daccord, R. Cost to benefit ratio of an exhaust heat recovery system on a long haul truck. Energy Procedia 2017, 129, 740–745. [Google Scholar] [CrossRef]
- Mack Trucks Unleashes 2017 Engine Lineup, Boosting Power, Productivity and Efficiency. Available online: https://www.volvogroup.com/en/news-and-media/news/2016/apr/news-151806.html (accessed on 12 September 2024).
- Volvo D13 Turbo Compound Engine Powers New Volvo VNL Series to 7.5 Percent Improvement in Fuel Efficiency. Available online: https://www.volvotrucks.us/news-and-stories/press-releases/2017/july/volvo-d13-turbo-compound-engine-powers-new-volvo-vnl-series/ (accessed on 29 June 2018).
- Diesel Prices, 18 June 2018 (USD/l). Available online: https://www.globalpetrolprices.com/diesel_prices/ (accessed on 18 June 2018).
- Energy Efficiency and Energy Savings. The Economist Intelligence Unit Limited. 2012. Available online: https://library.gbpn.org/resource/energy-efficiency-and-energy-savings-view-building-sector-1 (accessed on 19 July 2018).
- Increased Profitability for Independent Power Producers. Available online: https://www.bowmanpower.com/ (accessed on 20 July 2018).
- John Deere 7430 E Premium. Available online: https://www.tractordata.com/farm-tractors/005/2/3/5234-john-deere-7430-premium.html (accessed on 12 July 2018).
- Karner, J.; Prankl, H.; Kogler, F. Electric Drives in Agricultural Machinery. In Proceedings of the International Conference Energy, Biomass and Biological Residues. International Conference of Agricultural Engineering—CIGR-AgEng 2012: Agriculture and Engineering for a Healthier Life, Valencia, Spain, 8–12 July 2012. [Google Scholar]
- Drive Axle PowerDriveElect—Transport Concepts with Drive Axles over the Course of Time. Fliegl Agrartechnik. Available online: https://fliegl-agrartechnik.de/en/ (accessed on 14 July 2018).
- Mckelkamp, M. Kinze’s 4900 Series Electric Planter, 4000 Series Row Unit and Electric Meter. 2013. Available online: https://www.kinze.com/kinze-unveils-new-4900-planter/ (accessed on 14 July 2018).
- UX eSpray Trailed Sprayer. Amazone, 2010. GO for Innovation. Available online: http://info.amazone.de/DisplayInfo.aspx?id=14005 (accessed on 14 July 2018).
- Electrically-Powered Kuhn/Rauch Fertilizer Spreaders Offer Ultra-Accurate Application. Farmers Weekly. 9 October 2007. Available online: https://www.fwi.co.uk/machinery/electrically-powered-kuhn-rauch-fertiliser-spreaders-offer-ultra-accurate-application (accessed on 10 July 2018).
- Aixala, L. RENOTER Project. 3rd Thermoelectric Applications Workshop: 20–22 March 2012 in Baltimore (MI). Available online: https://www1.eere.energy.gov/vehiclesandfuels/pdfs/thermoelectrics_app_2012/tuesday/aixala.pdf (accessed on 19 July 2018).
- Champier, D. Thermoelectric generators: A review of applications. Energy Convers. Manag. 2017, 140, 167–181. [Google Scholar] [CrossRef]
- Cherednichenko, A.K.; Tkach, M.R.; Timoshevsky, B.G.; Proskurin, A.Y. Thermochemical Heat Recovery Efficiency of the “River-Sea” Ship Power Plants. Available online: https://www.khai.edu/csp/nauchportal/Arhiv/AKTT/2016/AKTT816/Cherednichenko.pdf (accessed on 3 June 2018).
- Ibrahim, T.M.; Syahir, A.Z.; Zulkifli, N.W.M.; Masjuki, H.H.; Osman, A. Enhancing vehicle’s engine warm up using integrated mechanical approach. IOP Conf. Ser. Mater. Sci. Eng. 2017, 210, 012064. [Google Scholar] [CrossRef]
- Kauranen, P.; Heikkinen, J.; Laurikko, J.; Seppala, A. Heat and Cold Accumulator in Vehicles. Available online: https://www.osti.gov/etdeweb/biblio/966848 (accessed on 10 July 2018).
- Mondejar, E.; Andreasen, J.G.; Pierobon, L.; Larsen, U.; Thern, M.; Haglind, F. A review of the use of organic Rankine cycle power systems for maritime applications. Renew. Sustain. Energy Rev. 2018, 91, 126–151. [Google Scholar] [CrossRef]
- Ivannikov, A.B. Secondary Use of the Heat of the Engine Exhaust Gases to Improve the Performance of the Units by the Example of the Transmission of the Tractor; Candidate of Technical Sciences; Novosibirsk State Agrarian University: Novosibirsk, Russia, 2017. [Google Scholar]
- Kalinichenko, A.; Havrysh, V.; Hruban, V. Heat Recovery Systems for Agricultural Vehicles: Utilization Ways and Their Efficiency. Agriculture 2018, 8, 199. [Google Scholar] [CrossRef]
- Marchenko, D.; Matvyeyeva, K.; Kurepin, V. Development of Methods for Digital Diagnostics of Engines by Electronic Indication. In Proceedings of the 2022 IEEE 4th International Conference on Modern Electrical and Energy System, Kremenchuk, Ukraine, 20–22 October 2022. [Google Scholar] [CrossRef]
- Marchenko, D.; Matvyeyeva, K. Development and Research of an Automatic System for Regulating the Frequency of Rotation of a Diesel Engine Crankshaft. In Proceedings of the IEEE 5th International Conference on Modern Electrical and Energy System, Kremenchuk, Ukraine, 27–30 September 2023. [Google Scholar] [CrossRef]
- Havrysh, V.; Marchenko, D.; Kalinichenko, A. Device for Injecting Water Vapor into an Internal Combustion Engine. Patent of Ukraine for a Utility Model u201802430, 10 December 2018. Available online: https://sis.nipo.gov.ua/en/search/detail/396062/ (accessed on 24 September 2024).









| Heat Recovery System | Power Increase, % | Reduction in Specific Fuel Consumption, % | Type of Equipment |
|---|---|---|---|
| Mechanical turbocompound | * | 4.8 | Tractors of traction class at least 5 and combines with a harvester capacity of more than 11 kg/s |
| Electric turbocompound | * | 6.9 | |
| Rankine cycle on water | 5.4 | 6…9 | All types of equipment |
| The Rankine cycle on the refrigerant | 11.4 | 9…11 | |
| Water vapor injection into TK ** | 3.8 | 1.9 | |
| Circulating air cooling ** | 17 | 14.6 | Harvesters |
| Thermoelectric generator | 0.3 | 0.3 | All types of equipment |
Disclaimer/Publisher’s Note: The statements, opinions and data contained in all publications are solely those of the individual author(s) and contributor(s) and not of MDPI and/or the editor(s). MDPI and/or the editor(s) disclaim responsibility for any injury to people or property resulting from any ideas, methods, instructions or products referred to in the content. |
© 2024 by the authors. Licensee MDPI, Basel, Switzerland. This article is an open access article distributed under the terms and conditions of the Creative Commons Attribution (CC BY) license (https://creativecommons.org/licenses/by/4.0/).
Share and Cite
Kalinichenko, A.; Hruban, V.; Marchenko, D. Promising Approaches for Heat Utilization in Agricultural Machinery Engines. Appl. Sci. 2024, 14, 8717. https://doi.org/10.3390/app14198717
Kalinichenko A, Hruban V, Marchenko D. Promising Approaches for Heat Utilization in Agricultural Machinery Engines. Applied Sciences. 2024; 14(19):8717. https://doi.org/10.3390/app14198717
Chicago/Turabian StyleKalinichenko, Antonina, Vasyl Hruban, and Dmytro Marchenko. 2024. "Promising Approaches for Heat Utilization in Agricultural Machinery Engines" Applied Sciences 14, no. 19: 8717. https://doi.org/10.3390/app14198717
APA StyleKalinichenko, A., Hruban, V., & Marchenko, D. (2024). Promising Approaches for Heat Utilization in Agricultural Machinery Engines. Applied Sciences, 14(19), 8717. https://doi.org/10.3390/app14198717

