Application of Thermal Batteries in Greenhouses
Abstract
1. Introduction
1.1. Types of Greenhouses
1.1.1. Design and Shape
- Gable roof greenhouses: These have a traditional peaked roof, resembling a house. Gable roof greenhouses have a classic triangular roof shape with ridge vents for superior ventilation and good structural integrity. This design works exceptionally well in colder locations because of the high roof, which makes it easy for snow to slide off and avoid building up. Furthermore, because of their adequate water drainage, gable roof greenhouses are perfect for locations with a lot of rainfall. They can also endure strong winds, which makes them a reliable option for areas with bad weather.
- Quonset (hoop) greenhouses: These have a rounded or curved roof made from metal or plastic pipes. Quonset or hoop greenhouses, renowned for their ease of use and low-cost construction, have a semi-circular or hoop-shaped roof. Because of their compact size, these greenhouses work well in urban and suburban settings and are appropriate for moderate climates without harsh weather. Because they are simple to install and flexible, they are also perfect for short-term or seasonal use. They are a well-liked option for producers on a tight budget because of their affordability.
- Gothic arch greenhouses: These have a pointed or gothic-style roof design, providing better snow-shedding capabilities. Compared to Quonset designs, gothic arch greenhouses have better snow shedding due to their pointed arch roof shape. This greenhouse style blends classic design elements with practicality, making it visually pleasing. It has superior wind resistance compared to Quonset designs, making it appropriate for cold locations where snow accumulation is an issue. Growers who respect performance and aesthetics and live in areas with moderate wind loads should consider gothic arch greenhouses.
- Sawtooth greenhouses: These have a multi-ridged roof resembling a saw blade, with varying heights to optimize light distribution. Because of their open sawtooth structure and asymmetrical roof with one side taller than the other, sawtooth greenhouses provide outstanding natural ventilation. This design works well in hot, humid conditions like tropical and subtropical regions, where controlling indoor temperature and humidity is essential. Because sawtooth greenhouses may be angled to improve ventilation by taking advantage of prevailing breezes, they are also appropriate for areas with changeable wind directions. Therefore, they are perfect for farmers who want effective temperature control without relying too heavily on mechanical equipment.
1.1.2. Covering Materials
- Glass greenhouses: Glass greenhouses have walls and roofs made of glass, providing excellent light transmission and aesthetic appeal. They are often used for commercial flower production and high-value crops. Because of their exceptional light transmission, resilience, and aesthetic appeal, glass greenhouses are well suited to temperate settings with steady sunlight and mild temperatures. They work incredibly well for high-value crops that need exact temperature and light control. Because of their classic, aesthetically pleasant design, these greenhouses are frequently chosen in urban and suburban settings. Because of their durability, they also make a suitable investment for permanent buildings.
- Plastic film greenhouses: Plastic film greenhouses are the most common type covered with polyethylene or other greenhouse-grade plastic. They are cost-effective and versatile, making them popular for various crops and growing conditions. Plastic film greenhouses are an affordable and adaptable option for multiple regions, particularly those with temperature swings. They are appropriate for large-scale agricultural operations and temporary or seasonal use since they are simple to install and replace. Because plastic sheets provide good light diffusion, they improve crop growth conditions. This form of greenhouse is popular for commercial farming, where maintenance costs and convenience are important factors.
- Polycarbonate greenhouses: These use polycarbonate panels as the covering material, providing good insulation and durability. Polycarbonate greenhouses are desired for impact resistance, superior insulation qualities, and lightweight portability. Because of these characteristics, they work effectively in arid climates with severe weather, such as hail, torrential rain, and high winds. Materials made of polycarbonate efficiently insulate and keep internal temperatures steady, which makes them perfect for areas with wide temperature swings. Because of their strength and portability, they are also a popular option for hobby and home greenhouses.
- Shade house greenhouses: Shade houses are designed to provide reduced light intensity for shade-loving plants. They have a shade cloth covering that filters sunlight to the desired level. Shade house greenhouses are ideal for hot, sunny settings, such as tropical and subtropical countries, where reducing heat and light intensity is essential. They offer shading rather than complete enclosure. These structures improve airflow and ventilation, which makes it easier for young seedlings or plants that like shade to flourish. To provide ideal crop-growing conditions during the hottest times of the year, shade rooms are frequently utilized in nurseries and propagation houses. They are also frequently used on a seasonal basis.
1.1.3. Purpose and Use
- Commercial production greenhouses: these large-scale greenhouses are used for commercial crop production and horticultural purposes.
- Research and experimental greenhouses: these are used for scientific research, plant breeding, and experimentation.
- Educational greenhouses: these are designed for teaching purposes and are often found at schools, universities, and research institutions.
- Retail or display greenhouses: these are used to showcase plants and gardening products to customers.
1.1.4. Structure and Support
- Lean-to greenhouses: Lean-to greenhouses are attached to an existing building, such as a house or a barn. They share one wall with the attached structure, which helps provide support and stability. Lean-to greenhouses are ideal for limited space situations and often benefit from the thermal mass of the existing building.
- Freestanding greenhouses: Freestanding greenhouses are standalone structures that do not rely on existing buildings for support. They can be placed in various locations and come in different shapes and sizes, offering more flexibility in design and layout.
- Ridge-and-furrow (gutter-connected) greenhouses: Also known as gutter-connected greenhouses, ridge-and-furrow greenhouses are a series of interconnected units with a central ridge along the roofline. This design allows for more efficient use of space and resources, as they share structural components and heating systems.
- Dome greenhouses: Dome-shaped greenhouses are geodesic structures that provide excellent strength and energy efficiency. They have a unique appearance and are often chosen for their aesthetic appeal.
- Quonset greenhouses: Quonset greenhouses are rounded or curved structures of metal or plastic pipes covered with greenhouse film. They are easy to construct and cost-effective, making them popular for smaller-scale operations.
- A-frame greenhouses: A-frame greenhouses have a classic triangular roof design. They are easy to construct and provide good snow-shedding capability, making them suitable for regions with heavy snowfall.
- Polytunnel greenhouses: Polytunnels, also known as hoophouses, are simple, low-cost greenhouses with a rounded or arched shape. They are covered with polyethylene or greenhouse plastic and are commonly used for season extension or temporary crop protection.
1.1.5. Climate and Season Extension
1.1.6. Temperature Regulation
- Passive greenhouses rely on natural processes, such as solar radiation and thermal mass, for temperature regulation.
- Active greenhouses use mechanical systems and technology for precise temperature and environmental control.
- Combination of passive and active techniques: In these greenhouses, the greenhouse could be equipped with passive and active techniques in which the leading energy suppliers are the external energy sources; however, the system could be coupled with renewable energy sources like solar collectors, wind turbines, etc.
Passive Greenhouses
- Orientation: Passive greenhouses are strategically designed to maximize exposure to sunlight throughout the day. In colder climates, they are often oriented to face south to capture the maximum amount of solar radiation.
- Thermal mass: Passive greenhouses use materials with a high thermal mass, such as water barrels, masonry, or stones, to absorb and store the sun’s extra radiation heat during the day. These materials release the stored heat at night, helping to maintain a more stable temperature.
- Insulation: Adequate insulation is essential in passive greenhouses to minimize heat loss during colder periods. Properly insulated walls, roofs, and floors help to retain the heat collected during the day.
- Natural ventilation: Passive greenhouses often incorporate adjustable vents, windows, or louvres to facilitate natural ventilation. Ventilation allows for the control of humidity levels and helps to prevent overheating on warmer days.
- Shade management: Passive greenhouses may use shading systems like shade cloth to protect plants from excessive sunlight during the hottest parts of the day.
- Site selection: Choosing the right location for a passive greenhouse is crucial. Factors such as wind exposure, proximity to large structures, and obstacles that could cast shadows should be considered during site selection.
- Plant selection: Choosing plants is also essential in a passive greenhouse. Selecting plant varieties well suited to the local climate and season can contribute to a successful and sustainable growing environment.
Active Greenhouses
- Climate control systems: Active greenhouses are equipped with sophisticated climate control systems that can monitor and adjust temperature, humidity, and ventilation. These systems may include heaters, fans, evaporative cooling units, misters, and dehumidifiers.
- Automated sensors: Active greenhouses often have sensors strategically placed throughout the structure to measure factors like temperature, humidity, light levels, and CO2 concentration. These sensors provide real-time data to the climate control system, enabling it to make necessary adjustments.
- Heating systems: Active greenhouses have heating systems to raise temperatures during colder periods. These systems can be fueled by electricity, natural gas, propane, or other energy sources.
- Cooling systems: Cooling systems are essential for active greenhouses, especially in hot climates. They may include exhaust fans, evaporative cooling pads, or misting systems to reduce the temperature during warmer periods.
- Ventilation: Active greenhouses have controlled ventilation systems to regulate air exchange and prevent the buildup of excessive heat, humidity, or carbon dioxide.
- Automated irrigation: Many active greenhouses employ automated irrigation systems to give plants the appropriate amount of water at specific intervals.
- Artificial lighting: In some cases, active greenhouses use artificial lighting systems to supplement natural sunlight and extend the daily photoperiod for plant growth.
Combination of Passive and Active Techniques
Differences between Passive and Active Greenhouses
- Temperature regulation
- Climate suitability
- Environmental impact
- Complexity and cost
- Energy source
- Off-grid capability
1.2. Application of TES Systems in Various Types of Greenhouses
- Freestanding greenhouses with water barrels: TES can be implemented using water barrels as thermal mass in a freestanding greenhouse. During the day, solar radiation heats the greenhouse and the water barrels, storing the excess heat. During the night, the water barrels gradually release the thermal energy that has been stored, causing a mild heating that keeps the plants at a consistent temperature.
- Glass greenhouses with underground thermal mass: Glass greenhouses often lose more heat than plastic film greenhouses. TES can be applied by incorporating underground thermal mass, such as a buried concrete slab or rock bed. To prevent heat loss and preserve a more constant temperature, the thermal mass absorbs and stores extra heat during the day and releases it at night.
- Polytunnel greenhouses with insulated soil beds: Polytunnel greenhouses can benefit from TES by creating insulated soil beds within the structure. The soil acts as a thermal mass, absorbing solar heat during the day and providing natural heating at night. Additionally, using insulated soil beds reduces heat loss from the ground.
- Shade house greenhouses with cool water storage: TES can manage daytime temperature peaks in shade house greenhouses. Cool water storage systems, such as underground tanks, can store cool water circulated through the greenhouse during hot periods, providing evaporative cooling and reducing the need for additional cooling equipment.
- Quonset greenhouses with phase change materials (PCMs): Quonset greenhouses can benefit from incorporating PCMs as TES. PCMs can store and release large amounts of heat during phase transitions. During the day, the PCM absorbs heat as it changes from a solid to a liquid state, and at night, it releases heat as it changes back to a solid state, maintaining a more stable temperature inside the greenhouse.
- Lean-to greenhouses with Trombe wall: A Trombe wall can serve as TES in a lean-to greenhouse attached to an existing building. The thick, south-facing brick wall stores and collects solar heat during the day and gradually releases it into the interior space at night, thus lowering the need for heating.
1.2.1. Performance of TES in Greenhouses
1.2.2. Types of TES Systems
2. Literature Review
- Employing latent heat thermal energy storage (LHTES) systems in greenhouses;
- Employing sensible heat thermal energy storage (SHTES) systems in greenhouses;
- Employing a couple of latent and sensible heat thermal energy storage systems simultaneously in greenhouses.
2.1. LHTES Systems in Greenhouses
2.1.1. LHTES in Opaque Wall of Greenhouses
- Insulation: since the north wall receives less sunlight, it may need to be better insulated to prevent heat loss and maintain a more stable temperature inside the greenhouse, especially during colder seasons.
- Fewer openings: to reduce heat loss, the north wall may have more irregular openings, such as doors and vents, than the other walls.
- Shade-tolerant plants: due to reduced sunlight, shade-tolerant plants are often placed near the north wall of the greenhouse.
- Reflective surfaces: some greenhouse designs incorporate reflective surfaces on the north wall to bounce available sunlight back into the greenhouse and improve overall light distribution.
- Insulation: The north wall is usually well insulated to reduce heat loss. Proper insulation helps to minimize temperature fluctuations and stabilize the greenhouse environment.
- Thermal mass: Incorporating thermal mass materials, such as water barrels or stone walls (rock), inside the greenhouse can help store excess heat during the day and release it slowly during colder nights, helping to maintain a more stable temperature.
- Reflective surfaces: Some greenhouse designs use reflective materials on the north wall to bounce available sunlight back into the greenhouse, indirectly increasing the overall light and heat levels.
- Efficient heating systems: In colder climates, supplemental heating systems may be used to provide additional heat during extremely cold periods. These systems are typically placed strategically to distribute heat evenly throughout the greenhouse.
- Proper ventilation: Adequate ventilation is essential to prevent excessive heat buildup on warmer days. Ventilation systems, such as ridge vents and side vents, can help regulate the temperature and avoid overheating.
- Location and orientation: Choosing the right place and orientation for the greenhouse can also influence its exposure to sunlight and, consequently, its heat management.
2.1.2. LHTES in Greenhouse–Solar Collector Hybrid System
2.1.3. LHTES inside Greenhouses
2.1.4. Categorization of Previous Works on Greenhouse LHTES System Based on Efficient Factors
2.2. SHTES Systems in Greenhouses
2.2.1. Water Tank as SHTES System
2.2.2. Underground Thermal Energy Storage (UTES) System as SHTES System
- Aquifer Thermal Energy Storage (ATES): This involves injecting surplus thermal energy, usually from sources like solar collectors or industrial processes, into an underground aquifer during periods of low energy demand. The stored heat is then extracted for space heating or other applications when needed, typically during colder periods.
- Borehole Thermal Energy Storage (BTES): BTES systems use a network of boreholes drilled deep into the ground to store and retrieve thermal energy. Like ATES, excess heat is stored in the ground during warm periods and extracted during colder periods. Heat exchange fluid circulating through the boreholes facilitates the transfer of thermal energy.
- Seasonal Thermal Energy Storage (STES): STES involves storing thermal energy for more extended periods, typically from one season to another. This can be achieved using underground structures, such as large rock or water reservoirs, where heat is stored during warmer seasons and extracted during colder periods.
Horizontal Borehole Thermal Energy Storage (HBTES)
Vertical Borehole Thermal Energy Storage (VBTES)
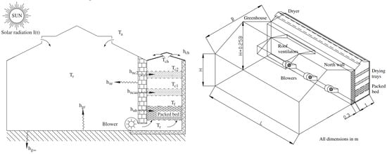
2.2.3. Rock Bed as SHTES System
2.3. LHTES and SHTES Systems Simultaneously in Greenhouses
3. Conclusions
- The promising results obtained from previous works, which show that TES systems should be considered one of the main components of greenhouses today, can be mentioned as an attainment of the present work.
- Most studies employing a PCM in greenhouses as the latent heat type of TES systems have been conducted experimentally, with fewer statistical or analytical investigations. This issue might be viewed as a research gap that should be addressed in future studies.
- Generally, six types of PCMs were employed in greenhouses as TES. These systems used pure paraffin, calcium chloride hexahydrate (CaCl2.6H2O), GH-20, AC27, RT types (RT12, RT15, and RT18HC), and shape-stabilized PCMs. It can be concluded that paraffin is the most commonly used PCM.
- A very effective and promising way to increase greenhouse efficiency during cold seasons, especially in areas with harsh winters, is to use a rock bed as a thermal battery, an SHTES, a humidifier/dehumidifier, or even a pre-conditioner.
- Most of the previous works presented by researchers in the field of using rock beds for the thermal management of greenhouses were conducted experimentally, and only one numerical work was employed for the thermal analysis of the bed.
- Bouhdjar et al. [48] first presented the most efficient greenhouse–rock bed coupled system design in 1996, in which the humid air injection/suction mechanism was utilized for charging/discharging modes. Other researchers later used this method. However, no detailed analysis has yet been conducted to optimize its performance.
- The range of rock bed porosity considered in the previous works is 0.33–0.49. It is worth mentioning that researchers mostly used a porosity of 0.35. Also, the rock bed’s particle diameter range is 0.25–10 cm.
Author Contributions
Funding
Data Availability Statement
Conflicts of Interest
References
- Badji, A.; Benseddik, A.; Bensaha, H.; Boukhelifa, A.; Hasrane, I. Design, technology, and management of greenhouse: A review. J. Clean. Prod. 2022, 373, 133753. [Google Scholar] [CrossRef]
- Syed, A.M.; Hachem, C. Review of construction; geometry; heating, ventilation, and air-conditioning; and indoor climate requirements of agricultural greenhouses. J. Biosyst. Eng. 2019, 44, 18–27. [Google Scholar] [CrossRef]
- Teitel, M.; Montero, J.I.; Baeza, E.J. Greenhouse design: Concepts and trends. In International Symposium on Advanced Technologies and Management Towards Sustainable Greenhouse Ecosystems Greensys2011; ISHS: Athens, Greece, 2011; Volume 952, pp. 605–620. [Google Scholar] [CrossRef]
- Cuce, E.; Harjunowibowo, D.; Cuce, P.M. Renewable and sustainable energy saving strategies for greenhouse systems: A comprehensive review. Renew. Sustain. Energy Rev. 2016, 64, 34–59. [Google Scholar] [CrossRef]
- Singh, P.; Gaur, M.K. Heat transfer analysis of hybrid active greenhouse solar dryer attached with evacuated tube solar collector. Sol. Energy 2021, 224, 1178–1192. [Google Scholar] [CrossRef]
- Prakash, O.; Kumar, A. Thermal performance evaluation of modified active greenhouse dryer. J. Build. Phys. 2014, 37, 395–402. [Google Scholar] [CrossRef]
- Salinas, I.; Hueso, J.J.; Cuevas, J. Active Control of Greenhouse Climate Enhances Papaya Growth and Yield at an Affordable Cost. Agronomy 2021, 11, 378. [Google Scholar] [CrossRef]
- Nishad, S.; Krupa, I. Phase change materials for thermal energy storage applications in greenhouses: A review. Sustain. Energy Technol. Assess. 2022, 52, 102241. [Google Scholar] [CrossRef]
- Vadiee, A.; Martin, V. Thermal energy storage strategies for effective closed greenhouse design. Appl. Energy 2013, 109, 337–343. [Google Scholar] [CrossRef]
- Gorjian, S.; Ebadi, H.; Najafi, G.; Singh Chandel, S.; Yildizhan, H. Recent advances in net-zero energy greenhouses and adapted thermal energy storage systems. Sustain. Energy Technol. Assess. 2021, 43, 100940. [Google Scholar] [CrossRef]
- Paksoy, H.Ö.; Beyhan, B. Thermal energy storage (TES) systems for greenhouse technology. In Advances in Thermal Energy Storage Systems; Woodhead Publishing: Cambridge, UK, 2015; pp. 533–548. ISBN 978-1-78242-088-0. [Google Scholar]
- Teggar, M.; Ajarostaghi, S.S.M.; Yıldız, Ç.; Arıcı, M.; Ismail, K.A.R.; Niyas, H.; Lino, F.A.M.; Mert, M.S.; Khalid, M. Performance enhancement of latent heat storage systems by using extended surfaces and porous materials: A state-of-the-art review. J. Energy Storage 2021, 44, 103340. [Google Scholar] [CrossRef]
- Rocha, T.T.M.; Teggar, M.; Trevizoli, P.V.; De Oliveira, R.N. Potential of latent thermal energy storage for performance improvement in small-scale refrigeration units: A review. Renew. Sustain. Energy Rev. 2023, 187, 113746. [Google Scholar] [CrossRef]
- Jouhara, H.; Żabnieńska-Góra, A.; Khordehgah, N.; Ahmad, D.; Lipinski, T. Latent thermal energy storage technologies and applications: A review. Int. J. Thermofluids 2020, 5–6, 100039. [Google Scholar] [CrossRef]
- Alva, G.; Lin, Y.; Fang, G. An overview of thermal energy storage systems. Energy 2018, 144, 341–378. [Google Scholar] [CrossRef]
- Sarbu, I.; Sebarchievici, C. A Comprehensive Review of Thermal Energy Storage. Sustainability 2018, 10, 191. [Google Scholar] [CrossRef]
- Chen, C.; Yu, N.; Yang, F.; Mahkamov, K.; Han, F.; Li, Y.; Ling, H. Theoretical and experimental study on selection of physical dimensions of passive solar greenhouses for enhanced energy performance. Sol. Energy 2019, 191, 46–56. [Google Scholar] [CrossRef]
- Ajarostaghi, S.S.M.; Mousavi, S.S. Solar energy conversion technologies: Principles and advancements. In Solar Energy Advancements in Agriculture and Food Production Systems; Academic Press: New York, NY, USA, 2022; pp. 29–76. [Google Scholar] [CrossRef]
- Zaboli, M.; Saedodin, S.; Ajarostaghi, S.S.M.; Karimi, N. Recent progress on flat plate solar collectors equipped with nanofluid and turbulator: State of the art. Environ. Sci. Pollut. Res. 2023, 30, 109921–109954. [Google Scholar] [CrossRef]
- Kazemi Moghadam, H.; Mousavi Ajarostaghi, S.S.; Poncet, S. Numerical modeling of an innovative arc shape rib based solar air heater. Proc. Inst. Mech. Eng. Part C J. Mech. Eng. Sci. 2021, 235, 7992–8012. [Google Scholar] [CrossRef]
- Ahmad, A.; Prakash, O. Thermal analysis of north wall insulated greenhouse dryer at different bed conditions operating under natural convection mode. Environ. Prog. Sustain. Energy 2019, 38, e13257. [Google Scholar] [CrossRef]
- Liu, X.; Li, Y.; Liu, A.; Yue, X.; Li, T. Effect of North Wall Materials on the Thermal Environment in Chinese Solar Greenhouse (Part A: Experimental Researches). Open Phys. 2019, 17, 752–767. [Google Scholar] [CrossRef]
- Chauhan, P.S.; Kumar, A. Heat transfer analysis of north wall insulated greenhouse dryer under natural convection mode. Energy 2017, 118, 1264–1274. [Google Scholar] [CrossRef]
- Berroug, F.; Lakhal, E.K.; El Omari, M.; Faraji, M.; El Qarnia, H. Thermal performance of a greenhouse with a phase change material north wall. Energy Build. 2011, 43, 3027–3035. [Google Scholar] [CrossRef]
- Ling, H.; Chen, C.; Guan, Y.; Wei, S.; Chen, Z.; Li, N. Active heat storage characteristics of active–passive triple wall with phase change material. Sol. Energy 2014, 110, 276–285. [Google Scholar] [CrossRef]
- Ling, H.; Chen, C.; Wei, S.; Guan, Y.; Ma, C.; Xie, G.; Li, N.; Chen, Z. Effect of phase change materials on indoor thermal environment under different weather conditions and over a long time. Appl. Energy 2015, 140, 329–337. [Google Scholar] [CrossRef]
- Chen, C.; Ling, H.; Zhai, Z.; Li, Y.; Yang, F.; Han, F.; Wei, S. Thermal performance of an active-passive ventilation wall with phase change material in solar greenhouses. Appl. Energy 2018, 216, 602–612. [Google Scholar] [CrossRef]
- Guan, Y.; Meng, Q.; Ji, T.; Hu, W.; Li, W.; Liu, T. Experimental study of the thermal characteristics of a heat storage wall with micro-heat pipe array (MHPA) and PCM in solar greenhouse. Energy 2023, 264, 126183. [Google Scholar] [CrossRef]
- Öztürk, H.H. Experimental evaluation of energy and exergy efficiency of a seasonal latent heat storage system for greenhouse heating. Energy Convers. Manag. 2005, 46, 1523–1542. [Google Scholar] [CrossRef]
- Benli, H.; Durmuş, A. Performance analysis of a latent heat storage system with phase change material for new designed solar collectors in greenhouse heating. Sol. Energy 2009, 83, 2109–2119. [Google Scholar] [CrossRef]
- Kooli, S.; Bouadila, S.; Lazaar, M.; Farhat, A. The effect of nocturnal shutter on insulated greenhouse using a solar air heater with latent storage energy. Sol. Energy 2015, 115, 217–228. [Google Scholar] [CrossRef]
- Bouadila, S.; Kooli, S.; Skouri, S.; Lazaar, M.; Farhat, A. Improvement of the greenhouse climate using a solar air heater with latent storage energy. Energy 2014, 64, 663–672. [Google Scholar] [CrossRef]
- Ziapour, B.M.; Hashtroudi, A. Performance study of an enhanced solar greenhouse combined with the phase change material using genetic algorithm optimization method. Appl. Therm. Eng. 2017, 110, 253–264. [Google Scholar] [CrossRef]
- Baddadi, S.; Bouadila, S.; Ghorbel, W.; Guizani, A. Autonomous greenhouse microclimate through hydroponic design and refurbished thermal energy by phase change material. J. Clean. Prod. 2019, 211, 360–379. [Google Scholar] [CrossRef]
- Joshua, D.R.; Zachariah, R.; Anumod, D.M. Performance improvement in mixed-mode solar dryer with addition of paraffin-based thermal energy storage. J. Green Eng. 2020, 10, 1403–1418. [Google Scholar]
- Azaizia, Z.; Kooli, S.; Hamdi, I.; Elkhal, W.; Guizani, A.A. Experimental study of a new mixed mode solar greenhouse drying system with and without thermal energy storage for pepper. Renew. Energy 2020, 145, 1972–1984. [Google Scholar] [CrossRef]
- Shimpy; Kumar, M.; Kumar, A.; Sahdev, R.K.; Manchanda, H. Comparison of groundnut drying in simple and modified natural convection greenhouse dryers: Thermal, environmental and kinetic analyses. J. Stored Prod. Res. 2022, 98, 101990. [Google Scholar] [CrossRef]
- Yang, R.; Li, D.; Arıcı, M.; Wang, B.; Wu, Y.; Ma, Y.; Yang, X. Photothermal performance of plastic greenhouse embedded with phase change materials in translucent envelopes: A dynamic experimental study. J. Energy Storage 2023, 58, 106375. [Google Scholar] [CrossRef]
- Llorach-Massana, P.; Peña, J.; Rieradevall, J.; Montero, J.I. Analysis of the technical, environmental and economic potential of phase change materials (PCM) for root zone heating in Mediterranean greenhouses. Renew. Energy 2017, 103, 570–581. [Google Scholar] [CrossRef]
- Xu, W.; Guo, H.; Ma, C. An active solar water wall for passive solar greenhouse heating. Appl. Energy 2022, 308, 118270. [Google Scholar] [CrossRef]
- Wang, J.; Qu, M.; Zhao, S.; Ma, C.; Song, W. New insights into the scientific configuration of a sheet heating system applied in Chinese solar greenhouse. Appl. Therm. Eng. 2023, 219, 119448. [Google Scholar] [CrossRef]
- Javadi, H.; Mousavi Ajarostaghi, S.S.; Rosen, M.A.; Pourfallah, M. Performance of ground heat exchangers: A comprehensive review of recent advances. Energy 2019, 178, 207–233. [Google Scholar] [CrossRef]
- Zhang, L.; Xu, P.; Mao, J.; Tang, X.; Li, Z.; Shi, J. A low cost seasonal solar soil heat storage system for greenhouse heating: Design and pilot study. Appl. Energy 2015, 156, 213–222. [Google Scholar] [CrossRef]
- Awani, S.; Kooli, S.; Chargui, R.; Guizani, A. Numerical and experimental study of a closed loop for ground heat exchanger coupled with heat pump system and a solar collector for heating a glass greenhouse in north of Tunisia. Int. J. Refrig. 2017, 76, 328–341. [Google Scholar] [CrossRef]
- Luo, J.; Li, A.; Ma, X.; Pei, K. Stabilization of the temperature in a greenhouse using a Geothermal-Battery-Energy-Storage (GBES) system. Appl. Therm. Eng. 2023, 223, 120029. [Google Scholar] [CrossRef]
- Li, H.; Nagano, K.; Lai, Y.; Shibata, K.; Fujii, H. Evaluating the performance of a large borehole ground source heat pump for greenhouses in northern Japan. Energy 2013, 63, 387–399. [Google Scholar] [CrossRef]
- Boughanmi, H.; Lazaar, M.; Bouadila, S.; Farhat, A. Thermal performance of a conic basket heat exchanger coupled to a geothermal heat pump for greenhouse cooling under Tunisian climate. Energy Build. 2015, 104, 87–96. [Google Scholar] [CrossRef]
- Bouhdjar, A.; Belhamel, M.; Belkhiri, F.E.; Boulbina, A. Performance of sensible heat storage in a rockbed used in a tunnel greenhouse. Renew. Energy 1996, 9, 724–728. [Google Scholar] [CrossRef]
- Kürklü, A.; Bilgin, S.; Özkan, B. A study on the solar energy storing rock-bed to heat a polyethylene tunnel type greenhouse. Renew. Energy 2003, 28, 683–697. [Google Scholar] [CrossRef]
- Jain, D. Modeling the performance of greenhouse with packed bed thermal storage on crop drying application. J. Food Eng. 2005, 71, 170–178. [Google Scholar] [CrossRef]
- Bazgaou, A.; Fatnassi, H.; Bouhroud, R.; Gourdo, L.; Ezzaeri, K.; Tiskatine, R.; Demrati, H.; Wifaya, A.; Bekkaoui, A.; Aharoune, A.; et al. An experimental study on the effect of a rock-bed heating system on the microclimate and the crop development under canarian greenhouse. Sol. Energy 2018, 176, 42–50. [Google Scholar] [CrossRef]
- Gourdo, L.; Fatnassi, H.; Tiskatine, R.; Wifaya, A.; Demrati, H.; Aharoune, A.; Bouirden, L. Solar energy storing rock-bed to heat an agricultural greenhouse. Energy 2019, 169, 206–212. [Google Scholar] [CrossRef]
- Bazgaou, A.; Fatnassi, H.; Bouharroud, R.; Elame, F.; Ezzaeri, K.; Gourdo, L.; Wifaya, A.; Demrati, H.; Tiskatine, R.; Bekkaoui, A.; et al. Performance assessment of combining rock-bed thermal energy storage and water filled passive solar sleeves for heating Canarian greenhouse. Sol. Energy 2020, 198, 8–24. [Google Scholar] [CrossRef]
- Bazgaou, A.; Fatnassi, H.; Bouharroud, R.; Ezzaeri, K.; Gourdo, L.; Wifaya, A.; Demrati, H.; El Baamrani, H.; Idoum, A.; Bekkaoui, A.; et al. Efficiency assessment of a solar heating cooling system applied to the greenhouse microclimate. Mater. Today Proc. 2020, 24, 151–159. [Google Scholar] [CrossRef]
- Piché, P.; Haillot, D.; Gibout, S.; Arrabie, C.; Lamontagne, M.-A.; Gilbert, V.; Bédécarrats, J.-P. Design, construction and analysis of a thermal energy storage system adapted to greenhouse cultivation in isolated northern communities. Sol. Energy 2020, 204, 90–105. [Google Scholar] [CrossRef]
- Bazgaou, A.; Fatnassi, H.; Bouharroud, R.; Tiskatine, R.; Wifaya, A.; Demrati, H.; Bammou, L.; Aharoune, A.; Bouirden, L. CFD Modeling of the Microclimate in a Greenhouse Using a Rock Bed Thermal Storage Heating System. Horticulturae 2023, 9, 183. [Google Scholar] [CrossRef]







































| Author | Year | Method | Factors | Outcomes | ||
|---|---|---|---|---|---|---|
| PCM | Product | Evaluated Parameters | ||||
| Öztürk [29] | 2005 | Experimental | Paraffin | NA * | The system was made up of three primary components: (i) flat plate solar air collectors (as a heat collecting unit), (ii) a latent heat storage unit, and (iii) an experimental greenhouse. | The average net energy and exergy efficiencies were determined to be 40.4% and 4.2%, respectively. |
| Benli et al. [30] | 2009 | Experimental | Calcium chloride hexahydrate (CaCl2.6H2O) | NA | The storage unit was part of a ten-piece solar air collector heating system intended to heat greenhouse spaces and charge photovoltaic cells. | Compared to conventional heating equipment, the recommended size of collectors integrated with PCM delivered about 18–23% of the greenhouse’s daily thermal energy requirements for 3–4 h. |
| Berroug et al. [24] | 2011 | Numerical | Calcium chloride hexahydrate (CaCl2.6H2O) | NA | The north wall was made with a PCM as a storage medium in an east–west-oriented greenhouse. | In the winter season, the temperature of plants and interior air was 6–12 °C higher at night, with reduced variations, equivalent to 32.4 kg of PCM per square meter. At night, relative humidity was 10–15% lower on average. |
| Ling et al. [25] | 2014 | Experimental | GH-20 | NA |
|
|
| Bouadila et al. [32] | 2014 | Experimental | AC27 | Tomato | The PCM was placed in an SAH, which was situated inside the greenhouse with a nocturnal shutter at night to preserve nighttime temperature. |
|
| Kooli et al. [31] | 2015 | Experimental | AC27 | Tomato | Same as [32]. | During the night inside the greenhouse with shutters in December, during Tunisia’s cold season, the solar system recovered roughly 440 W (per volume of collector). |
| Ling et al. [26] | 2015 | Experimental and analytical | GH-20 | NA | Operating temperature, daily effective accumulative temperature, north wall’s irradiation surface temperature, PCMs’ average temperature, and daily heat release and storage. | In greenhouse applications, the performance of PCMs is significantly influenced by the weather. In contrast to a cloudy day, a bright day will help promote their effectiveness. |
| Llorach-Massana et al. [39] | 2017 | Experimental | RT12, RT15, and RT18HC | Tomato (Solanum lycopersicum Arawak) | (1) Characterize the thermal properties of a conventional perlite bag, (2) identify the optimal position for PCM placement to reduce nighttime root zone temperature drop, (3) establish the ideal PCM melting/freezing temperature for Mediterranean greenhouses, and (4) assess the potential carbon footprint reduction and economic benefits. | PCM appears to be able to lessen the environmental impact of traditional gas and oil root zone heating systems. |
| Ziapour and Hashtroudi [33] | 2017 | Analytical | Paraffin | Cucumber, grape, and strawberry | Comparing the results of both cases of the proposed greenhouse with PCM and the conventional greenhouse. | Using this solar greenhouse with an improved system has a tremendous impact on the energy budget and the economy. |
| Chen et al. [27] | 2018 | Experimental | Shape-stabilizedPCM, consisting of paraffin wax, high-density polyethylene, and expanded graphite | NA | Comparing the results of both cases of the proposed walls for the greenhouse with PCM and the conventional walls. | Increased heat storage capacity of the wall by 35.27–47.89% and the heat release capacity by 49.93–60.21% |
| Baddadi et al. [34] | 2019 | Experimental | Calcium chloride hexahydrate (CaCl2.6H2O) | Barley | Evaluation of the viability of a novel hydroponic greenhouse and a brand-new solar air heater with latent storage energy for heating the greenhouse at night. | The hydroponic greenhouse’s overnight temperature increased by 6 °C, and the nocturnal temperature was often over 15 °C. |
| Joshua et al. [35] | 2020 | Experimental | Paraffin | Banana and pineapple | Comparing the outcomes in two cases with and without PCM. |
|
| Azaizia et al. [36] | 2020 | Experimental | Paraffin | Red pepper | Considering three modes: (i) dryer with thermal storage unit, (ii) dryer without thermal storage unit, and (iii) open sun. |
|
| Shimpy et al. [37] | 2022 | Experimental | Beeswax | Groundnut | Simple greenhouse dryer (SGHD) and modified greenhouse dryer with PCM (MGHD). | About 23.45% more moisture evaporated from the groundnut sample drying under MGHD than under SGHD. |
| Yang et al. [38] | 2023 | Experimental | Paraffin | NA |
| During transitional seasons, PTEs with a solidifying point of 25.56 °C and a melting temperature of 28.48 °C generated adjusted average air temperatures of 26.4 °C and decreased daylight levels of 10,245 lx. |
| Guan et al. [28] | 2023 | Experimental | Paraffin | NA | Employing micro-heat pipe arrays (MHPAs) and PCMs in the GH walls and comparing the outcomes with ordinary walls. | About 95.35% growth in average daily total heat storage and approximately 96.42% growth in the average heat release at night compared to conventional walls. |
| Author | Year | Method | Factors | Outcomes | ||
|---|---|---|---|---|---|---|
| Rock Bed Characteristics | Product | Suction/Injection Method for Coupling Rock Beds and Greenhouses | ||||
| Bouhdjar et al. [48] | 1996 | Experimental |
| NA *1 | √ *2 | This work was the first study in the literature to use injection/suction methods for coupling rock beds with greenhouses.
|
| Kürklü et al. [49] | 2003 | Experimental and mathematical |
| No crops in the experimental setup; however, tomato was used in mathematical modelling | √ |
|
| Jain [50] | 2005 | Experimental and mathematical |
| Onions | × *3 |
|
| Bazgaou et al. [51] | 2018 | Experimental |
| Tomato | √ |
|
| Ahmad and Prakash [21] | 2018 | Experimental and mathematical | Simple gravel and black-painted gravel | NA | × |
|
| Gourdo et al. [52] | 2019 | Experimental |
| Tomato type Pristyla | √ |
|
| Bazgaou et al. [53] | 2020 | Experimental | NA | Tomato | √ |
|
| Bazgaou et al. [54] | 2020 | Experimental |
| Tomato | √ |
|
| Piché et al. [55] | 2020 | Experimental |
| NA | √ |
|
| Bazgaou et al. [56] | 2023 | Numerical (CFD) |
| Tomato | √ | The model may be used for sensitivity testing to improve the performance of the proposed TES system. |
| *1 NA: Not Available. *2 √: Positive *3 ×: Negative | ||||||
Disclaimer/Publisher’s Note: The statements, opinions and data contained in all publications are solely those of the individual author(s) and contributor(s) and not of MDPI and/or the editor(s). MDPI and/or the editor(s) disclaim responsibility for any injury to people or property resulting from any ideas, methods, instructions or products referred to in the content. |
© 2024 by the authors. Licensee MDPI, Basel, Switzerland. This article is an open access article distributed under the terms and conditions of the Creative Commons Attribution (CC BY) license (https://creativecommons.org/licenses/by/4.0/).
Share and Cite
Mousavi Ajarostaghi, S.S.; Amiri, L.; Poncet, S. Application of Thermal Batteries in Greenhouses. Appl. Sci. 2024, 14, 8640. https://doi.org/10.3390/app14198640
Mousavi Ajarostaghi SS, Amiri L, Poncet S. Application of Thermal Batteries in Greenhouses. Applied Sciences. 2024; 14(19):8640. https://doi.org/10.3390/app14198640
Chicago/Turabian StyleMousavi Ajarostaghi, Seyed Soheil, Leyla Amiri, and Sébastien Poncet. 2024. "Application of Thermal Batteries in Greenhouses" Applied Sciences 14, no. 19: 8640. https://doi.org/10.3390/app14198640
APA StyleMousavi Ajarostaghi, S. S., Amiri, L., & Poncet, S. (2024). Application of Thermal Batteries in Greenhouses. Applied Sciences, 14(19), 8640. https://doi.org/10.3390/app14198640
