Super-Frequency Sampling for Thermal Transient Analysis
Abstract
1. Introduction
2. Super-Frequency Sampling
2.1. Periodic Non-Uniform Sampling
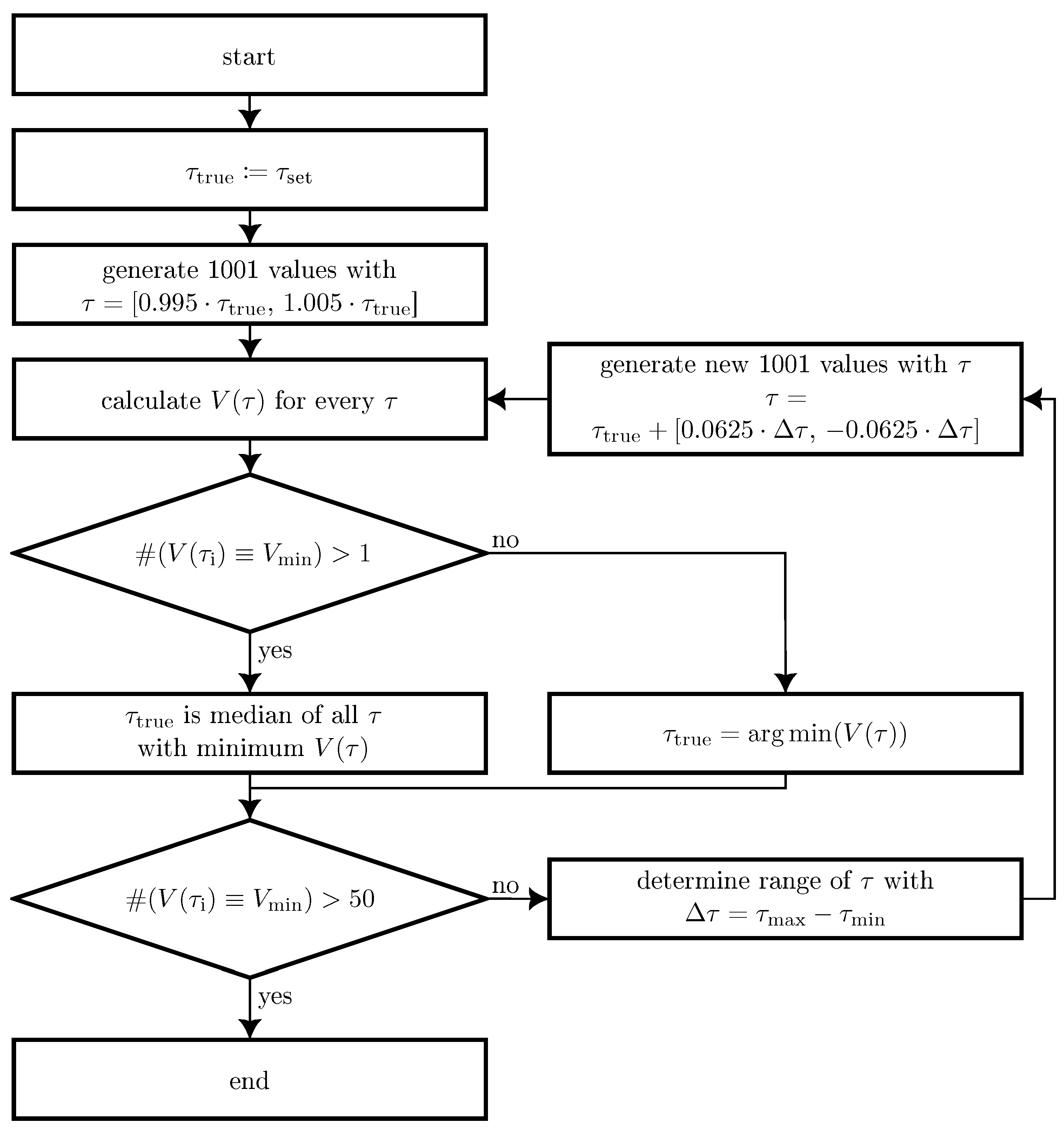
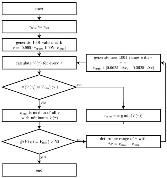
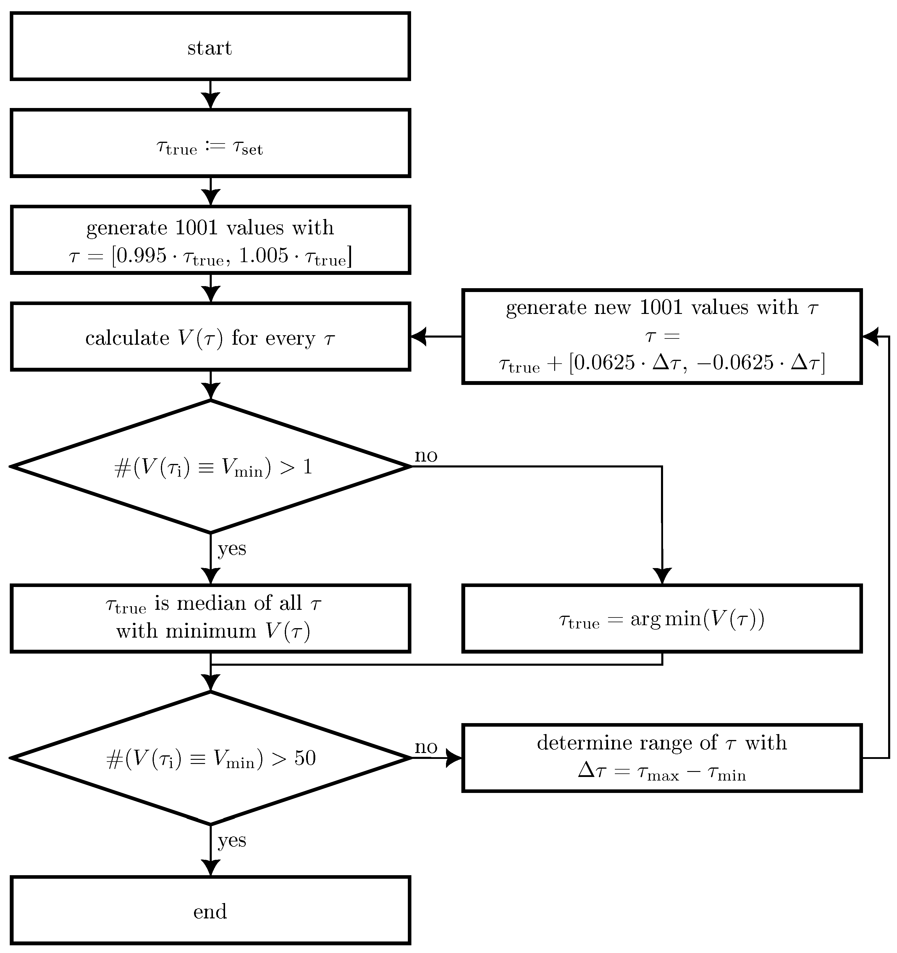
2.2. Period Estimation
3. Experimental Setup
4. Results and Discussion
4.1. Thermal Transient Reconstruction
4.2. Speed-Up Factor
4.3. Overall Validity
5. Conclusions
Author Contributions
Funding
Institutional Review Board Statement
Informed Consent Statement
Data Availability Statement
Conflicts of Interest
References
- Mayer, Z.; Epperlein, A.; Vollmer, E.; Volk, R.; Schultmann, F. Investigating the Quality of UAV-Based Images for the Thermographic Analysis of Buildings. Remote Sens. 2023, 15, 301. [Google Scholar] [CrossRef]
- Magalhaes, C.; Mendes, J.; Vardasca, R. Meta-Analysis and Systematic Review of the Application of Machine Learning Classifiers in Biomedical Applications of Infrared Thermography. Appl. Sci. 2021, 11, 842. [Google Scholar] [CrossRef]
- Panahandeh, S.; May, D.; Wargulski, D.; Boschman, E.; Schacht, R.; Ras, M.A.; Wunderle, B. Infrared thermal imaging as inline quality assessment tool. In Proceedings of the 22nd International Conference on Thermal, Mechanical and Multi-Physics Simulation and Experiments in Microelectronics and Microsystems (EuroSimE), St. Julian, Malta, 19–21 April 2021; pp. 1–6. [Google Scholar] [CrossRef]
- Jahn, N.; Pfost, M. Size Determination of Voids in the Soldering of Automotive DC/DC-Converters via IR Thermography. In Proceedings of the 21st IEEE Intersociety Conference on Thermal and Thermomechanical Phenomena in Electronic Systems (iTherm), San Diego, CA, USA, 31 May–3 June 2022; pp. 1–7. [Google Scholar] [CrossRef]
- Vavilov, V.; Burleigh, D. Infrared Thermography and Thermal Nondestructive Testing, 1st ed.; Springer: Cham, Switzerland, 2020. [Google Scholar] [CrossRef]
- Ibarra-Castanedo, C.; Maldague, X.P. Defect depth retrieval from pulsed phase thermographic data on Plexiglas and aluminum samples. In Thermosense XXVI; Burleigh, D.D., Cramer, K.E., Peacock, G.R., Eds.; International Society for Optics and Photonics; SPIE: Bellingham, WA, USA, 2004; Volume 5405, pp. 348–356. [Google Scholar] [CrossRef]
- Galmiche, F.; Leclerc, M.; Maldague, X.P. Time aliasing problem in pulsed-phased thermography. In Thermosense XXIII; Rozlosnik, A.E., Dinwiddie, R.B., Eds.; International Society for Optics and Photonics; SPIE: Bellingham, WA, USA, 2001; Volume 4360, pp. 550–553. [Google Scholar] [CrossRef]
- Bagnoli, P.; Casarosa, C.; Ciampi, M.; Dallago, E. Thermal resistance analysis by induced transient (TRAIT) method for power electronic devices thermal characterization. I. Fundamentals and theory. IEEE Trans. Power Electron. 1998, 13, 1208–1219. [Google Scholar] [CrossRef]
- Ziegeler, N.J.; Nolte, P.W.; Schweizer, S. Thermographic network identification for transient thermal heat path analysis. Quant. Infrared Thermogr. J. 2022, 20, 93–105. [Google Scholar] [CrossRef]
- Nichia Corporation. 16,384 LEDs to Revolutionize Automotive Lighting: Nichia and Infineon Launch Industry’s First High-Definition Micro-LED Matrix Solution. Available online: https://www.nichia.co.jp/en/newsroom/2023/2023_011901.html (accessed on 26 March 2024).
- Ezzahri, Y.; Shakouri, A. Application of network identification by deconvolution method to the thermal analysis of the pump-probe transient thermoreflectance signal. Rev. Sci. Instrum. 2009, 80, 074903. [Google Scholar] [CrossRef] [PubMed]
- Rupniewski, M.W. Reconstruction of Periodic Signals From Asynchronous Trains of Samples. IEEE Signal Process. Lett. 2021, 28, 289–293. [Google Scholar] [CrossRef]
- Vandewalle, P.; Sbaiz, L.; Vandewalle, J.; Vetterli, M. Super-Resolution From Unregistered and Totally Aliased Signals Using Subspace Methods. IEEE Trans. Signal Process. 2007, 55, 3687–3703. [Google Scholar] [CrossRef]
- Tao, R.; Li, B.Z.; Wang, Y. Spectral Analysis and Reconstruction for Periodic Nonuniformly Sampled Signals in Fractional Fourier Domain. IEEE Trans. Signal Process. 2007, 55, 3541–3547. [Google Scholar] [CrossRef]
- Rader, C. Recovery of undersampled periodic waveforms. IEEE Trans. Acoust. Speech Signal Process. 1977, 25, 242–249. [Google Scholar] [CrossRef]
- Schmid, M.; Bhogaraju, S.K.; Hanss, A.; Elger, G. A New Noise-Suppression Algorithm for Transient Thermal Analysis in Semiconductors Over Pulse Superposition. IEEE Trans. Instrum. Meas. 2021, 70, 6500409. [Google Scholar] [CrossRef]
- Pradere, C.; Clerjaud, L.; Batsale, J.C.; Dilhaire, S. High speed heterodyne infrared thermography applied to thermal diffusivity identification. Rev. Sci. Instrum. 2011, 82, 054901. [Google Scholar] [CrossRef] [PubMed]









Disclaimer/Publisher’s Note: The statements, opinions and data contained in all publications are solely those of the individual author(s) and contributor(s) and not of MDPI and/or the editor(s). MDPI and/or the editor(s) disclaim responsibility for any injury to people or property resulting from any ideas, methods, instructions or products referred to in the content. |
© 2024 by the authors. Licensee MDPI, Basel, Switzerland. This article is an open access article distributed under the terms and conditions of the Creative Commons Attribution (CC BY) license (https://creativecommons.org/licenses/by/4.0/).
Share and Cite
Anke, S.H.; Ziegeler, N.J.; Nolte, P.W.; Schweizer, S. Super-Frequency Sampling for Thermal Transient Analysis. Appl. Sci. 2024, 14, 7635. https://doi.org/10.3390/app14177635
Anke SH, Ziegeler NJ, Nolte PW, Schweizer S. Super-Frequency Sampling for Thermal Transient Analysis. Applied Sciences. 2024; 14(17):7635. https://doi.org/10.3390/app14177635
Chicago/Turabian StyleAnke, Simon H., Nils J. Ziegeler, Peter W. Nolte, and Stefan Schweizer. 2024. "Super-Frequency Sampling for Thermal Transient Analysis" Applied Sciences 14, no. 17: 7635. https://doi.org/10.3390/app14177635
APA StyleAnke, S. H., Ziegeler, N. J., Nolte, P. W., & Schweizer, S. (2024). Super-Frequency Sampling for Thermal Transient Analysis. Applied Sciences, 14(17), 7635. https://doi.org/10.3390/app14177635

