Studying the Efficiency of the Apache Kafka System Using the Reduction Method, and Its Effectiveness in Terms of Reliability Metrics Subject to a Copula Approach
Abstract
1. Introduction
2. Model Description and Notations
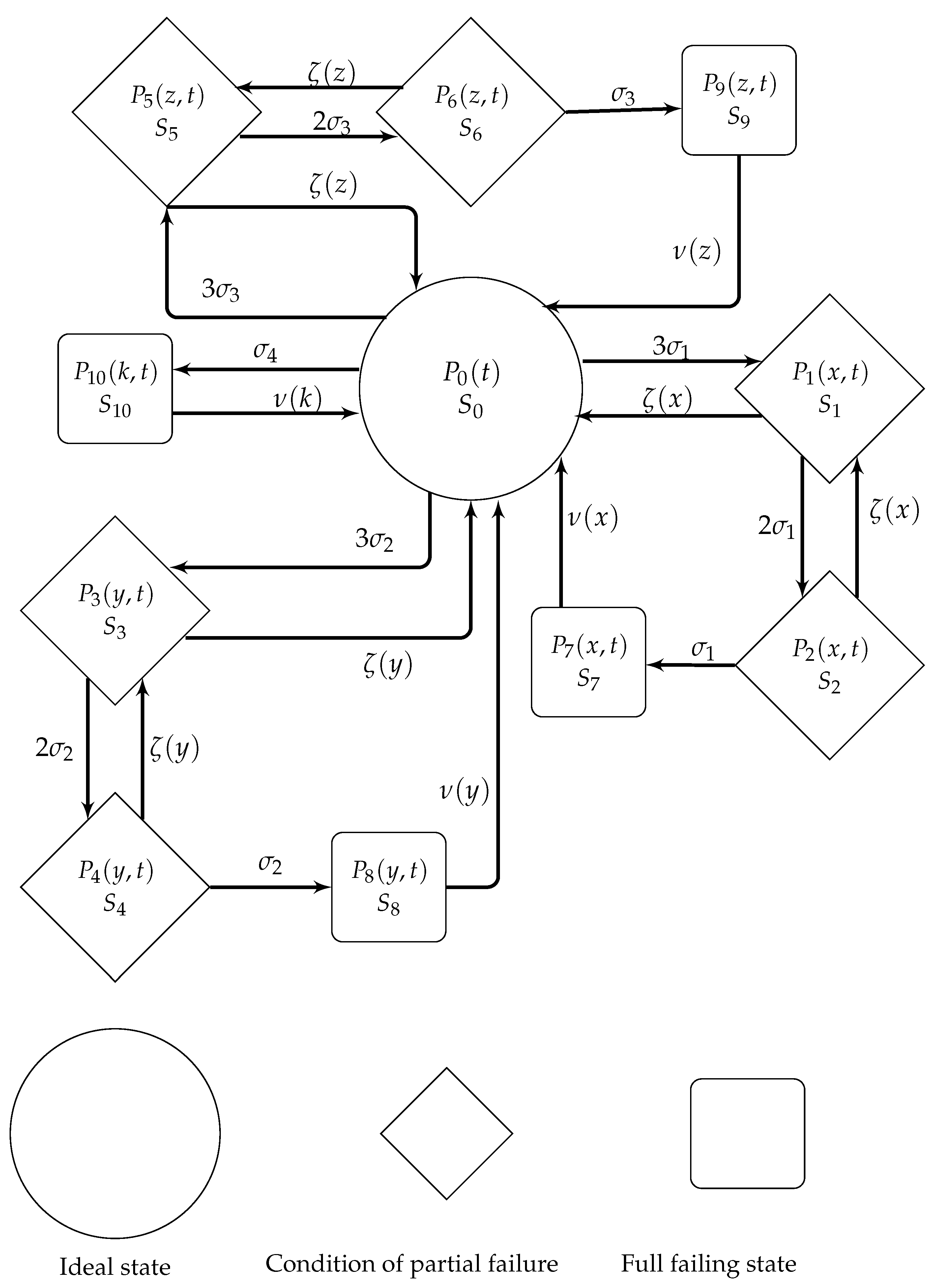
2.1. State Description
2.2. Assumptions
- At the beginning, all subsystems operate flawlessly.
- The system functions efficiently as long as at least one unit within each subsystem is in good working condition following the 1-out-of-3: G policy.
- The system will be inoperative if three units fail from each subsystem. Additionally, if the ZooKeeper unit within subsystem 2 fails, it will also lead to system inoperability.
- The rate at which failures occur remains consistent over time, and these rates are distributed according to an exponential distribution.
- The process of repairing states that have partially failed is achieved through general distribution, while the complete restoration of failed states is accomplished through the application of the Gumbel–Hougard family copula distribution.
- A repairman is employed on a full-time basis and has the capability to fix units that have experienced partial or complete failure.
- The repaired system functions with the same reliability and efficiency as a new one.
2.3. Notations
3. Mathematical Model and Solution
4. Model Analysis
4.1. System Availability
4.2. System Reliability Analysis
4.3. Mean Time to Failure (MTTF) Analysis
4.4. Sensitivity Analysis of the MTTF
4.5. Cost Analysis
5. Conclusions
Author Contributions
Funding
Institutional Review Board Statement
Informed Consent Statement
Data Availability Statement
Acknowledgments
Conflicts of Interest
References
- Han, W. Reliability evaluation of the Apache Kafka streaming system. In Proceedings of the 2019 IEEE International Symposium on Software Reliability Engineering Workshops (ISSREW), Berlin, Germany, 27–30 October 2019. [Google Scholar] [CrossRef]
- Han, W.; Zhihao, S.; Peng, G.; Wolter, K. A Reactive batching strategy of Apache Kafka for reliable stream processing in real-time. In Proceedings of the 2020 IEEE 31st International Symposium on Software Reliability Engineering (ISSRE), Coimbra, Portugal, 12–15 October 2020. [Google Scholar] [CrossRef]
- Yusuf, I.; Lado, A.I.; Singh, V.V.; Ali, U.A.; Sufi, N.A. Performance analysis of multi computer system consisting of three subsystems in series configuration using copula repair policy. SN Comput. Sci. 2020, 1, 241. [Google Scholar] [CrossRef]
- Yusuf, I.; Hussaini, N. A comparative analysis of three unit redundant systems with three types of failures. Arab. J. Sci. Eng. 2014, 4, 3337–3349. [Google Scholar] [CrossRef]
- Ram, M.; Kumar, A. Performability analysis of a system under 1-out-of-2: G scheme with perfect reworking. J. Braz. Soc. Mech. Sci. Eng. 2015, 37, 1029–1038. [Google Scholar] [CrossRef]
- Kumar, A.; Panwar, D.; Malik, S.C. Profit analysis of a warm standby non- identical unit system with single server performing in normal and abnormal environment. Life Cycle Reliab. Saf. Eng. 2019, 8, 219–226. [Google Scholar] [CrossRef]
- Taj, S.Z.; Rizman, S.M.; Alkali, B.M. Probabilistic modeling and analysis of a cable plant subsystem with priority to repair over preventive maintenance. Insp. Manag. J. Math. 2017, 3, 13–21. [Google Scholar]
- Gokdere, G.; Keung, H.; Tony, N. Time-dependent reliability analysis for repairable consecutive k-out-of-n: F system. Stat. Theory, Relat. Fields 2021, 6, 139–147. [Google Scholar] [CrossRef]
- Amirian, Y.; Khodadidi, A. Modeling and Exact Reliability for a Consecutive Linear (k1, k2, …, kn−r+1)-out-of-r-from-n: F System and consecutive circular (k1, k2, …, kn)-out-of-r-from-n: F System. Int. J. Reliab. Qual. Saf. Eng. 2021, 4, 2150029. [Google Scholar] [CrossRef]
- Elshoubary, E.E. Effect of reduction method on the performance a software defined network system using Gumbel Hougaard family copula distribution. J. N. Soc. Phys. Sci. 2023, 4, 1402. [Google Scholar] [CrossRef]
- Elshoubary, E.E.; Abu Shaeer, Z.F. Performance study of a complex system with three subsystems in series configuration using reduction method and copula distribution. Int. J. Comput. Intell. Ctrl. 2021, 13, 19–28. Available online: https://www.mukpublications.com/resources/ijcic%20v13-2-3.pdf (accessed on 30 July 2024).
- Temraz, N. Availability and reliability of a parallel system under imperfect repair and replacement: Analysis and cost optimization. Int. J. Sys. Assur. Eng. Manag. 2019, 10, 1002–1009. [Google Scholar] [CrossRef]
- Maihulla, A.S.; Yusuf, I. Reliability, availability, maintainability, and dependability analysis of photovoltaic systems. Life Cycle Reliab. Saf. Eng. 2022, 11, 19–26. [Google Scholar] [CrossRef]
- Chand, U.; Kumar, R.; Rawal, D.K.; Singh, V.V. Stochastic analysis of a complex repairable system comprises two subsystems in series configuration via multi-repair strategy. Life Cycle Reliab. Saf. Eng. 2022, 11, 323–335. [Google Scholar] [CrossRef]
- Singh, V.V.; Gahlot, M. Reliability analysis of (n) clients system under startopology and copula linguistic approach. Int. J. Comput. Syst. Eng. 2021, 6, 123–133. [Google Scholar] [CrossRef]
- Singh, V.V.; Poonia, P.K.; Adbullahi, A.H. Performance analysis of a complex repairable system with two subsystems in series configuration with an imperfect switch. J. Math. Comput. Sci. 2020, 10, 359. [Google Scholar] [CrossRef]
- Lado, A.K.; Singh, V.V. Cost assessment of complex repairable system consisting two subsystems in series configuration using Gumbel Hougaard family copula. Int. J. Qual. Reliab. Manag. 2019, 36, 1683. [Google Scholar] [CrossRef]
- Anas, S.M.; Yusuf, I. Reliability modeling and performance analysis of reverse osmosis machine in water purification using Gumbel–Hougaard family copula. Life Cycle Reliab. Saf. Eng. 2022, 12, 11–22. [Google Scholar] [CrossRef]
- Sengar, S.; Singh, S.B. Reliability Analysis of an Engine Assembly Process of Automobiles with Inspection Facility. Math. Theory Model. 2014, 4, 153–164. Available online: https://www.iiste.org/Journals/index.php/MTM/article/view/13118/13376 (accessed on 30 July 2024).
- Wang, Q.; Hu, J.; Wu, Y.; Zhao, Y. Output synchronization of wide-area heterogeneous multi-agent systems over intermittent clustered networks. Inf. Sci. 2023, 619, 263–275. [Google Scholar] [CrossRef]
- Liang, Q.; Hu, J.; Xiang, L.; Shi, K. Adaptive dynamic programming and distributionally robust optimal control of linear stochastic system using the Wasserstein metric. Int. J. Adapt. Control. Signal Process. 2024; early view. [Google Scholar] [CrossRef]
- Poonia, P.K.; Singh, V.V. Stochastic analysis of delayed reporting of faults in a computer network using copula distribution. Int. J. Qual. Eng. Tech. 2023, 9, 161–182. [Google Scholar] [CrossRef]








| State | Description |
|---|---|
| At this stage, it is expected that all components of the subsystem are operating correctly and without any issues. | |
| , , | The mentioned state has worsened and is considered to be a minor failure within a system. However, despite the failure of any single unit within subsystems 1, 2, and 3, the overall system remains operational as two units are still functioning properly. Efforts are underway to restore the system through comprehensive repairs. |
| , , | After experiencing the malfunction of at least two units within subsystems 1, 2, and 3, the system has reached a significantly impaired operational state, requiring ongoing repairs to restore full functionality. |
| , , | These states have experienced significant breakdowns due to the failure of more than two units within subsystems 1, 2, and 3. To address this issue, the Gumbel–Hougard copula distribution is being employed to rectify the system. |
| Due to a malfunction in the ZooKeeper unit, subsystem 2 has completely stopped working. The issue was resolved using copula distribution. |
| Time | Case 1 | Case 2 | Case 3 |
|---|---|---|---|
| 0 | 1 | 1 | 1 |
| 1 | 0.985207 | 0.972606 | 0.997056 |
| 2 | 0.985002 | 0.964517 | 0.997001 |
| 3 | 0.985202 | 0.962104 | 0.997037 |
| 4 | 0.985277 | 0.961376 | 0.997054 |
| 5 | 0.9853 | 0.961153 | 0.99706 |
| 6 | 0.985307 | 0.961084 | 0.997063 |
| 7 | 0.985309 | 0.961062 | 0.997063 |
| 8 | 0.98531 | 0.961055 | 0.997064 |
| 9 | 0.98531 | 0.961053 | 0.997064 |
| 10 | 0.98531 | 0.961052 | 0.997064 |
| Time | Case 1 | Case 2 |
|---|---|---|
| 0 | 1 | 1 |
| 1 | 0.96434 | 0.992194 |
| 2 | 0.922462 | 0.984121 |
| 3 | 0.876713 | 0.975801 |
| 4 | 0.828879 | 0.967258 |
| 5 | 0.780305 | 0.958509 |
| 6 | 0.731992 | 0.949574 |
| 7 | 0.684668 | 0.940472 |
| 8 | 0.63885 | 0.931218 |
| 9 | 0.594894 | 0.92183 |
| 10 | 0.553027 | 0.912322 |
| Failure Rates | MTTF () | MTTF () | MTTF () | MTTF () |
|---|---|---|---|---|
| 0.01 | 14.9052 | 15.7955 | 17.5875 | 14.9052 |
| 0.02 | 14.2286 | 14.9052 | 16.2737 | 14.9052 |
| 0.03 | 13.3724 | 13.8651 | 14.9052 | 14.9052 |
| 0.04 | 12.5392 | 12.8898 | 13.688 | 14.9052 |
| 0.05 | 11.7801 | 12.0233 | 12.6432 | 14.9052 |
| 0.06 | 11.1031 | 11.2651 | 11.7516 | 14.9052 |
| 0.07 | 10.5027 | 10.6029 | 10.9881 | 14.9052 |
| 0.08 | 9.9701 | 10.0229 | 10.3297 | 14.9052 |
| 0.09 | 9.49622 | 9.51224 | 9.7578 | 14.9052 |
| 0.1 | 9.07289 | 9.06025 | 9.25714 | 14.9052 |
| Failure Rates | ||||
|---|---|---|---|---|
| 0.01 | −41.9193 | −62.5954 | −107.932 | −569.162 |
| 0.02 | −82.4095 | −102.874 | −140.725 | −370.604 |
| 0.03 | −85.9876 | −102.218 | −130.34 | −263.725 |
| 0.04 | −79.949 | −92.2716 | −112.923 | −198.283 |
| 0.05 | −71.7737 | −81.0735 | −96.4012 | −154.875 |
| 0.06 | −63.7345 | −70.7879 | −82.3463 | −124.444 |
| 0.07 | −56.4945 | −61.8877 | −70.7466 | −69.3555 |
| 0.08 | −50.179 | −28.6126 | −61.232 | −51.685 |
| 0.09 | −44.7334 | −24.9794 | −53.4053 | −45.353 |
| Time | = 0.5 | = 0.4 | = 0.3 | = 0.2 | = 0.1 |
|---|---|---|---|---|---|
| 0 | 0 | 0 | 0 | 0 | 0 |
| 1 | 0.489226 | 0.589226 | 0.689226 | 0.789226 | 0.889226 |
| 2 | 0.974191 | 1.17419 | 1.37419 | 1.57419 | 1.77419 |
| 3 | 1.4593 | 1.7593 | 2.0593 | 2.3593 | 2.6593 |
| 4 | 1.94455 | 2.34455 | 2.74455 | 3.14455 | 3.54455 |
| 5 | 2.42984 | 2.92984 | 3.42984 | 3.92984 | 4.42984 |
| 6 | 2.91515 | 3.51515 | 4.11515 | 4.71515 | 5.31515 |
| 7 | 3.40045 | 4.10045 | 4.80045 | 5.50045 | 6.20045 |
| 8 | 3.88576 | 4.68576 | 5.48576 | 6.28576 | 7.08576 |
| 9 | 4.37107 | 5.27107 | 6.17107 | 7.07107 | 7.97107 |
| 10 | 4.85638 | 5.85638 | 6.85638 | 7.85638 | 8.85638 |
| Time | = 0.5 | = 0.4 | = 0.3 | = 0.2 | = 0.1 |
|---|---|---|---|---|---|
| 0 | 0 | 0 | 0 | 0 | 0 |
| 1 | 0.483578 | 0.583578 | 0.683578 | 0.783578 | 0.883578 |
| 2 | 0.951341 | 1.15134 | 1.35134 | 1.55134 | 1.75134 |
| 3 | 1.41442 | 1.71442 | 2.01442 | 2.31442 | 2.61442 |
| 4 | 1.87608 | 2.27608 | 2.67608 | 3.07608 | 3.47608 |
| 5 | 2.33733 | 2.83733 | 3.33733 | 3.83733 | 4.33733 |
| 6 | 2.79844 | 3.39844 | 3.99844 | 4.59844 | 5.19844 |
| 7 | 3.25951 | 3.95951 | 4.65951 | 5.35951 | 6.05951 |
| 8 | 3.72057 | 4.52057 | 5.32057 | 6.12057 | 6.92057 |
| 9 | 4.18162 | 5.08162 | 5.98162 | 6.88162 | 7.78162 |
| 10 | 4.64267 | 5.64267 | 6.64267 | 7.64267 | 8.64267 |
Disclaimer/Publisher’s Note: The statements, opinions and data contained in all publications are solely those of the individual author(s) and contributor(s) and not of MDPI and/or the editor(s). MDPI and/or the editor(s) disclaim responsibility for any injury to people or property resulting from any ideas, methods, instructions or products referred to in the content. |
© 2024 by the authors. Licensee MDPI, Basel, Switzerland. This article is an open access article distributed under the terms and conditions of the Creative Commons Attribution (CC BY) license (https://creativecommons.org/licenses/by/4.0/).
Share and Cite
Elshoubary, E.E.; Radwan, T. Studying the Efficiency of the Apache Kafka System Using the Reduction Method, and Its Effectiveness in Terms of Reliability Metrics Subject to a Copula Approach. Appl. Sci. 2024, 14, 6758. https://doi.org/10.3390/app14156758
Elshoubary EE, Radwan T. Studying the Efficiency of the Apache Kafka System Using the Reduction Method, and Its Effectiveness in Terms of Reliability Metrics Subject to a Copula Approach. Applied Sciences. 2024; 14(15):6758. https://doi.org/10.3390/app14156758
Chicago/Turabian StyleElshoubary, Elsayed E., and Taha Radwan. 2024. "Studying the Efficiency of the Apache Kafka System Using the Reduction Method, and Its Effectiveness in Terms of Reliability Metrics Subject to a Copula Approach" Applied Sciences 14, no. 15: 6758. https://doi.org/10.3390/app14156758
APA StyleElshoubary, E. E., & Radwan, T. (2024). Studying the Efficiency of the Apache Kafka System Using the Reduction Method, and Its Effectiveness in Terms of Reliability Metrics Subject to a Copula Approach. Applied Sciences, 14(15), 6758. https://doi.org/10.3390/app14156758

