Precise Mission Process Control Based on a Novel Dual-Code Group Network Plan Diagram
Abstract
1. Introduction
- To enable the description of large and complex group plans, we enhanced the traditional network plan diagram and developed a novel dual-code group network plan diagram with a timeline. Primarily, the timeline was incorporated to enable the NPD to monitor the mission process in real time. Secondly, the global start node and the global end node are added to ensure that the group network plan diagram is also suitable for the time parameter calculation method of the traditional NPD. Thirdly, we have designed a queue-based mission topology sorting method and an automated dual-code coding method, which allow the NPD to deal with a collection of missions in any order when performing mission time parameter calculations.
- A mission process closed-loop feedback control system based on the dual-code group network plan diagram is designed to model the mission process control problem as a mapping from mission states to plan adjustment. This system achieves real-time sensing of mission process deviations and precise control of mission plans.
- A fast and precise mission process control strategy is designed based on the mission process closed-loop feedback control system. The solution of the control strategy is presented through the analytical method, and its convergence and effectiveness are rigorously proven. This makes the control strategy fully interpretable. Furthermore, the maximum acceptable deviation of the mission process is mathematically proven, providing an important decision support for mission commanders.
2. Problem Formulation
2.1. Multi-Role, Multi-Stage Group Cooperative Mission Scenarios
2.2. Mission Process Control Problem Description
- Extremely high control precision. The purpose of this paper is to build an automated GCM management system. For a fully automated control system, it must master the precise time parameters of each sub-mission to ensure that each sub-mission is started accurately. The precision of the control can be accurate to the second or even less, which is much stricter than ordinary project management precision.
- Strict control goal. The goal of mission progress control is to ensure that the selected constant critical mission is strictly executed according to plan. It means that its start time is not acceptable to delay, because delays of constant critical missions can lead to some fatal losses in the implementation of GCMs.
- Real time control strategy solving. The execution of each sub-mission is potentially perturbed. Complex collaborative relationships between sub-missions may have a knock-on effect due to the perturbation of a sub-task, resulting in the following missions being delayed. Therefore, the solving of control strategy must be real time.
3. Dual-Code Group Network Plan Diagram Model with Time Line
3.1. Network Plan Diagram Modeling
- Sub-mission description from both executor and time two dimensions. A large and complex GCM consists of many sub-missions. How to describe each sub-mission in a GCM is a crucial problem. Because each sub-mission is attributed to a executor and has high time precision requirements, each sub-mission must be described in terms of both executor and time dimensions. The executor dimension mainly describes the sub-mission as the executor by which the sub-mission is to be performed. The time dimension mainly shows the plan start moment and end moment for a sub-mission.
- Cooperative relationship description between sub-missions. There are close cooperative relationships between sub-missions. There are two kinds of cooperative relationships: prior-relationships and post-relationships. For two sub-missions A and B, if the relationship between A and B is a prior-relationship, it means that A can only start after B has finished. If it is a post-relationship, it means that B can only start after A has finished.
3.2. Topological Sorting of Missions
| Algorithm 1 Framework of ensemble learning for our system |
Input: Mission set Prior-mission set Post-mission set Output: Sorted mission set ![]() |
3.3. Calculation of Time Parameters
3.4. Critical Path
| Algorithm 2 Depth-First Search to Find Critical Paths |
Function: Depth-First Search() Input: Critical mission set Start mission End mission Output: Critical path set ![]() |
3.5. Automatic Coding of Mission Dual-Codes
| Algorithm 3 Automatic Coding for Mission Dual-Codes |
Input: Sorted mission set Output: Critical path set ![]() |
3.6. Mission Relationship
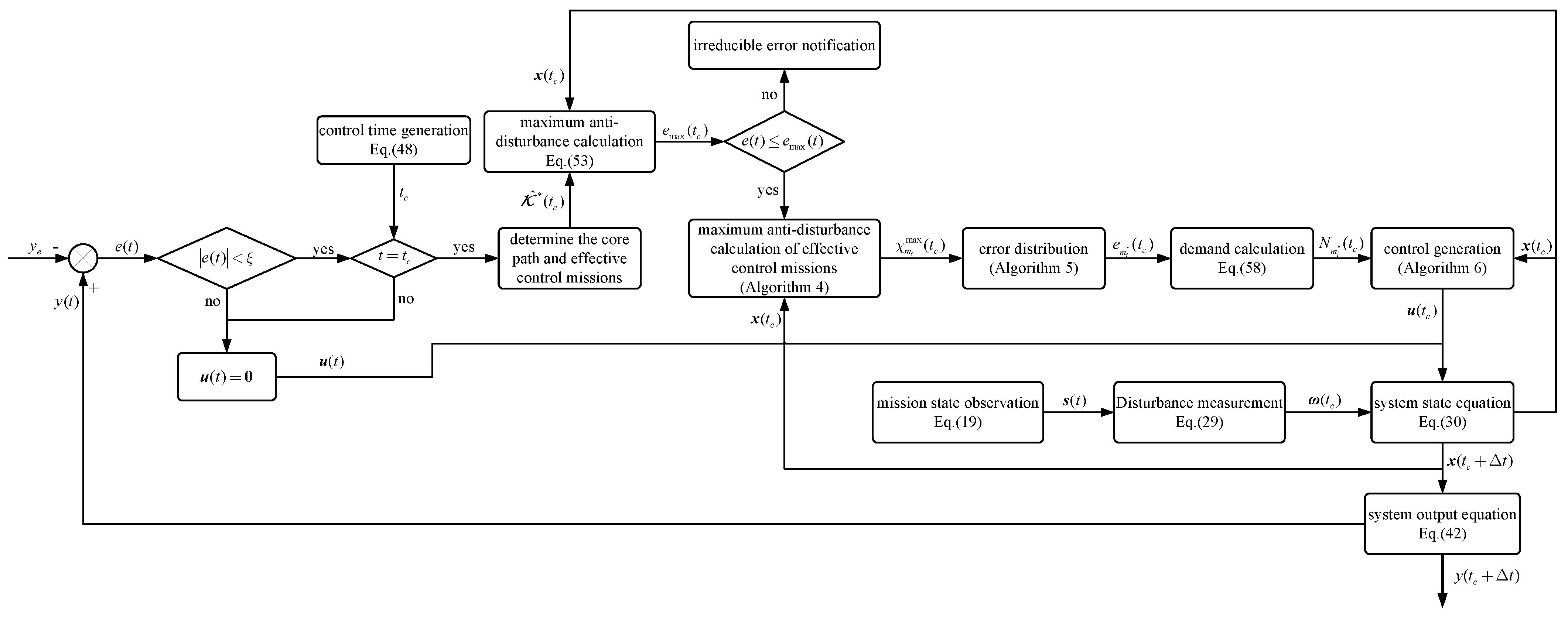
4. Mission Process Control System Modeling
4.1. System Hypothesis
4.2. System Modeling
4.3. System Equations
4.3.1. State Equation
4.3.2. Output Equation
4.3.3. Dynamics Equation
5. Mission Process Control Strategy
5.1. Control Constraints
5.2. Control Strategy Solution
5.2.1. Controllable Moment
5.2.2. Controllable Mission Validity
5.2.3. Maximum Anti-Disturbance Capability
| Algorithm 4 Calculation of Maximum Anti-Disturbance Capability for Valid Controllable Missions |
Input: valid controllable mission prior-missions set of post-missions set of critic path Output: the maximum anti-disturbance capability of at moment ![]() |
5.2.4. Solving of Control Strategy
| Algorithm 5 Assignment of Eliminated Errors for Effectively Controllable Missions |
|
| Algorithm 6 Sale Algorithm to calculate the control quantity |
Function: Sale() Input: current control time mission critical path the demand of mission control quantity Output: the control quantity of satisfying the demand of mission ![]() |
6. Results and Discussion
6.1. Multi-Role, Multi-Stage Group Cooperative Mission Description
6.2. Group Network Plan Diagram Presentation
6.3. Experiment Results and Discussion
6.3.1. Experiment 1: No Disturbance
6.3.2. Experiment 2: With Disturbance and No Control
6.3.3. Experiment 3: With Disturbance and with Control
6.3.4. Experiment 4: Disturbance Exceeding the Maximum Anti-Disturbance Capability of System
7. Conclusions
Author Contributions
Funding
Data Availability Statement
Conflicts of Interest
References
- Thevenin, S.; Adulyasak, Y.; Cordeau, J.F. Material requirements planning under demand uncertainty using stochastic optimization. Prod. Oper. Manag. 2021, 30, 475–493. [Google Scholar] [CrossRef]
- Bueno, A.; Godinho Filho, M.; Frank, A.G. Smart production planning and control in the Industry 4.0 context: A systematic literature review. Comput. Ind. Eng. 2020, 149, 106774. [Google Scholar] [CrossRef]
- Morariu, C.; Morariu, O.; Răileanu, S.; Borangiu, T. Machine learning for predictive scheduling and resource allocation in large scale manufacturing systems. Comput. Ind. 2020, 120, 103244. [Google Scholar] [CrossRef]
- Guzman, E.; Andres, B.; Poler, R. Models and algorithms for production planning, scheduling and sequencing problems: A holistic framework and a systematic review. J. Ind. Inf. Integr. 2022, 27, 100287. [Google Scholar] [CrossRef]
- Tang, Y.; Liu, R.; Sun, Q. Schedule control model for linear projects based on linear scheduling method and constraint programming. Autom. Constr. 2014, 37, 22–37. [Google Scholar] [CrossRef]
- Soini, M.; Leskelä, I.; Seppänen, O. Implementation of line-of-balance based scheduling and project control system in a large construction company. In Proceedings of the 12th Annual Conference of the International Group for Lean Construction, Elsinore, Denmark, 3–4 August 2004. [Google Scholar]
- Li, X.; Yang, J.; Fan, H. Dynamic Network Resource Autonomy Management and Task Scheduling Method. Mathematics 2023, 11, 1232. [Google Scholar] [CrossRef]
- Löffler, M.; Boysen, N.; Schneider, M. Human-robot cooperation: Coordinating autonomous mobile robots and human order pickers. Trans. Sci. 2023, 57, 979–998. [Google Scholar] [CrossRef]
- Mavri, A.; Ioannou, A.; Loizides, F. A model for enhancing creativity, collaboration and pre-professional identities in technology-supported cross-organizational communities of practice. Educ. Inf. Technol. 2023, 1–42. [Google Scholar] [CrossRef]
- Hirakata, V.N.; Oppermann, M.L.R.; Genro, V.K.; Reichelt, A.J. Exploring the Gantt chart as a tool to highlight double report in case series published during the first wave of the COVID-19 pandemic. Syst. Rev. 2022, 11, 155. [Google Scholar] [CrossRef]
- Shibuya, M.; Chen, X. Production Planning and Management Using Gantt Charts. J. Mech. Eng. Autom. 2021, 11, 68–76. [Google Scholar]
- Zhukovskiy, Y.L.; Kovalchuk, M.S.; Batueva, D.E.; Senchilo, N.D. Development of an algorithm for regulating the load schedule of educational institutions based on the forecast of electric consumption within the framework of application of the demand response. Sustainability 2021, 13, 13801. [Google Scholar] [CrossRef]
- Rakhmonov, I.; Hoshimov, F.; Kurbonov, N.; Jalilova, D. Optimization of the modes of electric loads of power-consuming units operating in different production modes. In Proceedings of the AIP Conference Proceedings: Rudenko International Conference “Methodological Problems in Reliability Study of Large Energy Systems” (RSES 2021), Volzhsky, Russia, 13–17 September 2021; AIP Publishing LLC: Melville, NY, USA, 2023; Volume 2552, p. 050022. [Google Scholar]
- Noorafza, M.; Santos, B.F.; Sharpanskykh, A.; Zengerling, Z.L.; Weder, C.M.; Linke, F.; Grewe, V. Airline network planning considering climate impact: Assessing new operational improvements. Appl. Sci. 2023, 13, 6722. [Google Scholar] [CrossRef]
- Andiyan, A.; Putra, R.M.; Rembulan, G.D.; Tannady, H. Construction project evaluation using CPM-Crashing, CPM-PERT and CCPM for minimize project delays. J. Phys. Conf. Ser. 2021, 1933, 012096. [Google Scholar] [CrossRef]
- Bagshaw, K.B. PERT and CPM in project management with practical examples. Am. J. Oper. Res. 2021, 11, 215–226. [Google Scholar] [CrossRef]
- Haekal, J.; Masood, I. Simulation of ERP project scheduling using CPM and PERT method with promodel: A case studies in food and beverage companies in Jakarta Selatan, Indonesia. In Proceedings of the AIP Conference Proceedings: 11th International Conference on Mechanical and Manufacturing Engineering 2021 (ICME’21), Parit Raja, Malaysia, 25–26 August 2021; AIP Publishing LLC: Melville, NY, USA, 2023; Volume 2530. [Google Scholar]
- Aziz, A.; Brohi, M.N.; Soomro, T.R.; Ghazal, T.M.; Alzoubi, H.M.; Alshurideh, M. Aircraft Turnaround Manager (ATM): A Solution to Airport Operations. In The Effect of Information Technology on Business and Marketing Intelligence Systems; Springer: Berlin/Heidelberg, Germany, 2023; pp. 679–702. [Google Scholar]
- Geng, S.; Yang, M.; Mitici, M.; Liu, S. A resilience assessment framework for complex engineered systems using graphical evaluation and review technique (GERT). Reliab. Eng. Syst. Saf. 2023, 236, 109298. [Google Scholar] [CrossRef]
- Qian, G.; Guo, M.; Zhang, L.; Wang, Y.; Hu, S.; Wang, D. Traffic scheduling and control in fully connected and automated networks. Transp. Res. C Emerg. Technol. 2021, 126, 103011. [Google Scholar] [CrossRef]
- Song, J.; Martens, A.; Vanhoucke, M. Using schedule risk analysis with resource constraints for project control. Eur. J. Oper. Res. 2021, 288, 736–752. [Google Scholar] [CrossRef]
- Qu, J.; Wu, S.; Zhang, J. Flight delay propagation prediction based on deep learning. Mathematics 2023, 11, 494. [Google Scholar] [CrossRef]
- Yazdi, M.F.; Kamel, S.R.; Chabok, S.J.M.; Kheirabadi, M. Flight delay prediction based on deep learning and Levenberg-Marquart algorithm. J. Big Data 2020, 7, 106. [Google Scholar] [CrossRef]
- Wei, X.; Li, Y.; Shang, R.; Ruan, C.; Xing, J. Airport Cluster Delay Prediction Based on TS-BiLSTM-Attention. Aerospace 2023, 10, 580. [Google Scholar] [CrossRef]
- Birolini, S.; Jacquillat, A. Day-ahead aircraft routing with data-driven primary delay predictions. Eur. J. Oper. Res. 2023, 310, 379–396. [Google Scholar] [CrossRef]
- He, Y.; Ma, H.L.; Park, W.Y.; Liu, S.Q.; Chung, S.H. Maximizing robustness of aircraft routing with heterogeneous maintenance tasks. Transp. Res. E Logist. Transp. Rev. 2023, 177, 103237. [Google Scholar] [CrossRef]
- Hassan, L.; Santos, B.F.; Vink, J. Airline disruption management: A literature review and practical challenges. Comput. Oper. Res. 2021, 127, 105137. [Google Scholar] [CrossRef]
- Vink, J.; Santos, B.F.; Verhagen, W.J.; Medeiros, I. Dynamic aircraft recovery problem-an operational decision support framework. Comput. Oper. Res. 2020, 117, 104892. [Google Scholar] [CrossRef]
- Xu, Y.; Wandelt, S.; Sun, X. A distributionally robust optimization approach for airline integrated recovery under in-flight pandemic transmission risks. Transp. Res. C Emerg. Technol. 2023, 152, 104188. [Google Scholar] [CrossRef] [PubMed]
- Shao, Q.; Shao, M.; Bin, Y.; Zhu, P.; Zhou, Y. Flight recovery method of regional multiairport based on risk control model. Math. Probl. Eng. 2020, 2020, 7105381. [Google Scholar] [CrossRef]
- Yang, L.; Wei, F.; Qiu, Q. Mission risk control via joint optimization of sampling and abort decisions. Risk Anal. 2024, 44, 666–685. [Google Scholar] [CrossRef]
- Cheng, G.; Li, L.; Shangguan, C.; Yang, N.; Jiang, B.; Tao, N. Optimal joint inspection and mission abort policy for a partially observable system. Reliab. Eng. Syst. Saf. 2023, 229, 108870. [Google Scholar] [CrossRef]
- Chen, K.; Zhao, X.; Qiu, Q. Optimal task abort and maintenance policies considering time redundancy. Mathematics 2022, 10, 1360. [Google Scholar] [CrossRef]






















| Time | Executor | Cooperative Relationship | |
|---|---|---|---|
| Gantt Chart | ✓ | × | × |
| Load Diagram | ✓ | ✓ | × |
| Dual-code Network Plan Diagram | × | × | ✓ |
| Single-code Network Plan Diagram | × | × | ✓ |
| Mission | Executor | Mission Duration (min) | Mission Controllability | Minimum Mission Duration (min) | Prior-Mission | Post-Mission |
|---|---|---|---|---|---|---|
| START | START | 0 | 0 | 0 | G1 | |
| A1 | A | 2 | 0 | 0.5 | B1 | A2, D1 |
| A2 | A | 10 | 1 | 15 | A1 | A3 |
| A3 | A | 60 | 0 | 30 | A2 | A4 |
| A4 | A | 2 | 0 | 1 | A3 | A5 |
| A5 | A | 2 | 0 | 1 | A4 | FINISH |
| B1 | B | 2 | 0 | 0.5 | H1 | B2 |
| B2 | B | 15 | 1 | 10 | B1 | B3 |
| B3 | B | 2 | 0 | 10 | B2 | B4 |
| B4 | B | 14 | 0 | 2 | B3, D4, C4, E4, F4 | B5, C6 |
| B5 | B | 20 | 0 | 1 | B4 | FINISH |
| C1 | C | 2 | 0 | 1.5 | D1 | E1, C2 |
| C2 | C | 17 | 1 | 5 | C1 | C3 |
| C3 | C | 30 | 0 | 5 | D3, C2 | C4, F3 |
| C4 | C | 2 | 1 | 2 | C3 | C5 |
| C5 | C | 20 | 1 | 1 | C4 | C6 |
| C6 | C | 3 | 0 | 2 | B4, C5 | D6, C7 |
| C7 | C | 10 | 0 | 1 | C6, E7 | C8 |
| C8 | C | 2 | 0 | 1 | C7 | FINISH |
| D1 | D | 32 | 0 | 1.5 | A1 | D2, C1 |
| D2 | D | 3 | 1 | 5 | D1 | D3 |
| D3 | D | 15 | 0 | 5 | D2, H2 | D4, C3 |
| D4 | D | 3 | 1 | 2 | D3 | D5, B4 |
| D5 | D | 8 | 1 | 1 | D4 | D6 |
| D6 | D | 3 | 0 | 20 | D5, C6 | D7 |
| D7 | D | 5 | 0 | 2 | D6 | F6, D8 |
| D8 | D | 3 | 0 | 1 | D7, F7 | D9 |
| D9 | D | 8 | 0 | 1 | D8 | FINISH |
| E1 | E | 2 | 0 | 1.5 | C1 | E2, F1 |
| E2 | E | 5 | 1 | 5 | E1 | E3 |
| E3 | E | 4 | 0 | 5 | E2, F3 | E4 |
| E4 | E | 8 | 1 | 3 | E3 | B4, E5 |
| E5 | E | 3 | 0 | 2 | E4 | E6 |
| E6 | E | 3 | 1 | 3 | E5, F6 | E7 |
| E7 | E | 5 | 0 | 5 | C7 | E8 |
| E8 | E | 2 | 0 | 1 | E7 | E9, F7 |
| E9 | E | 5 | 0 | 1 | E8 | FINISH |
| F1 | F | 4 | 0 | 1 | E1 | F2 |
| F2 | F | 8 | 1 | 5 | F1 | F3 |
| F3 | F | 3 | 0 | 5 | F2, C3 | F4, E3 |
| F4 | F | 4 | 1 | 2 | F3 | F5, B4 |
| F5 | F | 2 | 1 | 1 | F4 | F6 |
| F6 | F | 2 | 0 | 2 | F5, D7 | E6, F7 |
| F7 | F | 4 | 0 | 1 | E8 | F8, D8 |
| F8 | F | 20 | 0 | 1 | F7 | FINISH |
| G1 | G | 3 | 0 | 1 | START | G2 |
| G2 | G | 7 | 1 | 3 | G1 | G3, I1 |
| G3 | G | 60 | 0 | 10 | G2 | G4 |
| G4 | G | 1 | 0 | 3 | G3 | FINISH |
| H1 | H | 1 | 0 | 2 | I1 | H2, B1 |
| H2 | H | 7 | 1 | 2 | H1 | H3, D3 |
| H3 | H | 30 | 0 | 2 | H2 | H4 |
| H4 | H | 1 | 0 | 2 | H3 | FINISH |
| I1 | I | 1 | 0 | 2 | G2 | I2, H1 |
| I2 | I | 10 | 1 | 2 | I1 | I3 |
| I3 | I | 20 | 0 | 2 | I2 | I4 |
| I4 | I | 1 | 0 | 2 | I3 | FINISH |
| FINISH | FINISH | 0 | 0 | 0 | I4, H4, G4, F8, E9, D9, C8, B5, A5 |
(Single-Code) | (Dual-Code) | R (min) | r (min) | Critical Mission | ||||||
|---|---|---|---|---|---|---|---|---|---|---|
| START | (0,0) | 0 | 0 | 0 | 0 | 0 | 0 | 0 | 0 | 1 |
| G1 | (1,2) | 0 | 0 | 2 | 2 | 0 | 0 | 0 | 2 | 1 |
| G2 | (2,3) | 2 | 2 | 12 | 12 | 0 | 0 | 2 | 12 | 1 |
| G3 | (3,4) | 12 | 59 | 72 | 119 | 47 | 0 | 12 | 72 | 0 |
| I1 | (5,6) | 12 | 12 | 14 | 14 | 0 | 0 | 12 | 14 | 1 |
| G4 | (4,7) | 72 | 119 | 74 | 121 | 47 | 47 | 72 | 74 | 0 |
| H1 | (8,9) | 14 | 14 | 16 | 16 | 0 | 0 | 14 | 16 | 1 |
| I2 | (6,10) | 14 | 84 | 29 | 99 | 70 | 0 | 14 | 29 | 0 |
| B1 | (11,12) | 16 | 16 | 18 | 18 | 0 | 0 | 16 | 18 | 1 |
| H2 | (9,13) | 16 | 24 | 30 | 38 | 8 | 0 | 16 | 30 | 0 |
| I3 | (10,14) | 29 | 99 | 49 | 119 | 70 | 0 | 29 | 49 | 0 |
| A1 | (15,16) | 18 | 18 | 20 | 20 | 0 | 0 | 18 | 20 | 1 |
| B2 | (12,17) | 18 | 39 | 35 | 56 | 21 | 0 | 18 | 35 | 0 |
| H3 | (13,18) | 30 | 89 | 60 | 119 | 59 | 0 | 30 | 60 | 0 |
| I4 | (14,19) | 49 | 119 | 51 | 121 | 70 | 70 | 49 | 51 | 0 |
| A2 | (16,20) | 20 | 63 | 40 | 83 | 43 | 0 | 20 | 40 | 0 |
| D1 | (21,22) | 20 | 20 | 23 | 23 | 0 | 0 | 20 | 23 | 1 |
| B3 | (17,23) | 35 | 56 | 45 | 66 | 21 | 21 | 35 | 45 | 0 |
| H4 | (18,24) | 60 | 119 | 62 | 121 | 59 | 59 | 60 | 62 | 0 |
| A3 | (20,25) | 40 | 83 | 72 | 115 | 43 | 0 | 40 | 72 | 0 |
| C1 | (26,27) | 23 | 32 | 26 | 35 | 9 | 0 | 23 | 26 | 0 |
| D2 | (22,28) | 23 | 23 | 38 | 38 | 0 | 0 | 23 | 38 | 1 |
| A4 | (25,29) | 72 | 115 | 75 | 118 | 43 | 0 | 72 | 75 | 0 |
| C2 | (27,30) | 26 | 35 | 34 | 43 | 9 | 9 | 26 | 34 | 0 |
| E1 | (31,32) | 26 | 35 | 29 | 38 | 9 | 0 | 26 | 29 | 0 |
| D3 | (28,33) | 38 | 38 | 43 | 43 | 0 | 0 | 38 | 43 | 1 |
| A5 | (29,34) | 75 | 118 | 78 | 121 | 43 | 43 | 75 | 78 | 0 |
| E2 | (32,35) | 29 | 45 | 37 | 53 | 16 | 16 | 29 | 37 | 0 |
| F1 | (36,37) | 29 | 38 | 31 | 40 | 9 | 0 | 29 | 31 | 0 |
| C3 | (38,39) | 43 | 43 | 48 | 48 | 0 | 0 | 43 | 48 | 1 |
| D4 | (33,40) | 43 | 62 | 47 | 66 | 19 | 0 | 43 | 47 | 0 |
| F2 | (37,41) | 31 | 40 | 39 | 48 | 9 | 9 | 31 | 39 | 0 |
| C4 | (39,42) | 48 | 63 | 51 | 66 | 15 | 0 | 48 | 51 | 0 |
| D5 | (40,43) | 47 | 71 | 50 | 74 | 24 | 24 | 47 | 50 | 0 |
| F3 | (44,45) | 48 | 48 | 53 | 53 | 0 | 0 | 48 | 53 | 1 |
| C5 | (42,46) | 51 | 68 | 53 | 70 | 17 | 17 | 51 | 53 | 0 |
| E3 | (47,48) | 53 | 53 | 58 | 58 | 0 | 0 | 53 | 58 | 1 |
| F4 | (45,49) | 53 | 62 | 57 | 66 | 9 | 0 | 53 | 57 | 0 |
| E4 | (48,50) | 58 | 58 | 66 | 66 | 0 | 0 | 58 | 66 | 1 |
| F5 | (49,51) | 57 | 94 | 60 | 97 | 37 | 37 | 57 | 60 | 0 |
| B4 | (52,53) | 66 | 66 | 70 | 70 | 0 | 0 | 66 | 70 | 1 |
| E5 | (50,54) | 66 | 98 | 68 | 100 | 32 | 32 | 66 | 68 | 0 |
| B5 | (53,55) | 70 | 119 | 72 | 121 | 49 | 49 | 70 | 72 | 0 |
| C6 | (56,57) | 70 | 70 | 74 | 74 | 0 | 0 | 70 | 74 | 1 |
| D6 | (58,59) | 74 | 74 | 94 | 94 | 0 | 0 | 74 | 94 | 1 |
| D7 | (59,60) | 94 | 94 | 97 | 97 | 0 | 0 | 94 | 97 | 1 |
| F6 | (61,62) | 97 | 97 | 100 | 100 | 0 | 0 | 97 | 100 | 1 |
| E6 | (63,64) | 100 | 100 | 110 | 110 | 0 | 0 | 100 | 110 | 1 |
| E7 | (64,65) | 110 | 110 | 113 | 113 | 0 | 0 | 110 | 113 | 1 |
| C7 | (66,67) | 113 | 117 | 115 | 119 | 4 | 0 | 113 | 115 | 0 |
| E8 | (65,68) | 113 | 113 | 115 | 115 | 0 | 0 | 113 | 115 | 1 |
| C8 | (67,69) | 115 | 119 | 117 | 121 | 4 | 4 | 115 | 117 | 0 |
| E9 | (68,70) | 115 | 119 | 117 | 121 | 4 | 4 | 115 | 117 | 0 |
| F7 | (71,72) | 115 | 115 | 117 | 117 | 0 | 0 | 115 | 117 | 1 |
| D8 | (73,74) | 117 | 117 | 119 | 119 | 0 | 0 | 117 | 119 | 1 |
| F8 | (72,75) | 117 | 119 | 119 | 121 | 2 | 2 | 117 | 119 | 0 |
| D9 | (74,76) | 119 | 119 | 121 | 121 | 0 | 0 | 119 | 121 | 1 |
| FINISH | (77,77) | 121 | 121 | 121 | 121 | 0 | 0 | 121 | 121 | 1 |
| t | (min) | ||||||
|---|---|---|---|---|---|---|---|
| G2 | D2 | C2 | F2 | E4 | E6 | ||
| 4 | −2 | 0 | 0 | 0 | 0 | 0 | 2 |
| 15 | 0 | −3 | 0 | 0 | 0 | 0 | 3 |
| 25 | 0 | −4 | 0 | 0 | 0 | 0 | 4 |
| 30 | 0 | −3 | −1 | −1 | 0 | 0 | 3 |
| 39 | 0 | 0 | −2 | −2 | −1 | 0 | 3 |
| 47 | 0 | 0 | 0 | 0 | −4 | −1 | 5 |
| 67 | 0 | 0 | 0 | 0 | 0 | −3 | 3 |
| t | (min) | ||||||
|---|---|---|---|---|---|---|---|
| G2 | D2 | C2 | F2 | E4 | E6 | ||
| 5 | −3 | 0 | 0 | 0 | 0 | 0 | 3 |
| 16 | 0 | −4 | 0 | 0 | 0 | 0 | 4 |
| 25 | 0 | −1 | 0 | 0 | 0 | 0 | 1 |
| 36 | 0 | 0 | −1 | −1 | 0 | 0 | 1 |
| 46 | 0 | 0 | 0 | −2 | −3 | 0 | 5 |
| 62 | 0 | 0 | 0 | 0 | −2 | −4 | 6 |
| 72 | 0 | 0 | 0 | 0 | 0 | −3 | 5 |
Disclaimer/Publisher’s Note: The statements, opinions and data contained in all publications are solely those of the individual author(s) and contributor(s) and not of MDPI and/or the editor(s). MDPI and/or the editor(s) disclaim responsibility for any injury to people or property resulting from any ideas, methods, instructions or products referred to in the content. |
© 2024 by the authors. Licensee MDPI, Basel, Switzerland. This article is an open access article distributed under the terms and conditions of the Creative Commons Attribution (CC BY) license (https://creativecommons.org/licenses/by/4.0/).
Share and Cite
Wu, A.; Xie, X.; Song, Q.; Wang, Y.; Li, H.; Yang, R. Precise Mission Process Control Based on a Novel Dual-Code Group Network Plan Diagram. Appl. Sci. 2024, 14, 5632. https://doi.org/10.3390/app14135632
Wu A, Xie X, Song Q, Wang Y, Li H, Yang R. Precise Mission Process Control Based on a Novel Dual-Code Group Network Plan Diagram. Applied Sciences. 2024; 14(13):5632. https://doi.org/10.3390/app14135632
Chicago/Turabian StyleWu, Ao, Xiaowei Xie, Qi Song, Ying Wang, Huanyu Li, and Rennong Yang. 2024. "Precise Mission Process Control Based on a Novel Dual-Code Group Network Plan Diagram" Applied Sciences 14, no. 13: 5632. https://doi.org/10.3390/app14135632
APA StyleWu, A., Xie, X., Song, Q., Wang, Y., Li, H., & Yang, R. (2024). Precise Mission Process Control Based on a Novel Dual-Code Group Network Plan Diagram. Applied Sciences, 14(13), 5632. https://doi.org/10.3390/app14135632






