Next Article in Journal
User Assessment of a Customized Taekwondo Athlete Performance Cyber–Physical System
Previous Article in Journal
Branch-Transformer: A Parallel Branch Architecture to Capture Local and Global Features for Language Identification
 
 
Font Type:
Arial Georgia Verdana
Font Size:
Aa Aa Aa
Line Spacing:
Column Width:
Background:
Article

MEEMD-Based Ground Vibration Component Extraction and Response Analysis of Long Period Ground Vibration on High-Pier Large-Span Bridges

School of Civil Engineering and Transportation, Northeast Forestry University, Harbin 150040, China
*
Author to whom correspondence should be addressed.
These authors contributed equally to this work.
Appl. Sci. 2024, 14(11), 4680; https://doi.org/10.3390/app14114680
Submission received: 19 April 2024 / Revised: 19 May 2024 / Accepted: 21 May 2024 / Published: 29 May 2024
(This article belongs to the Section Civil Engineering)

Abstract

Comparing the empirical modal decomposition (EMD) method and the modified ensemble empirical modal decomposition (MEEMD) method, a response analysis of the long-period components, with the separation and reconstruction of the two methods, and the original long-period ground vibration on high-pier bridges is carried out to verify the validity of the extracted long-period components. In addition, the response characteristics of the components extracted based on the MEEMD and the original ground vibration are studied on the bridges at different points. The results show that, through the correlation of the displacement response of the bridge piers, the long-period component of the long-period ground shaking can well reflect the response characteristics of the long-period ground shaking on the long-period structure, and the MEEMD provides better results than the EMD extraction method. The long-period structure resonates during the long-period component of the long-period ground shaking, the short-period structure resonates during the short-period component, and the structural seismic response is similar to the self-resonance of the structure. The seismic response of the structures is closely related to the self-oscillation period and the spectral parameters of the ground shaking.

1. Introduction

In recent years, long-period seismic hazards have aroused widespread concern; during the 1999 Nantou County, Taiwan, Jiji earthquake, the 2008 Wenchuan earthquake, and the 1985 Mexico earthquake [1], there were a large number of long-period seismic hazards. The study of long-period ground shaking [2,3] is still relatively immature, while at the same time, large flexible high-pier large-span continuous bridges [4] are being widely developed to adapt to the needs of particular geology and topography. Compared to other ordinary bridges, continuous rigid bridges have better seismic performance and adapt to the longitudinal displacement caused by the prestressing loads, temperature loads, and the shrinkage creep of concrete through the flexibility of the main pier. However, their seismic response [5] is more complex; at present, high-pier large-span continuous rigid bridge seismic characteristics are still being actively explored; so, the response analysis of high-pier large-span bridges, for example, the long-period structures under the action of long-period seismic waves, performed in this research is particularly important.
At present, some research has been carried out on long-period ground shaking and high-pier large-span continuous rigid bridges. Hanks proposed the concept of long-period ground shaking [6], and long period ground shaking is now divided into two types of special long period ground shaking, which are the far-field harmonic type and the near-fault impulse type, Hall et al. [7] found that the sedimentary basins prolonged the duration of the ground shaking in the Mexican earthquake, and the long-period portion of the shaking (2–4 s) was reduced in this earthquake. Long-period ground shaking in the time domain can be influenced by site factors. Li et al. [8] analyzed the 1999 Jiji earthquake and the effects of the site conditions, epicentral distance, and magnitude on the long-period ground shaking response spectra; they found that the long-period ground shaking response spectra changed with the site conditions and magnitude.
In summary, it is found that long-period ground shaking is susceptible to site conditions in both the time and frequency domains, and the next step is to characterize long-period ground shaking properties and define long-period ground shaking by focusing on the study of spectral parameters of long-period ground shaking. Yang et al. [9] proposed the smoothing cycle parameter, they analyzed the spectral characteristics of 150 near-fault ground shocks based on the HHT, discussed the mean values, coefficients of variation, and the correlation between the three remarkable cycles and seven smoothing cycles that characterized the spectral characteristics of ground shocks, and pointed out that the smoothing cycle parameter can be used as a characterization parameter of near-fault impulsive ground shocks. Li Xuehong et al. [10] proposed βl, they analyzed the energy characteristics of ground shaking with the Hilbert–Huang transform theory, put forward a method for evaluating the period characteristics of ground shaking, and proposed using the β spectral curve, from the spectral value of 2 to 10 s, and the square-weighted average of the periods, βl, as the defining parameters of the long-period ground shaking. Li Yingmin, et al. [11] proposed two parameter indexes, namely, the energy ratio and the peak ratio of the long-period component, and based on these two indexes, the definition index of the long-period ground vibration, LPGI, was proposed using logistic regression. Liu [12] improved the modified ensemble empirical mode decomposition (MEEMD) method and used it to decompose the long-period ground motion. Taking the separated and reconstructed ground motions as input action, the influence of long-period components on the seismic response of the diagrid structures of high-rise buildings was studied. Shao et al. [13] used the empirical mode decomposition in Hilbert–Huang transform theory to decompose and reorganize typical ordinary, near-field, and far-field long-period seismic waves. By analyzing and comparing the fitting degree of the reorganized component timescales with the original time–displacement spectra, it was concluded that the correlation coefficient between the reorganized component timescales of the long-period ground shaking and the original time–displacement spectra was more than 0.8, while the correlation coefficient between those of the ordinary ground shaking and the original time–displacement spectra was less than 0.8. Therefore, they proposed a quantitative method to differentiate between long-period and ordinary ground shaking and provided a basis for the definition of long-period ground shaking. Wang et al. [14] studied the difference in the seismic responses of long-span continuous beam bridges with isolated high piers under the action of ordinary and far-field long-period ground motion. The results showed that compared to ordinary ground motion, the seismic response of long-span continuous beam bridges with isolated high piers was obviously increased under the action of far-field long-period ground motion. Although there have been many studies on long-period ground shaking, its definition remains confusing. Many works only briefly address long-period ground shaking and seldom study in depth the essential long-period components affecting long-period ground shaking.
Based on the research of the above scholars, this paper adopts the ground vibration component separation method mentioned by Liu [13] to study the response characteristics of the long-period component characterized by the average period Tr of the response spectrum based on the MEEMD component extraction method for high pier and large-span bridge structures, which were only centered on the high-rise structures in the previous research. The article takes Renwan Ruhe Bridge as an engineering example to verifies the reasonableness of the component extraction method through the correlation of the displacement responses under the action of long-period ground shaking and its components, and finds that the reconstructed components extracted by the MEEMD method are more capable of characterizing the original long-period seismic properties. It also studies the effects of the components extracted based on the MEEMD method on the high-piers and large-span bridges with different periods; and uses nonlinear time course analysis to compare the response of ordinary ground shaking and long-period ground shaking. Compare the internal force and displacement responses of bridges under normal ground shaking and long period ground shaking.

2. High-Pier, Large-Span Continuous Rigid Bridge Finite Element Modeling

2.1. Information on High Pier, Large Span Bridges

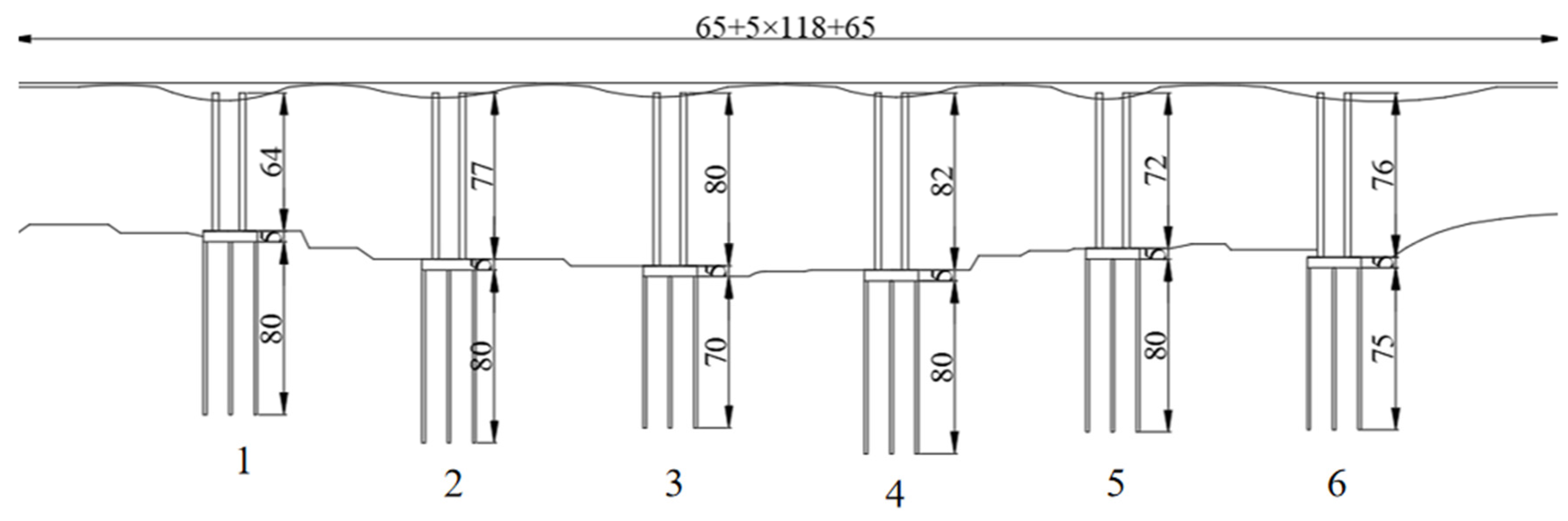
The research object of this work is the Yinchuan to Kunming highway (G85) Sun Mountain Development Zone to Pengyang (Ninggan boundary) section of a high-pier large-span bridge. The Renwan Ruhe Bridge main bridge span composition is 65 + 5 × 118 + 65 m, with a main bridge length of 720 m. A site plan for the construction phase is shown below in Figure 1. The upper part of the prestressed concrete variable cross-section continuous rigid structure system comprises a box girder using a single box single-compartment cross-section, with a longitudinal, transverse, and vertical three-way prestressing system; the bridge width is 12.75 m, the box girder beam height at the root of the beam is 7 m, the beam in the middle of the span height is 2.7 m, and the height of the box girder follows a parabolic change of 1.8 times. The main pier comprises a double-limb thin-walled hollow pier, and the pier height varies from 60 to 82 m. The main bridge’s main piers Nos. 2–5 have a double-limbed rectangular hollow thin-walled section, a wall thickness of 70 cm, a single-limb thickness of 2.8 m (longitudinal), a width of 7.75 m (transverse), and a net distance between limbs of 3.4 m. The No. 1 and No. 6 main piers are composed of a double-limbed rectangular solid cross-section, with a single-limb thickness of 2.2 m (longitudinal), a width of 7.75 m (transverse), and a net distance between limbs of 4.0 m. The main bridge merging section has a hanging basket in situ casting construction, and the side span is cast in place with the pier. The main bridge joint section is cast in place with the hanging basket, and the side span section is cast in place with the pier side bracket. The constant load of the first phase of the main girder is 198 KN/m, and the constant load of the second phase is 76 KN/m. The layout of the whole bridge is shown in Figure 2. The cross-section of the main beam is shown in Figure 3.

2.2. Finite Element Modeling

In the finite element software Midas/Civil 2021 to establish the model, the main girder is simulated by linear elastic beam unit; the abutment is simulated by elastic-plastic fiber beam-column unit, the abutment is divided into a total of 270 units and according to its actual reinforcement, the fiber is given to the material (steel and concrete) of the constitutive relationship; the boundary conditions of the bearing using elastic connection, The pile foundation is simulated by a beam unit, and the pile-soil co-action is simulated by an iso-surrogate soil spring, whose stiffness is calculated by the m-parameter that characterizes the elastic value of the soil medium see Equation (1); The bridge superstructure and piers are restrained by rigid connection. The concrete is modeled by Mander model, the required constitutive parameter is f c o = 50   M Pa, ε c o = 0.002 ,   ε c u = 0.004 , and the constitutive definition of concrete can be completed by inputting the parameter in Midas nonlinear material module. The reinforcing steel is modeled as a bifurcated model with HPB400 grade steel, f c = 400 MPa, E = 2 × 105 MPa, and the parameters can be inputted into Midas Nonlinear Materials Module to complete the definition of the steel structure. The loads considered in the modeling include structural deadweight, prestressing load, hanging basket load used in the cantilever casting during the main girder construction stage, wet weight of concrete before demolding when the cantilever casting is not completed, and counterweight during closing, etc. The loads in the second stage are simulated by uniform loads.
K s = a b 1 m z
where: a—Thickness of the soil; b1—Calculated width of the pile; m—depth of the soil layer; z—distance of the midpoint of each soil layer from the ground.
Two bridge models were developed through Midas/Civil 2021, a pier bottom consolidation model without consideration of pile-soil structure interaction in Figure 4a and a model with consideration of pile-soil structure interaction in Figure 4b. The model in Figure 4c was modeled using OpenSees, which is only used in this thesis to verify the accuracy of the Midas Civil modeling and is not used in the analyses below.

2.3. Dynamic Characterization

The modal analysis of the finite element model of the high-pier large-span continuous rigid bridge was carried out, and the first 10 orders of the self-oscillation period, frequency, and corresponding vibration pattern of the constructed model are shown in Table 1. Dynamic Characteristics. The first-order vibration mode was the longitudinal horizontal vibration, the second order was the transverse horizontal vibration, the third order was the main beam transverse torsion + abutment transverse vibration, and the fourth order was the main beam vertical vibration + abutment longitudinal vibration. The first two orders are shown in Figure 5. Comparing the pile–soil role of the model to the pier consolidation model structure, the former was more flexible, the self-oscillation cycle was larger, the first five main modes of the self-oscillation cycle were larger, and the structure of the low-frequency component was higher; hence, the Bayou Rouge River Bridge belongs to a typical long-period structure. Comparing the pile–soil role of the Midas and OpenSees models, we found that the self-oscillation cycle’s relative error was 5% or less. At the same time, the calculation results of the dynamic characteristics of the high-pier large-span continuous bridge, the initial design, and previous similar bridges [15,16] were generally consistent with the calculation results, which proves the accuracy of the finite element model.

3. Extraction of the Ground Vibration Components

3.1. Ground Motion Selection

For the analysis, this work selected six long-period waves and three ordinary seismic waves based on the relevant literature [17]. The basic information of the seismic waves in the time domain is shown in Table 2. The ground shaking time course curves are shown in Figure 6. The common points of the three far-field long-period seismic waves are a large magnitude, a long duration, and a small acceleration peak, which are obvious in comparison with the ordinary ground shaking. As shown in Table 2, there was a large difference between the PGV/PGA indexes of the ordinary and long-period ground shaking. Hence, the PGV/PGA can be used as one of the indexes to differentiate between long-period and ordinary ground shaking.

3.2. Spectral Characterization of Ground Motion

The time-range curve of the ground shaking is shown in Figure 7, the largest difference between the long-period and ordinary seismic waves was the acceleration spectral amplitude of the distribution of the range. The long-period seismic wave spectral amplitude was mainly distributed in the 0~8 s band, while the ordinary seismic wave was mainly distributed in the 0~2 s band. The long-period component of the acceleration response spectrum of long-period seismic waves was obviously larger than that of ordinary seismic waves, and ILA056, TCU006, etc., extended to the long-period part. The spectral values of the ordinary seismic waves were mainly in the range of 0~2 s, and the spectral values decreased very quickly after the superior cycle; after 2 s, the spectral value level dropped to under 10% of the peak value. The long-period seismic waves were different; the spectral value distribution range was wider. After 3 s, the spectral value was still very large, especially for the far-field vibration; ILA056 arrived at 6 s, and the spectral value was still more than 80% of the peak value. The TCU068 wave arrived after 3 s, and although the spectral value was not very large, it was still larger than that of ordinary seismic waves. The long-period components of the selected long-period seismic waves were abundant. The acceleration spectral values of the long-period section of the far-field seismic wave were obviously larger than those of the near-fault seismic wave, and multiple spectral acceleration peaks appeared in the far-field wave, which indicates that the far-field seismic wave attenuated more slowly, and the influence on the long-period structure was more complicated.

3.3. Comparison of EMD and MEEMD Based Long Period Component Extraction

The HHT is a time–frequency domain analysis method for non-stationary signals [18,19,20]. Compared with the commonly used analog signal processing methods, it is completely free from the constraints of linearity and smoothness, completely adaptive, and not subject to Heisenberg’s uncertainty principle. The HHT transform is divided into two steps: first, the signal is subjected to Empirical Mode Decomposition (EMD); then, the decomposed intrinsic mode function is subjected to Hilbert Spectral Analysis (HSA). The EMD decomposition process adopts the “sieve” algorithm, which is mainly divided into three steps:
Step 1. Determine all the local extreme points of the ground vibration signal x(t) and connect all the locally very large and very small values with a cubic spline to form the upper envelope x m a x t and the lower envelope x m i n t , respectively.
Step 2. Find the mean value of the upper and lower envelopes, denoted as m 11 ( t ) , and subtract this mean value from the original ground vibration time-range curve x(t) to obtain the new data series h 11 t .
m 11 t = x m a x t + x m i n t / 2
h 11 t = x t m 11 ( t )
Determine whether h 11 t contains the two conditions of IMF; if not, repeat the above process with h 11 t as the original data until the new data sequence is obtained.
h 1 k t = h 1 k 1 t m 1 k ( t )
The satisfies the two conditions of the IMF, which gives the first IMF component c 1 t :
c 1 t = h 1 k ( t )
Step 3. Remove c 1 t from the in-situ vibration x(t) to obtain the remaining sequence r 1 t .
r 1 t = x t c 1 ( t )
Take this as the new signal sequence, and follow the above steps to obtain the second, third, ..., up to the nth intrinsic mode function; the EMD decomposition is finished when the residual is a monotonous function of time or is less than a certain predetermined value. The original ground vibration time profile can be expressed as the sum of the IMF components and the final residuals, i.e.,
x t = j = 1 n c j t + r n ( t )
HSA is performed for each IMF component to obtain the corresponding Hilbert spectrum, which is summed to obtain the Hilbert spectrum of the original signal H ω , t .
H ω , t = R e j = 1 n a j t e i ω t t d t
Although EMD methods have been widely used in various fields, there are some drawbacks, one of which is mode aliasing. Modal aliasing refers to time scales with similar characteristics between IMFs. Mode aliasing tends to cause confusion in the time–frequency distribution. In order to eliminate the mode aliasing in the EMD, Wu et al. [21] proposed an integrated empirical mode decomposition (EEMD) method by introducing white noise into the original signal. Different white noises are added to the original signal for decomposition, and the final IMF components are obtained by averaging the results of multiple decompositions. Yeh et al. [22] proposed a complementary coefficient-integrated empirical modal decomposition (CEEMD) to solve the problem of the poor completeness of the EEMD. This method adds two opposite white noise signals to the original signal and then averages the decomposition results overall to eliminate the effect of white noise. The CEEMD can reduce the reconstruction error caused by white noise, while ensuring that the decomposition effect is equivalent to the EEMD. However, the disadvantages of these two methods are that they are computationally intensive, and if the amplitude of the added white noise and the number of iterations are not appropriate, they will drown out the original real signal, and more pseudo-components will appear in the decomposition. At the same time, there is no guarantee that the decomposed components satisfy the two conditions of IMF components. In order to compensate for the shortcomings of the above decomposition methods, the Modified Systematic Empirical Modal Decomposition (MEEMD) proposes the replacement entropy (PE) [23] method, which eliminates the pseudo-components in the signals and screens out the single-frequency components. In the following section, the two component extraction methods, EMD and MEEMD, are studied and compared.

3.3.1. Extraction and Reconstruction of Long-Period Ground Vibration Components

In the following, we study three long-period ground shocks, ILA056, TCU068, and CHY025, and take TCU068 as an example to be decomposed by the two methods, EMD and MEEMD, respectively. As shown in Figure 8, ten IMF components and one residual component were obtained after EMD decomposition; eleven IMF components and one residual component were obtained after MEEMD decomposition, and as the decomposition proceeded, the frequency of the obtained components also gradually decreased. According to Equation (9) [24], the IMF components and residual components of the three long-period seismic waves are calculated as shown in Table 3.
T r = i T i S a T i P G A 2 i S a T i P G A 2     0.05   s T i 10   s
It is shown in [11] that after Tr ≥ 2 s, the amplitude of the high-frequency part of the Fourier spectrum above 1 Hz is greatly attenuated, and the region of the velocity spectrum with a larger amplitude is distributed in the longer-period section. The components (including residual components) obtained after the decomposition of the EMD and MEEMD methods were divided by Tr = 2 s; the components with Tr < 2 s were reconstructed as short-period components (SPC), and the components with Tr ≥ 2 s were reconstructed as long-period components (LPC). The reconstructed component Tr is shown in Table 4.
However, the reconstructed components have a large baseline drift in the velocity time course and need to be baseline corrected. The baseline-corrected signal is used as the long-period component of the ground shaking. Figure 9 shows the comparison of the acceleration, velocity, and displacement of the long-period component of TCU068 before and after the baseline correction based on the MEEMD method. Figure 10 shows the time-range curves of the TCU068 long- and short-period components after the baseline correction, based on the two methods of decomposition and reconstruction. The time-range curves of component acceleration were similar in the two methods of reconstruction; however, the velocity and displacement curves were quite different.

3.3.2. Validation of the Correlation between the Long-Period Ground Shaking and the Effect of the Long-Period Components on the Structural Response

In the previous section, the extraction method of the long-period component of ground shaking was proposed based on the EMD and MEEMD; therefore, it was necessary to verify the validity of this component separation method. In this section, we describe the verification of its validity using the correlation between the components extracted from the two methods and the response characteristics of the original ground shaking to the structure. In addition, we compare the two methods. Figure 11 shows the original ground shaking time course (ORG), the long-period component (LPC), and the short-period component (SPC) of three selected ground shocks: ILA056, TCU068, and CHY025.
The three ground motions and their components act on Figure 4a, with the highest pier, No. 4, as the object of study, were used to study the displacement response under different pier heights. The displacement response of the bridge piers is shown in Figure 12, Figure 13 and Figure 14. As shown in Figure 12 and Figure 13, we used the two methods of extracting the long-period component and compared it with the original ground shocks. For the displacement of the piers from the impact of the long-period component, the moment of the maximum displacement was similar; in contrast, the short-period component and the original vibration had very different effects on the response of the structure. As shown in Figure 14, the long-period components extracted based on the two methods were close to the original vibration response of the structure; however, the LPC obtained based on the MEEMD method was closer.
Long-period ground shaking has a large impact on the deformation of high-pier large-span bridges, and it is more intuitive to see that the long-period component plays a decisive role in the impact of long-period ground shaking on these structures, which can reflect or even represent the response characteristics of long-period ground shaking in long-period structures. The reasonable validity of extracting the long-period component in ground shaking based on the two methods was verified. Meanwhile, the MEEMD method was superior to the EMD method, and the long-period component extracted by the MEEMD method was more representative of the original ground shaking.

4. Response Analysis of a High Pier Large-Span Continuous Rigid Bridge

4.1. Response Analysis of the Effects of Long Period Ground Shaking and Its Components on Bridges during Different Periods

In order to comparatively study the effects of the components of different period structures, this section describes the use of the MEEMD method to obtain the LPC and SPC of ILA056, TCU068, CHY025 and the ORG with a uniform amplitude modulation of 0.15 g, as well as two models with different periods, respectively. A long-period structure with a self-resonance period of 3.67 s was modeled as model II, as shown in Figure 3a, and a short-period structure with a self-resonance period of 1.54 s was modeled as model I. The two models differed only in the self-resonance period.
Figure 15, Figure 16 and Figure 17 show the displacement response of different pier heights of No. 4, with the shear force and bending moment response at the bottom of the No. 4 pier for model I (the natural period was 1.54 s) under the action of the component and in situ ground shaking, respectively. The displacement response, shear force, and bending moment response of the piers were very close to those of the piers under the action of the ORG and SPC shown in the figure; the seismic response of the structure under the action of the LPC had a certain gap with that of the SPC and the ORG. As shown in Table 4, the Tr of ILA056 and CHY025SPC was close to the self-resonance period of Model I, while the Tr of TCU068SPC had a large difference; so, the SPC in the long-period ground shaking was prone to resonate with the short-period structure.
Figure 18, Figure 19 and Figure 20 show the displacement response of pier No. 4 at different heights, with the shear force and bending moment response at the bottom of the No. 4 pier under the action of the component and original ground vibration of model II (the natural period is 3.67 s), respectively. Under the action of the ORG and LPC, the displacement response of the piers, the shear force, and the bending moment response were much larger than the response under the SPC. As shown in Table 4, the Tr of the three ground shaking LPCs was close to the self-oscillation period of model II, and the Tr of the CHY025 LPC only differed by 0.02 s. Compared with the LPC of the other two ground shaking examples, the LPC of the CHY025 produced a larger response; so, the LPC of the long-period ground shaking was prone to resonate with the long-period structure.

4.2. Comparison of the Bridge Response under Long-Period and Normal Ground Shaking Effects

The following describes the comparative study of the response results obtained by the ordinary and long-period ground shaking on the model considering the pile–soil action shown in Figure 3b; the axial force, bending moment, and shear force response of the control section at the bottom of the No. 1–6 piers are shown in Figure 21, Figure 22 and Figure 23, and the results of the displacement response at the top of the No. 1–6 piers are shown in Table 5, Table 6 and Table 7, The response of the internal force under the action of long-period ground shaking was much larger than that under the action of ordinary ground shaking, as shown in Figure 21, Figure 22 and Figure 23, and the maximum internal force was generated at the bottom of pier No. 5. As shown in Table 5, Table 6 and Table 7, the displacement response of the pier top under the action of the far-field long-period ground vibration was much larger than that under the action of ordinary and near-field long-period ground vibration.
As shown in Figure 21a, Figure 22a and Figure 23a, the internal force response of San was the largest during the three ordinary ground shocks. As shown in Figure 21b, Figure 22b and Figure 23b, the internal force response of ILA048 was the largest during the three far-field long-period ground shocks. As shown in Figure 21c, Figure 22c and Figure 23c, the internal force response of CHY025 was the largest during the three near-field long-passage ground shocks. The internal force response of CHY025 was the largest among the three near-field long-period earthquakes. The far-field long-period ground vibration of ILA048 on the No. 5 pier bottom produced the maximum axial force response of 36,104.04 kN which was 10.37 times that of the ordinary ground vibration of San and 1.48 times that of the near-field long-period ground vibration of CHY025. For the No. 5 pier bottom, ILA048 produced the maximum shear force response of 16,388 kN, which was 4.71 times the ordinary ground vibration of San, 4.71 times the near-field long-period ground vibration of San, and 1.44 times the near-field long-period ground vibration of CHY025. In addition, for the No. 5 pier bottom, ILA048 generated the maximum bending moment response of 584,508 kN·m, which was 4.73 times the ordinary ground vibration of San and 5.69 times the near-field long-period ground vibration of CHY025.
Table 5, Table 6 and Table 7 show the three types of ground vibration under the action of the maximum displacement generated at the top of the No. 6 pier. The far-field long-period ground vibration of ILA048 generated the maximum displacement response of 1.55 m at the bottom of the No. 6 pier, which was 4.66 times the ordinary ground vibration of San and 1.63 times the near-field long-period ground vibration of CHY025.

5. Conclusions

Taking Renwan Ruhe Special Bridge as the engineering focus, the following aspects were investigated: the characteristics of the long-period ground shaking and its components based on two component separation methods; the correlation of the displacement response of the structure under the action of long-period ground shaking and its components; the response characteristics of the ground shaking components for different periods of the structure based on the MEEMD; and the analysis of the characteristics of the internal force response under the action of ordinary and long-period ground shaking. The conclusions can be summarized as follows:
  • By Comparing the two long-period component decomposition methods, EMD and MEEMD, it was found that the component acceleration time-range curves after the reconstruction of the two methods were similar; however, there was a large difference between the velocity time-range curves and the displacement time-range curves. The validity of the two component separation methods was verified by the response correlation acting on the bridge, and the comparison revealed that the MEEMD better separated the low-frequency components and more accurately reflected the long-period characteristics of the ground shaking. The MEEMD is a good choice for demonstrating the low-frequency components of long-period ground shaking.
  • From the seismic responses of the two different natural period structures, it was observed that the short-period structures were more sensitive to the short-period component of the ground shaking and were prone to resonance-like effects, while they were less sensitive to the long-period component. Similarly, the long-period structures were more sensitive to the long-period component of ground shaking, while they had a similar “filtering” effect on the short-period seismic component, which made the seismic response of long-period structures more obvious. The seismic response of the structure had a high correlation with the self-oscillation period and seismic spectral characteristics of the structure; hence, the seismic analysis of long-period bridge structures should pay special attention to the action of long-period earthquakes.
  • Compared with ordinary ground shaking, the response of the structure to long-period ground shaking had a more obvious amplification effect; in the two kinds of long-period ground shaking, the structural displacement caused by the far-field long-period ground shaking had a higher internal force response than that caused by the near-field long-period ground shaking.
In this paper, it is verified that the effectiveness of the long period component extraction method based on the MEEMD method is better than the EMD method, and the long period component extracted by MEEMD can reflect the original long period ground vibration to a certain extent, which provides a direction and basis for us to further study the long period ground vibration, and we can define the long period ground vibration by investigating the spectral characteristics, time-holding characteristics, peak characteristics, and energy characteristics of long period component; however, this paper only reflects the amplification effect of the long period component from the high pier large span structure, which has limitations in the selection of structural forms; the paper only considers the average period of the ground vibration component response spectrum. However, this article only reflects the amplification effect of the long-period component from the high pier and large span structure, which has limitations in the selection of structural form; the average period of the response spectrum of the ground vibration component, Tr, is only considered as a spectral parameter indicator in the paper, which shows that the self-oscillation period of the structure is correlated with the spectral characteristics of the ground vibration, and the parameter indicators have some limitations in the selection of the parameter indicators. In the subsequent study, we can consider comparing the response amplification characteristics of the long period component and its original seismic motion for different structural forms and consider other spectral parameters of the long period component.

Author Contributions

Conceptualization, J.J. (Jingwei Jia) and C.L.; methodology, C.L. and J.J. (Jingwei Jia); software, C.L.; validation, C.L., J.J. (Jingwei Jia) and J.J. (Jie Jia); data curation, C.L.; writing—original draft preparation, C.L.; writing—review and editing, J.J. (Jingwei Jia) and J.J. (Jie Jia); supervision, J.J. (Jingwei Jia) and J.J. (Jie Jia). All authors have read and agreed to the published version of the manuscript.

Funding

This research received no external funding.

Institutional Review Board Statement

Not applicable.

Informed Consent Statement

Not applicable.

Data Availability Statement

The data used to support the findings of this study are available from the authors upon request.

Conflicts of Interest

The authors declare no conflicts of interest.

References

  1. Fajfar, P.; Vidic, T.; Fischinger, M. A measure of earthquake motion capacity to damage medium-period structures. Soil Dyn. Earthq. Eng. 1990, 9, 236–242. [Google Scholar] [CrossRef]
  2. Koketsu, K.; Miyake, M. A seismological overview of long-period ground motion. J. Seismol. 2008, 12, 133–143. [Google Scholar] [CrossRef]
  3. Zong, Z.; Xia, J.; Xu, C. Seismic study of high piers of large-span bridges: An overview and research development. J. Southeast Univ. (Nat. Sci. Ed.) 2013, 43, 445–452. [Google Scholar]
  4. Wang, J.L.; He, S.H. Design of high piers and their stability for long-span rigid frame bridges. J. Chang. Univ. (Nat. Sci. Ed.) 2006, 26, 35–39. [Google Scholar]
  5. Jiang, H.E.; Wang, Y. Study on the Multistage Seismic Response of Long-span Bridge Structures. China Earthq. Eng. J. 2018, 40, 26–31. [Google Scholar]
  6. Hanks, T.C. Strong ground motion of the San Fernando, California, earthquake: Ground displacements. Bull. Seismol. Soc. Am. 1975, 65, 193–225. [Google Scholar] [CrossRef]
  7. Beck, J.L.; Hall, J.F. Factors contributing to the catastrophe in Mexico City during the earthquake of September 19, 1985. Geophys. Res. Lett. 1986, 13, 593–596. [Google Scholar] [CrossRef]
  8. Li, C.; Zhang, Y.; Zhao, J.B.; Tang, H. Long-period ground motion characteristic of the 1999 Jiji (Chi-Chi), Taiwan, mainshock and aftershocks. Acta Seismol. Sin. 2006, 19, 448–460. [Google Scholar] [CrossRef]
  9. Yang, D.; Wang, W. Nonlocal period parameters of frequency content characterization for near-fault ground motions. Earthq. Eng. Struct. Dyn. 2012, 41, 1793–1811. [Google Scholar] [CrossRef]
  10. Li, X.H.; Wang, W.K.; Wu, D. Characterization and definition of long-period ground shaking. J. Vib. Eng. 2014, 27, 685–692. (In Chinese) [Google Scholar]
  11. Li, Y.M.; Zhao, C.X.; Tan, Q. Long-period ground shaking definition method based on HHT ground shaking component separation. Vib. Shock 2018, 37, 164–171+219. [Google Scholar]
  12. Liu, C.Q.; Fang, D.J. Separation of long-period components of ground motion and its impact on seismic response of long-period diagrid structures. Soil Dyn. Earthq. Eng. 2021, 10, 150. [Google Scholar] [CrossRef]
  13. Shao, Y.; Bai, Y.; Jiang, L. Based on the EMD with the ground motion elastic spectrum to research the method to definite the long-period ground motion. World Earthq. Eng. 2017, 33, 95–104. [Google Scholar]
  14. Wang, Y.; Tang, G.; Liu, H.; Wang, F.; Chen, Y. Response analysis of long-period seismic action in far field to long-span continuous beam bridge with isolated high piers. E3S Web Conf. EDP Sci. 2021, 276, 02030. [Google Scholar] [CrossRef]
  15. Shi, Y.; Li, J. Internal force state of large-span high-pier continuous rigid-frame bridges and its effect on seismic response. J. Transp. Eng. 2022, 22, 70–81. (In Chinese) [Google Scholar]
  16. Wang, J.; Carr, A.J.; Cooke, N. The response of a 344 m long bridge to non-uniform earthquake ground motions. Eng. Struct. 2009, 31, 2554–2567. [Google Scholar] [CrossRef]
  17. Han, X.; Xie, C.; Jing, J.; Xiao, X.; Luo, Y. Ground motion selection for elasto-plastic time-history analysis of long-period structure. China Civ. Eng. J. 2016, 49, 46–50. [Google Scholar]
  18. Huang, N.E.; Shen, Z.; Long, S.R. The mechanism for frequency downshift in nonlinear wave evolution. Adv. Appl. Mech. 1996, 32, 59–117C. [Google Scholar]
  19. Huang, N.E.; Shen, Z.; Long, S.R. The empirical mode decomposition and the Hilbert spectrum for nonlinear and non-stationary time series analysis. Proc. R. Soc. London. Ser. A Math. Phys. Eng. Sci. 1998, 454, 903–995. [Google Scholar] [CrossRef]
  20. Huang, N.E.; Shen, Z.; Long, S.R. A new view of nonlinear water waves: The Hilbert spectrum. Annu. Rev. Fluid Mech. 1999, 31, 417–457. [Google Scholar] [CrossRef]
  21. Wu, Z.; Huang, N.E. Ensemble empirical mode decomposition: A noise-assisted data analysis method. Adv. Adapt. Data Anal. 2009, 1, 1–41. [Google Scholar] [CrossRef]
  22. Yeh, J.R.; Shieh, J.S.; Huang, N.E. Complementary ensemble empirical mode decomposition: A novel noise enhanced data analysis method. Adv. Adapt. Data Anal. 2010, 2, 135–156. [Google Scholar] [CrossRef]
  23. Bandt, C.; Pompe, B. Permutation entropy: A natural complexity measure for time series. Phys. Rev. Lett. 2002, 88, 174102. [Google Scholar] [CrossRef] [PubMed]
  24. Rathje, E.M.; Faraj, F.; Russell, S.; Bray, J.D. Empirical relationships for frequency content parameters of earthquake ground motions. Earthq. Spectra 2004, 20, 119–144. [Google Scholar] [CrossRef]
Figure 1. Construction phase of Renwan Ruhe Bridge.
Figure 1. Construction phase of Renwan Ruhe Bridge.
Applsci 14 04680 g001
Figure 2. General arrangement of the bridge.
Figure 2. General arrangement of the bridge.
Applsci 14 04680 g002
Figure 3. Cross-sections of the main girder (cm): (a) Cross-section at the top of the pier; (b) Cross- section at mid-span.
Figure 3. Cross-sections of the main girder (cm): (a) Cross-section at the top of the pier; (b) Cross- section at mid-span.
Applsci 14 04680 g003
Figure 4. Numerical sections: (a) pier-bottom consolidation model; (b) pile-soil interaction model; (c) pile-soil interaction model (OpenSees).
Figure 4. Numerical sections: (a) pier-bottom consolidation model; (b) pile-soil interaction model; (c) pile-soil interaction model (OpenSees).
Applsci 14 04680 g004aApplsci 14 04680 g004b
Figure 5. Bridge vibration patterns: (a) first-order vibration pattern (Model (a)); (b) second-order vibration pattern (Model (a)); (c) first-order vibration pattern (Model (b)); (d) second-order vibration pattern (Model (b)).
Figure 5. Bridge vibration patterns: (a) first-order vibration pattern (Model (a)); (b) second-order vibration pattern (Model (a)); (c) first-order vibration pattern (Model (b)); (d) second-order vibration pattern (Model (b)).
Applsci 14 04680 g005
Figure 6. Ground motion time-range curves: (a) San Fernando; (b) Managua01; (c) Taft; (d) ILA048; (e) ILA056; (f) TCU006; (g) TCU068; (h) TCU052; (i) CHY025.
Figure 6. Ground motion time-range curves: (a) San Fernando; (b) Managua01; (c) Taft; (d) ILA048; (e) ILA056; (f) TCU006; (g) TCU068; (h) TCU052; (i) CHY025.
Applsci 14 04680 g006
Figure 7. Ground motion acceleration response spectra: (a) ordinary ground shaking acceleration response spectra; (b) far-field long-period ground shaking acceleration response spectra; (c) near-field long-period ground shaking acceleration response spectra.
Figure 7. Ground motion acceleration response spectra: (a) ordinary ground shaking acceleration response spectra; (b) far-field long-period ground shaking acceleration response spectra; (c) near-field long-period ground shaking acceleration response spectra.
Applsci 14 04680 g007
Figure 8. Decomposition of TCU068: (a) EMD method; (b) MEEMD method.
Figure 8. Decomposition of TCU068: (a) EMD method; (b) MEEMD method.
Applsci 14 04680 g008
Figure 9. Comparison of the long-period component before and after basis correction: (a) Acceleration time course (TCU068LPC); (b) Velocity time course (TCU068LPC); (c) Displacement time course (TCU068LPC).
Figure 9. Comparison of the long-period component before and after basis correction: (a) Acceleration time course (TCU068LPC); (b) Velocity time course (TCU068LPC); (c) Displacement time course (TCU068LPC).
Applsci 14 04680 g009
Figure 10. Component time curve of TCU068: (a) acceleration (LPC); (b) acceleration (SPC); (c) velocity (LPC); (d) velocity (SPC); (e) displacement (LPC); (f) displacement (SPC).
Figure 10. Component time curve of TCU068: (a) acceleration (LPC); (b) acceleration (SPC); (c) velocity (LPC); (d) velocity (SPC); (e) displacement (LPC); (f) displacement (SPC).
Applsci 14 04680 g010
Figure 11. Time-range curves of acceleration components of three long-period ground shocks: (a) ILA056(ORG); (b) CU068(LPC); (c) ILA056(SPC); (d) TCU068 (ORG); (e) TCU068 (LPC); (f) TCU068(SPC); (g) CHY025(ORG); (h) CHY025 (LPC); (i) CHY025 (SPC).
Figure 11. Time-range curves of acceleration components of three long-period ground shocks: (a) ILA056(ORG); (b) CU068(LPC); (c) ILA056(SPC); (d) TCU068 (ORG); (e) TCU068 (LPC); (f) TCU068(SPC); (g) CHY025(ORG); (h) CHY025 (LPC); (i) CHY025 (SPC).
Applsci 14 04680 g011
Figure 12. Displacement response of pier No. 4 with different pier heights (EMD): (a) ILA056; (b) TCU068; (c) CHY025.
Figure 12. Displacement response of pier No. 4 with different pier heights (EMD): (a) ILA056; (b) TCU068; (c) CHY025.
Applsci 14 04680 g012
Figure 13. Displacement response of pier No. 4 with different pier heights (MEEMD): (a) ILA056; (b) TCU068; (c) CHY025.
Figure 13. Displacement response of pier No. 4 with different pier heights (MEEMD): (a) ILA056; (b) TCU068; (c) CHY025.
Applsci 14 04680 g013
Figure 14. Displacement response of pier No. 4 with different pier heights (EMD and MEEMD): (a) ILA056; (b) TCU068; (c) CHY025.
Figure 14. Displacement response of pier No. 4 with different pier heights (EMD and MEEMD): (a) ILA056; (b) TCU068; (c) CHY025.
Applsci 14 04680 g014
Figure 15. The No. 4 pier’s displacement response in model I under original ground vibration and its components: (a) ILA056; (b) TCU068; (c) CHY025.
Figure 15. The No. 4 pier’s displacement response in model I under original ground vibration and its components: (a) ILA056; (b) TCU068; (c) CHY025.
Applsci 14 04680 g015
Figure 16. Shear response at the bottom of the No. 4 pier in model I under original ground vibration and its components: (a) ILA056; (b) TCU068; (c) CHY025.
Figure 16. Shear response at the bottom of the No. 4 pier in model I under original ground vibration and its components: (a) ILA056; (b) TCU068; (c) CHY025.
Applsci 14 04680 g016
Figure 17. Bending moment response at the bottom of the No. 4 pier in model I under original ground vibration and its components: (a) ILA056; (b) TCU068; (c) CHY025.
Figure 17. Bending moment response at the bottom of the No. 4 pier in model I under original ground vibration and its components: (a) ILA056; (b) TCU068; (c) CHY025.
Applsci 14 04680 g017
Figure 18. The No. 4 pier’s displacement response in model II under original ground vibration and its components: (a) ILA056; (b) TCU068; (c) CHY025.
Figure 18. The No. 4 pier’s displacement response in model II under original ground vibration and its components: (a) ILA056; (b) TCU068; (c) CHY025.
Applsci 14 04680 g018
Figure 19. Shear response at the bottom of the No. 4 in model II under original ground vibration and its components: (a) ILA056; (b) TCU068; (c) CHY025.
Figure 19. Shear response at the bottom of the No. 4 in model II under original ground vibration and its components: (a) ILA056; (b) TCU068; (c) CHY025.
Applsci 14 04680 g019
Figure 20. Bending moment response at the bottom of the No. 4 in model II under original ground vibration and its components: (a) ILA056; (b) TCU068; (c) CHY025.
Figure 20. Bending moment response at the bottom of the No. 4 in model II under original ground vibration and its components: (a) ILA056; (b) TCU068; (c) CHY025.
Applsci 14 04680 g020
Figure 21. Axial force at the base of the Nos. 1–6 piers: (a) ordinary ground shaking; (b) far-field long-period ground shaking in the far field; (c) near-field long-period ground shaking.
Figure 21. Axial force at the base of the Nos. 1–6 piers: (a) ordinary ground shaking; (b) far-field long-period ground shaking in the far field; (c) near-field long-period ground shaking.
Applsci 14 04680 g021
Figure 22. Shear force at the base of the Nos. 1–6 piers: (a) ordinary ground shaking; (b) far-field long-period ground shaking in the far field; (c) near-field long-period ground shaking.
Figure 22. Shear force at the base of the Nos. 1–6 piers: (a) ordinary ground shaking; (b) far-field long-period ground shaking in the far field; (c) near-field long-period ground shaking.
Applsci 14 04680 g022
Figure 23. Bending moment at the base of the Nos. 1–6 piers: (a) ordinary ground shaking; (b) far-field long-period ground shaking in the far field; (c) near-field long-period ground shaking.
Figure 23. Bending moment at the base of the Nos. 1–6 piers: (a) ordinary ground shaking; (b) far-field long-period ground shaking in the far field; (c) near-field long-period ground shaking.
Applsci 14 04680 g023
Table 1. Dynamic Characteristics.
Table 1. Dynamic Characteristics.
NumberPier Bottom Consolidation ModelPile-Soil Interaction Model
(a)(b)(c)Relative Error (%)
13.6763.8723.8650.18
22.823.0122.9761.2
32.4312.5982.5730.96
42.022.1322.063.38
51.5371.5981.5652.06
Table 2. Ground Motion Selection.
Table 2. Ground Motion Selection.
Type of Ground MotionSerial NumberGround MotionPGV/PGA
Ordinary ground shakingNo. 1San Fernando0.095
No. 2Managua-010.082
No. 3Taft0.073
Far-field long-period ground shaking No. 4ILA0480.33
No. 5ILA0560.48
No. 6TCU0060.24
Near-field long-period ground shakingNo. 7TCU0680.141
No. 8TCU0520.088
No. 9CHY0250.321
Table 3. The parameters of each IMF component Tr (s).
Table 3. The parameters of each IMF component Tr (s).
Ground MotionTr/sIMF1IMF2IMF3IMF4IMF5IMF6IMF7IMF8IMF9IMF10IMF11
ILA056EMD1.1261.0041.3262.0225.1696.2157.115.955.1685.124-
MEEMD0.9661.5192.3385.2337.4276.4075.115----
TCU068EMD0.2820.5360.4320.8311.542.4054.187.4457.0585.08-
MEEMD0.4150.4920.8172.6473.197.3216.887.5195.3835.395.45
CHY025EMD0.2710.50.7621.313.1014.015.2686.9017.6985.295.109
MEEMD0.5571.391.702.2564.0996.7117.8566.2245.126--
Table 4. MEEMD-based separation of the reconstructed Tr.
Table 4. MEEMD-based separation of the reconstructed Tr.
Ground MotionComponentTr (s)
ILA056SPC1.31
LPC4.79
TCU068SPC0.703
LPC3.283
CHY025SPC1.215
LPC3.68
Table 5. Displacement of the bottom of the Nos. 1–6 piers under ordinary ground shaking (m).
Table 5. Displacement of the bottom of the Nos. 1–6 piers under ordinary ground shaking (m).
Pier NumberTaftSanMan
1−0.037610.30474−0.03717
2−0.037880.30407−0.03744
3−0.038590.30503−0.03814
4−0.039340.30585−0.03888
5−0.039700.30337−0.03923
6−0.041360.30805−0.04088
Table 6. Displacement of the bottom of the Nos. 1–6 piers under far-field long-period ground shaking (m).
Table 6. Displacement of the bottom of the Nos. 1–6 piers under far-field long-period ground shaking (m).
Pier NumberILA048ILA056TCU006
1−1.42952 −1.36661 0.55033
2−1.42647 −1.36357 0.54900
3−1.43088 −1.36773 0.55043
4−1.43495 −1.37151 0.55180
5−1.42358 −1.36063 0.54717
6−1.44559 −1.38152 0.55519
Table 7. Displacement of the bottom of the Nos. 1–6 piers under near-field long-period ground shaking (m).
Table 7. Displacement of the bottom of the Nos. 1–6 piers under near-field long-period ground shaking (m).
Pier NumberTCU068TCU052CHY025
1−0.0047960.04027−0.87333
2−0.0100310.03907−0.87185
3−0.0125380.03783−0.87502
4−0.0127410.03819−0.87837
5−0.0095790.03813−0.87177
6−0.0037190.03968−0.88678
Disclaimer/Publisher’s Note: The statements, opinions and data contained in all publications are solely those of the individual author(s) and contributor(s) and not of MDPI and/or the editor(s). MDPI and/or the editor(s) disclaim responsibility for any injury to people or property resulting from any ideas, methods, instructions or products referred to in the content.

Share and Cite

MDPI and ACS Style

Li, C.; Jia, J.; Jia, J. MEEMD-Based Ground Vibration Component Extraction and Response Analysis of Long Period Ground Vibration on High-Pier Large-Span Bridges. Appl. Sci. 2024, 14, 4680. https://doi.org/10.3390/app14114680

AMA Style

Li C, Jia J, Jia J. MEEMD-Based Ground Vibration Component Extraction and Response Analysis of Long Period Ground Vibration on High-Pier Large-Span Bridges. Applied Sciences. 2024; 14(11):4680. https://doi.org/10.3390/app14114680

Chicago/Turabian Style

Li, Chunyu, Jingwei Jia, and Jie Jia. 2024. "MEEMD-Based Ground Vibration Component Extraction and Response Analysis of Long Period Ground Vibration on High-Pier Large-Span Bridges" Applied Sciences 14, no. 11: 4680. https://doi.org/10.3390/app14114680

APA Style

Li, C., Jia, J., & Jia, J. (2024). MEEMD-Based Ground Vibration Component Extraction and Response Analysis of Long Period Ground Vibration on High-Pier Large-Span Bridges. Applied Sciences, 14(11), 4680. https://doi.org/10.3390/app14114680

Note that from the first issue of 2016, this journal uses article numbers instead of page numbers. See further details here.

Article Metrics

Back to TopTop