Design and Test of Automatic Feeding Device for Substrate Filling
Abstract
1. Introduction
2. Structure and Working Principle of the Whole Machine
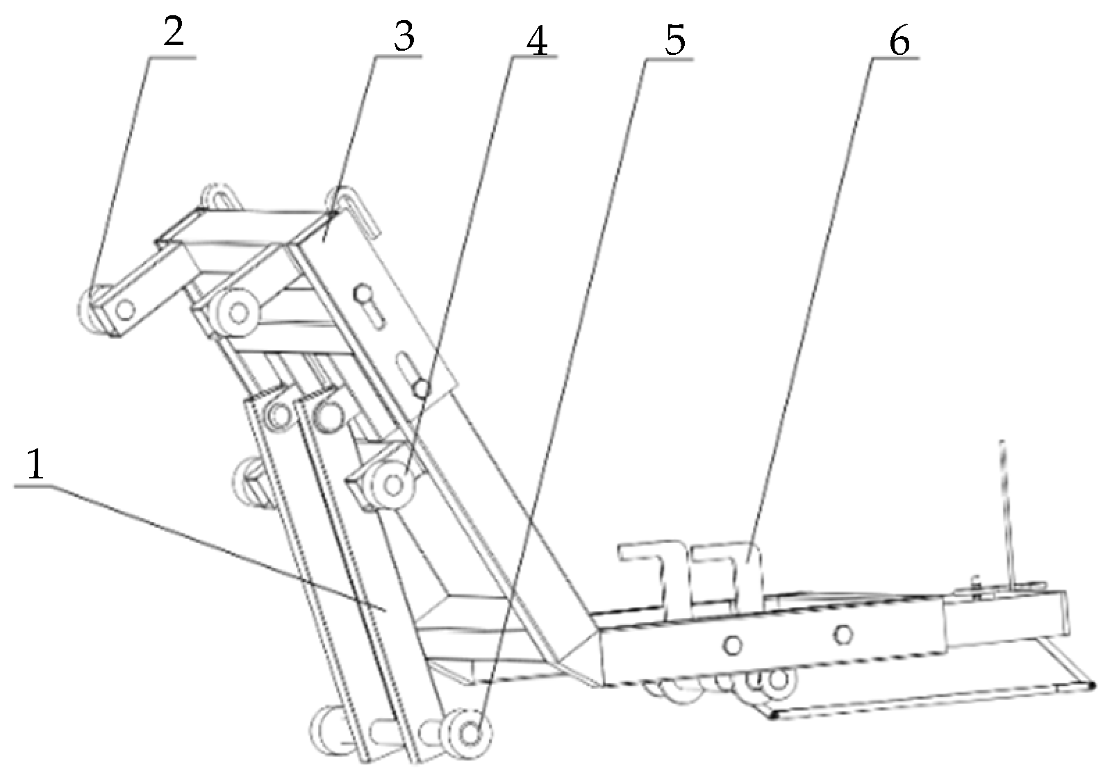
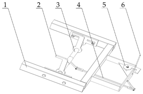
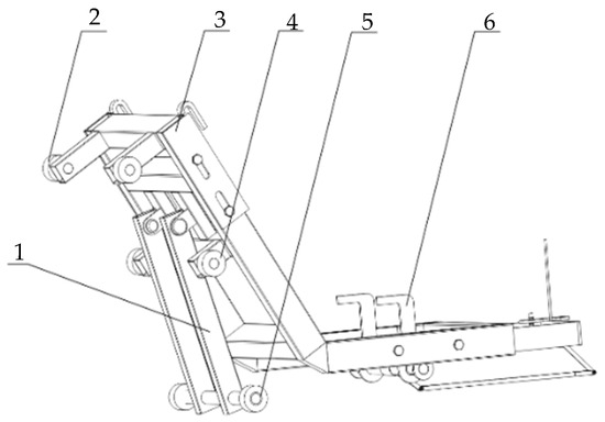
2.1. Whole Machine Structure
2.2. Operating Principle
2.3. Design of Key Components
2.3.1. Design of Overturning Frame
2.3.2. Design of Handcart Fixing Mechanism
3. Simulation Analysis of Dynamics of the Automatic Loading Device
3.1. Import and Simplification of the Model
3.2. Simulation Parameter Setting
3.3. Analysis of Simulation Results
4. Multi-Objective Optimization Based on Adams
4.1. Establishment of Multi-Objective Function
4.2. Constraint
5. Prototype Testing
6. Conclusions
Author Contributions
Funding
Institutional Review Board Statement
Informed Consent Statement
Data Availability Statement
Conflicts of Interest
References
- Shan, Y. Present situation, development trend and countermeasures of citrus industry in China. J. Chin. Inst. Food Sci. Technol. 2008, 8, 1–8. [Google Scholar]
- Guo, W.Y.; Ye, J.L.; Deng, X.X. Fruit scientific research in New China in the past 70 years: Citrus. J. Fruit Sci. 2019, 36, 1264–1272. [Google Scholar]
- Xu, Q.C.; Li, S.J.; Zhang, Y.L.; Meng, L.; Lu, H.A.; Xie, L. Design and test of seedling pot filling and transporting machine for citrus. Trans. Chin. Soc. Agric. Eng. 2020, 36, 66–72. [Google Scholar]
- Prabha, R.D.; Mahindru, S.; Srivastava, A.; Nilalohita, P. Autonomous Garbage Collector-Robodumpster. Int. J. Civ. Eng. Technol. 2018, 9, 545–552. [Google Scholar]
- Wang, L. Intelligent Control Method for Large Environmental Garbage Disposal Robot. Ekol. Derg. 2019, 28, 913–917. [Google Scholar]
- Gu, S.; Yang, Y.L.; Zhang, Y.F. Development status of automated equipment systems for greenhouse potted flowers production in Netherlands. Trans. Chin. Soc. Agric. Eng. 2012, 28, 1–8. [Google Scholar]
- Meerburg, B.G.; Korevaar, H.; Haubenhofer, D.K.; Blom-Zandstra, M.; Van Keulen, H. The changing role of agriculture in Dutch society. J. Agric. Sci. 2009, 147, 511–521. [Google Scholar] [CrossRef]
- Paradkar, V.; Raheman, H.; Rahul, K. Development of a metering mechanism with serial robotic arm for handling paper pot seedlings in a vegetable transplanter. Artif. Intell. Agric. 2021, 5, 52–63. [Google Scholar] [CrossRef]
- Khadatkar, A.; Magar, A.P.; Sawant, C.P.; Modi, R.U. Development and testing of automatic seedling extractor in robotic transplanter using mechatronics for nursery seedlings. Discov. Appl. Sci. 2024, 6, 51. [Google Scholar] [CrossRef]
- Jia, F.G.; Han, Y.L.; Liu, Y.; Cao, Y.P.; Shi, Y.F.; Yao, L.L.; Wang, H. Simulation prediction method of repose angle for rice particle materials. Trans. Chin. Soc. Agric. Eng. 2014, 30, 254–260. [Google Scholar]
- Cai, T.; Li, J.; Luo, S.Y.; Chen, S. Design and Optimization of Folding Mechanism of Automatic Clothing Packing Machine. Light Ind. Mach. 2021, 39, 90–95. [Google Scholar]
- Li, L.; Lu, J.G. Dimension synthesis and analysis of linkage mechanism of hoisting device for side loading garbage truck. Chin. J. Const. Mach. 2019, 17, 438–443. [Google Scholar]
- Wang, S.C.; Chen, Z.Q.; Sun, Z.K.; Ma, M.H. Mechanism Analysis and Experiment for Automatic Egg Feeding Device. Trans. Chin. Soc. Agric. Mach. 2018, 49, 352–357. [Google Scholar]
- Xu, X.M.; Li, F.X.; Shen, C.P.; Li, Y.X.; Chang, D.T. Optimization Design and Experiment of Wheat Flour Equal Pitch Screw Feeding Device. Trans. Chin. Soc. Agric. Mach. 2020, 51, 150–157. [Google Scholar]
- Chikwado, U.K. Optimization and performance evaluation of poultry feed mixer. Int. J. Sci. Res. 2013, 4, 1303–1307. [Google Scholar]
- Gonzalez-Valadez, M.; Munoz-Hernandez, G.; Sanchez-Lopez, R. Design and evaluation of an extruder to convert crop residues to animal feed. Biosyst. Eng. 2008, 100, 66–78. [Google Scholar] [CrossRef]
- Yi, L.L.; Shi, H.M.; Wang, S.L.; Zhou, J.; Yang, B.; Dong, J. Structural Design and Dynamics Analysis of Spent Fuel Assembly Lifting Upender. At. Energy Sci. Technol. 2021, 55, 569–576. [Google Scholar]
- Bu, X.G.; Hou, L.; Guo, T.; Qian, Y.Y.; Lin, S.Q. Optimization Design of Backhoe Working Device Based on Generalized Reduced Gradient Algorithm. J. Xiamen Univ. Nat. Sci. 2014, 53, 368–372. [Google Scholar]
- Chen, Q.G.; Cheng, W.M.; Wang, S.B.; Wang, Y.P. Kinematic and mechanical analysis and multi-objective optimization of steering linkages for forklift truck. J. Huazhong Univ. Sci. Technol. 2017, 45, 72–76. [Google Scholar]
- Mongan, P.G.; Modi, V.; McLaughlin, J.W.; Hinchy, E.P.; O’Higgins, R.M.; O’Dowd, N.P.; McCarthy, C.T. Multi-objective optimisation of ultrasonically welded dissimilar joints through machine learning. J. Intell. Manuf. 2022, 33, 1125–1138. [Google Scholar] [CrossRef]
- Ma, J.; Wu, L.Y.; He, W.B.; Ming, W.Y.; Cao, Y. Multi-objective Collaborative Optimization Method for Mechanical Systems Based on Coupling Analysis and Weighted Satisfaction Degree. Chin. Mech. Eng. 2017, 28, 1574–1579. [Google Scholar]
- Wang, B.; Liu, Y.L. Structure optimization of electrical equipment based on genetic algorithm. Heilongjiang Electr. Power 2021, 43, 68–72. [Google Scholar]
- Wang, J.G.; Yang, L.; Zhao, D.X.; Wu, D. Optimization Design for the Dust Loading System of Refuse Truck. Mach. Tool Hydraul. 2015, 43, 21–23+26. [Google Scholar]
- Zhao, Z.F.; Qi, M.S.; Feng, J.K.; Zhang, W.; Wang, J.Y. Design and Simulation of Ornithopter based on Four-bar Mechanism. J. Mech. Trans. 2017, 41, 87–91. [Google Scholar]
- Zheng, J.T.; Tian, D.P.; Gao, Z.L. Multi-objective optimization of 6PSS parallel mechanism based on ADAMS. J. Mech. Electr. Eng. 2021, 38, 712–718+761. [Google Scholar]
- Duquesnoy, M.; Liu, C.; Dominguez, D.Z.; Kumar, V.; Ayerbe, E.; Franco, A.A. Machine learning-assisted multi-objective optimization of battery manufacturing from synthetic data generated by physics-based simulations. Energy Storage Mater. 2023, 56, 50–61. [Google Scholar] [CrossRef]
- Yarmohammadisatri, S.; Khalkhali, A.; Claudel, C. Robust design of multi-body model of steering mechanism based on uncertainties of suspension parameters. J. Braz. Soc. Mech. Sci. Eng. 2023, 45, 482. [Google Scholar] [CrossRef]
























| Track Wheel | Function |
|---|---|
| Guide wheel | Guiding, so the overturning frame can only move along the track |
| Support wheel | Supporting, so the overturning frame will not impact the chain |
| Driver wheel | Driving, so the overturning frame can move |
| Part Name | Model Name |
|---|---|
| Handcart | Handcart |
| Front track wheel 1 and 2 | Wheel 1 and 2 |
| Support wheel 1 and 2 | Wheel 3 and 4 |
| Rear track wheel 1 and 2 | Wheel 5 and 6 |
| Pushrod | Pushrod 1 and 2 |
| Overturning frame | Overturning frame |
| Rack | Rack |
| Joint Name | Type | Linking Parts | |
|---|---|---|---|
| Joint_1 | locked | ground | Rack |
| Joint_2 | revolution | Wheel 1 and 2 | Overturning frame |
| Joint_3 | revolution | Wheel 3 and 4 | Overturning frame |
| Joint_4 | revolution | Wheel 5 and 6 | Pushrod 1 and 2 |
| Joint_5 | revolution | Overturning frame | Pushrod 1 and 2 |
| Joint_6 | fixed | Overturning frame | Handcart |
| Scale Values | Meanings |
|---|---|
| 1 | In the comparison of 2 elements, they are equally important |
| 3 | In the comparison of 2 elements, the former is slightly more important than the latter |
| 5 | In the comparison of 2 elements, the former is significantly more important than the latter |
| 7 | In the comparison of 2 elements, the former is much more important than the latter |
| Variables | Initial Value | Range of Variation |
|---|---|---|
| DV_BX | 561 | (521, 581) |
| DV_AB | 35 | (10, 55) |
| DV_FX | 598 | (585, 640) |
| DV_CX | 651 | (600, 670) |
| Variable | DV_BX | DV_AB | DV_FX | DV_CX |
|---|---|---|---|---|
| Before optimization | 561 | 35 | 598 | 651 |
| After optimization | 581 | 10 | 585 | 600 |
Disclaimer/Publisher’s Note: The statements, opinions and data contained in all publications are solely those of the individual author(s) and contributor(s) and not of MDPI and/or the editor(s). MDPI and/or the editor(s) disclaim responsibility for any injury to people or property resulting from any ideas, methods, instructions or products referred to in the content. |
© 2024 by the authors. Licensee MDPI, Basel, Switzerland. This article is an open access article distributed under the terms and conditions of the Creative Commons Attribution (CC BY) license (https://creativecommons.org/licenses/by/4.0/).
Share and Cite
Pan, H.; Xu, Q.; Bao, X.; Zhou, R.; Zhang, J.; Shan, C.; Li, S. Design and Test of Automatic Feeding Device for Substrate Filling. Appl. Sci. 2024, 14, 4206. https://doi.org/10.3390/app14104206
Pan H, Xu Q, Bao X, Zhou R, Zhang J, Shan C, Li S. Design and Test of Automatic Feeding Device for Substrate Filling. Applied Sciences. 2024; 14(10):4206. https://doi.org/10.3390/app14104206
Chicago/Turabian StylePan, Haibing, Qinchao Xu, Xiulan Bao, Ran Zhou, Jian Zhang, Cheng Shan, and Shanjun Li. 2024. "Design and Test of Automatic Feeding Device for Substrate Filling" Applied Sciences 14, no. 10: 4206. https://doi.org/10.3390/app14104206
APA StylePan, H., Xu, Q., Bao, X., Zhou, R., Zhang, J., Shan, C., & Li, S. (2024). Design and Test of Automatic Feeding Device for Substrate Filling. Applied Sciences, 14(10), 4206. https://doi.org/10.3390/app14104206

