Predicting Vessel Trajectories Using ASTGCN with StemGNN-Derived Correlation Matrix
Abstract
1. Introduction
2. Related Work
2.1. Risk Collision Analysis
2.2. Trajectory Prediction
3. Vessel Data Preprocessing
3.1. Data Preprocessing
3.1.1. Removing Invalid Values
3.1.2. Outlier Detection and Cleaning
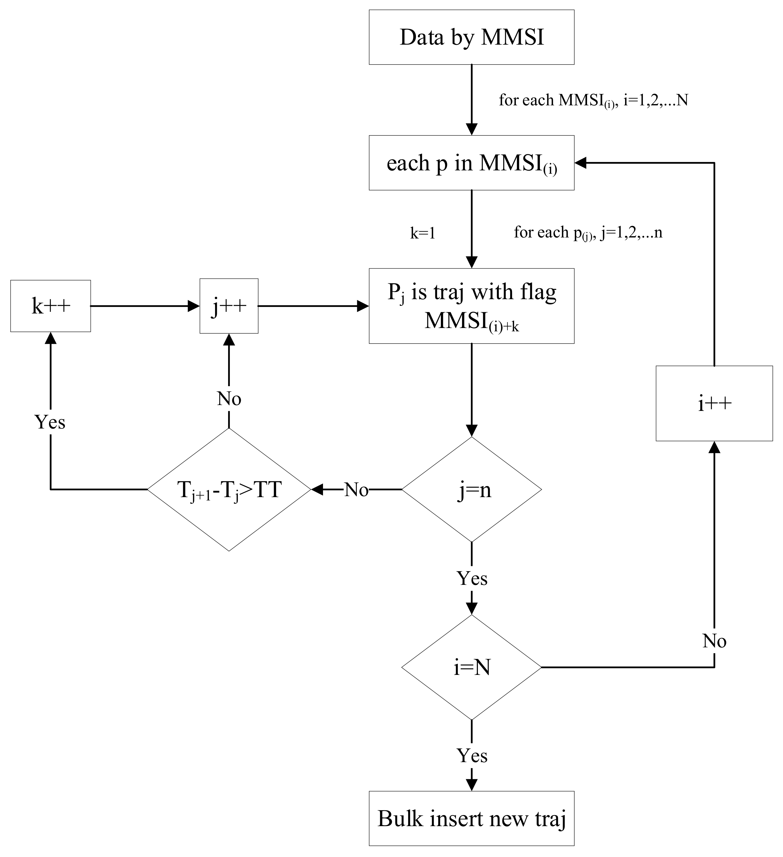
3.1.3. Trajectory Extraction
3.2. Trajectory Compression
4. Vessel Position Spatio-Temporal Prediction Model
4.1. Description of the Problem
4.2. Prediction Model
4.2.1. The Spatiotemporal Attention Mechanism
4.2.2. The Spatio-Temporal Graph Convolution
4.2.3. Determining a Priori Matrix
5. Experiment and Analysis
5.1. Experimental Data
5.2. Experimental Setup
5.3. Experimental Results Analysis
6. Conclusions
Author Contributions
Funding
Institutional Review Board Statement
Informed Consent Statement
Data Availability Statement
Conflicts of Interest
References
- Rong, H.; Teixeira, A.P.; Soares, C.G. Ship collision avoidance behaviour recognition and analysis based on AIS data. Ocean Eng. 2022, 245, 110479. [Google Scholar] [CrossRef]
- Liang, M.; Weng, L.; Gao, R.; Li, Y.; Du, L. Unsupervised maritime anomaly detection for intelligent situational awareness using AIS data. Knowl.-Based Syst. 2024, 284, 111313. [Google Scholar] [CrossRef]
- Galdelli, A.; Mancini, A.; Ferrà, C.; Tassetti, A.N. A synergic integration of AIS data and SAR imagery to monitor fisheries and detect suspicious activities. Sensors 2021, 21, 2756. [Google Scholar] [CrossRef]
- Lee, J.S.; Lee, H.T.; Cho, I.S. Maritime traffic route detection framework based on statistical density analysis from AIS data using a clustering algorithm. IEEE Access 2022, 10, 23355–23366. [Google Scholar] [CrossRef]
- Lee, H.-T.; Lee, J.-S.; Yang, H.; Cho, I.-S. An AIS Data-Driven Approach to Analyze the Pattern of Ship Trajectories in Ports Using the DBSCAN Algorithm. Appl. Sci. 2021, 11, 799. [Google Scholar] [CrossRef]
- Qian, L.; Zheng, Y.; Li, L.; Ma, Y.; Zhou, C.; Zhang, D. A New Method of Inland Water Ship Trajectory Prediction Based on Long Short-Term Memory Network Optimized by Genetic Algorithm. Appl. Sci. 2022, 12, 4073. [Google Scholar] [CrossRef]
- Guo, S.; Mou, J.; Chen, L.; Chen, P. Improved kinematic interpolation for AIS trajectory reconstruction. Ocean Eng. 2021, 234, 109256. [Google Scholar] [CrossRef]
- Li, H.; Jiao, H.; Yang, Z. Ship trajectory prediction based on machine learning and deep learning: A systematic review and methods analysis. Eng. Appl. Artif. Intell. 2023, 126, 107062. [Google Scholar] [CrossRef]
- Goerlandt, F.; Montewka, J. Maritime transportation risk analysis: Review and analysis in light of some foundational issues. Reliab. Eng. Syst. Saf. 2015, 138, 115–134. [Google Scholar] [CrossRef]
- Chen, P.; Huang, Y.; Mou, J.; van Gelder, P. Probabilistic risk analysis for ship-ship collision: State-of-the-art. Saf. Sci. 2019, 117, 108–122. [Google Scholar] [CrossRef]
- Zhang, J.; Zhang, D.; Yan, X.; Haugen, S.; Guedes Soares, C. A distributed anti-collision decision support formulation in multi-ship encounter situations under COLREGs. Ocean Eng. 2015, 105, 336–348. [Google Scholar] [CrossRef]
- Zhen, R.; Riveiro, M.; Jin, Y. A novel analytic framework of real-time multi vessel collision risk assessment for maritime traffic surveillance. Ocean Eng. 2017, 145, 492–501. [Google Scholar] [CrossRef]
- Wang, X.; Liu, Z.; Cai, Y. The ship maneuverability based collision avoidance dynamic support system in close-quarters situation. Ocean Eng. 2017, 146, 486–497. [Google Scholar] [CrossRef]
- Zheng, K.; Chen, Y.; Jiang, Y.; Qiao, S. A SVM based ship collision risk assessment algorithm. Ocean. Eng. 2020, 202, 107062. [Google Scholar] [CrossRef]
- Liu, J.; Shi, G.-Y.; Zhu, K.-G. A novel ship collision risk evaluation algorithm based on the maximum interval of two ship domains and the violation degree of two ship domains. Ocean. Eng. 2022, 255, 111431. [Google Scholar] [CrossRef]
- Sotiralis, P.; Ventikos, N.P.; Hamann, R.; Golyshev, P.; Teixeira, A.P. Incorporation of human factors into ship collision risk models focusing on human centred design aspects. Reliab. Eng. Syst. Saf. 2016, 156, 210–227. [Google Scholar] [CrossRef]
- Montewka, J.; Ehlers, S.; Goerlandt, F.; Hinz, T.; Tabri, K.; Kujala, P. A frameworkfor risk assessment for maritime transportation systems—A case study for open sea collisions involving RoPax vessels. Reliab. Eng. Syst. Saf. 2014, 124, 142–157. [Google Scholar] [CrossRef]
- Jiang, M.; Lu, J.; Yang, Z.; Li, J. Risk analysis of maritime accidents along the main route of the Maritime Silk Road: A Bayesian network approach. Marit. Policy Manag. 2020, 47, 815–832. [Google Scholar] [CrossRef]
- Inaishi, M.; Matsumura, H. Basic research on a collision avoidance system using neural networks. J. Navig. 1992, 112, 22–28. [Google Scholar]
- Feng, X. Modelling of Regional Vessel Near Collision Risk Assessment with Convolutional Neural Network. In Proceedings of the Inaugural World Transport Convention, Beijing, China, 4–6 June 2019. [Google Scholar]
- Mnih, V.; Badia, A.P.; Mirza, M.; Graves, A.; Lillicrap, T.; Harley, T.; Silver, D.; Kavukcuoglu, K. Asynchronous methods for deep reinforcement learning. In Proceedings of the International Conference on Machine Learning 2016, New York, NY, USA, 19–24 June 2016; pp. 1928–1937. [Google Scholar]
- Xie, S.; Chu, X.; Zheng, M.; Liu, C. A composite learning method for multi-ship collision avoidance based on reinforcement learning and inverse control. Neurocomputing 2020, 411, 375–392. [Google Scholar] [CrossRef]
- Zhang, R.; Wang, X.; Liu, K.; Wu, X.; Lu, T.; Chao, Z. Ship collision avoidance using constrained deep reinforcement learning. In Proceedings of the IEEE 2018 5th International Conference on Behavioral, Economic, and SocioCultural Computing (BESC), Kaohsiung, Taiwan, 12–14 November 2018; pp. 115–120. [Google Scholar]
- Ilie, B.S.; Ion, R.S.; Daniel, C.C. A Review of Deep Learning-Based Methods for Pedestrian Trajectory Prediction. Sensors 2021, 21, 7543. [Google Scholar] [CrossRef]
- Yuhao, W.; Yutian, P.; Oliver, C.; Hari, I.; Parikshit, D.; Menon, P.K.; Yongming, L. Uncertainty quantification and reduction in aircraft trajectory prediction using Bayesian-Entropy information fusion. Reliab. Eng. Syst. Saf. 2021, 212, 107650. [Google Scholar]
- Pavlovic, V.; Rehg, J.M.; Cham, T.; Murphy, K.P. A dynamic Bayesian network approach to figure tracking using learned dynamic models. In Proceedings of the Seventh IEEE International Conference on Computer Vision, Kerkyra, Greece, 20–27 September 1999; pp. 94–101. [Google Scholar]
- Sadeghian, A.; Kosaraju, V.; Sadeghian, A.; Hirose, N.; Rezatofighi, H.; Savarese, S. SoPhie: An Attentive GAN for Predicting Paths Compliant to Social and Physical Constraints. In Proceedings of the IEEE/CVF Conference on Computer Vision and Pattern Recognition (CVPR), Long Beach, CA, USA, 15–20 June 2019. [Google Scholar]
- Deng, M.; Li, S.; Jiang, X.; Li, X. Vehicle Trajectory Prediction Method Based on “Current” Statistical Model and Cubature Kalman Filter. Electronics 2023, 12, 2464. [Google Scholar] [CrossRef]
- Ladekar, A.; Mohol, B.; Gaikwad, A.; Shingade, S.; Kulkarni, A.; Naval, Y. PULM: Prediction of User’s Location using Machine Learning with Markov Model. In Proceedings of the 6th International Conference on Trends in Electronics and Informatics (ICOEI), Xiamen, China, 21–23 October 2022; pp. 1195–1199. [Google Scholar]
- Ji, R.; Liang, Y.; Xu, L.; Wei, Z. Trajectory prediction of ballistic missiles using Gaussian process error model. Chin. J. Aeronaut. 2022, 35, 458–469. [Google Scholar] [CrossRef]
- Antonios, K.; Adrian, J.; Michael, B. A Seq2Seq learning approach for modeling semantic trajectories and predicting the next location. In Proceedings of the 26th ACM SIGSPATIAL International Conference on Advances in Geographic Information Systems, Washington, DC, USA, 6–9 November 2018; pp. 528–531. [Google Scholar]
- Jiang, R.; Xu, H.; Gong, G.; Kuang, Y.; Liu, Z. Spatial-Temporal Attentive LSTM for Vehicle-Trajectory Prediction. ISPRS Int. J. Geo-Inf. 2022, 11, 354. [Google Scholar] [CrossRef]
- Wang, X.; Xiao, Y. A Deep Learning Model for Ship Trajectory Prediction Using Automatic Identification System (AIS) Data. Information 2023, 14, 212. [Google Scholar] [CrossRef]
- Yu, B.; Yin, H.; Zhu, Z. Spatio-temporal graph convolutional networks: A deep learning framework for traffic forecasting. In Proceedings of the International Joint Conference on Artificial Intelligence, Stockholm, Sweden, 9–19 July 2018. [Google Scholar]
- Guo, S.; Lin, Y.; Feng, N.; Song, C.; Wan, H. Attention Based Spatial-Temporal Graph Convolutional Networks for Traffic Flow Forecasting. In Proceedings of the National Conference on Artificial Intelligence, Association for the Advancement of Artificial Intelligence (AAAI), New York, NY, USA, 5 September 2019; pp. 922–929. [Google Scholar]
- Cao, D.; Wang, Y.; Duan, J.; Zhang, C.; Zhu, X.; Huang, C.; Tong, Y.; Xu, B.; Bai, J.; Tong, J.; et al. Spectral Temporal Graph Neural Network for Multivariate Time-series Forecasting. arXiv 2020, arXiv:2103.07719. [Google Scholar]
- Lin, Z.; Yue, W.; Huang, J.; Wan, J. Ship Trajectory Prediction Based on the TTCN-Attention-GRU Model. Electronics 2022, 12, 2556. [Google Scholar] [CrossRef]









| Attribute Name | Attribute Meaning | Attribute Type |
|---|---|---|
| MMSI | Vessel Unique identification code | Int |
| Name | Vessel Name | Char |
| Vessel Type | Vessel Type | Char |
| Length | Vessel Length | Int |
| Width | Vessel Width | Int |
| Attribute Name | Attribute Meaning | Attribute Type |
|---|---|---|
| Lon | Longitude | Float |
| Lat | Latitude | Float |
| Sog | Ground speed | Float |
| Cog | Course over ground | Float |
| Rot | Rate of turn | Float |
| DT_Pos_Utc | AIS Dynamic Position Update Time | Time |
| Draught | Vessel Draught | Float |
| Nav_status | Vessel Status | Char |
| Model | Train | Val | Test | |||
|---|---|---|---|---|---|---|
| MAE | MSE | MAE | MSE | MAE | MSE | |
| CNN_LSTM_CBAM | 0.00660 | 0.00370 | 0.00760 | 0.004600 | 0.1980 | 0.0950 |
| TCN | 0.00094 | 0.00017 | 0.00150 | 0.000287 | 0.0433 | 0.0056 |
| StemGNN | 0.00060 | 0.00014 | 0.00060 | 0.000190 | 0.0230 | 0.0048 |
| STGCN | 0.00070 | 0.00013 | 0.00078 | 0.000160 | 0.0270 | 0.0043 |
| ASTGCN | 0.00060 | 0.00016 | 0.00060 | 0.000160 | 0.0227 | 0.0041 |
| Model | Train | Val | Test | |||
|---|---|---|---|---|---|---|
| MAE | MSE | MAE | MSE | MAE | MSE | |
| CNN_LSTM_CBAM | 0.00644 | 0.00667 | 0.01408 | 0.0150 | 0.15941 | 0.06184 |
| TCN | 0.00045 | 0.00011 | 0.0032 | 0.00125 | 0.07312 | 0.00847 |
| StemGNN | 0.00028 | 0.00007 | 0.00048 | 0.00019 | 0.01446 | 0.00487 |
| STGCN | 0.00036 | 0.00011 | 0.00042 | 0.00031 | 0.06107 | 0.00481 |
| ASTGCN | 0.00018 | 0.00008 | 0.00019 | 0.00019 | 0.01442 | 0.00289 |
Disclaimer/Publisher’s Note: The statements, opinions and data contained in all publications are solely those of the individual author(s) and contributor(s) and not of MDPI and/or the editor(s). MDPI and/or the editor(s) disclaim responsibility for any injury to people or property resulting from any ideas, methods, instructions or products referred to in the content. |
© 2024 by the authors. Licensee MDPI, Basel, Switzerland. This article is an open access article distributed under the terms and conditions of the Creative Commons Attribution (CC BY) license (https://creativecommons.org/licenses/by/4.0/).
Share and Cite
Zhang, R.; Chen, X.; Ye, L.; Yu, W.; Zhang, B.; Liu, J. Predicting Vessel Trajectories Using ASTGCN with StemGNN-Derived Correlation Matrix. Appl. Sci. 2024, 14, 4104. https://doi.org/10.3390/app14104104
Zhang R, Chen X, Ye L, Yu W, Zhang B, Liu J. Predicting Vessel Trajectories Using ASTGCN with StemGNN-Derived Correlation Matrix. Applied Sciences. 2024; 14(10):4104. https://doi.org/10.3390/app14104104
Chicago/Turabian StyleZhang, Ran, Xiaohui Chen, Lin Ye, Wentao Yu, Bing Zhang, and Junnan Liu. 2024. "Predicting Vessel Trajectories Using ASTGCN with StemGNN-Derived Correlation Matrix" Applied Sciences 14, no. 10: 4104. https://doi.org/10.3390/app14104104
APA StyleZhang, R., Chen, X., Ye, L., Yu, W., Zhang, B., & Liu, J. (2024). Predicting Vessel Trajectories Using ASTGCN with StemGNN-Derived Correlation Matrix. Applied Sciences, 14(10), 4104. https://doi.org/10.3390/app14104104

