A Calculation Model for Determining the Bearing Capacity of Strengthened Reinforced Concrete Beams on the Shear
Abstract
Featured Application
Abstract
1. Introduction
2. Analysis of Previous Research
3. Experimental Data
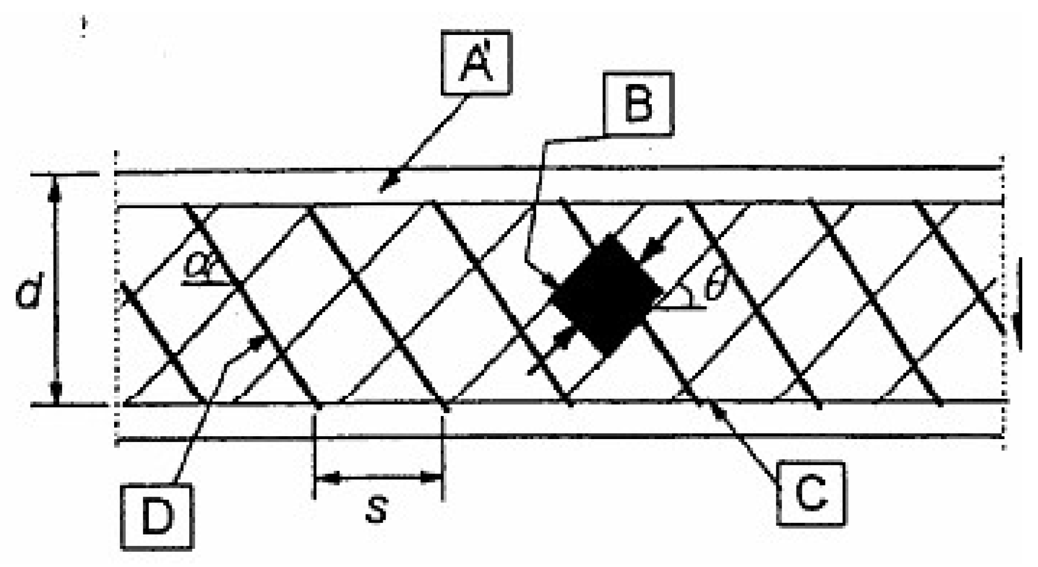
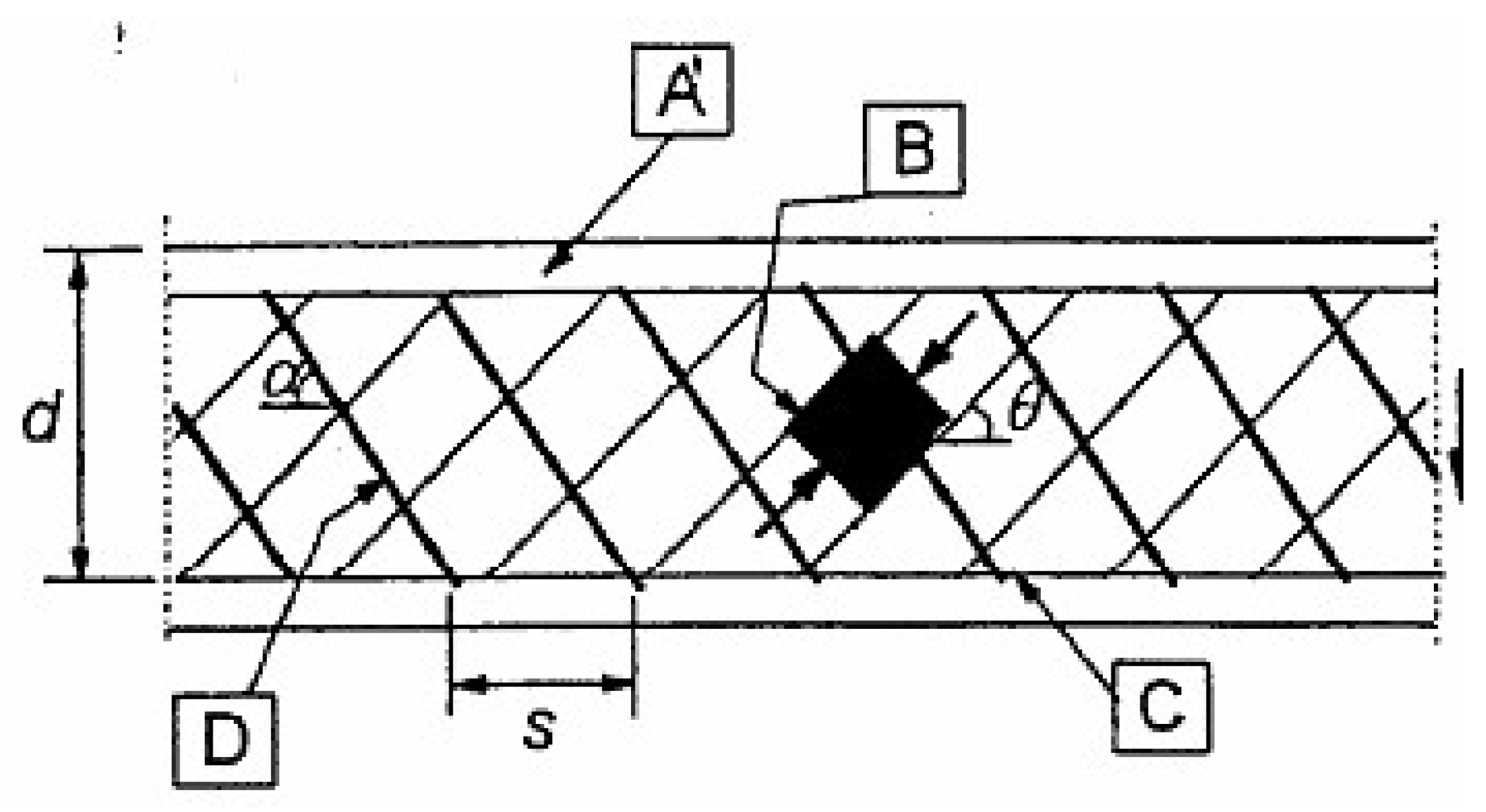
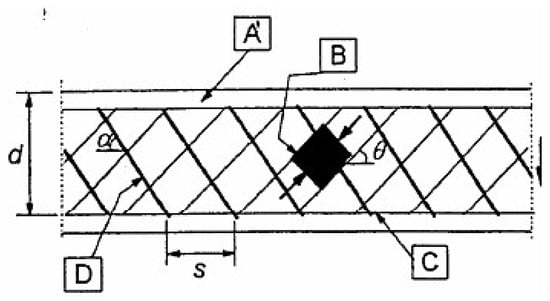
- opening of a shear crack of maximum width (acrc = 0.4 mm) on the concrete surface;
- cracking of the compressed area concrete and plastic deformation of the rebars of the reinforcing frame took place (Figure 1).
- shear reinforcement.
- opening of a diagonal crack of maximum width (acrc = 0.4 mm) on the concrete surface;
- propagation of the diagonal crack to the concrete compressed area. The appearance of a network of cracks with an opening width of acrc = 0.2 mm on the surface of the strengthening system;
- collapse of concrete in the zone of action of the main tensile stresses; detachment of the reinforcement system in this area;
- plastic deformation of reinforcing bars. Destruction of the concrete compressed area and significant deformations of the reinforcing fabric can be seen due to the violation of the protective layer.
4. Calculation Model for Determining the Shear Strength of the Tested Samples
4.1. Methodology of Calculating Shear Strength of the Control RC Beams
4.2. Methodology of Calculating Shear Strength of the Strengthened RC Beams by FRCM System
- -
- there is a valid hypothesis of flat sections for the supporting areas;
- -
- reinforcement with composite material works as additional external reinforcement;
- -
- the reinforcement system works together with the concrete in the support area.
5. Conclusions
- -
- application of compatible bearing capacity of concrete and external reinforcement;
- -
- taking into account the angle of the inclined struts θ;
- -
- principles for calculating the external composite reinforcement are proposed, which are based on FIB recommendations and existing design code;
- -
- the proposed coefficient takes into account the reduction in the use of composite reinforcement depending on the initial load level of the beam.
Author Contributions
Funding
Institutional Review Board Statement
Informed Consent Statement
Data Availability Statement
Conflicts of Interest
References
- DBN V.2.6-98:2009; Concrete and Reinforced Concrete Structures. Ministry of Regional Construction: Kyiv, Ukraine, 2011. (In Ukrainian)
- DSTU B.V.2.6-156:2010; Concrete and Reinforced Concrete from Heavy Concrete. Ministry of Regional Construction: Kyiv, Ukraine, 2011. (In Ukrainian)
- EN 1992-1-1; Eurocode 2: Design of Concrete Structures—Part 1-1: General Rules for Buildings. European Committee for Standartization: Brussels, Belgium, 2004.
- Lobodanov, M.; Vegera, P.; Khmil, R.; Blikharskyy, Z. Influence of damages in the compressed zone on bearing capacity of reinforced concrete beams. Lect. Notes Civ. Eng. 2021, 100, 260–267. [Google Scholar]
- Klymenko, Y.; Grynyova, I.; Kos, Z.; Maksiuta, O. Method for Determining the Residual Bearing Capacity of Damaged I-Beam Reinforced Concrete Columns. Lect. Notes Civ. Eng. 2022, 290, 171–184. [Google Scholar]
- Karpiuk, V.; Somina, Y.; Karpiuk, F.; Karpiuk, I. Peculiar aspects of cracking in prestressed reinforced concrete T-beams. Acta Polytech. 2021, 61, 633–643. [Google Scholar] [CrossRef]
- Ge, Y.; Liu, J.; Zhang, X.; Tang, H.; Xia, X. Automated Detection and Characterization of Cracks on Concrete Using Laser Scanning. J. Infrastruct. Syst. 2023, 29, 04023005. [Google Scholar] [CrossRef]
- Karkhut, I. Improving the crack resistance of inclined cross-sections of reinforced concrete containment shells in areas of emergency loads of pushing. East.-Eur. J. Enterp. Technol. 2022, 4, 31–41. [Google Scholar]
- Elsayed, M.; Badawy, S.; Tayeh, B.A.; Elymany, M.; Salem, M.; ElGawady, M. Shear behaviour of ultra-high performance concrete beams with openings. Structures 2022, 43, 546–558. [Google Scholar] [CrossRef]
- Blikharskyy, Z.; Lobodanov, M.; Vegera, P. Investigation of defective reinforced concrete beams with obtained damage of compressed area of concrete. Prod. Eng. Arch. 2022, 28, 225–232. [Google Scholar] [CrossRef]
- Kos, Z.; Klymenko, Y.; Crnoja, A.; Grynyova, I. Calculation Model for Estimation of Residual Bearing Capacity of Damaged Reinforced Concrete Slender Columns. Appl. Sci. 2022, 12, 7430. [Google Scholar] [CrossRef]
- Sudha, C.; Sambasivan, A.K.; Kannan Rajkumar, P.R.; Jegan, M. Investigation on the performance of reinforced concrete columns jacketed by conventional concrete and geopolymer concrete. Eng. Sci. Technol. Int. J. 2022, 36, 101275. [Google Scholar]
- Borysiuk, O.; Ziatiuk, Y. Experimental research results of the bearing capacity of the reinforced concrete beams strengthened in the compressed and tensile zones. Lect. Notes Civ. Eng. 2020, 100, 63–70. [Google Scholar]
- Gonzalez-Libreros, J.H.; Sneed, L.H.; D’Antino, T.; Pellegrino, C. Behavior of RC beams strengthened in shear with FRP and FRCM composites. Eng. Struct. 2017, 150, 830–842. [Google Scholar] [CrossRef]
- Loreto, G.; Babaeidarabad, S.; Leardini, L.; Nanni, A. RC beams shear-strengthened with fabric-reinforced-cementitious-matrix (FRCM) composite. Int. J. Adv. Struct. Eng. 2015, 7, 341–352. [Google Scholar] [CrossRef]
- Sabzi, J.; Esfahani, M.R.; Ramezani, A. The effect of tensile reinforcement on the behavior of CFRP strengthened reinforced concrete beams: An experimental and analytical study. Steel Compos. Struct. 2023, 46, 115–132. [Google Scholar]
- Babych, Y.M.; Savitskiy, V.V.; Andriichuk, O.V.; Ninichuk, M.V.; Kysliuk, D.Y. Results of experimental research of deformability and crack-resistance of two span continuous reinforced concrete beams with combined reinforcement. Mater. Sci. Eng. 2019, 708, 012043. [Google Scholar] [CrossRef]
- Li, Y.; Xu, W.; Zhang, J.; Fan, J.; Gao, P.; Hu, C. Early cracking characteristics of concrete strengthened with fiber mesh. J. Hohai Univ. 2022, 50, 114–122. [Google Scholar]
- Paruta, V.; Gnyp, O.; Lavrenyuk, L.; Grynyova, I. The Influence of the Structure on the Destruction Mechanism of Polymer-Cement Plaster Coating. Key Eng. Mater. 2020, 864, 93–100. [Google Scholar] [CrossRef]
- Cansız, S. Effect of tightening zone length of reinforced concrete beams on beam capacity. Građevinar 2022, 74, 857–868. [Google Scholar]
- Yurdakul, Ö.; Del Vecchio, C.; Di Ludovico, M.; Avşar, Ö.; Prota, A. Fragility functions for fiber-reinforced polymers strengthened reinforced concrete beam-column joints. Eng. Struct. 2023, 279, 115570. [Google Scholar] [CrossRef]
- Han, X.; Han, B.; Xie, H.; Yan, W.; Ma, Q. Experimental and numerical study on the in-plane behaviour of concrete-filled steel tubular arches with long-term effects. Thin-Walled Struct. 2021, 169, 108507. [Google Scholar] [CrossRef]
- Khmil, R.Y.; Tytarenko, R.Y.; Blikharskyy, Y.Z.; Vegera, P.I. Improvement of the method of probability evaluation of the failure-free operation of reinforced concrete beams strengthened under load. Mater. Sci. Eng. 2021, 1021, 012014. [Google Scholar] [CrossRef]
- Vatulia, G.L.; Komagorova, S.D.; Opanasenko, O.V.; Lobiak, O.V. Optimal Design of a Three-Hinged Arch with Given Topology Under Constant Load. Lect. Notes Civ. Eng. 2020, 47, 501–509. [Google Scholar]
- Kramarchuk, A.; Ilnytskyy, B.; Hladyshev, D.; Lytvyniak, O. Strengthening of the reinforced concrete tank of anaerobic purification plants with the manufacture of biogas, damaged as a result of design and construction errors. Mater. Sci. Eng. 2021, 1021, 012017. [Google Scholar] [CrossRef]
- Wakjira, T.G.; Ebead, U. A shear design model for RC beams strengthened with fabric reinforced cementitious matrix. Eng. Struct. 2019, 200, 109698. [Google Scholar] [CrossRef]
- Marcinczak, D.; Trapko, T.; Musiał, M. Shear strengthening of reinforced concrete beams with PBO-FRCM composites with anchorage. Compos. Part B Eng. 2019, 158, 149–161. [Google Scholar] [CrossRef]
- Kochkarev, D.; Galinska, T. Calculation methodology of reinforced concrete elements based on calculated resistance of reinforced concrete. MATEC Web Conf. 2017, 116, 02020. [Google Scholar] [CrossRef]
- Ahaieva, O.; Vegera, P.; Karpiuk, V.; Posternak, O. Design Reliability of the Bearing Capacity of the Reinforced Concrete Structures on the Shear. In Proceedings of the EcoComfort 2022; Lecture Notes in Civil Engineering; Springer: Cham, Switzerland, 2022; Volume 290, pp. 1–15. [Google Scholar]
- Khmil, R.; Tytarenko, R.; Blikharskyy, Y.; Vegera, P. The probabilistic calculation model of RC beams, strengthened by RC jacket. Lect. Notes Civ. Eng. 2021, 100, 182–191. [Google Scholar]
- Nguyen, H.A.T. Effect of Span-to-Depth Ratio on Strength and Deflection Reliability of Reinforced Concrete Beams. In Lecture Notes in Mechanical Engineering: Recent Advances in Structural Health Monitoring and Engineering Structures Select Proceedings of SHM and ES 2022; Springer Nature: Singapore, 2023; pp. 331–344. [Google Scholar]
- Kos, Z.; Klymenko, Y.; Karpiuk, I.; Grynyova, I. Bearing Capacity near Support Areas of Continuous Reinforced Concrete Beams and High Grillages. Appl. Sci. 2022, 12, 685. [Google Scholar] [CrossRef]
- Ombres, L.; Mazzuca, P.; Verre, S. Effects of thermal conditioning at high temperatures on the response of concrete elements confined with a pbo-frcm composite system. J. Mater. Civ. Eng. 2022, 34, 04021413. [Google Scholar] [CrossRef]
- Tetta, Z.C.; Bournas, D.A. TRM vs. FRP jacketing in shear strengthening of concrete members subjected to high temperatures. Compos. Part B Eng. 2016, 106, 190–205. [Google Scholar] [CrossRef]
- Blikharskyy, Z.; Vegera, P.; Vashkevych, R.; Shnal, T. Fracture toughness of RC beams on the shear, strengthening by FRCM system. MATEC Web Conf. 2018, 183, 02009. [Google Scholar] [CrossRef]
- Blikharskyy, Z.; Khmil, R.; Vegera, P. Shear strength of reinforced concrete beams strengthened by PBO fiber mesh under loading. MATEC Web Conf. 2017, 116, 02006. [Google Scholar] [CrossRef]
- Vegera, P.; Vashkevych, R.; Blikharskyy, Z. Fracture toughness of RC beams with different shear span. MATEC Web Conf. 2018, 174, 02021. [Google Scholar] [CrossRef]
- NiP 2.03.01-84*; Concrete and Reinforced Concrete Structures. NDIZB: Moscov, Russia, 1988. (In Ukrainian)
- Amadio, C.; Macorini, L.; Sorgon, S.; Suraci, G. A novel hybrid system with RC-encased steel joints. Eur. J. Environ. Civil Eng. 2011, 15, 1433–1463. [Google Scholar] [CrossRef]
- DD ENV 1992-1-1; Eurocode 2: Design of Concrete Structures—Part 1: General Rules and Rules for Buildings (Together with United Kingdom National Application Document). British Standards Institution: London, UK, 1992.
- Bond, A.J.; Brooker, O.; Harris, A.J.; Harrison, T.; Moss, R.M.; Narayanan, R.S.; Webster, R. How to Design Concrete Structures Using Eurocode 2; The Concrete Centre: London, UK, 2006; p. 104. [Google Scholar]
- Triantafillou, T.; Matthys, S.; Audenaert, K.; Balázs, G. Externally Bonded FRP Reinforcement for RC Structures; Technical Report; International Federation for Structural Concrete (FIB): Lausanne, Switzerland, 2001; 130p. [Google Scholar]








| Beam Number | Number of Tested Support Area | The Actual Cross-Section h × b mm | Span l0 mm | Shear Span, a/d | Shear Bearing Capacity, | Average Value, | |
|---|---|---|---|---|---|---|---|
| BO 1.1 | BO 1.1.1 | 201 × 106 | 1900 | 2 | 97 | 95 | 1.00 |
| BO 1.1.2 | 1550 | 93 | |||||
| BO 1.2 | BO 1.2.1 | 199 × 98 | 1900 | 1.5 | 139 | 140.5 | 1.48 |
| BO 1.2.2 | 1750 | 142 | |||||
| BO 1.3 | BO 1.3.1 | 202 × 98 | 1900 | 1 | 192 | 198 | 2.08 |
| BO 1.3.2 | 1650 | 204 |
| Beam Number | Number of Tested Support Area | The Actual Cross-Section h × b mm | Span l0 mm | Shear Span, a/d | Shear Bearing Capacity, | Average Value, | |
|---|---|---|---|---|---|---|---|
| BO 1.1 | BO 1.1.1 | 201 × 101 | 1900 | 2 | 97 | 95 | 1.00 |
| BO 1.1.2 | 1650 | 93 | |||||
| BS 1.1-0 | BS 1.1.1-0 | 199 × 100 | 1900 | 130 | 137.5 | 1.45 | |
| BS 1.1.2-0 | 1650 | 145 | |||||
| BS 1.2-0.3 | BS 1.2.1-0.3 | 200 × 100 | 1900 | 126 | 120 | 1.26 | |
| BS 1.2.2-0.3 | 1650 | 117 | |||||
| BS 1.3-0.5 | BS 1.3.1-0.5 | 201 × 98 | 1900 | 116 | 110 | 1.16 | |
| BS 1.3.2-0.5 | 1650 | 114 |
| Beam Number | Tensile Reinforcement | fck, MPa | fctk, MPa | The Actual Cross-Section h × b mm | Effective Height d, mm | Shear Span, a/d | Experimental Shear |
|---|---|---|---|---|---|---|---|
| BO 1.1 | 2∅18 | 30.49 | 5.06 | 201 × 106 | 171 | 2 | 95 |
| BO 1.2 | 199 × 98 | 171 | 1.5 | 148.5 | |||
| BO 1.3 | 202 × 98 | 171 | 1 | 198 |
| Beam Number | Shear Span, a/d | Experimental Shear Bearing Capacity. VEd (Q), kN | Theoretical Shear Strength according to Engineering Method [6] | Theoretical Shear Strength according to Current Codes [6] | ||||
|---|---|---|---|---|---|---|---|---|
| Qb,1, kN | Qb,2, kN | VRd,c1, kN | VRd,c, kN | |||||
| BO 1.1 | 2 | 95 | 71.9 | 43.1 | 1.32 | 32.8 | 9.9 | 2.89 |
| BO 1.2 | 1.5 | 140.5 | 95.8 | 43.1 | 1.46 | 43.7 | 9.9 | 3.22 |
| BO 1.3 | 1 | 198 | 143.7 | 43.1 | 1.37 | 65.5 | 9.9 | 3.02 |
| Beam Number | Shear Span, a/d | Experimental Shear Bearing Capacity. VEd(Q), kN | Theoretical Shear Strength according to Current Codes [6] | |||
|---|---|---|---|---|---|---|
| VRd,c1, kN | VRd,c2, kN | |||||
| BO 1.1 | 2 | 95 | 32.8 | 2.89 | 81.6 | 1.16 |
| BO 1.2 | 1.5 | 140.5 | 43.7 | 3.22 | 108.8 | 1.29 |
| BO 1.3 | 1 | 198 | 65.5 | 3.02 | 163.2 | 1.21 |
| Beam Number | Theoretical Data | Experimental Results | ||||||
|---|---|---|---|---|---|---|---|---|
kH | kH | kH | ||||||
| BO 1.1 | 81.6 | − | − | 81.6 | 95 | − | 1.16 | − |
| BS 1.1-0 | 1.0 | 34.6 | 116.2 | 137.5 | 42.5 | 1.18 | 1.23 | |
| BS 1.2-0.3 | 0.7 | 20.3 | 101.9 | 120 | 25.0 | 1.17 | 1.23 | |
| BS 1.3-0.5 | 0.5 | 12.2 | 93.8 | 110 | 15.0 | 1.17 | 1.23 | |
Disclaimer/Publisher’s Note: The statements, opinions and data contained in all publications are solely those of the individual author(s) and contributor(s) and not of MDPI and/or the editor(s). MDPI and/or the editor(s) disclaim responsibility for any injury to people or property resulting from any ideas, methods, instructions or products referred to in the content. |
© 2023 by the authors. Licensee MDPI, Basel, Switzerland. This article is an open access article distributed under the terms and conditions of the Creative Commons Attribution (CC BY) license (https://creativecommons.org/licenses/by/4.0/).
Share and Cite
Kos, Z.; Blikharskyi, Z.; Vegera, P.; Grynyova, I. A Calculation Model for Determining the Bearing Capacity of Strengthened Reinforced Concrete Beams on the Shear. Appl. Sci. 2023, 13, 4658. https://doi.org/10.3390/app13084658
Kos Z, Blikharskyi Z, Vegera P, Grynyova I. A Calculation Model for Determining the Bearing Capacity of Strengthened Reinforced Concrete Beams on the Shear. Applied Sciences. 2023; 13(8):4658. https://doi.org/10.3390/app13084658
Chicago/Turabian StyleKos, Zeljko, Zinovii Blikharskyi, Pavlo Vegera, and Iryna Grynyova. 2023. "A Calculation Model for Determining the Bearing Capacity of Strengthened Reinforced Concrete Beams on the Shear" Applied Sciences 13, no. 8: 4658. https://doi.org/10.3390/app13084658
APA StyleKos, Z., Blikharskyi, Z., Vegera, P., & Grynyova, I. (2023). A Calculation Model for Determining the Bearing Capacity of Strengthened Reinforced Concrete Beams on the Shear. Applied Sciences, 13(8), 4658. https://doi.org/10.3390/app13084658

