Development of a Portable Infrared-Type Noncontact Blood Pressure Measuring Device and Evaluation of Blood Pressure Elevation during Driving
Abstract
:1. Introduction
2. Materials and Methods
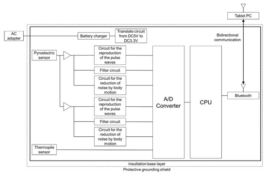
2.1. Mechanism of the Infrared Radiation Type Noncontact Blood Pressure Monitoring System
2.2. Evaluation of Accuracy
2.3. Evaluation of Time Lag for Detection
- (1)
- The time when the unexpected vehicle appeared () is first determined; this is achieved by inspecting data logged by the driving simulator.
- (2)
- The variable denotes the time at which the unexpected vehicle appears, plus 30 sec. The reason for selecting an interval of 30 s is based on previous research [24]; about 10 to 15 seconds must elapse before taking a reading of the maximum blood pressure, after drivers are surprised at the appearance of the unexpected vehicle.
- (3)
- The variable is the time when mean blood pressure is at a minimum, between and .
- (4)
- Change points are detected by the changepoint method. λ, the penalty value is set to 1 because as many change points should be detected as possible. Here, the number of detected change points is defined as N, and the time of detection for a change point i is defined as ; the set of times is thus defined as .
- (5)
- Next, the minimum value of the difference between and is calculated; a set is created.
- (6)
- is calculated. The time as calculated by is defined as .
- (7)
- is calculated. This is considered the duration over which blood pressure increases after the unexpected appearance of the vehicle.
- 1
- Library (changepoint)
- 2
- t2 ← t1 + 30
- 3
- t3 ← which.min (data $ mean_bloodpressure [:])
- 4
- T ← cpt.var (data $ mean_bloodpressure, pen.value = 1)
- 5
- Tdiff ← T − t3
- 6
- Tcp ← which.min (Tdiff)
3. Consideration
4. Conclusions
Author Contributions
Funding
Institutional Review Board Statement
Informed Consent Statement
Data Availability Statement
Acknowledgments
Conflicts of Interest
References
- Stamler, J.; Dyer, A.R.; Shekelle, R.B.; Neaton, J.; Stamler, R. Relationship of baseline major risk factors to coronary and all-cause mortality, and to longevity: Findings from long-term follow-up of Chicago cohorts. Cardiology 1993, 82, 191–222. [Google Scholar] [CrossRef] [PubMed]
- Centers for Disease Control and Prevention. About Underlying Cause of Death. Available online: http://wonder.cdc.gov/ucd-icd10.html (accessed on 11 March 2022).
- Kario, K. Management of Hypertension in the Digital Era: Small Wearable Monitoring Devices for Remote Blood Pressure Monitoring. Hypertension 2020, 76, 640–650. [Google Scholar] [CrossRef] [PubMed]
- William, J.E. The economic impact of hypertension. J. Clin. Hypertens. 2003, 5, 3–13. [Google Scholar]
- Arakawa, T. Recent Research and Developing Trends of Wearable Sensors for Detecting Blood Pressure. Sensors 2018, 18, 2772. [Google Scholar] [CrossRef] [PubMed] [Green Version]
- International Brotherhood of Teamsters. Revised Blood Pressure Guidelines for Commercial Drivers. Available online: https://teamster.org/revised-blood-pressure-guidelines-commercial-drivers/ (accessed on 11 March 2022).
- Miao, Q.; Zhang, Y.L.; Miao, Q.F.; Yang, X.A.; Zhang, F.; Yu, Y.G.; Li, D.R. Sudden Death from Ischemic Heart Disease While Driving: Cardial Pathology, Clinical Characteristics, and Countermeasures. Med. Sci. Monit. 2021, 27, e929212-1–e929212-6. [Google Scholar] [CrossRef] [PubMed]
- Abc News. Driver Suffers ‘Sudden Cardiac Death’ before Mississippi School Bus Crash That Injured Students. Available online: https://abcnews.go.com/US/driver-suffers-sudden-cardiac-death-mississippi-school-bus/story?id=65520740/ (accessed on 11 March 2022).
- Response. Route Bus Driver Suddenly Dies While Driving. Available online: https://response.jp/article/2009/03/24/122108.html (accessed on 11 March 2022). (In Japanese).
- Kwon, S.; Jung, C.; Choi, T.; Oh, Y.; You, B. Autonomous emergency stop system. In Proceedings of the 2014 IEEE Intelligent Vehicles Symposium Proceedings, Dearborn, MI, USA, 8–11 June 2014; pp. 444–449. [Google Scholar] [CrossRef]
- Takano, M.; Morimoto, K.; Takagi, M.; Oda, T.; Nishimura, N. Development of an Emergency Stop Assistant System. SAE Tech. Pap. 2019, 1025, 1. [Google Scholar] [CrossRef]
- B to B Platform. Developed the World’s first Commercial Vehicle Emergency Driving Stop System (EDSS)—Scheduled to Be Installed in Hino Selega This Summer. Available online: https://b2b-ch.infomart.co.jp/news/detail.page?IMNEWS1=998247 (accessed on 11 March 2022). (In Japanese).
- Li, G.; Chung, W.Y. Detection of driver drowsiness using wavelet analysis of heart rate variability and a support vector machine classifier. Sensors 2013, 13, 16494–16511. [Google Scholar] [CrossRef] [Green Version]
- Patel, M.; Lai, S.K.L.; Kavanagh, D.; Rossiter, P. Applying neural network analysis on heart rate variability data to assess driver fatigue. Expert Syst. Appl. 2011, 38, 7235–7242. [Google Scholar] [CrossRef]
- Friedrichs, F.; Yang, B. Camera-based drowsiness reference for driver state classification under real driving conditions. In Proceedings of the 2010 IEEE Intelligent Vehicles Symposium, La Jolla, CA, USA, 21–24 June 2010; pp. 101–106. [Google Scholar] [CrossRef]
- Rongben, W.; Lie, G.; Bingliang, T.; Lisheng, J. Monitoring mouth movement for driver fatigue or distraction with one camera. In Proceedings of the IEEE Conference on Intelligent Transportation Systems (IEEE Cat. No. 04TH8749), Washington, WA, USA, 3–6 October 2004; pp. 314–319. [Google Scholar] [CrossRef]
- Futatsuyama, K.; Kawachi, T.; Nakagawa, T. Cuffless blood pressure monitoring using steering wheel sensor system. Trans. Jpn. Soc. Med. Biol. Eng. 2014, 1, OS-67–OS-68. [Google Scholar] [CrossRef]
- Futatsuyama, K.; Mitsumoto, N.; Kawachi, T.; Nakagawa, T. Noise robust optical sensor for driver’s vital signs. SAE Tech. Pap. 2011. [Google Scholar] [CrossRef]
- Arakawa, T.; Sakakibara, N.; Kondo, S. Development of non-invasive steering-type blood pressure sensor for driver state detection. Int. J. Innov. Comput. Inf. Control 2018, 14, 1301–1310. [Google Scholar]
- Arakawa, T.; Kaminaga, K.; Sakakibara, N.; Kondo, S. Development and evaluation steering-type blood pressure measuring monitor based on plethysmography. In Proceedings of the IIAE Annual Conference 2016, Kyoto, Japan, 11 September 2016; pp. 3–4. (In Japanese). [Google Scholar]
- Tomita, K.; Nakada, T.; Oshima, T.; Oami, T.; Aizimu, T.; Oda, S. Non-invasive monitoring using photoplethysmography technology. J. Clin. Monit. Comput. 2019, 33, 637–645. [Google Scholar] [CrossRef] [PubMed]
- Aminikhanghahi, S.; Cook, D.J. A Survey of Methods for Time Series Change Point Detection. Knowl. Inf. Syst. 2017, 51, 339–367. [Google Scholar] [CrossRef] [PubMed] [Green Version]
- Killck, R.; Haynes, K.; Eckley, I.; Fearnhead, P.; Lee, J. Package ‘Changepoint’. Available online: https://cran.r-project.org/web/packages/changepoint/changepoint.pdf (accessed on 11 March 2022).
- Arakawa, T.; Tanaka, M.; Obayashi, F.; Kondo, S.; Kozuka, K. Detection of Driver’s Surprised State Based on Blood Pressure. ICIC Express Lett. Part B Appl. 2015, 6, 2353–2360. [Google Scholar]
- Lazarus, R.S.; Folkman, S. Stress, Appraisal and Coping; Springer: New York, NY, USA, 1984. [Google Scholar]









Publisher’s Note: MDPI stays neutral with regard to jurisdictional claims in published maps and institutional affiliations. |
© 2022 by the authors. Licensee MDPI, Basel, Switzerland. This article is an open access article distributed under the terms and conditions of the Creative Commons Attribution (CC BY) license (https://creativecommons.org/licenses/by/4.0/).
Share and Cite
Arakawa, T.; Sakakibara, N.; Kondo, S. Development of a Portable Infrared-Type Noncontact Blood Pressure Measuring Device and Evaluation of Blood Pressure Elevation during Driving. Appl. Sci. 2022, 12, 3805. https://doi.org/10.3390/app12083805
Arakawa T, Sakakibara N, Kondo S. Development of a Portable Infrared-Type Noncontact Blood Pressure Measuring Device and Evaluation of Blood Pressure Elevation during Driving. Applied Sciences. 2022; 12(8):3805. https://doi.org/10.3390/app12083805
Chicago/Turabian StyleArakawa, Toshiya, Noriaki Sakakibara, and Shinji Kondo. 2022. "Development of a Portable Infrared-Type Noncontact Blood Pressure Measuring Device and Evaluation of Blood Pressure Elevation during Driving" Applied Sciences 12, no. 8: 3805. https://doi.org/10.3390/app12083805
APA StyleArakawa, T., Sakakibara, N., & Kondo, S. (2022). Development of a Portable Infrared-Type Noncontact Blood Pressure Measuring Device and Evaluation of Blood Pressure Elevation during Driving. Applied Sciences, 12(8), 3805. https://doi.org/10.3390/app12083805

