Next Article in Journal
Vibration and Reliability Analysis of Non-Uniform Composite Beam under Random Load
Next Article in Special Issue
An Integrated Real-Time Hand Gesture Recognition Framework for Human–Robot Interaction in Agriculture
Previous Article in Journal
Experimental Study of Wave-Induced Response of Piles in Seabed with Various Permeability
Previous Article in Special Issue
Biomechanical Effects on Lower Extremities in Human-Robot Collaborative Agricultural Tasks
 
 
Font Type:
Arial Georgia Verdana
Font Size:
Aa Aa Aa
Line Spacing:
Column Width:
Background:
Article

Design and Evaluation of a Shaping and Pruning Machine for Dwarf and Densely Planted Jujube Trees

1
School of Information and Communication Engineering, Hainan University, Haikou 570228, China
2
Mechanical and Electrical Engineering College, Hainan University, Haikou 570228, China
3
College of Mechanical and Electrical Engineering, Shihezi University, Shihezi 832003, China
4
Xinjiang Academy of Agricultural and Reclamation Science, Shihezi 832003, China
*
Author to whom correspondence should be addressed.
Appl. Sci. 2022, 12(5), 2699; https://doi.org/10.3390/app12052699
Submission received: 23 January 2022 / Revised: 1 March 2022 / Accepted: 3 March 2022 / Published: 4 March 2022
(This article belongs to the Special Issue Applied Agri-Technologies 2)

Abstract

:
A shaping and pruning machine for jujube trees was developed in this study to address the difficulties of high intensity and low efficiency of artificial pruning for dwarf and densely planted jujube trees in Xinjiang. The key components of the machine were designed according to the growth information and pruning technical requirements of jujube trees. Additionally, the structural and working parameters of components or parts were determined. Then, utilizing the forward speed of the machine, cutter rotation speed, and cutter diameter as influencing variables, and the missed pruning rate and stubble breakage rate as evaluation indexes, a quadratic regression orthogonal test with three factors and three levels was constructed. Meanwhile, analyses of variance and response surface were conducted to establish mathematical regression models of influencing factors and evaluation indexes, and the influence of significant factors on response indexes was analyzed. The test results were optimized, and the optimal parameter combination was obtained as follows: the rotation speed of the cutter was 2300 r/min, the diameter of the cutter was 250 mm, and the forward speed was 0.3 m/s. Then, field validation tests were conducted according to the optimal parameter combination. The results showed that the average values of the missed pruning rate and stubble breakage rate for the machine were 5.46% and 5.01%, respectively. The results indicated that the operation of the shaping and pruning machine met technical requirements for pruning jujube trees. This research contributes to rapid shaping and pruning operations in large-scale orchards of dwarf and densely planted jujube trees, which is conducive to promoting the whole mechanization management of jujube gardens in Xinjiang.

1. Introduction

As one of the economic forest fruits with Chinese characteristics, jujube has the largest planting area and yield in the world [1,2]. With its superior geographical location and climatic conditions, Xinjiang has developed into the largest planting district for jujube trees in China [3,4]. As one of the important steps in the management of jujube gardens, the pruning of jujube trees mainly relies on manual pruning by jujube farmers [5]. By 2020, the area planted in jujube trees in Xinjiang was about 445,225 hm2, and the output was up to 3,727,729 t [6]. However, the problems of poor operating conditions, high labor intensity and low efficiency are significant [7,8,9]. Therefore, research on and development of machines or tools for mechanized pruning is an inevitable trend for the sustainable and healthy development of the jujube industry.
At present, the methods of pruning fruit trees mainly include artificial pruning and mechanical pruning [10,11,12,13,14]. In artificial pruning, fruit farmers prune the fruit trees with simple auxiliary pruning tools. Commonly used auxiliary tools include manual, electric, pneumatic and hydraulic scissors [15,16]. Among them, manual scissors have the shortcomings of labor intensity, low work efficiency and easily caused occupational diseases; Electric, pneumatic and hydraulic scissors need to be equipped with a power source, whose weight makes them unsuitable for manpower to operate for long periods [17,18,19]. Mechanical pruning mainly uses a pruning machine to conduct shaping and pruning on a large scale and in orchards with standardized planting patterns [20]. At present, the common pruning machines for fruit trees are composed of a pruning device, frame, power system and other key components [21,22]. The design of a pruning machine involves the design of key components of the pruning device, including the design and selection of the structure and working parameters of the tool. According to the working mode, the commonly used pruning devices include reciprocating moving cutters and disc cutters [23,24,25]. Recently, many studies have been conducted on mechanized pruning equipment for horticultural plants or orchards at home and abroad [26,27,28]. In 1955, Moore et al. in America developed a saw-disc pruning machine to reduce the cost of pruning citrus trees by hand [29]. Its pruning device was composed of 12 sets of disc cutters, which could achieve unilateral pruning of fruit trees with a pruning efficiency of 0.4 hm2/h. However, this machine could prune one side of the trees, but could not complete the shaping and pruning of a single plant; the pruning form was single, and the adaptability was poor. Based on the growth characteristics of fruit trees such as grapes, apples and pears, Poni et al. introduced the curtain pruning machine to cut upright growing branches, which improved the efficiency of pruning [30]. Spinelli et al. in Italy designed a pruning machine for olive trees, which was mainly composed of a pruning device and crushing and recycling mechanism for residual branches. This machine can crush and recycle residual branches while pruning olive trees, but can only prune one side of the tree [31]. In 2014, Xinjiang Agricultural University designed a single-side reciprocating pruning device for grapes to solve the problem of high cost and low efficiency of manual vineyard pruning [32]. It was composed of a frame, pruning device, power system, copying frame, etc. The machine had an operating speed of 0.8 m/s, cutting height of 30 mm, cutter stroke of 76 mm, a simple structure, and high efficiency, but had the shortcomings of poor robustness and easy clogging. In 2015, Shihezi University developed a pruning machine for grapevines [33], which pruned the tops and sides of grapevines with a disc cutter; it was suitable for cutting thinner branches of the grapevines. In 2016, Shandong Agricultural Machinery Research Institute designed the PJS-1 two-wing pruning machine for grapes [34], which consisted of a frame, a trimming device, a transmission system and a hydraulic system. The machine controlled its tool speed through the hydraulic system, had an operating speed of 5–7.5 km/h, pruning width of 1400–2400 mm, and pruning height of 400–2000 mm, and could complete pruning of the left and right sides and top branches of the grapes in one operation. In 2019, Huazhong Agricultural University designed a pruning machine for citrus, consisting of a frame, a transmission device, a space track moving device, an actuator for the pruning arm, a hydraulic actuator, and a walking suspension device. The maximum missed pruning rate of the machine was 10.1%, and the qualified rate was 88% [35]. In 2020, Xinjiang Agricultural University designed a single-motor reciprocating pruning machine for grapes [36], which used a single hydraulic motor to drive a reciprocating cutter to prune single sides and tops of grapevines at the same time, with a cutting speed of 1.66 m/s, feeding speed of 1.46 m/s, clean grape stalk cutting rate of 90.66%, and stubble breakage rate of 4.71%. In 2020, Liu et al. designed a wideband combination copying pruning machine for new orchards [37] comprising a frame structure, cutting device, transmission system and hydraulic system. The cutting height range of the machine was 500–4000 mm, the maximum cutting diameter was 60 mm, the missed rate of pruning was 7.3%, and the qualified rate of pruning was 90.9%. The quality of the cut section and the shape of the cut met the requirements for agronomic application. In 2021, Li et al. designed a form trimming machine for horticultural plants [38], the pruning device of which consists of multiple cutting tools that move back and forth. It takes about 8.89 s to trim a single horticultural plant with this machine. Anhui Academy of Agricultural Sciences designed a pruning machine for mulberry, which includes a transmission device, a hydraulic actuator, an actuator for the pruning arm, a space track moving device, and a walking suspension device. The maximum missed pruning rate of this machine is 10%, and the qualified rate is 90% [39]. At present, the design of and research on shaping and pruning machines by domestic and foreign researchers is mainly aimed at horticultural plants with soft branches and easily broken stalks, such as vines. The cutting parts of most pruning machines use low speed reciprocating cutting tools. Due to great differences in growing information and agronomic pruning requirements for different varieties of fruit trees, existing shaping and pruning machines for fruit trees cannot meet the intensive pruning requirements for large-scale orchards of dwarf and densely planted jujube trees with hard branches.
To sum up, a shaping and pruning machine that is connected with a tractor by the front suspension was designed for jujube trees to meet the demand for mechanized and rapid shaping and pruning of dwarf and densely planted jujube trees in Xinjiang. Firstly, according to the growth information and agronomic pruning requirements of jujube trees, the pruning device was designed with a structure consisting mainly of a number of high-speed rotating cutters. Additionally, a mathematical model for avoiding missed cuttings with the cutter was established on the basis of a theoretical analysis of the movement path of the cutting tool in the process of cutting jujube branches. Meanwhile, the structure and working parameters of the removal mechanism for jujube hangings and the shaping frame were designed. Secondly, utilizing the forward speed of the machine, cutter rotation speed, and cutter diameter as influencing variables and the missed pruning rate and stubble breakage rate as evaluation indexes, a quadratic regression orthogonal test with three factors and three levels was constructed. Then, the prototype was produced, and a field pruning test was carried out. The mathematical regression model of influencing factors and evaluation indexes was established through analysis of variance and response surface analysis of test results. Finally, the best parameter combination of experimental factors was selected according to the model analysis results to carry out field validation tests. This study aimed to improve jujube tree pruning efficiency and reduce jujube garden management costs. The results could provide technical support for promoting the complete mechanization of jujube garden management.

2. Materials and Methods

2.1. Planting Modes and Agronomic Pruning Requirements of Jujube Trees

Dwarf and dense planting are the main planting modes for jujube trees in Xinjiang, with row spacing generally of 3000~4200 mm and plant spacing of 800~1500 mm. At present, the shape of the main stem of the jujube tree is the main criterion of standardization for construction of dwarf and densely planted jujube gardens. The body structure of the jujube tree is mainly composed of a main stem, branches, side branches and jujube hangings. Shaping and pruning operations for jujube trees basically comprise cutting jujube branches and removing jujube hangings. The purpose of cutting jujube branches is mainly to remove parts of the side branches that grow in the periphery of the tree in that year; Jujube hangings are current year branches of jujube for fruiting, distributed over the entire canopy of the tree. After the jujube fruit has matured, certain parts of the jujube hangings fall off naturally, but other parts of the hangings remain on the tree after the mature jujube fruits have fallen and need to be removed through vibrations generated by artificially striking the jujube tree. The diameter of jujube branches that need pruning ranges around 5~20 mm. Investigation of a dwarf and densely planted jujube garden in Xinjiang gathered information on the planting modes and plant growth before and after artificial pruning, as shown in Figure 1 and Table 1, respectively.

2.2. The Structure and Working Principles of the Pruning Machine

2.2.1. The Structure and Main Technical Parameters of the Pruning Machine

The pruning machine for dwarf and densely planted jujube trees mainly consists of a pruning device, removal mechanism for jujube hangings, shaping and pruning frame, shaping and adjusting frame, connecting seat, hydraulic system, tractor, etc. The pruning device consists of a side pruning assembly and top pruning assembly. The structure of the overall machine is shown in Figure 2. According to the growth information on dwarf and densely planted jujube gardens in Xinjiang and the technical requirements for agronomic pruning of jujube trees, the main technical parameters of the shaping and pruning machine for jujube trees were determined as shown in Table 2.

2.2.2. Working Principle of Overall Machine

The pruning machine is connected with the tractor by the front suspension, and the gear pump is driven by the connection of the gear change device with the power output shaft of the tractor to provide power for the machine. The machine frame can be adjusted to meet the agronomic requirements of pruning for jujube trees when operating the machine. The spacing between the side pruning assembly installed on the shaping and pruning frame is adjusted according to the pruning requirements of the jujube tree canopy diameter. The distance between the side pruning assembly inside the shaping and adjusting frame and the side edge of the tractor is controlled by the hydraulic cylinder, which adapts to different row spacings, and the height of the frame is controlled to adapt to the pruning requirements for different tree heights. By adjusting the shaping and pruning frame with the hydraulic cylinder, the pruning device is kept level to ensure uniform tree pruning. Finally, under the hydraulic motor drive, power is transferred to all tool shafts by a synchronous belt that drives all of the cutting tools on the side trimming assembly and top trimming assembly for high-speed rotation. Meanwhile, the pruning device is driven by the tractor along the jujube tree rows, and the side pruning assembly and the top pruning assembly work to complete the shaping and pruning of the whole jujube tree line. The removal mechanism for jujube hangings is installed behind the pruning device, and it works with the pruning device. The roller on the removal mechanism for jujube hangings rotates under the power of the low-speed hydraulic motor, together with the dial rod installed on the roller. During operation, the dial rod is rotated to strike the jujube tree branches, and the removal of the jujube hangings is completed.

2.3. Design of Pruning Device

The pruning device, as the key component of the shaping and pruning machine for dwarf and densely planted jujube trees, is mainly composed of a side pruning assembly and top pruning assembly. Its power is provided by a hydraulic motor and transmitted through a synchronous belt and cutter shaft. The pruning cutters installed on the side pruning assembly and the top pruning assembly are driven in a rotary motion to achieve the sawing function of the clipping machine.

2.3.1. Design of the Structure

According to the growth information on dwarf and densely planted jujube trees and the shaping and pruning requirements for canopies, the designed height of the side pruning assembly is 1600 mm, and the length of the top pruning assembly is 1200 mm. The cutters of the pruning device are tungsten carbide-tipped circular saw blades. The side pruning assembly uses 12 circular saw blades, the top pruning assembly uses four, and the adjacent two circular saw blades are staggered vertically. The rotating cutter shaft is driven by the hydraulic motor when the pruning device operates, and then, the circular saw blades on the cutter shaft are driven to rotate. The other circular saw blades are rotated by the synchronous belt. To ensure steady force on jujube branches in the process of sawing and pruning, a supporting rods are installed on the sawing side of the pruning component. Additionally, the pruning machine positions the jujube branches with the supporting rods during pruning to support the sawing operation. In the pruning operation, the branches are positioned by the supporting rods to facilitate the sawing operation. The structure of the pruning device is shown in Figure 3.

2.3.2. Analysis of Cutter Rotation Speed

When the pruning machine is working, the pruning cutters perform both rotation and translation, and the cutter movement trajectory is cycloid (Figure 4). Through theoretical analysis of the cutting process of the cutters, the trajectory equations of blade a and b are shown in Equations (1) and (2), respectively.
Trajectory equations of blade a:
{ x a = v t + R sin ω t y a = R cos ω t
where R is the cutter radius, in mm; v is the forward speed of the pruning machine, in m/s; ω is the angular velocity of the cutter, in rad/s.
Trajectory equations of blade b:
{ x b = v t + R sin ( ω t + β ) y b = R cos ( ω t + β )
where β is the angle between the two adjacent blades of the knife disc, in rad.
During the cutting, missed cuts may appear if the two neighboring blades a and b turn at the same angle and the horizontal coordinate space between the two edges is larger than the height of the cutting edge h. To avoid such missed cuts, the circular saw blade shall satisfy the following condition:
x a 1 x b 1 h
where xa1 is the horizontal coordinate of the cutting edge a, in mm; xb1 is the horizontal coordinate of the cutting edge b, in mm; h is the height of the cutting edge, in mm.
When the blade a is at position ωt = π/2 or turns π/2, it reaches the horizontal axis and prunes the jujube branch at the axis x; substituting these coordinates into Equation (1) yields:
x a 1 = π v 2 ω + R
When the blade b is at position ωt = π/2 − β or turns π/2 − β, it prunes the jujube branch at the axis x; substitute this value into equation (2) to obtain:
x b 1 = v ω ( π 2 β ) + R
Equations (3)–(5) are solved simultaneously; meanwhile, ω = 2πn, the rotation speed of the cutter n, is:
n v β 2 π h
where n is the rotation speed of cutter, in r/s.
According to Equation (6), when missed cuts are avoided during pruning jujube trees, there is a critical rotation speed of the cutter. If the rotation speed of the cutter is lower than this critical speed, the cutter will be unable to cut off the jujube branches, causing branch skewing or lacerations. As specified in Tungsten Carbide Tipped Circular Saw Blade for Woodworking (GB/T14388-2010), the number of saw teeth for tungsten carbide tipped circular saw blades is usually 20~128, i.e., β is between π/64~π/10, the forward speed is usually 8~30 m/min, and the actual effective length of the cutter edge is 1.5~4.0 mm; if these parameters are substituted into Equation (6), it can be found that missed cuts appear when the rotation speed of the circular saw blade cutter is lower than 1020 r/min.
The pruning device designed in this study has the following advantages for pruning dwarf and densely planted jujube trees in Xinjiang. Firstly, the top and side branches can be pruned at the same time. Secondly, the device can complete the pruning operation for the whole line of jujube trees, so as to ensure the uniformity of the pruned tree shapes. It is conducive to the fully mechanized management of Xinjiang jujube gardens. Thirdly, the distance between the two sets of side pruning assemblies can be adjusted to enable the pruning of jujube canopies of different sizes. Fourth, while hard jujube branches in Xinjiang have characteristics that demand laborious pruning, this device uses a disc cutter to effectively cut hard jujube branches under the high speed of the cutter.

2.4. Design of Removal Mechanism for Jujube Hangings

The removal mechanism for jujube hangings was designed in this study according to the pruning practice of striking jujube tree branches with a long pole by hand and shaking off all jujube hangings on the trees. According to the working requirements of the pruning machine, the design of the removal mechanism for jujube hangings was implemented with an adjustable angle screw lever structure, as shown in Figure 5. The device consists of a vertical beam, fixed connecting seat, crossbeam, hydraulic motor, roller, dial rod, angle regulator, etc. The vertical beam can slide in the sliding sleeve, and it can be fixed through the sliding sleeve with the side bolt. The angle regulator can rotate around the pin in the horizontal plane to adjust the angle in the horizontal direction, so as to realize the space adjustment for the removal mechanism for jujube hangings and meet the actual removal needs. During operation, the roller rotates under the drive of the low-speed hydraulic motor, which drives the dial rod installed on the roller to rotate and strike the branches of jujube trees and complete the removal of the jujube hangings.
When pruning the jujube trees, the removal mechanism for jujube hangings continues moving forward while rotating to complete the removal of jujube hangings. The position relation of the dial rod during movement from position 1 to position 2 is shown in Figure 6.
The equation of motion for the outer end of the dial rod in the removal mechanism for jujube hangings is:
{ x = v t + d cos θ y = d sin θ
where v is the forward speed of the pruning machine, in m/s; d is the length of the dial rod, in mm; θ is the angle of rotation of the dial rod, in rad.
Derivation of Equation (7) can be obtained as:
{ v x = v d sin θ v y = d cos θ
The speed V at the end of the dial rod is:
V = v x 2 + v y 2 = v 2 + d 2 + 2 v d sin θ
According to the overall structure and operational requirements of the pruning machine, and combined with the distribution of jujube hangings in the whole canopies of the trees, the designed roller height of the removal mechanism for jujube hangings is 500 mm, while the length of the dial rod is 450 mm. According to the speed of the roller for the jujube harvester [40], the designed speed regulation range of the dial rod is 80~180 r/min.

2.5. Design of Shaping Frame

As an important working component of the shaping and pruning machine for jujube trees, the jujube shaping frame consists of a shaping pruning frame and shaping adjustment frame. According to the pruning requirements for jujube trees, the pruning frame needs to prune jujube canopies of different sizes. Meanwhile, it should be able to carry out horizontal adjustments to avoid the problem of nonuniform pruning caused by uneven ground. The shaping adjustment frame should meet the pruning requirements of different jujube tree heights and row spacings.

2.5.1. Design of Shaping and Pruning Frame

The shaping and pruning frame adopts a gantry structure, which is mainly composed of a left connecting seat for the side pruning assembly, a long vertical beam, a crossbeam for the pruning frame, a crossbeam for the adjusting frame, a swinging cylinder, a connecting seat for the shaping and pruning frame, a fixing sleeve for the oblique beam, a top pruning diagonal beam, a connecting seat for the top pruning assembly, a fixing sleeve for the frame beam, and a right connecting seat for the side pruning assembly, as shown in Figure 7. In operation, the spacing for the left and right sides of the pruning assembly is adjusted by moving the fixing sleeve for the frame beam to enable the pruning of jujube canopies of different sizes. The pruning height for jujube trees can be adjusted slightly by adjusting the top pruning inclined beam. According to the pruning requirements, the maximum canopy diameter that the pruning device can prune is 1400 mm. Therefore, the designed space adjustment range of the side pruning assembly on the left and right sides is 800~1500 mm, and the top pruning assembly is driven by the top diagonal beam to achieve a vertical height adjustment of up to 500 mm.

2.5.2. Design of Shaping Adjustment Frame

The structure of the shaping adjustment frame is shown in Figure 8. In operation, the horizontal distance of the pruning device is controlled by the above or following adjustment hydraulic cylinder (that is, the horizontal distance between the pruning position and the edge of the tractor). The position of the inner sleeve for the vertical beam relative to the outer sleeve for the vertical beam is adjusted by telescopic lifting of the cylinder, so as to control the pruning height (that is, the height of jujube trees from the ground). The range of lifting cylinder is determined according to the upper limit of pruned jujube tree height (2200 mm). The hinge point of the outer sleeve for the vertical beam is 350 mm above the ground. Considering that the combination method for the inner and outer sleeves for the vertical beam is for sloping when the pruning machine is operating, the designed measuring range of the lifting cylinder is 800 mm, the installation distance is 850 mm, and the adjustment range of the vertical beam height is 1450~2250 mm (that is, the adjustment of jujube pruning height).
To ensure that the horizontal adjustment distance of the pruning machine meets the requirements, the maximum adjustment angle needs to be determined. The adjustment frame was analyzed geometrically. The adjustment frame geometry was simplified to facilitate calculation, as shown in Figure 9. In order to ensure that the pruned jujube branches will not be scratched and pulled by the tractor or that the side pruning assembly EF will not overlap with the outside edge of the tractor, the distance between CD and EF was set to 150 mm. When pruning the maximum diameter of canopies and the highest height of trees, the value of adjustment angle α is the largest. At this time, the above adjustment cylinder has no expansion, and the following adjustment cylinder reaches the maximum expansion state. In order to find the angle α, a triangle ∆OAB is drawn. The length of OB is 2775 mm, which is obtained through the proportion drawing method, and the length of OA and AB are known. The expression for the adjustment angle is established according to the cosine theorem, as shown in Equation (10):
cos α = O A 2 + A B 2 + O B 2 2 O A × A B
As obtained from Equation (10), α ≈ 106.5°. To obtain the geometric relationship between the stretching length of the cylinder x, the original length of the adjusting cylinder l and the installation distance of the cylinder lab, the geometric relationship of the adjustment cylinder was analyzed, as shown in Figure 10.
From the geometric relations, Equations (11) and (12) can be obtained:
{ l b 1 f 1 = l d 1 e 1 = l a 1 d 1 · sin ( 180 ° α ) l c 1 f 1 = l b 1 c 1 l b 1 f 1 l a 1 e 1 = l a 1 d 1 · cos ( 180 ° α ) l d 1 f 1 = l b 1 e 1 = l a b + l a 1 e 1 ( l + x ) 2 = l c 1 f 1 2 + l d 1 f 1 2
{ l b 2 f 2 = l d 2 e 2 = l a 2 d 2 · sin ( 180 ° α ) l c 2 f 2 = l b 2 c 2 l b 2 f 2 l a 2 e 2 = l a 2 d 2 · cos ( 180 ° α ) l d 2 f 2 = l b 2 e 2 = l a b l a 2 e 2 l 2 = l c 2 f 2 2 + l d 2 f 2
After simplified arrangement, the following results can be obtained:
{ l = l a b 2 114 l a b + 778 x = ( l a b + 57 ) 2 + 529 l a b 2 114 l a b + 778
Formula (13) is the relationship between the original length l of the adjustment cylinder, the expansion of the cylinder x and the installation distance of the cylinder lab. Considering the rationality of the space layout, the designed length of lab is 400 mm, the original length l of the cylinder is 340 mm, and the expansion of the cylinder x is 118 mm.

2.6. Field Performance Test

2.6.1. Test Conditions

A field performance test was carried out on the shaping and pruning machine for jujube trees. The test was carried out in the demonstration orchard of dwarf and densely planted jujube trees of Company 12, Alar Farm, Division 1 of Xinjiang Production and Construction Corps, China. The test site had good ground flatness, the soil type was sandy loam, and the variety of jujube tree was junzao. The average row spacing of the jujube trees was 3000 mm, the average height of the trees was 3080 mm, and the average diameter of the canopies was 2372 mm. The test equipment included a tachometer, tape measure, stopwatch, tool set, etc. The performance test of the shaping and pruning machine is shown in Figure 11.

2.6.2. The Evaluation Index

The shaping and pruning machine is mainly for rapid and continuous pruning of jujube branches. Therefore, the missed pruning rate and stubble breakage rate of jujube branches were selected as evaluation indexes to describe the pruning performance of the pruning machine.
The calculation of missed pruning rate for jujube branches is shown in Equation (14):
P 1 =   Z 1   Z × 100 %
where P1 is the missed pruning rate of jujube branches, in %; Z1 is the number of uncut branches in the test area; Z is the total number of branches in the test area.
The stubble breakage rate of jujube branches is calculated as shown in Equation (15):
P 2 =   Z 2   Z × 100 %
where P2 is stubble breakage rate of jujube branches, in %; Z2 is the number of broken stubble branches in the test area.

2.6.3. Quadratic Regression Orthogonal Test

The key component of the shaping and pruning machine for jujube trees designed in this study is the pruning device. The cutting tool is the core part of the pruning device, and its parameters mainly determine the working performance of the pruning machine. On the basis of the bench test of cutting jujube branches with tools carried out earlier, the quadratic regression orthogonal test with three factors and three levels was designed in this study according to test principles of Box-Behnken [41,42,43,44]. According to the actual operational requirements of the shaping and pruning machine for jujube trees and the results of the bench test of cutting jujube branches by cutting tools, the value ranges of the test factors, such as the forward speed of the machine, rotation speed of the cutter, and the diameter of the cutter, were determined [8]. The coding of each factor is shown in Table 3, and the specific test scheme is shown in Table 4.

2.6.4. Parameter Optimization and Field Validation Test

To enable the shaping and pruning machine for jujube trees designed in this study to achieve better shaping and pruning performance, the parameters of the jujube shaping machine were optimized and a field verification test was carried out on the basis of the quadratic regression orthogonal test. Design-Expert 8.0.6.1 data analysis software was used to optimize and solve the problem, and the optimal parameter combination of the three factors of the forward speed of the machine, the rotation speed of the cutter and the diameter of the cutter was obtained. To verify the reliability of the optimized parameters, the optimal parameter combination for the machine was repeated in the field. The test was carried out in a demonstration orchard of dwarf and densely planted jujube trees of Company 12, Alar Farm, Division 1 of Xinjiang Production and Construction Corps. A total of 5 repeated tests were conducted. The field validation test is shown in Figure 12.

3. Results

3.1. Results of the Quadratic Regression Orthogonal Test

The results of the quadratic regression orthogonal test are shown in Table 4.

3.1.1. Analysis of Variance for Test Results

Analysis of variance was conducted in Design-Expert V8.0.6.1 data analysis software [45,46,47]. After removing the non-significant items in the model, a final regression model was obtained, taking the missed shear rate P1 and stubble breakage rate P2 as response functions and each influencing factor as an independent variable. As shown in Equations (16) and (17):
P 1 = 71.489 0.013 X 1 0.365 X 2 + 6.250 X 3 + 2.667 × 10 5 X 1 X 2 + 6.110 × 10 5 X 2 2
P 2 = 58.277 9.720 × 10 3 X 1 0.323 X 2 + 12.179 X 3 + 2.667 × 10 5 X 1 X 2 3.571 × 10 3 X 1 X 3 + 5.260 × 10 4 X 2 2
where, X1 is the rotation speed of the cutter, in r/min; X2 is the diameter of the cutter, in mm; X3 is the forward speed, in m/s; P1 is the missed pruning rate, in %; P2 is the stubble breakage rate, in %.
Analysis of variance was conducted on the pruning test results for the shaping and pruning machine for jujube trees, as shown in Table 5. The result of P < 0.0001 could be obtained from the two regression equations of missed pruning rate P1 and breaking stubble rate P2, indicating that the two regression models were extremely significant. The R2 of the response index was 0.9803 and 0.9722 for missed pruning rate P1 and stubble breakage rate P2, respectively, indicating that the regression model could explain 98.03% and 97.22% of the experimental data variability, respectively. The results proved that the predicted value was highly correlated with the actual value. According to the results of the F test for missed pruning rate: F1 regression = 119.19 > F0.1(5,12) = 2.39, F1 lack of fit = 2.44 < F0.1(7,5) = 3.37, and F test of breaking stubble rate: F2 regression = 64.10 > F0.1(6,11) = 2.39, F2 lack of fit = 1.74 < F0.1(6,5) = 3.40. We concluded that the above two regression equations had a good fitting relationship with the actual situation and had practical significance. According to the regression coefficients of various factors in the models, it could be concluded that the order of significance for influencing the missed pruning rate P1 and stubble breakage rate P2 was X3, X1, X2 and X3, X1, X2, respectively.

3.1.2. Response Surface Analysis

The pruning effect was determined by the missed pruning rate and stubble breakage rate when the machine pruned jujube trees. The response surface diagram was drawn using Design-Expert V8.0.6.1 data analysis software in this paper [48]. In addition, the effects for the interaction of experimental factors on the rates of missed pruning and stubble breakage were analyzed.
According to variance analysis, the interaction between the rotation speed of the cutter X1 and the diameter of the cutter X2 had a significant influence on the missed pruning rate. After excluding the other non-significant interaction factors, the response surface diagram for the influence of significant interaction factors on the missed pruning rate was generated by Design-Expert 8.0.6.1 data analysis software. Figure 13 shows the response surface diagram of the influence of the interaction between rotation speed of the cutter and diameter of the cutter on the missed pruning rate of jujube trees when the forward speed is at the central level (0.65 m/s). Figure 13 shows that the missed pruning rate decreases when the rotation speed of the cutter increases from 1700 r/min to 2300 r/min. When the rotation speed of the cutter was constant, the missed pruning rate first decreased and then increased as the diameter of the cutter increased from 200 mm to 300 mm. Finally, it could be concluded that the influence of the rotation speed of the cutter on the missed pruning rate was more significant.
According to variance analysis, the interaction between the rotation speed of the cutter X1 and the diameter of the cutter X2 as well as the interaction between rotation speed of the cutter X1 and forward speed X3 had significant effects on the stubble breakage rate. After excluding the other non-significant interaction factors, the response surface diagrams of the influence of significant interaction factors on the stubble breakage rate were generated, as shown in Figure 14.
Figure 14a shows the response surface diagram of the influence of the interaction between rotation speed of the cutter and diameter of the cutter on the stubble breakage rate of jujube trees when the forward speed is at the central level (0.65 m/s). It showed that the stubble breakage rate decreased when the rotation speed of the cutter increased from 1700 r/min to 2300 r/min. When the rotation speed of the cutter was constant, the stubble breakage rate first decreased and then increased as the diameter of the cutter increased from 200 mm to 300 mm. It could be concluded that the influence of the rotation speed of the cutter on the stubble breakage rate was more significant. Figure 14b shows the response surface diagram of the influence of the interaction between rotation speed of the cutter and forward speed on the stubble breakage rate of jujube trees when the diameter of the cutter was located at the central level (250 mm). It showed that the stubble breakage rate decreased when the rotation speed of the cutter increased from 1700 r/min to 2300 r/min. When the rotation speed of the cutter was constant, the stubble breakage rate decreased as the forward speed increased from 0.3 m/s mm to 1.0 m/s. Finally, it could be concluded that the influence of the rotation speed of the cutter on the stubble breakage rate was more significant.

3.2. Results of Parameter Optimization and Field Validation Test

3.2.1. Results of Parameter Optimization

To find the optimal combination of factors and parameters in the optimal state of the shaping and pruning machine and obtain better shaping and pruning performance for jujube trees, the missed pruning rate and stubble breakage rate in the interval [5%, 10%] were selected as the optimization targets to optimize the working parameters and structural parameters of the machine. The optimization module in Design-Expert 8.0.6.1 data analysis software was used to solve the two regression equation models (Equations (16) and (17)) with multi-factor optimization. Its objective function and constraint conditions are shown in Equation (18) [8].
{ P 1 ( X 1 , X 2 , X 3 ) [ 5 % , 10 % ] P 2 ( X 1 , X 2 , X 3 ) [ 5 % , 10 % ] s . t . { 1700   r / m i n X 1 2300   r / m i n 200   m m X 2 300   m m 0.3   m / s X 3 1.0   m / s
When the forward speed was set to 0.3 m/s, the response objective function had a coverage area, and the coverage diagram of the optimization for the response objective function was obtained, as shown in Figure 15. The combination with the highest degree of satisfaction was selected as the best parameter combination. The best parameter combination was the rotation speed of the cutter at 2300 r/min, the diameter of the cutter at 250 mm, and the forward speed at 0.3 m/s. In this case, the model predicted the missed pruning rate to be 5.07% and the stubble breakage rate to be 4.61%.

3.2.2. Results of Field Validation Test

The combination of parameters used in the actual operation of the machine was as follows: the rotation speed of the cutter was 2300 r/min, the diameter of the cutter was 250 mm, and the forward speed was 0.3 m/s. A total of five repeated tests were conducted under this optimization scheme, and the averaged results of the five tests were taken as the test results. The test results are shown in Table 6. The results showed that the average missed pruning rate was 5.46%, and the average stubble breakage rate was 5.10%. The relative error between the actual test value and predicted value of the missed pruning rate and stubble breakage rate was 7.69% and 10.63%, respectively. The coefficient of variation of the missed pruning rate and stubble breakage rate was 9.16% and 11.76%, respectively. The results showed that the experimental values of each performance index were in good agreement with the theoretical optimization values, and that the parameter optimization model was reliable. This indicated that the operational performance of the shaping and pruning machine for jujube trees met the design requirements.

4. Discussion

The shaping and pruning machine for jujube trees designed in this study is simple in structure and reasonable in overall layout. The adjustment range of pruning height is 600–2200 mm, and the adjustment range of pruning width is 800–1400 mm. This machine can quickly finish the shaping and pruning of branches on both sides and top of jujube trees in one operation. The rate of missed pruning and stubble breakage were 5.46% and 5.10%, respectively. It can achieve the rapid shaping and pruning of large-scale dwarf and densely planted jujube trees and effectively solve the problems of high labor intensity and low efficiency of manual jujube tree pruning.
In terms of operational efficiency, compared with the knapsack electric pruning machine designed by Ma et al. [19], the pruning machine for jujube trees designed in this study obviously reduced the manual work intensity and improved the pruning efficiency. Compared with foreign-designed pruning machines for citrus trees [14] and olive trees [31] the single-motor reciprocating pruning machine for grape designed by Xinjiang Agricultural University [36], and the mulberry pruning machine designed by Anhui Academy of Agricultural Sciences [39], the shaping and pruning machine designed in this study could quickly complete the shaping and pruning of both sides and top branches of jujube trees in one operation, and its operational efficiency was obviously higher. However, those machines only finished the plastic pruning of a single tree at a time. Compared with the form trimming machine for horticultural plants designed by Li et al. in 2021 [38], this machine had a higher pruning efficiency. It could complete the shaping and pruning of a row of jujube trees in one operation. Meanwhile, the shape of the jujube trees after pruning was uniform, which was convenient for the mechanization of subsequent jujube garden plant protection and harvesting operations and conducive to promoting the full mechanization of jujube garden management. In addition, the design of this machine also took into consideration the agronomic characteristics of jujube hangings on jujube trees and incorporated a removal mechanism for jujube hangings that would remove all jujube hangings on the trees in the process of pruning.
In terms of machine performance, compared with the pruning machine for citrus designed by Huazhong Agricultural University (the maximum missed pruning rate of that machine is 10.1%, and the qualified pruning rate is 88%) [35], the missed pruning rate of branches for the pruning machine designed in this study was reduced by 4.64% and the stubble breakage rate, by 6.9%. Compared with the single-motor reciprocating grape pruning machine designed by Xinjiang Agricultural University in 2020 (it could only prune one side of the grape vine, and it had a net cutting rate of 90.66%, i.e., missed pruning rate of 9.34%) [36], the missed pruning rate was reduced by 3.88%, and the pruning performance and adaptability of this machine was better. Compared with the wide-band combination copying pruning machine designed by Liu et al., Shandong Agricultural Machinery Research Institute (with a missed pruning rate of 7.3% and qualified pruning rate of 90.9%, i.e., a stubble rate of 9.1%) [37], the missed pruning rate for the machine in this study was reduced by 1.84%, and the stubble rate was reduced by 4.2%.
After pruning, only 5.46% of jujube branches were missed, and only 5.10% of pruned branches broke into stubble. The machine can meet the requirements of jujube pruning agronomy and has characteristics of excellent performance and strong robustness. During operation, most of the branches were pruned by the machine and the pruning section was smooth, but only a small fraction of the branches were broken or left as stubble. This was consistent with the bench test results of cutting jujube branches with tools in previous research by our group [8]. The main factors affecting stubble breakage and missed pruning of branches were the rotation speed of the disk cutter, the diameter of the cutter, and the speed of the tractor. Additionally, the variety, shape, branch flexibility and moisture content of jujube trees affected the pruning quality. If the speed of the disc cutter was too slow, it would lead to branch stubble breakage and missed branches, but if the disc cutter speed was too high, it would lead to the burn phenomenon. If the forward speed of the tractor was too slow, it would lead to obvious knife marks in the cut sections, but if the forward speed of the tractor was too fast, it would lead to the branch tearing phenomenon. The results were consistent with those of the pruning machine for citrus designed by Huazhong Agricultural University [35].
On the basis of the research results in this paper, the research group put forward a three-dimensional layered pruning method for jujube trees in the next step, which will improve the ventilation and light transmission inside the tree canopy. This study provides some technical support and reference for the next upgraded design of pruning devices for jujube trees.

5. Conclusions

(1)
Through investigation of dwarf and densely planted jujube gardens in Xinjiang, it was determined that the shapes of the main trunks of jujube trees have become the primary standard for the development of dwarf and densely planted jujube gardens in Xinjiang. Before artificial pruning, the height of the jujube canopy was between 600–1900 mm, and the diameter of the canopy was between 1050–2000 mm. After artificial pruning, the height of jujube canopy was between 400–1600 mm, and the diameter of the canopy was between 800–1400 mm.
(2)
In this study, a shaping and pruning machine for jujube trees was developed to address the difficulties of highly labor-intensive and poorly efficient artificial pruning of dwarf and densely planted jujube trees in Xinjiang. The machine is mainly composed of a pruning device, removal mechanism for jujube hangings, shaping and pruning frame, shaping and adjusting frame, connecting seat, hydraulic system, tractor, etc. The range of height adjustment for the machine is 600–2200 mm, and the range of width adjustment is 800–1400 mm. The designed height of the side pruning assembly is 1600 mm, and the length of the top pruning assembly is 1200 mm. Circular saw blades are used as the cutting tool for the pruning device. The critical speed of the cutting tool to avoid missed cuttings is 1020 r/min according to a theoretical analysis of the process of cutting jujube branches. The structural and operating specifications of the machine, as well as its major components, were determined. This machine can perform rapid shaping and pruning of large-scale dwarf and densely planted jujube trees.
(3)
A quadratic regression orthogonal test with three factors and three levels was designed according to the test principle of Box-Behnken with the machine forward speed, cutter rotation speed, and cutter diameter as influencing factors, and the missed pruning rate and stubble breakage rate as evaluation indexes. The experimental results were optimized by Design-Expert V8.0.6.1 software, and the optimal parameter combination was obtained as follows: The rotation speed of the cutter was 2300 r/min, the diameter of the cutter was 250 mm, and the forward speed was 0.3 m/s. The predicted missed pruning rate and stubble breakage rate of the model were 5.07% and 4.61%, respectively.
(4)
The field validation test was carried out according to the optimal parameter combination. The results showed that the average missed pruning rate was 5.46% and the average stubble breakage rate was 5.10%. The relative error between the actual test values and the predicted value of the missed pruning rate and the stubble breakage rate were 7.69% and 10.63%, respectively. The coefficients of variation for the missed pruning rate and stubble breakage rate were 9.16% and 11.76%, respectively. The results indicated that the operational performance of the shaping and pruning machine for jujube trees met the design requirements.

6. Patents

A patent application has been filed in China for the shaping and pruning trimmer reported in this paper (Patent No. CN206895293U).

Author Contributions

Conceptualization, B.Z. and Y.L.; Data curation, Y.L. and H.Z.; Formal analysis, B.Z. and Y.L.; Funding acquisition, W.F. and C.S.; Investigation, B.Z., Y.L. and H.Z.; Methodology, B.Z. and Y.L.; Project administration, W.F. and C.S.; Resources, W.F. and C.S.; Software, B.Z. and H.Z.; Supervision, W.F.; Validation, B.Z., W.F., Y.L., H.Z. and C.S.; Visualization, B.Z. and C.S.; Writing—original draft, B.Z. and H.Z.; Writing—review and editing, B.Z. and W.F. All authors have read and agreed to the published version of the manuscript.

Funding

This work was supported by the National Natural Science Foundation of China (NSFC), No. 51765058, Regional Innovation Guidance Project of the Xinjiang Production and Construction Group (No.2021BB020), and Scientific and Technological Innovation Talents Program of the Xinjiang Production and Construction Group (No.2020CB008).

Institutional Review Board Statement

Not applicable.

Informed Consent Statement

Not applicable.

Data Availability Statement

All data are presented in this article in the form of figures and tables.

Acknowledgments

The authors would like to thank their schools and colleges, as well as the funders of the project. All support and assistance are sincerely appreciated. Additionally, we sincerely appreciate the work of the editor and the reviewers of the present paper.

Conflicts of Interest

The authors declare no conflict of interest.

References

  1. Pan, J.B.; Ding, K.; Fu, W.; Zhang, Z.Y.; Zhang, B.C.; Lou, Z.X. Optimal design and test of airflow distribution device of air-blowing ground jujube picker. Int. Agric. Eng. J. 2019, 28, 164–172. [Google Scholar]
  2. Qu, Y.Y. Effects of Water-Saving Irrigation on Yield and Quality of Red Jujube in Semi-Arid Mountainous Areas of Northern Shanxi. Master’s Thesis, Northwest A&F University, Yulin, China, 2019. [Google Scholar]
  3. Fu, W.; Zhang, Z.Y.; Ding, K.; Cao, W.B.; Kan, Z.; Pan, J.B.; Liu, Y.D. Design and test of 4ZZ-4A2 full-hydraulic self-propelled jujube harvester. Int. J. Agric. Biol. Eng. 2018, 11, 104–110. [Google Scholar] [CrossRef]
  4. Liu, J.A.; Liu, L.H. Current Situation and Countermeasures of Jujube Industry in China. For. Econ. 2018, 40, 57–59. [Google Scholar]
  5. Lei, S.B.; Ding, L.P.; Li, J.B.; Ayiken, Y. Study on Bending and Compression Characteristics of Pruning Branches of Jujube. J. Agric. Mech. Res. 2022, 44, 198–203. [Google Scholar]
  6. Gao, W.H.; Han, R. Xinjiang Statistical Yearbook; China Statistics Press: Beijing, China, 2020. [Google Scholar]
  7. Ge, Y.; Fang, J.; Wang, S.L.; Liu, R.; Chen, Z.Y. Status of Mechanized Pruning Techniques Zaoyuan Close Planting Dwarf. J. Agric. Mech. Res. 2013, 35, 249–252. [Google Scholar]
  8. Zhang, B.; Fu, W.; Wang, X.F.; Lou, Z.X.; Liu, Y.D.; Fu, Y.X.; Chen, Y.Y. Bench test and parameter optimization of jujube pruning tools. IAEJ 2020, 29, 58–68. [Google Scholar]
  9. Liu, Y.D.; Pan, J.B.; Chen, Y.Y.; Zhang, Z.Y.; Fu, W. Design and Finite Element Analysis of the Connecting Seat Jujube Pruning Machine. J. Chin. Agric. Mech. 2018, 40, 29–33. [Google Scholar]
  10. Shen, M.R.; Luo, P.Z.; Lin, S.Y. Orchard Machinery; Shanghai Science and Technology Press: Shanghai, China, 1983. [Google Scholar]
  11. Jensen, F.; Christensen, L.; Beede, R.; Leavitt, G. Effects of mechanical pruning on grapes. Calif. Agric. 1980, 34, 33–34. [Google Scholar]
  12. Giametta, G.; Zimbalatti, G. Mechanical pruning in new olive-groves. J. Agric. Eng. Res. 1997, 68, 15–20. [Google Scholar] [CrossRef]
  13. Vivaldi, G.A.; Strippoli, G.; Pascuzzi, S.; Stellacci, A.M.; Camposeo, S. Olive genotypes cultivated in an adult high-density orchard respond differently to canopy restraining by mechanical and manual pruning. Sci. Hortic. 2015, 192, 391–399. [Google Scholar] [CrossRef]
  14. Velazquez, M.B.; Gonzalez, E.F. The influence of mechanical pruning in cost reduction, production of fruit, and biomass waste in citrus orchards. Appl. Eng. Agric. 2010, 26, 531–540. [Google Scholar] [CrossRef]
  15. Fan, X.; Zhang, H.; Li, C.; Meng, W. The Development of the Pneumatic Cutting Machine Used in a Dwarf Dense Planting Jujube Garden. J. Shandong Agric. Univ. 2014, 45, 694–697. [Google Scholar]
  16. Li, S.G.; Kang, F.; Li, W.B.; Zhou, S.Z.; Han, X.M. Progress advance on pruning mechanization and automation of fruit trees. J. Northeast Agric. Univ. 2017, 48, 88–96. [Google Scholar]
  17. Yang, Z.; Guo, X.L.; Wang, L.Y.; Wu, L.J.; Chen, L.B. Review on electric pruning equipments and technology in orchard. J. Fruit Sci. 2015, 32, 712–719. [Google Scholar]
  18. Wu, L.J.; Yang, Z.; Wang, W.Z.; Wang, L.Y. Application and Development of Pneumatic Pruning Machine for Fruit Trees. Modern Agric. Equip. 2013, 202, 54–57. [Google Scholar]
  19. Ma, P.Y.; Li, S.J.; Zhang, Y.L.; Gu, Y.; Zhang, Z.Y.; Liu, H.; Zhang, C.; Li, J. Design and test of a knapsack electric fruit branch trimmer. J. Huazhong Agric. Univ. 2019, 38, 127–133. [Google Scholar]
  20. Chueca, P.; Mateu, G.; Garcerá, C.; Fonte, A.; Ortiz, C.; Torregrosa, A. Yield and Economic Results of Different Mechanical Pruning Strategies on ‘Navel Foyos’ Oranges in the Mediterranean Area. Agriculture 2021, 11, 82. [Google Scholar] [CrossRef]
  21. Ottanelli, A.; Marone, E.; Fiorino, P. A new device to improve the mechanical winter pruning in olive trees hedgerows. Adv. Hortic. Sci. 2019, 33, 113–122. [Google Scholar]
  22. Wu, L.; Yang, Z.; Duan, J.; Wang, L.; Wang, W.; Liu, J.; Wang, L. Experiment on influencing factors of cutting force of blades of trim tool for longan branch. Trans. Chin. Soc. Agric. Eng. 2012, 28, 8–14. [Google Scholar]
  23. Sun, J.F.; Huo, D.F.; Li, B.; Xing, K.F.; Wang, W.Q.; Yang, Z. Wear Performance of Electric Pruning Scissors Based on Bionic Micro-structure. Trans. Chin. Soc. Agric. Mach. 2020, 51, 593–602. [Google Scholar]
  24. Ding, S.M.; Xue, X.Y.; Cai, C.; Cui, L.F.; Chen, C. Optimization and experiment of blade parameter for pear branches cutting device. Trans. Chin. Soc. Agric. Eng. 2015, 31, 75–82. [Google Scholar]
  25. Luo, H.F.; Tang, C.Z.; Zou, D.S.; Li, S.C.; Wu, W.G.; Zou, Y.M. Experiment on reciprocating cutting of eulaliopsis binata stem. Trans. Chin. Soc. Agric. Eng. 2012, 28, 13–17. [Google Scholar]
  26. He, L.; Schupp, J. Sensing and Automation in Pruning of Apple Trees: A Review. Agronomy 2018, 8, 211. [Google Scholar] [CrossRef] [Green Version]
  27. Fu, W.; Liu, Y.D.; Kan, Z.; Pan, J.B.; Cui, J.; Zhang, H.M. The Situation and Expectation of Fruit Tree Pruning Machine. J. Agric. Mech. Res. 2017, 39, 7–11. [Google Scholar]
  28. Xue, C.L.; Li, J.P.; Huo, P.; Bian, Y.L.; Li, X.H. Simulation and test of hydraulic system of reciprocating grape leaf trimmer. J. Hebei Agric. Univ. 2021, 44, 100–106. [Google Scholar]
  29. Moore, P.W. Mechanical pruning for citrus. Calif. Agric. 1958, 11, 7–10. [Google Scholar]
  30. Poni, S.; Tombesi, S.; Palliotti, A.; Ughini, V.; Gatti, M. Mechanical winter pruning of grapevine: Physiological bases and applications. Sci. Hortic. 2016, 204, 88–98. [Google Scholar] [CrossRef]
  31. Spinelli, R.; Magagnotti, N.; Nati, C.; Cantini, C.; Sani, G.; Picchi, G.; Biocca, M. Integrating olive grove maintenance and energy biomass recovery with a single-pass pruning and harvesting machine. Biomass Bioenergy 2011, 35, 808–813. [Google Scholar] [CrossRef]
  32. Long, K. Design and Experimental Research on Reciprocating Vines Pruning Machine. Master’s Thesis, Xinjiang Agricultural University, Urumqi, China, 2014. [Google Scholar]
  33. Wang, Z.; Wang, L.H.; Fu, W.; Jiang, Y.L.; Kan, Z.; Li, C.S. The Design of the Wine Grape Trimming Device. J. Northeast Agric. Univ. 2017, 39, 105–110. [Google Scholar]
  34. Zhang, D.X.; Min, L.Q.; Li, Q.J.; Liu, X.F.; Ren, D.M.; Zhang, C.Y.; Liang, R.Q. Design of PJS-1 Two-flank Type Grapevine Pruning Machine. Agric. Equip. Veh. Eng. 2016, 54, 77–81. [Google Scholar]
  35. Chang, J.X.; Zhang, Y.L.; Li, S.J.; Zhang, W.; Ma, P.Y. Design of citrus trimmer with bilateral and neat trim. J. Huazhong Agric. Univ. 2019, 38, 104–111. [Google Scholar]
  36. Zhang, J.X.; Huang, T.; Wang, M.B. Design and Experiment of Single Motor Reciprocating Grape Pruning Machine. Trans. Chin. Soc. Agric. Mach. 2021, 52, 106–116. [Google Scholar]
  37. Liu, X.C.; Liu, X.F.; Zhang, L.F.; Min, L.Q.; Chu, Y.H.; Ren, D.M. Design and research of wide band combination copying prune machine for new orchard. J. Chin. Agric. Mech. 2020, 41, 65–71. [Google Scholar]
  38. Li, M.; Ma, L.; Zong, W.; Luo, C.; Huang, M.; Song, Y. Design and Experimental Evaluation of a Form Trimming Machine for Horticultural Plants. Appl. Sci. 2021, 11, 2230. [Google Scholar] [CrossRef]
  39. Liu, J.; Deng, Y.J.; Wang, C.; Dai, J.J.; Zhao, P.; Shu, R.; Liu, Z. Design and Test of a Self-propelled Bilateral Mulberry Pruner. J. Chin. Agric. Mech. 2021, 43, 105–110+120. [Google Scholar]
  40. Cui, J. The Design and Experimental Research of Jujube Harvest Device Based on Self-Excited Vibration and Force Compensation. Master’s Thesis, Shihezi University, Shihezi, China, 2017. [Google Scholar]
  41. Zhen, J. Design of Experiments and Data Analysis; South China University of Technology Press: Guangzhou, China, 2016. [Google Scholar]
  42. Huang, M.S.; Shi, L.; Zhang, Y.T.; Chen, C.L.; Sun, Y.F.; Xie, Q.; Kong, F.T. Optimization experiments of machine-mounted seed cotton pre-treatment apparatus for cotton stripper harvester. Trans. Chin. Soc. Agric. Eng. 2016, 32, 21–29. [Google Scholar]
  43. Yang, S.M.; Chen, X.G.; Yan, L.M.; Mo, Y.S.; Jiang, D.L.; Zhang, H.M. Design and Experiment on Belt-type Curl-up Film Device for Residual Plastic Film Recycling Machine. Trans. Chin. Soc. Agric. Mach. 2021, 52, 135–144. [Google Scholar]
  44. Huang, T. Design and Test of Reciprocating Grape Pruning Machine. Master’s Thesis, Xinjiang Agricultural University, Urumqi, China, 2021. [Google Scholar]
  45. Xin, Y.J. Analysis of Variance and Experimental Design; China Financial and Economic Publishing House: Beijing, China, 2001. [Google Scholar]
  46. Ge, Y.; Zhang, L.X.; Gu, J.W.; Fu, W.; Zhu, R.G.; Zhang, H.M. Parameter optimization and experiment of dual roller harvesting device for safflower. Trans. Chin. Soc. Agric. Eng. 2015, 31, 35–42. [Google Scholar]
  47. Han, H.M.; Zhou, Y.; Jia, S.X.; Cai, W.L.; Wen, X.Y. Design of Summer Wine Grape Pruning Machine. J. Chin. Agric. Mech. 2020, 42, 81–86+92. [Google Scholar]
  48. Liu, Y.; Zhou, Y.; Lv, W.; Huang, H.D.; Zhang, G.Z.; Tu, M.; Huang, L. Design and Experiment of Hydraulic Scouring System of Wide-Width Lotus Root Digging Machine. Agriculture 2021, 11, 1110. [Google Scholar] [CrossRef]
Figure 1. Image and schematic diagram of planting mode and pruning requirements for jujube trees. (a) Planting modes. (b) Growth information.
Figure 1. Image and schematic diagram of planting mode and pruning requirements for jujube trees. (a) Planting modes. (b) Growth information.
Applsci 12 02699 g001
Figure 2. Pruning machine for jujube trees. (1) Side pruning assembly. (2) Top pruning assembly. (3) Shaping and pruning frame. (4) Shaping and adjusting frame. (5) Removal mechanism for jujube hangings. (6) Connecting seat. (7) Tractor. (8) Hydraulic system.
Figure 2. Pruning machine for jujube trees. (1) Side pruning assembly. (2) Top pruning assembly. (3) Shaping and pruning frame. (4) Shaping and adjusting frame. (5) Removal mechanism for jujube hangings. (6) Connecting seat. (7) Tractor. (8) Hydraulic system.
Applsci 12 02699 g002
Figure 3. Schematic diagrams of pruning device structure. (1) Supporting rod. (2) Circular saw blades. (3) Guard plate for pruning. (4) Hydraulic motor. (5) Synchronous belt drive mechanism. (6) Cutter shaft. (a) Side pruning assembly. (b) Top pruning assembly.
Figure 3. Schematic diagrams of pruning device structure. (1) Supporting rod. (2) Circular saw blades. (3) Guard plate for pruning. (4) Hydraulic motor. (5) Synchronous belt drive mechanism. (6) Cutter shaft. (a) Side pruning assembly. (b) Top pruning assembly.
Applsci 12 02699 g003
Figure 4. Path of cutter motion.
Figure 4. Path of cutter motion.
Applsci 12 02699 g004
Figure 5. Schematic diagrams of removal mechanism for jujube hangings. (1) Vertical beam. (2) Fixed connection seat. (3) Crossbeam. (4) Hydraulic motor. (5) Roller. (6) Dial rod. (7) Angle regulator. (a) Main view. (b) Top view.
Figure 5. Schematic diagrams of removal mechanism for jujube hangings. (1) Vertical beam. (2) Fixed connection seat. (3) Crossbeam. (4) Hydraulic motor. (5) Roller. (6) Dial rod. (7) Angle regulator. (a) Main view. (b) Top view.
Applsci 12 02699 g005
Figure 6. Movement track of dial rod.
Figure 6. Movement track of dial rod.
Applsci 12 02699 g006
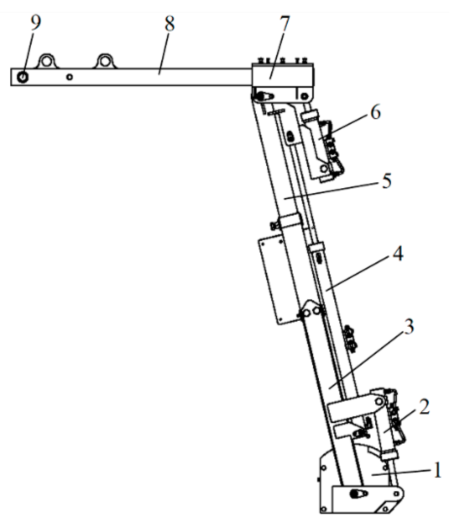
Figure 7. Schematic diagram of shaping and pruning frame structure. (1) Left connecting seat for side pruning assembly. (2) Long vertical beam. (3) Crossbeam for pruning frame. (4) Crossbeam for adjustment frame. (5) Swinging cylinder. (6) Connecting seat for shaping and pruning frame. (7) Fixing sleeve for oblique beam. (8) Top pruning diagonal beam. (9) Connecting seat for top pruning assembly. (10) Fixing sleeve for frame beam. (11) Right connecting seat for side pruning assembly.
Figure 7. Schematic diagram of shaping and pruning frame structure. (1) Left connecting seat for side pruning assembly. (2) Long vertical beam. (3) Crossbeam for pruning frame. (4) Crossbeam for adjustment frame. (5) Swinging cylinder. (6) Connecting seat for shaping and pruning frame. (7) Fixing sleeve for oblique beam. (8) Top pruning diagonal beam. (9) Connecting seat for top pruning assembly. (10) Fixing sleeve for frame beam. (11) Right connecting seat for side pruning assembly.
Applsci 12 02699 g007
Figure 8. Structural diagram of shaping adjustment frame. (1) Fixed base for adjustment frame. (2) Following adjustment cylinder. (3) Outer sleeve for vertical beam. (4) Lifting hydraulic cylinder. (5) Inner sleeve of vertical beam. (6) Above adjustment cylinder. (7) Crossbeam locking assembly. (8) Crossbeam for adjustment frame. (9) Mounting holes for shaping and pruning frame.
Figure 8. Structural diagram of shaping adjustment frame. (1) Fixed base for adjustment frame. (2) Following adjustment cylinder. (3) Outer sleeve for vertical beam. (4) Lifting hydraulic cylinder. (5) Inner sleeve of vertical beam. (6) Above adjustment cylinder. (7) Crossbeam locking assembly. (8) Crossbeam for adjustment frame. (9) Mounting holes for shaping and pruning frame.
Applsci 12 02699 g008
Figure 9. Geometric diagram of adjustment frame. Note: OA stands for the adjustment range of vertical beam height, which is 1450~2250 mm; AB represents the beam, which is 1100 mm in length; OG is the height between the hinge point of the outer sleeve for the vertical beam and the ground, 350 mm; OC is the distance from the outer edge of the tractor near the side pruning assembly to the hinge point of the outer sleeve for the vertical beam, and its length is 900 mm; CD is the outer edge of the tractor; GH is ground; EF is the outer contour of the maximum pruning position at which the side pruning assembly is located (i.e., the crown radius of the trim is 700 mm); α is the maximum adjustment angle of the adjustment frame.
Figure 9. Geometric diagram of adjustment frame. Note: OA stands for the adjustment range of vertical beam height, which is 1450~2250 mm; AB represents the beam, which is 1100 mm in length; OG is the height between the hinge point of the outer sleeve for the vertical beam and the ground, 350 mm; OC is the distance from the outer edge of the tractor near the side pruning assembly to the hinge point of the outer sleeve for the vertical beam, and its length is 900 mm; CD is the outer edge of the tractor; GH is ground; EF is the outer contour of the maximum pruning position at which the side pruning assembly is located (i.e., the crown radius of the trim is 700 mm); α is the maximum adjustment angle of the adjustment frame.
Applsci 12 02699 g009
Figure 10. Schematic diagrams of the geometric relationship for adjustment cylinder. (a) Structure of adjustment cylinder. (b) Geometric relationship for adjustment cylinder. Note: lc1d1 is maximum expansion of cylinder, lc2d2 is the length of cylinder without expansion, x is the expansion of adjustment cylinder, lc1d1, lc1d1, lc1d1 and lc1d1 are auxiliary lines. The corresponding values are as follows: lad = la1d1 = la2d2 = 200 mm, lbc = lb1c1 = lb2c2 = 215 mm, lab = la1b1 = la2b2, lc1d1 = lc2d2 + x, ld1e1 = lb1f1, lb1e1 = ld1f1, ld2e2 = lb2f2, lb2e2 = ld2f2.
Figure 10. Schematic diagrams of the geometric relationship for adjustment cylinder. (a) Structure of adjustment cylinder. (b) Geometric relationship for adjustment cylinder. Note: lc1d1 is maximum expansion of cylinder, lc2d2 is the length of cylinder without expansion, x is the expansion of adjustment cylinder, lc1d1, lc1d1, lc1d1 and lc1d1 are auxiliary lines. The corresponding values are as follows: lad = la1d1 = la2d2 = 200 mm, lbc = lb1c1 = lb2c2 = 215 mm, lab = la1b1 = la2b2, lc1d1 = lc2d2 + x, ld1e1 = lb1f1, lb1e1 = ld1f1, ld2e2 = lb2f2, lb2e2 = ld2f2.
Applsci 12 02699 g010
Figure 11. Performance test of shaping and pruning machine.
Figure 11. Performance test of shaping and pruning machine.
Applsci 12 02699 g011
Figure 12. Field validation test.
Figure 12. Field validation test.
Applsci 12 02699 g012
Figure 13. Response surface diagram of the influence of significant interaction factors on the missed pruning rate.
Figure 13. Response surface diagram of the influence of significant interaction factors on the missed pruning rate.
Applsci 12 02699 g013
Figure 14. Response surface diagrams of influence of significant interaction factors on stubble breakage rate. (a) X3 = 0.65 m/s; (b) X2 = 250 mm.
Figure 14. Response surface diagrams of influence of significant interaction factors on stubble breakage rate. (a) X3 = 0.65 m/s; (b) X2 = 250 mm.
Applsci 12 02699 g014
Figure 15. Coverage graph of optimization for response objective function.
Figure 15. Coverage graph of optimization for response objective function.
Applsci 12 02699 g015
Table 1. Growth information parameters before and after artificial pruning of jujube tree.
Table 1. Growth information parameters before and after artificial pruning of jujube tree.
StateThe Height of the Tree (mm)The Height of the Canopy (mm)The Height of the Canopy above the Ground (mm)The Diameter of the Canopy (mm)
Before artificial pruning1200~2500600~1900600~8001050~2000
After artificial pruning800~2250400~1600800~1400
Table 2. Main technical parameters of shaping and pruning machine for jujube trees.
Table 2. Main technical parameters of shaping and pruning machine for jujube trees.
ParametersValue
Corresponding power (kW)≥45
Rotation speed of cutter (r/min)1700~2300
Adjustment range of pruning height (mm)600~2200
Adjustment range of pruning width (mm)800~1400
Size of pruning device (Length × width × height) (mm)1700 × 500 × 1800
Weight of overall machine (kg)450
Table 3. Coding of test factors.
Table 3. Coding of test factors.
CodingTest Factors
Rotation Speed of Cutter X1/(r/min)Diameter of Cutter X2/(mm)Forward Speed X3/(m/s)
123003001.0
020002500.65
−117002000.3
Table 4. Tests plan and results.
Table 4. Tests plan and results.
No.Test FactorsMissed Pruning Rate P1/%Stubble Breakage Rate P2/%
X1X2X3
1−1−1013.811.4
21−109.07.6
3−11012.19.6
41108.97.4
5−10−18.77.2
610−15.34.5
7−10114.111.9
81019.57.7
90−1−18.87.4
1001−18.57.2
110−1112.710.6
1201112.510.2
130008.87.5
140009.07.2
150009.27.1
160009.68.0
170009.17.6
180009.37.4
Table 5. Variance analysis table of regression models.
Table 5. Variance analysis table of regression models.
Evaluation IndexesDifference SourceSum of SquaresDegree of FreedomMean SquareF ValueP Value
Missed pruning rate P1/%Model81.95516.39119.19<0.0001
Residual1.65120.14
Lack of Fit1.2870.182.440.1713
Pure Error0.3750.075
Stubble breakage rate P2/%Model55.3969.2364.10<0.0001
Residual1.58110.14
Lack of Fit1.0760.181.740.2803
Pure Error0.5150.10
Table 6. Results of field test.
Table 6. Results of field test.
IndexMaxMinAvg.S.D.C.V.
Missed pruning rate/%6.24.85.460.509.16
Stubble breakage rate/%5.84.25.100.6011.76
Publisher’s Note: MDPI stays neutral with regard to jurisdictional claims in published maps and institutional affiliations.

Share and Cite

MDPI and ACS Style

Zhang, B.; Liu, Y.; Zhang, H.; Shen, C.; Fu, W. Design and Evaluation of a Shaping and Pruning Machine for Dwarf and Densely Planted Jujube Trees. Appl. Sci. 2022, 12, 2699. https://doi.org/10.3390/app12052699

AMA Style

Zhang B, Liu Y, Zhang H, Shen C, Fu W. Design and Evaluation of a Shaping and Pruning Machine for Dwarf and Densely Planted Jujube Trees. Applied Sciences. 2022; 12(5):2699. https://doi.org/10.3390/app12052699

Chicago/Turabian Style

Zhang, Bin, Yudong Liu, Huiming Zhang, Congju Shen, and Wei Fu. 2022. "Design and Evaluation of a Shaping and Pruning Machine for Dwarf and Densely Planted Jujube Trees" Applied Sciences 12, no. 5: 2699. https://doi.org/10.3390/app12052699

APA Style

Zhang, B., Liu, Y., Zhang, H., Shen, C., & Fu, W. (2022). Design and Evaluation of a Shaping and Pruning Machine for Dwarf and Densely Planted Jujube Trees. Applied Sciences, 12(5), 2699. https://doi.org/10.3390/app12052699

Note that from the first issue of 2016, this journal uses article numbers instead of page numbers. See further details here.

Article Metrics

Back to TopTop