Attitude Error and Contact Influencing Characteristic Analysis for a Composite Docking Test Platform
Abstract
:1. Introduction
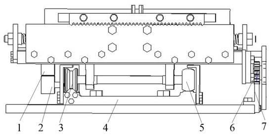
2. Configuring the Composite Docking Test Platform
3. Analysis of the Composite Docking Test Platform
3.1. Analyzing the Space Docking Process
3.2. Attitude Error Analysis and Modeling
3.2.1. Attitude Angle Error Analysis and Modeling
3.2.2. Displacement Error Analysis and Modeling of the Double-Deck Sliding Platform
4. Dynamic Analysis of the Docking Process
4.1. Contact Impact Analysis of the Docking Process
4.1.1. Modeling Contact Torque
4.1.2. Modeling Impacting Force
4.2. Dynamic Model and Simulation Analysis of the Docking Process
5. Testing Method and Experimental Research on Physical Prototype of the Docking Mechanism
6. Discussion
- The buffer mechanics test of the docking mechanism needs to be improved. In order to more effectively ensure the reliability of the docking mechanism, it is necessary to deeply analyze the dynamic characteristics of the buffering process to further verify the correctness of the established attitude kinematics and dynamic models; at the same time, the collision angle only considers the frontal and oblique collisions, and does not consider whether the collision in space, that is, the collision of the three axes of XYZ with a certain inclination angle will affect the stability of the entire mechanism;
- At present, only the static analysis of the hook claw is carried out, and the dynamic analysis should be carried out in the follow-up work to fully reflect the transient deformation under force. In the low temperature of space and the change of the material in the vacuum environment, the change of the material should also be considered, and the structure will not be affected. It will cause embrittlement or even breakage due to ultra-low temperature. Should the flexible grasping robot hand be taken into consideration?
- The research on the joint simulation experiment method in the simulated space vacuum environment still needs to be explored. The fact that no one is now operating the docking, signal transmission, whether the space robot will cause attitude deviation due to delay after receiving the signal, and how to correct the deviation are all connected. These are future things to consider.
7. Conclusions
Author Contributions
Funding
Institutional Review Board Statement
Informed Consent Statement
Data Availability Statement
Conflicts of Interest
References
- Sun, L.; Jiang, J.J. Saturated adaptive relative motion coordination of docking ports in space close-range rendezvous. IEEE Trans. Aero. Elec. Syst. 2020, 6, 4889–4898. [Google Scholar] [CrossRef]
- Murtazin, R.; Sevastiyanov, N.; Chudinov, N. Fast rendezvous profile evolution: From ISS to lunar station. Acta Astronaut. 2020, 173, 139–144. [Google Scholar] [CrossRef]
- Wei, Z.T.; We, H.; Hu, H.Y.; Jin, D.P. Ground experiment on rendezvous and docking with a spinning target using multistage control strategy. Aerosp. Sci. Technol. 2020, 104, 105967. [Google Scholar] [CrossRef]
- Walter, F.T.; Michael, G.H.; James, L. Autonomous and autonomic systems: A para-digm for future space exploration missions. IEEE Trans. Syst. Cybern. Part C Appl. Rev. 2006, 3, 279–291. [Google Scholar]
- Boesso, A.; Francesconi, A. ARCADE small-scale docking mechanism for micro-satellites. Acta Astronaut. 2013, 86, 77–87. [Google Scholar] [CrossRef]
- Branz, F.; Olivieri, L.; Sansone, F.; Francesconi, A. Miniature docking mechanism for CubeSats. Acta Astronaut. 2020, 176, 510–519. [Google Scholar] [CrossRef]
- Xu, Y.; Shao, X. Design of cone rod docking mechanism for intelligent micro nano satellite station. Shanghai Aerosp. 2009, 1, 43–47. [Google Scholar] [CrossRef]
- Jiang, S.; Yan, X. Virtual prototyping technology and its application prospect in China. Machinery 2003, 30, 4–9. [Google Scholar]
- Shen, C.; Liu, X.; Sheng, L. Research progress and development trend of virtual prototyping technology. Res. Agric. Mech. 2008, 234–236. [Google Scholar]
- Schweiger, M. Space Flight Simulator 2006 Edition User Manual. 2006. Available online: http://orbit.medphys.ucl.ac.uk/download/Orbiter.pdf (accessed on 25 August 2010).
- Philip, N.K.; Thasyanam, M.R. Relative position and attitude estimation and control schemes for the final phase of an autonomous docking mission of spacecraft. Acta Astronaut. 2003, 52, 511–522. [Google Scholar] [CrossRef]
- Ma, Y. Dynamic simulation of virtual prototype of spacecraft deployment mechanism. Chin. Acad. Sci. 2006, 25–32. [Google Scholar]
- Lu, Q.C.; Shao, X.W.; Duan, D.P. Design of collision triggered non cooperative target docking capture mechanism. Shanghai Aerosp. 2013, 30, 7–12. [Google Scholar]
- Yu, W.; Wang, W. Design and analysis of grasping docking mechanism. Robot 2010, 32, 233–240. [Google Scholar] [CrossRef]
- Lai, Y.; Zhao, M. Research on Key Technologies of Ground Six Degree of Freedom Test Bench for Small Satellite Docking Mechanism; Harbin University of Technology: Harbin, China, 2011; pp. 10–11. [Google Scholar]
- Zhang, C. Parameter calculation of spring buffer limiter in photoelectric tracking equipment. J. Chang. Univ. Technol. 2012, 35, 31–32. [Google Scholar]
- Xie, W.; Cai, Y.; Li, Y. Research on standardized design criteria for module interface of on orbit service spacecraft. Aerosp. Control. 2010, 28, 49–52. [Google Scholar]
- Zhang, Y. On orbit replaceable module mechanism and structure design of spacecraft. Shenyang J. Aeronaut. Astronaut. 2014, 311, 72–76. [Google Scholar]
- Richards, M.G.; Springmann, P.N.; Mcvey, M.E. Assessing the Challenges to a Geosynchronous Space Tug System. In Proceedings of the Conference on Modeling, Simulation, and Verification of Space-based System II, Orlando, FL, USA, 31 March 2005; Massachusetts Institute of Technology: Cambridge, MA, USA, 2010. [Google Scholar]
- Khullar, S. Siddharth Khullar—Massachusetts Institute of Technology. Available online: www.siddharthkhullar.net (accessed on 12 June 2013).
- Zhang, C. Spacecraft space docking mechanism technology. Chin. Sci. 2014, 44, 20–26. [Google Scholar] [CrossRef]
- Zhou, J. Manned space rendezvous and docking technology. Manned Space 2011, 6, 1–4. [Google Scholar]
- Zhu, R. Comparative study on Chinese and foreign rendezvous and docking technology. Spacecr. Eng. 2013, 22, 8–15. [Google Scholar]
- Du, H. Research on the design of large tolerance space cooperative target acquisition and docking device. Mech. Des. Manuf. 2013, 2, 12–15. [Google Scholar]
- Ding, H.; Hu, J.; Lin, J.; Jiang, W.; Zhang, H.; Wang, D. Research on modal characteristics of torque measuring device, a key component of space docking mechanism. J. China Univ. Metrol. 2022, 33, 7–14. [Google Scholar]
- Chen, C.; Wang, J.; Chen, J.; Cui, J.; Huo, W.; Jiang, A. Analysis of transfer power of space weak impact docking mechanism. Mech. Electron. 2020, 38, 3–8. [Google Scholar]
- Lin, Q. Research on space rendezvous and docking simulation technology. J. Equip. Command. Technol. Coll. 2008, 19, 53–57. [Google Scholar]
- Fehse, W. Automated Rendezvous and Docking of Spacecraft; Cambridge University Press: Cambridge, UK, 2003; pp. 40–41. [Google Scholar]
- Motaghedi, P. On-Orbit Performance of the Orbital Express Capture System; SPIE69580E; Society of Photo-Optical Instrumentation Engineers: Albuquerque, NM, USA, 2008. [Google Scholar]
- Rodgers, L.P. Concepts and Technology Development forthe Autonomous Assembly and Reconfiguration of Modular Space Systems; Massachusetts Institute of Technology: Cambridge, MA, USA, 2006. [Google Scholar]
- Adam, L.G.; Lynda, R.E.; James, A.E. Space Shuttle Orbiter Structures & Mechanisms. In Proceedings of the AIAA SPACE 2011 Conference & Exposition, Long Beach, CA, USA, 27–29 September 2011; pp. 3–22. [Google Scholar]
- Evans, J.W. Autonomous Rendezvous Guidance and Navigation for Orbital Express and Beyond. In Proceedings of the 16th AAS/AIAA Space Flight Mechanics Conference; AAS Publications Office: Tampa, FL, USA, 2006. [Google Scholar]
- Nilson, T.; Christiansen, S. Docking system for autonomous, un-manned docking operations. In Proceedings of the 2008 IEEE Aerospace Conference, Big Sky, MT, USA, 1–8 March 2008; pp. 2770–2783. [Google Scholar]
- ESA. 50 Science Mission Proposals. 2007. Available online: http://www.esa.int (accessed on 16 October 2022).
- Geng, Y. Gaze Observation Mission Planning and Optimal Attitude Control of Agile Spacecraft; Harbin Institute of Technology: Harbin, China, 2021. [Google Scholar] [CrossRef]
- Li, X. Research on Spacecraft Orbit Configuration and Autonomous Rendezvous and Docking Control Method; Harbin Institute of Technology: Harbin, China, 2018. [Google Scholar]
- Wang, M. Research on Attitude Control of Space Robot after Target Capture; Northwest University of Technology: Xi’an, China, 2015. [Google Scholar]
- Huang, C.; Chen, X.; Wang, Y. Rendezvous and docking simulation and attitude tracking control based on air bearing platform. Chin. J. Inert. Technol. 2015, 23, 831–836. [Google Scholar]
- Qu, Z.; Ye, Z. Research on error modeling of 9-DOF motion system. In Proceedings of the 2011 2nd Asia-Pacific Conference on Wearable Computing Systems (APWCS 2011 V6), Changsha, China, 19 March 2011; pp. 121–124. [Google Scholar]
- Lu, S. Influence of Forming Process on Impact Characteristics of Composite Strength S-Shaped Structural Parts; Dalian University of Technology: Dalian, Chian, 2014. [Google Scholar]
- Gao, Q.; Huang, X. Modeling and Simulation of collision characteristics of multistage cylinder erecting system. In Proceedings of the 2003 National Annual Conference on System Simulation, Washington, DC, USA, 30 March–2 April 2003; pp. 668–672. [Google Scholar]
- Mahesh, V.; Mahesh, V. Ballistic characterization of fiber elastomer metal laminate composites and effect of positioning of fiber reinforced elastomer. Proc. Inst. Mech. Eng. Part L J. Mater. Des. Appl. 2022, 236, 663–673. [Google Scholar] [CrossRef]
- Rajkumar, D. A Novel Flexible Green Composite with Sisal and Natural Rubber: Investigation under Low-Velocity Impact. J. Nat. Fibers 2022, 10, 1–12. [Google Scholar] [CrossRef]
- Mahesh, V. Comparative study on ballistic impact response of neat fabric, compliant, hybrid compliant and stiff composite. Thin-Walled Struct. 2021, 165, 107986. [Google Scholar] [CrossRef]
- Zhang, Y.; Wang, J.; Song, Y.; Snn, L. Dynamic simulation analysis for docking mechanism of on-orbit-servicing satellite. Appl. Mech. Mater. 2014, 487, 313–318. [Google Scholar] [CrossRef]
- Zhang, Y.; Wang, Y.; Song, Y.; Zhou, L. Kinematics analysis and simulation of small satellite docking mechanism end executor. Appl. Mech. Mater. 2014, 487, 460–464. [Google Scholar] [CrossRef]
- Zhang, Y.; Sun, L.; Hu, N.; Wang, J. Dynamic analysis of small satellite vertical docking test platform. J. Harbin Univ. Sci. Technol. 2014, 19, 6–11. [Google Scholar]
- Zhang, Y.; Sun, L.; Lai, Y.; Dai, Y. Dynamics and Attitude Error Analysis for Dock Test System of Small Satellite. Trans. Nanjing Univ. Aeronaut. Astronaut. 2015, 32, 372–379. [Google Scholar]












| X/mm | Y/mm | Z/mm | ψ/° | θ/° | φ/° | |
|---|---|---|---|---|---|---|
| Frontal Impact | 0 | 0 | 50 | 5 | 0 | 0 |
| Oblique Impact | 40 | 40 | 50 | 5 | 5 | 5 |
| m (Kg) | Ix (Kg∙m2) | Iy (Kg∙m2) | Iz (Kg∙m2) | |
|---|---|---|---|---|
| Active Docking Mechanism | 12.9 | 0.624 | 0.827 | 0.827 |
| Passive Docking Mechanism | 2 | 0.198 | 0.198 | 0.285 |
| Mandrel Balancing Assembly | 25 | 2.25 | 2.25 | 5.635 |
| End-Effector | 21.2 | 1.96 | 1.96 | 4.79 |
| Rotating Hanger | 18.5 | 0 | 0 | 3.95 |
| Measured Value | Test Group | ||
|---|---|---|---|
| Offset 20 (mm) | Offset 30 (mm) | Offset 40 (mm) | |
| Time (s) | 120 | 122 | 125 |
| Catching Force (kg) | 11.94 | 10.08 | 11.33 |
Publisher’s Note: MDPI stays neutral with regard to jurisdictional claims in published maps and institutional affiliations. |
© 2022 by the authors. Licensee MDPI, Basel, Switzerland. This article is an open access article distributed under the terms and conditions of the Creative Commons Attribution (CC BY) license (https://creativecommons.org/licenses/by/4.0/).
Share and Cite
Zhang, Y.; Shao, J.; Zhang, J.; Zhou, E. Attitude Error and Contact Influencing Characteristic Analysis for a Composite Docking Test Platform. Appl. Sci. 2022, 12, 12093. https://doi.org/10.3390/app122312093
Zhang Y, Shao J, Zhang J, Zhou E. Attitude Error and Contact Influencing Characteristic Analysis for a Composite Docking Test Platform. Applied Sciences. 2022; 12(23):12093. https://doi.org/10.3390/app122312093
Chicago/Turabian StyleZhang, Yuan, Junpeng Shao, Jingwei Zhang, and Enwen Zhou. 2022. "Attitude Error and Contact Influencing Characteristic Analysis for a Composite Docking Test Platform" Applied Sciences 12, no. 23: 12093. https://doi.org/10.3390/app122312093
APA StyleZhang, Y., Shao, J., Zhang, J., & Zhou, E. (2022). Attitude Error and Contact Influencing Characteristic Analysis for a Composite Docking Test Platform. Applied Sciences, 12(23), 12093. https://doi.org/10.3390/app122312093
