Comparative Study Using CAD Optimization Tools for the Workspace of a 6DOF Parallel Kinematics Machine
Abstract
1. Introduction
2. Theoretical Aspects
2.1. Workspace Analysis Using Computer-Aided Design Applied for Parallel Kinematic Machines
2.2. The Ability to Use Multiple Types of Algorithms Using Optimization Tools from CATIA V5
- Simulated annealing is a random-search technique, which was developed in 1983 to deal with highly nonlinear problems. The ability to avoid being stuck in local minima is SA’s main advantage over other approaches. The algorithm uses a random search, which accepts both modifications that decrease and some changes that enhance the objective function [13,14].
- The algorithm for constraints and derivative providers implements a technique for determining a viable route along which the desired function is substantially reduced. The method performs a reasonably large step length along the desired direction and utilizes the information on the optimal solution gained during the algorithm’s iterations [14].
- The gradient algorithm with constraints searches for options on a local level. It works with non-essential conditions, or those whose failure does not cause the issue of inadequacy. Constraints are often broken during the optimization algorithm in this approach [15].
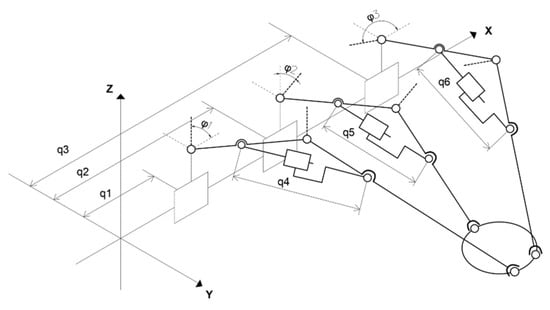
2.3. Presentation of the PKM Structure
3. Investigation of the Workspace Volume
3.1. Analytic Determination of the PKM Workspace Volume
- and are the minimal and maximal radiuses imposed by the (RPR) chains for the PR(RPR)RS chains;
- is the tilt angle of the first and last support plane;
- is the tilt angle of the second support plane.
3.2. Results of the Numerical Analysis
4. Implementation Based on CAD Optimization Tools
5. Conclusions
Author Contributions
Funding
Institutional Review Board Statement
Informed Consent Statement
Data Availability Statement
Conflicts of Interest
References
- Mourtzis, D. Simulation in the design and operation of manufacturing systems: State of the art and new trends. Int. J. Prod. Res. 2019, 58, 1927–1949. [Google Scholar] [CrossRef]
- Palpacelli, M.C.; Carbonari, L.; Palmieri, G.; D’Anca, F.; Landini, E.; Giorgi, G. Functional Design of a 6-DOF Platform for Micro-Positioning. Robotics 2020, 9, 99. [Google Scholar] [CrossRef]
- Ahn, C.; Seo, T.; Kim, J.; Kim, T.-W. High-tilt parallel positioning mechanism development and cutter path simulation for laser micro-machining. Comput. Aided Des. 2007, 39, 218–228. [Google Scholar] [CrossRef]
- Shimizu, Y.; Peng, Y.; Kaneko, J.; Azuma, T.; Ito, S.; Gao, W.; Lu, T.-F. Design and construction of the motion mechanism of an XY micro-stage for precision positioning. Sens. Actuators A Phys. 2013, 201, 395–406. [Google Scholar] [CrossRef]
- Zhang, D.; Li, X.; Ni, M.; Li, P.; Dong, L.; Rui, D.; Zhang, J. Design of 6 degree-of-freedom micro-positioning mechanism for optical elements. In Proceedings of the IEEE 13th International Conference on Electronic Measurement & Instruments (ICEMI), Yangzhou, China, 20–22 October 2017. [Google Scholar]
- Han, H.; Zhang, Y.; Zhang, H.; Han, C.; Li, A.; Xu, Z. Kinematic Analysis and Performance Test of a 6-DOF Parallel Platform with Dense Ball Shafting as a Revolute Joint. Appl. Sci. 2021, 11, 6268. [Google Scholar] [CrossRef]
- Zhang, D.; Lang, S.Y.T. Stiffness modeling for a class of reconfigurable PKMs with three to five degrees of freedom. J. Manuf. Syst. 2004, 23, 316–327. [Google Scholar] [CrossRef]
- Yang, J.; Xu, Z.; Wu, Q.; Zhu, M.; He, S.; Qin, C. Dynamic modeling and control of a 6-DOF micro-vibration simulator. Mech. Mach. Theory 2016, 104, 350–369. [Google Scholar] [CrossRef]
- Shiga, Y.; Tanaka, Y.; Goto, H.; Takeda, H. Design of a six degree-of-freedom tripod parallel mechanism for flight simulators. Int. J. Autom. Technol. 2011, 5, 715–721. [Google Scholar] [CrossRef]
- Chaudhury, A.; Ghosal, A. Determination of Workspace Volume of Parallel Manipulators Using Monte Carlo Method. In Computational Kinematics; Springer: Cham, Switzerland, 2018. [Google Scholar] [CrossRef]
- Gokul, S.N.; Shrivatsan, R.; Venkatasubramanian, K.; Anjan, K.D. Deter-mination of Constant Orientation Workspace of a Stewart Platform by Geometrical Method. Appl. Mech. Mater. 2015, 813–814, 997–1001. [Google Scholar] [CrossRef]
- Busetti, F. Simulated Annealing Overview. ResearchGate. 2001. Available online: https://www.researchgate.net/publication/238690391_Simulated_annealing_overview (accessed on 10 September 2022).
- Leblond, T.; Froment, P.; Nazelle, P.; Sellakh, R.; Serré, P.; Chevallier, G. Gradient-based Optimization of Parameterized CAD Geometries. In Proceedings of the 11th World Congress on Structural and Multidisciplinary Optimization, Sydney, Australia, 7–12 June 2015. [Google Scholar]
- Lucidi, S.; Sciandrone, M. A Derivative-Free Algorithm for Bound Constrained Optimization. Comput. Optim. Appl. Kluwer Acad. Publ. 2002, 21, 119–142. [Google Scholar] [CrossRef]
- Barbarosie, C.; Lopes, S.; Toader, A.M. A gradient-type algorithm for constrained optimization with applications to multi-objective optimization of auxetic materials. arXiv 2018, arXiv:1711.04863. [Google Scholar]
- Arrouk, K.A.; Bouzgarrou, B.C.; Gogu, G. CAD based techniques for workspace analysis and representation of the 3CRS parallel manipulator. In Proceedings of the 19th International Workshop on Robotics in Alpe-Adria-Danube Region, Budapest, Hungary, 24–26 June 2010. [Google Scholar]
- Liu, L.; Huo, J. Apple Image Segmentation Model Based on R Component with Swarm Intelligence Optimization Algorithm. Int. J. Perform. Eng. 2018, 14, 1149–1160. [Google Scholar] [CrossRef][Green Version]
- Liu, L.; Huo, J. Apple Image Recognition Multi-Objective Method Based on the Adaptive Harmony Search Algorithm with Simulation and Creation. Information 2018, 9, 180. [Google Scholar] [CrossRef]
- Liu, L.; Huo, J.; Xue, F.; Dai, Y. Harmony Search Method with Global Sharing Factor Based on Natural Number Coding for Vehicle Routing Problem. Information 2020, 11, 86. [Google Scholar] [CrossRef]
- Arrouk, K.A.; Bouzgarrou, B.C.; Stan, S.D.; Gogu, G. CAD Based Design Optimization of Planar Parallel Manipulators. In Solid State Phenomena; Trans Tech Publications, Ltd.: Bach, Switzerland, 2010. [Google Scholar] [CrossRef]
- Stan, S.-D.; Maties, V.; Balan, R. Workspace Optimal Design of a 2 DOF Micro Parallel Robot Using Genetic Algorithms and Simulated Annealing Optimization Methods. In Proceedings of the 2007 International Conference on Mechatronics and Automation, Harbin, China, 5–8 August 2007; pp. 1108–1113. [Google Scholar] [CrossRef]
- Popișter, F.; Oarcea, A.; Stan, S.D.; Trifan, C.V. Workspace Analysis of a Novel Parallel Kinematic Machine with 6 Degrees of Freedom. In Advances in Manufacturing III. Manufacturing 2022. Lecture Notes in Mechanical Engineering; Gapiński, B., Ciszak, O., Ivanov, V., Eds.; Springer: Cham, Switzerland, 2022. [Google Scholar] [CrossRef]
- Oarcea, A.; Popister, F.; Stan, S.-D.; Cobilean, V. Comparative study of CAD optimization features for the workspace of 3DOF Parallel Robot. In Proceedings of the 2021 9th International Conference on Modern Power Systems (MPS), Cluj-Napoca, Romania, 16–17 June 2021; pp. 1–6. [Google Scholar] [CrossRef]
- Heragu, S.S. Experimental-analysis of simulated annealing-based algorithms for the layout problem. Eur. J. Oper. Res. 1992, 57, 190–202. [Google Scholar] [CrossRef]
- Fabian, V. Simulated annealing simulated. Comput. Math. Appl. 1997, 33, 81–94. [Google Scholar] [CrossRef]
- Musharavati, F.; Hamouda, A.S.M. Enhanced simulated-annealing-based algorithms and their applications to process planning in reconfigurable manufacturing systems. Adv. Eng. Softw. 2012, 45, 80–90. [Google Scholar] [CrossRef]
- Aboulissane, B.; El Haiek, D.; El Bakkali, L.; El Bahaoui, J. On The Workspace Optimization of Parallel Robots Based on CAD Approach. Procedia Manuf. 2019, 32, 1085–1092, ISSN 23519789. [Google Scholar] [CrossRef]










| Parameter | Value |
|---|---|
| φ1 | 60° |
| φ2 | 60° |
| φ3 | 60° |
| d | 90 mm |
| link1 | 684 mm |
| link2 | 492.75 mm |
| r1 | 397.5 mm |
| r2 | 1172.5 mm |
| No. | Workspace Volume (mm3) | (deg) |
|---|---|---|
| 1 | 385,427,706 | 30 |
| 2 | 388,184,667 | 30.4437 |
| 3 | 390,941,629 | 31.3132 |
| 4 | 393,698,591 | 33.0176 |
| 5 | 396,455,552 | 33.5412 |
| 6 | 399,212,514 | 34.5126 |
| 7 | 401,969,475 | 35.4840 |
| 8 | 404,726,437 | 36.4554 |
| 9 | 407,483,399 | 38.9554 |
| 10 | 410,240,360 | 39.8426 |
| 11 | 412,997,322 | 41.2579 |
| 12 | 415,754,283 | 42.6731 |
| 13 | 418,511,245 | 44.0884 |
| 14 | 421,268,207 | 45.5037 |
| 15 | 423,898,229 | 46.6783 |
| 16 | 427,839,567 | 47.1531 |
| 17 | 426,356,572 | 48.5324 |
| 18 | 425,435,343 | 49.6785 |
| 19 | 423,847,965 | 50.8246 |
| 20 | 422,363,113 | 51.9707 |
| 21 | 420,879,787 | 53.1168 |
| 22 | 419,393,133 | 54.2629 |
| 23 | 417,917,852 | 55.4090 |
| 24 | 416,427,754 | 56.5551 |
| 25 | 414,944,892 | 57.7012 |
Publisher’s Note: MDPI stays neutral with regard to jurisdictional claims in published maps and institutional affiliations. |
© 2022 by the authors. Licensee MDPI, Basel, Switzerland. This article is an open access article distributed under the terms and conditions of the Creative Commons Attribution (CC BY) license (https://creativecommons.org/licenses/by/4.0/).
Share and Cite
Stan, S.-D.; Popişter, F.; Oarcea, A.; Ciudin, P. Comparative Study Using CAD Optimization Tools for the Workspace of a 6DOF Parallel Kinematics Machine. Appl. Sci. 2022, 12, 9258. https://doi.org/10.3390/app12189258
Stan S-D, Popişter F, Oarcea A, Ciudin P. Comparative Study Using CAD Optimization Tools for the Workspace of a 6DOF Parallel Kinematics Machine. Applied Sciences. 2022; 12(18):9258. https://doi.org/10.3390/app12189258
Chicago/Turabian StyleStan, Sergiu-Dan, Florin Popişter, Alexandru Oarcea, and Paul Ciudin. 2022. "Comparative Study Using CAD Optimization Tools for the Workspace of a 6DOF Parallel Kinematics Machine" Applied Sciences 12, no. 18: 9258. https://doi.org/10.3390/app12189258
APA StyleStan, S.-D., Popişter, F., Oarcea, A., & Ciudin, P. (2022). Comparative Study Using CAD Optimization Tools for the Workspace of a 6DOF Parallel Kinematics Machine. Applied Sciences, 12(18), 9258. https://doi.org/10.3390/app12189258

