Automated Barometric Chamber for Entomology Experiments: Arthropods’ Behavior and Insect-Plant Interactions
Abstract
Featured Application
Abstract
1. Introduction
2. Materials and Methods
2.1. Barometric Pressure Variations in São Paulo State, Brazil
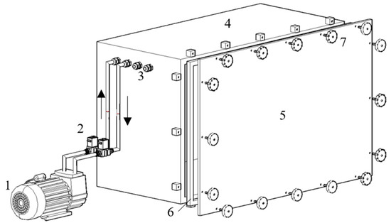
2.2. The Barometric Chamber and Its Components
2.3. Control System
2.4. Hardware
2.5. Application Architecture
2.6. Entomology Experiments: Feeding Activity of Insects
3. Results and Discussion
3.1. The Barometric Chamber
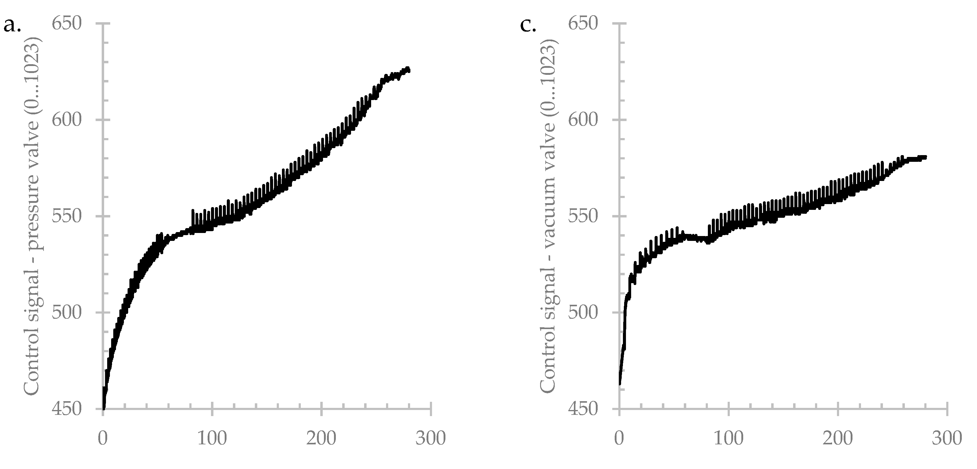
3.2. Pressure and Vacuum Limits
3.3. Short- and Long-Term Tests
3.4. Air Tightness
3.5. Entomology Experiments: Feeding Activity of Insects
3.6. Perspectives on Use
4. Conclusions
Author Contributions
Funding
Institutional Review Board Statement
Informed Consent Statement
Data Availability Statement
Conflicts of Interest
References
- Begon, M.; Townsend, C.R.; Harper, J.L. Ecology from Individuals to Ecosystems, 4th ed.; Blackwell: Oxford, UK, 2006. [Google Scholar]
- Enger, E.D.; Ross, F.C.; Bailey, D.B. Concepts in Biology, 13th ed.; McGraw-Hill: New York, NY, USA, 2009. [Google Scholar]
- Opp, S.B.; Prokopy, R.J. Approaches and methods for direct behavioral observation and analysis of plant-insect interactions. In Insect-Plant Interactions; Springer: Berlin/Heidelberg, Germany, 1986; pp. 1–22. [Google Scholar]
- Poorter, H.; Fiorani, F.; Stitt, M.; Schurr, U.; Finck, A.; Gibon, Y.; Usadel, B.; Munns, R.; Atkin, O.K.; Tardieu, F.; et al. The art of growing plants for experimental purposes: A practical guide for the plant biologist. Funct. Plant Biol. 2012, 39, 821–838. [Google Scholar] [CrossRef] [PubMed]
- Lazaridis, M. First Principles of Meteorology and Air Pollution; Springer: Crete, Greece, 2011. [Google Scholar]
- Barry, R.G.; Chorley, R.J. Atmosphere, Weather and Climate, 8th ed.; Taylor & Francis Group: London, UK, 2009. [Google Scholar]
- Lutgens, F.K.; Tarbuck, E.J.; Tasa, D.G. The Atmosphere: An Introduction to Meteorology, 12th ed.; Pearson: London, UK, 2013. [Google Scholar]
- Ahrens, C.D.; Henson, R. Meteorology Today: An Introduction to Weather, Climate, and the Environment, 11th ed.; Cengage Learning: Boston, MA, USA, 2014. [Google Scholar]
- Fournier, F.; Pelletier, D.; Vigneault, C.; Goyette, B.; Boivin, G. Effect of barometric pressure on flight initiation by Trichogramma pretiosum and Trichogramma evanescens (Hymenoptera: Trichogrammatidae). Environ. Entomol. 2005, 34, 1534–1540. [Google Scholar] [CrossRef][Green Version]
- Martini, X.; Stelinski, L.L. Influence of abiotic factors on flight initiation by Asian citrus psyllid (hemiptera: Liviidae). Environ. Entomol. 2017, 46, 369–375. [Google Scholar] [CrossRef] [PubMed]
- Marchand, D.; McNeil, J.N. Effects of wind speed and atmospheric pressure on mate searching behavior in the aphid parasitoid Aphidius nigripes (Hymenoptera: Aphidiidae). J. Insect Behav. 2000, 13, 187–199. [Google Scholar] [CrossRef]
- Leskey, T.C.; Prokopy, R.J. Influence of barometric pressure on odor discrimination and oviposition by adult plum curculios (Coleoptera: Curculionidae). Eur. J. Entomol. 2003, 100, 517–520. [Google Scholar] [CrossRef]
- Steinberg, S.; Dicke, M.; Vet, L.E.M.; Wanningen, R. Response of the braconid parasitoid Cotesia (=Apanteles) glomerata to volatile infochemicals: Effects of bioassay set-up, parasitoid age and experience and barometric flux. Entomol. Exp. Appl. 1992, 63, 163–175. [Google Scholar] [CrossRef]
- Stephen, W.P.; Bird, R.D. The effect of barometric pressure upon oviposition of the imported cabbageworm, Pieris rapae (L.). Can. Entomol. 1949, 81, 132. [Google Scholar] [CrossRef]
- Roitberg, B.D.; Sircom, J.; Roitberg, C.A.; van Alphen, J.J.M.; Mangel, M. Life expectancy and reproduction. Nature 1993, 364, 108. [Google Scholar] [CrossRef]
- Pellegrino, A.C.; Peñaflor, M.F.G.V.; Nardi, C.; Bezner-Kerr, W.; Guglielmo, C.G.; Bento, J.M.S.; McNeil, J.N. Weather forecasting by insects: Modified sexual behaviour in response to atmospheric pressure changes. PLoS ONE 2013, 8, e75004. [Google Scholar] [CrossRef]
- McFarlane, D.J.; Rafter, M.A.; Booth, D.T.; Walter, G.H. Behavioral responses of a tiny insect, the flower Thrips frankliniella schultzei Trybom (Thysanoptera, Thripidae), to atmospheric pressure change. J. Insect Behav. 2015, 28, 473–481. [Google Scholar] [CrossRef]
- Zagvazdina, N.Y.; Paris, T.M.; Udell, B.J.; Stanislauskas, M.; Mcneill, S.; Allan, S.A.; Mankin, R.W. Effects of atmospheric pressure trends on calling, mate-seeking, and phototaxis of Diaphorina citri (Hemiptera: Liviidae). Ann. Entomol. Soc. Am. 2015, 108, 762–770. [Google Scholar] [CrossRef]
- Kolyer, J.M.; Palmer, H.B. The effect of barometric pressure and other factors on eclosion of tile cabbage butterfly Pieris rapae (Pieridae). J. Lepid. Soc. 1968, 22, 211–225. [Google Scholar]
- Dagaeff, A.-C.; Pocheville, A.; Nöbel, S.; Loyau, A.; Isabel, G.; Danchin, E. Drosophila mate copying correlates with atmospheric pressure in a speed learning situation. Anim. Behav. 2016, 121, 163–174. [Google Scholar] [CrossRef]
- Musiolek, D.; Kočárek, P. Weather-dependent microhabitat use by Tetrix tenuicornis (Orthoptera: Tetrigidae). Sci. Nat. 2016, 103, 68. [Google Scholar] [CrossRef] [PubMed]
- Braam, J. In touch: Plant responses to mechanical stimuli. New Phytol. 2004, 165, 17. [Google Scholar] [CrossRef]
- Austin, C.J.; Guglielmo, C.G.; Moehring, A.J. A direct test of the effects of changing atmospheric pressure on the mating behavior of Drosophila melanogaster. Evol. Ecol. 2014, 28, 535–544. [Google Scholar] [CrossRef]
- Goyette, B.; Vigneault, C.; Fournier, F.; Boivin, G. Design of a computer controlled pressure chamber for insect behavioral studies. Comput. Electron. Agric. 2002, 33, 85–90. [Google Scholar] [CrossRef]
- Millipore Chemical Duty Vacuum/Pressure Pump—WP61 (User Guide—Rev. E, 01/09). 2009. Available online: https://www.merckmillipore.com/BR/pt/product/Chemical-Duty-Pump-115-V-60-Hz,MM_NF-WP6111560 (accessed on 10 May 2022).
- Asco Proportional Solenoid Valve Posiflow—Series 202. 2018. Available online: https://www.emerson.com/en-us/catalog/asco-202-posi (accessed on 10 May 2022).
- Young Barometric Pressure Sensor Young Model 61302V (Datasheet REV: I111215). 2004. Available online: https://www.fondriest.com/pdf/rm_young_61302_manual.pdf (accessed on 10 May 2022).
- Bowling, C.C. The Stylet Sheath as an Indicator of Feeding Activity by the Southern Green Stink Bug on Soybeans1. J. Econ. Entomol. 1980, 73, 1–3. [Google Scholar] [CrossRef]
- Haufe, W.O. The effects of atmospheric pressure on the flight responses of Aedes aegypti (L.). Bull. Entomol. Res. 1954, 45, 507. [Google Scholar] [CrossRef]
- Nunes, M.C.; Corrêa-Ferreira, B.S. Desempenho alimentar e sobrevivência de Euschistus heros parasitado por Hexacladia smithii em sementes de soja. Pesqui. Agropecuária Bras. 2002, 37, 1219–1224. [Google Scholar] [CrossRef][Green Version]
- Wheeler, D. The Role of Nourishment in Oogenesis. Annu. Rev. Entomol. 1996, 41, 407–431. [Google Scholar] [CrossRef] [PubMed]
- Laumann, R.A.; Ribeiro, P.H.; Ramos, N.; Pires, C.S.S.; Schmidt, F.G.V.; Borges, M.; Morais, M.C.B.; Sujii, E.R. Ritmos Diários de Atividades Comportamentais de Diabrotica Speciosa (Germar, 1824) Coleoptera: Chrysomelidae) Relacionados à Temperatura (Comunicado Técnico 90); EMBRAPA Recursos Genéticos e Biotecnologia: Brasília, Brazil, 2003; Available online: http://www.infoteca.cnptia.embrapa.br/infoteca/handle/doc/185006 (accessed on 10 May 2022).
- Breuner, C.W.; Sprague, R.S.; Patterson, S.H.; Woods, H.A. Environment, behavior and physiology: Do birds use barometric pressure to predict storms? J. Exp. Biol. 2013, 216, 1982–1990. [Google Scholar] [CrossRef] [PubMed]














| Test | Setpoint (hPa) | Min (hPa) | Average (hPa) | Max (hPa) | Standard Deviation (hPa) | 
|---|---|---|---|---|---|
| Test 1—stage 2 | 945 | 944.97 | 945.00 | 945.07 | 0.024 | 
| Test 1—stage 4 | 955 | 954.91 | 955.00 | 955.07 | 0.034 | 
| Test 2—stage 2 | 935 | 934.90 | 934.99 | 935.08 | 0.036 | 
| Test 2—stage 4 | 925 | 924.90 | 925.00 | 925.12 | 0.051 | 
| Test 3—stage 2 | 945 | 944.98 | 945.00 | 945.04 | 0.024 | 
| Test 3—stage 4 | 955 | 954.97 | 955.00 | 955.08 | 0.027 | 
| Test 4—stage 2 | 935 | 934.97 | 935.00 | 935.03 | 0.022 | 
| Test 4—stage 4 | 925 | 924.96 | 925.00 | 925.02 | 0.026 | 
| Publisher’s Note: MDPI stays neutral with regard to jurisdictional claims in published maps and institutional affiliations. | 
© 2022 by the authors. Licensee MDPI, Basel, Switzerland. This article is an open access article distributed under the terms and conditions of the Creative Commons Attribution (CC BY) license (https://creativecommons.org/licenses/by/4.0/).
Share and Cite
Costa, C.M.; Camargo, A.P.; da Silva, E.A.; Bento, J.M.S. Automated Barometric Chamber for Entomology Experiments: Arthropods’ Behavior and Insect-Plant Interactions. Appl. Sci. 2022, 12, 6971. https://doi.org/10.3390/app12146971
Costa CM, Camargo AP, da Silva EA, Bento JMS. Automated Barometric Chamber for Entomology Experiments: Arthropods’ Behavior and Insect-Plant Interactions. Applied Sciences. 2022; 12(14):6971. https://doi.org/10.3390/app12146971
Chicago/Turabian StyleCosta, Camila M., Antonio P. Camargo, Eric Alberto da Silva, and José Maurício S. Bento. 2022. "Automated Barometric Chamber for Entomology Experiments: Arthropods’ Behavior and Insect-Plant Interactions" Applied Sciences 12, no. 14: 6971. https://doi.org/10.3390/app12146971
APA StyleCosta, C. M., Camargo, A. P., da Silva, E. A., & Bento, J. M. S. (2022). Automated Barometric Chamber for Entomology Experiments: Arthropods’ Behavior and Insect-Plant Interactions. Applied Sciences, 12(14), 6971. https://doi.org/10.3390/app12146971
 
         
                                                


 
       