Buckling Behavior of Non-Retrofitted and FRP-Retrofitted Steel CHS T-Joints
Abstract
1. Introduction
2. CHS T-Joints
2.1. Numerical Modeling
2.2. Verification Study
3. Results and Discussion
3.1. Non-Retrofitted Joints
3.2. Retrofitted Joints
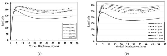
3.2.1. Joint T1 (Chord Ovalization)
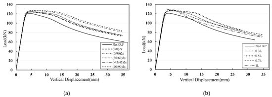
3.2.2. Joint T2 (Brace Overall Buckling)
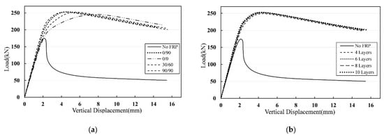
3.2.3. Joint T3 (Brace Local Buckling)
4. Conclusions
- In the chord ovalization buckling mode, the use of FRP wrapping may improve the load bearing capacity of the retrofitted joints up to 40% in comparison with non-retrofitted ones.
- Effectiveness of the FRP wrapping in the chord ovalization buckling mode is considerable when at least four plies with the distribution of (0/0)s and (0/90)s are utilized.
- Investigation of the FRP wrapping performance in various buckling modes shows that this method may totally prevent the brace local buckling and modify destructive effects of the chord ovalization. This method has poor performance in the brace overall buckling.
- The matrix tension failure is the most common composite failure in the chord ovalization and the brace overall buckling, but the matrix compressive failure is most possible in the brace local buckling.
- The FRP wrapping can improve the load bearing capacity of the CHS T-joints; this method can increase the ultimate load-bearing capacity about 17% and 50% respectively in the overall and local brace buckling.
Author Contributions
Funding
Conflicts of Interest
References
- Choo, Y.; Van der Vegte, G.; Zettlemoyer, N.; Li, B.; Liew, J. Static strength of T-joints reinforced with doubler or collar plates. I: Experimental investigations. J. Struct. Eng. 2005, 131, 119–128. [Google Scholar]
- Gandhi, P.; Raghava, G.; Murthy, D.R. Fatigue behavior of internally ring-stiffened welded steel tubular joints. J. Struct. Eng. 2000, 126, 809–815. [Google Scholar] [CrossRef]
- Li, T.; Shao, Y. Study on hysteretic behavior of square tubular T-joints with increased chord thickness. Jianzhu Jiegou Xuebao (J. Build. Struct.) 2011, 32, 142–150. [Google Scholar]
- Chen, C.; Shao, Y.B.; Yang, J. Study on Static Strength of Circular Hollow Section (CHS) T-Joint Reinforced with FRP. Appl. Mech. Mater. 2011, 99, 72–75. [Google Scholar] [CrossRef]
- Lesani, M.; Bahaari, M.; Shokrieh, M. Experimental investigation of FRP-strengthened tubular T-joints under axial compressive loads. Constr. Build. Mater. 2014, 53, 243–252. [Google Scholar] [CrossRef]
- Haedir, J.; Bambach, M.R.; Zhao, X.L.; Grzebieta, R.H. Strength of circular hollow sections (CHS) tubular beams externally reinforced by carbon FRP sheets in pure bending. Thin-Walled Struct. 2009, 47, 1136–1147. [Google Scholar] [CrossRef]
- Aguilera, J.; Fam, A. Retrofitting tubular steel T-joints subjected to axial compression in chord and brace members using bonded FRP plates or through-wall steel bolts. Eng. Struct. 2013, 48, 602–610. [Google Scholar] [CrossRef]
- Lesani, M.; Bahaari, M.; Shokrieh, M. Numerical investigation of FRP-strengthened tubular T-joints under axial compressive loads. Compos. Struct. 2013, 100, 71–78. [Google Scholar] [CrossRef]
- Fam, A.; Witt, S.; Rizkalla, S. Repair of damaged aluminum truss joints of highway overhead sign structures using FRP. Constr. Build. Mater. 2006, 20, 948–956. [Google Scholar] [CrossRef]
- Karbhari, V.; Shulley, S. Use of composites for rehabilitation of steel structures-determination of bond durability. J. Mater. Civ. Eng. 1995, 7, 239–245. [Google Scholar] [CrossRef]
- Shamsuddoha, M.; Islam, M.M.; Aravinthan, T.; Manalo, A.; Lau, K.T. Effectiveness of using fibre-reinforced polymer composites for underwater steel pipeline repairs. Compos. Struct. 2013, 100, 40–54. [Google Scholar] [CrossRef]
- Khodadadian, A.; Noii, N.; Parvizi, M.; Abbaszadeh, M.; Wick, T.; Heitzinger, C. A Bayesian estimation method for variational phase-field fracture problems. Comput. Mech. 2020, 66, 827–849. [Google Scholar] [CrossRef] [PubMed]
- Khodadadian, A.; Parvizi, M.; Abbaszadeh, M.; Dehghan, M.; Heitzinger, C. A multilevel Monte Carlo finite element method for the stochastic Cahn–Hilliard–Cook equation. Comput. Mech. 2019, 64, 937–949. [Google Scholar] [CrossRef] [PubMed]
- Alembagheri, M.; Rashidi, M.; Yazdi, A.; Samali, B. Numerical Analysis of Axial Cyclic Behavior of FRP Retrofitted CHS Joints. Materials 2021, 14, 648. [Google Scholar] [CrossRef]
- Zhu, L.; Song, Q.; Bai, Y.; Wei, Y.; Ma, L. Capacity of steel CHS T-Joints strengthened with external stiffeners under axial compression. Thin-Walled Struct. 2017, 113, 39–46. [Google Scholar] [CrossRef]
- Nemati, S.; Rashidi, M.; Samali, B. Decision making on the optimised choice of pneumatic formwork textile for foam-filled structural composite panels. Int. J. GEOMATE 2017, 13, 220–228. [Google Scholar] [CrossRef]
- Rashidi, M. Finite element modeling of FRP wrapped high strength concrete reinforced with axial and helical reinforcement. Int. J. Emerg. Technol. Adv. Eng. 2014, 728–735. [Google Scholar]
- Rashidi, M.; Ghodrat, M.; Samali, B.; Kendall, B.; Zhang, C. Remedial modelling of steel bridges through application of analytical hierarchy process (AHP). Appl. Sci. 2017, 7, 168. [Google Scholar] [CrossRef]
- Ganji, H.T.; Alembagheri, M.; Khaneghahi, M.H. Evaluation of seismic reliability of gravity dam-reservoir-inhomogeneous foundation coupled system. Front. Struct. Civ. Eng. 2019, 13, 701–715. [Google Scholar] [CrossRef]
- Alembagheri, M.; Estekanchi, H.E. Nonlinear analysis of aboveground anchored steel tanks using endurance time method. Asian J. Civ. Eng. 2011, 12, 731–750. [Google Scholar]
- Yazdani, Y.; Alembagheri, M. Effects of base and lift joints on the dynamic response of concrete gravity dams to pulse-like excitations. J. Earthq. Eng. 2017, 21, 840–860. [Google Scholar] [CrossRef]
- Hashin, Z.; Rotem, A. A fatigue failure criterion for fiber reinforced materials. J. Compos. Mater. 1973, 7, 448–464. [Google Scholar] [CrossRef]
- Hashin, Z. Failure criteria for unidirectional fiber composites. J. Appl. Mech. 1980, 47, 329–334. [Google Scholar] [CrossRef]














| Geometric Property | Varying Range |
|---|---|
| r/t | 8–65 |
| R/T | 8–24 |
| l/r | 5–17 |
| Material | Properties | |
|---|---|---|
| Stress Analysis | Failure Analysis (MPa) | |
| Carbon/epoxy | E1 = 23,000 MPa | XT = 1062 |
| E2 = E3 = 14,816 MPa | Xc = 610 | |
| ν12 = ν13 = ν23 = 0.25 | YT = 31 | |
| G12 = G13 = 7408 MPa | Yc = 118 | |
| G23 = 2963 MPa | S12 = S13 = 72 | |
| S23 = 20 | ||
| Chord Thickness, T (mm) | Brace Thickness, t (mm) | Chord Length, L (mm) | Brace Length, l (mm) | Chord Radius, R (mm) | Brace Radius, r (mm) | Fy (MPa) |
|---|---|---|---|---|---|---|
| 6.35 | 8.56 | 1845 | 570 | 136.5 | 57.2 | 385 |
| Joint Name | l (mm) | L (mm) | d (mm) | D (mm) | t (mm) | T (mm) | Buckling Mode |
|---|---|---|---|---|---|---|---|
| T1 | 400 | 600 | 121 | 159 | 4.5 | 4.5 | Chord ovalization |
| T2 | 1000 | 600 | 140 | 159 | 9 | 15 | Brace overall buckling |
| T3 | 400 | 600 | 140 | 159 | 2.5 | 10 | Brace local buckling |
Publisher’s Note: MDPI stays neutral with regard to jurisdictional claims in published maps and institutional affiliations. |
© 2021 by the authors. Licensee MDPI, Basel, Switzerland. This article is an open access article distributed under the terms and conditions of the Creative Commons Attribution (CC BY) license (https://creativecommons.org/licenses/by/4.0/).
Share and Cite
Yazdi, A.; Rashidi, M.; Alembagheri, M.; Samali, B. Buckling Behavior of Non-Retrofitted and FRP-Retrofitted Steel CHS T-Joints. Appl. Sci. 2021, 11, 3098. https://doi.org/10.3390/app11073098
Yazdi A, Rashidi M, Alembagheri M, Samali B. Buckling Behavior of Non-Retrofitted and FRP-Retrofitted Steel CHS T-Joints. Applied Sciences. 2021; 11(7):3098. https://doi.org/10.3390/app11073098
Chicago/Turabian StyleYazdi, Amin, Maria Rashidi, Mohammad Alembagheri, and Bijan Samali. 2021. "Buckling Behavior of Non-Retrofitted and FRP-Retrofitted Steel CHS T-Joints" Applied Sciences 11, no. 7: 3098. https://doi.org/10.3390/app11073098
APA StyleYazdi, A., Rashidi, M., Alembagheri, M., & Samali, B. (2021). Buckling Behavior of Non-Retrofitted and FRP-Retrofitted Steel CHS T-Joints. Applied Sciences, 11(7), 3098. https://doi.org/10.3390/app11073098

