MOSAIK and FMI-Based Co-Simulation Applied to Transient Stability Analysis of Grid-Forming Converter Modulated Wind Power Plants
Abstract
1. Introduction
2. Transient Stability Assessment by Co-Simulation
2.1. Transient Stability Assessment Methods for Monolithic and Co-Simulations
2.2. Overview of MOSAIK Architecture
3. mosaik Co-Simulation Setup for Transient Stability Assessment
3.1. Study Steps to Setup the Co-Simulation Framework
3.1.1. Model a Monolithic Reference Case in Powerfactory
3.1.2. Split the System and Establish Two Different Simulators
3.1.3. Export the Subsystem Models to FMUs
3.1.4. Develop FMI-Based Co-Simulation Setup
3.1.5. Develop mosaik Co-Simulation Setup
3.2. Workflow to Validate the MOSAIK Co-Simulation Setup
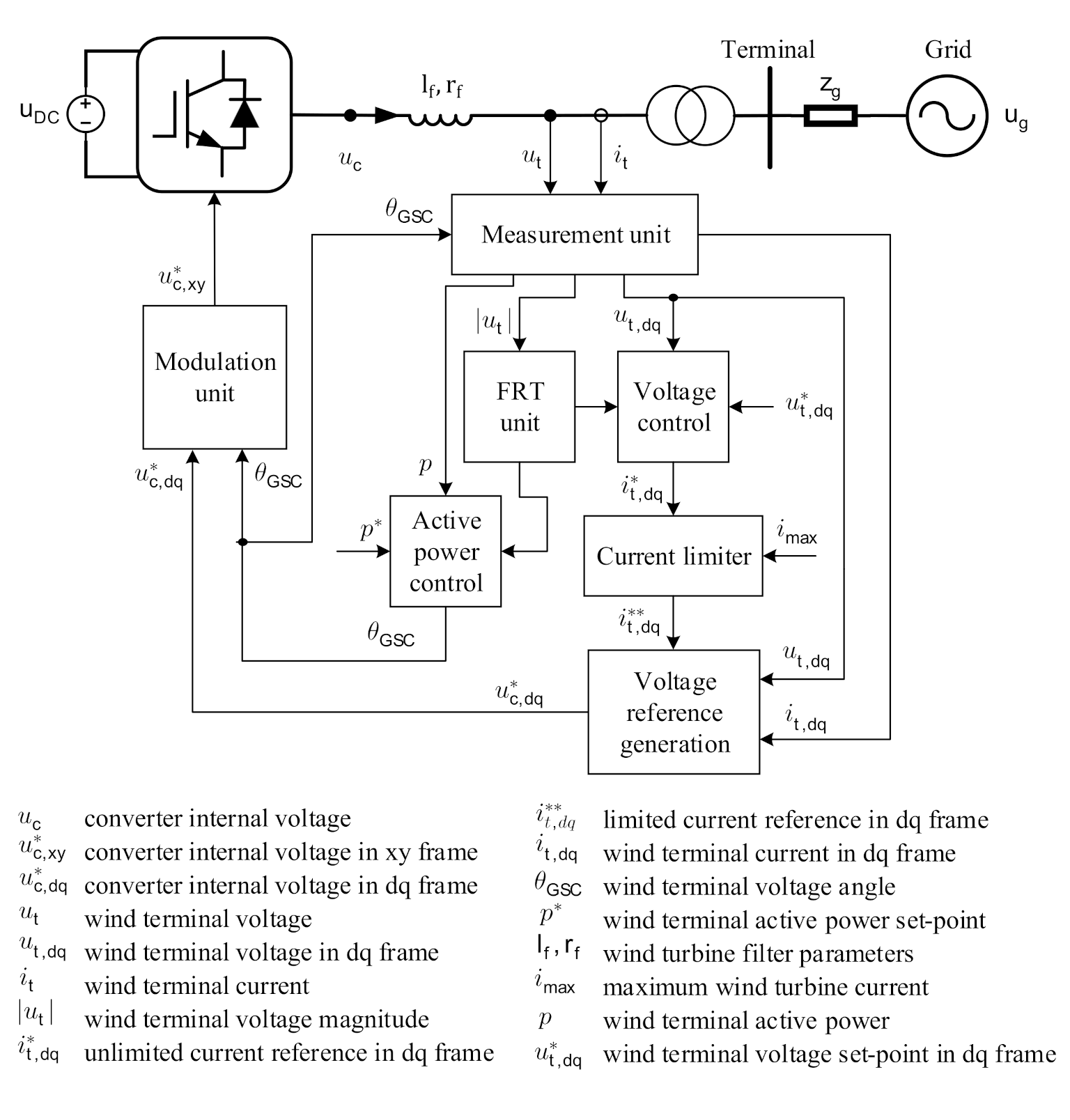
4. Grid-Forming Control by Wind Turbine Generators
- It has frequency and voltage regulation;
- The controller needs to be capable of operating in both strong and weak-grid conditions;
- The controller needs to be able to limit the current during the fault condition while successfully riding through the fault in both grid-connected and islanded operations.
- Measurement unit, which transforms the wind turbine terminal current and terminal voltage from the network oriented frame (i.e., ) to the dq-frame using wind terminal voltage angle coming from the active power control block. Furthermore, the active power p is calculated as
- Voltage control, which controls the wind terminal voltage with a PI controller and provides current references .
- Current limiter, which limits the current references and produces limited current references .
- Voltage reference generation, which generates voltage references based on the limited current reference provided by the current limitation block. Moreover, to ensure adequate damping of the low frequency oscillations especially in the weak-grid and islanded operations, an auxiliary damping signal is added to the voltage references.
- FRT unit, which generates a discrete FRT signal that is applied to the active power control block for angle correction control as well as to the voltage control block for suspending the integration action during a fault. The FRT signal is set to 1 when the wind terminal’s voltage drops below 0.9 p.u.
- Active power control, which controls active power according to a droop characteristic. During a fault, it is switched to a fault-mode angle correction control. It generates the transformation angle , which is used in the transformation between the real-imaginary frame and the dq frame and vice versa.
- Modulation unit, which transforms obtained converter internal voltage references from dq-frame into the network oriented frame and generates as inputs for the grid side converter of the wind turbine generator.
5. Case Studies and Co-Simulation Validation
5.1. Response to a Step in the Voltage Set-Point
5.2. Response to the Controller Parameter Modification
5.3. Co-Simulation and Wind Turbine Controller Response during Faults
5.4. Dynamic Response of the Wind Turbine in Weak Grids
5.5. Response of the Wind Turbine to a Fault in an Islanded Operation
5.6. Co-Simulation Performance
6. Conclusions and Recommendations
Author Contributions
Funding
Conflicts of Interest
Abbreviations
| RES | Renewable Energy Source |
| GSC | Grid Side Converter |
| MSC | Machine Side Converter |
| FRT | Fault Ride Through |
| WPP | Wind Power Plant |
| TSO | Transmission System Operator |
| PLL | Phase Locked Loop |
| FMI | Functional Mock-up Interface |
| FMU | Functional Mock-up Unit |
| HLA | High Level Architecture |
| API | Application Programming Interface |
| HVDC | High-Voltage Direct Current |
| PCC | Point of Common Coupling |
| CCT | Critical Clearing Time |
| PI | Proportional–Integral |
| PSS | Power System Stabilizer |
| SCC | Short Circuit Capacity |
| SCR | Short Circuit Ratio |
| RMS | Root Mean Square |
Appendix A
| Symbol | Description | Value | |||
|---|---|---|---|---|---|
| Load | Synchronous Generator | Wind Turbine | External Grid | ||
| P | Active power | 2 MW | 0.5 MW | 2 MW | |
| S | Rated power | 2 MVA | 1 MVA | 2.35 MVA | 100 MVA |
| PF | Power factor | 1 | 0.9 | 1 | |
References
- International Renewable Energy Agency (IRENA). Global Energy Transformation: A Roadmap to 2050; International Renewable Energy Agency: Abu Dhabi, United Arab Emirates, 2018. [Google Scholar]
- MIGRATE Work Package 1. Deliverable D1.1: Report on Systemic Issues; Technical Report. MIGRATE Consortium, 2016. Available online: https://www.h2020-migrate.eu/_Resources/Persistent/9bf78fc978e534f6393afb1f8510db86e56a1177/MIGRATE_D1.1_final_TenneT.pdf (accessed on 9 March 2021).
- European Network of Transmission System Operators for Electricity (ENTSO-E). Network Code for Requirements for Grid Connection Applicable to All Generators—Requirements in the Context of Present Practices. 2012. Available online: http://www.acer.europa.eu/ (accessed on 7 March 2021).
- Boemer, J.C.; van der Meer, A.A.; Rawn, B.G.; Hendriks, R.L.; Ciupuliga, A.R.; Gibescu, M.; Kling, W.L.; Ferreira, J.A. Fault Ride-through Requirements for Onshore Wind Power Plants in Europe: The Needs of the Power System. In Proceedings of the IEEE Power and Energy General Meeting, Detroit, MI, USA, 24–28 July 2011. [Google Scholar]
- Carne, G.D.; Langwasser, M.; Ndreko, M.; Bachmann, R.; Doncker, R.W.D.; Dimitrovski, R.; Mortimer, B.J.; Neufeld, A.; Rojas, F.; Liserre, M. Which Deepness Class Is Suited for Modeling Power Electronics?: A Guide for Choosing the Right Model for Grid-Integration Studies. IEEE Ind. Electron. Mag. 2019, 13, 41–55. [Google Scholar] [CrossRef]
- Zhou, J.Z.; Ding, H.; Fan, S.; Zhang, Y.; Gole, A.M. Impact of Short-Circuit Ratio and Phase-Locked-Loop Parameters on the Small-Signal Behavior of a VSC-HVDC Converter. IEEE Trans. Power Deliv. 2014, 29, 2287–2296. [Google Scholar] [CrossRef]
- Rocabert, J.; Luna, A.; Blaabjerg, F.; Rodríguez, P. Control of Power Converters in AC Microgrids. IEEE Trans. Power Electron. 2012, 27, 4734–4749. [Google Scholar] [CrossRef]
- MIGRATE Work Package 1. Deliverable D1.6: Demonstration of Mitigation Measures and Clarification of Unclear Grid Code Requirements; Technical Report; MIGRATE Consortium, 2019; Available online: https://www.h2020-migrate.eu/_Resources/Persistent/a7e3d4424f6f749e419ddac011419e7a0aa5f576/D1.6%20-%20Demonstration%20of%20Mitigation%20Measures%20and%20Clarification%20of%20Unclear%20Grid%20Code%20Requirements%20-%20final.pdf (accessed on 9 March 2021).
- Mueller, S.C.; Georg, H.; Nutaro, J.J.; Widl, E.; Deng, Y.; Palensky, P.; Awais, M.U.; Chenine, M.; Küch, M.; Lin, H.; et al. Interfacing Power System and ICT Simulators: Challenges, State-of-the-Art, and Case Studies. IEEE Trans. Smart Grid 2018, 9, 14–24. [Google Scholar] [CrossRef]
- Palensky, P.; Van Der Meer, A.A.; Lopez, C.D.; Joseph, A.; Pan, K. Cosimulation of Intelligent Power Systems: Fundamentals, Software Architecture, Numerics, and Coupling. IEEE Ind. Electron. Mag. 2017, 11, 34–50. [Google Scholar] [CrossRef]
- Gómez, F.J.; Aguilera, M.A.; Olsen, S.H.; Vanfretti, L. Software requirements for interoperable and standard-based power system modeling tools. Simul. Model. Pract. Theory 2020, 103, 102095. [Google Scholar] [CrossRef]
- Uslar, M.; Rohjans, S.; Neureiter, C.; Pröstl Andrén, F.; Velasquez, J.; Steinbrink, C.; Efthymiou, V.; Migliavacca, G.; Horsmanheimo, S.; Brunner, H.; et al. Applying the Smart Grid Architecture Model for Designing and Validating System-of-Systems in the Power and Energy Domain: A European Perspective. Energies 2019, 12, 258. [Google Scholar] [CrossRef]
- Widl, E.; Jacobs, T.; Schwabeneder, D.; Nicolas, S.; Basciotti, D.; Henein, S.; Noh, T.G.; Terreros, O.; Schuelke, A.; Auer, H. Studying the potential of multi-carrier energy distribution grids: A holistic approach. Energy 2018, 153, 519–529. [Google Scholar] [CrossRef]
- Nguyen, V.H.; Besanger, Y.; Tran, Q.T.; Boudinet, C.; Brandl, R.; Marten, F.; Markou, A.; Kotsampopoulos, P.; van der Meer, A.A.; Lauss, G.; et al. Real-Time Simulation and Hardware-in-the-Loop Approaches for Integrating Renewable Energy Sources into Smart Grids: Challenges & Actions. In Proceedings of the IEEE ISGT Asia, Auckland, New Zealand, 4–7 December 2017. [Google Scholar]
- Palensky, P.; van der Meer, A.; Lopez, C.; Joseph, A.; Pan, K. Applied Cosimulation of Intelligent Power Systems: Implementing Hybrid Simulators for Complex Power Systems. IEEE Ind. Electron. Mag. 2017, 11, 6–21. [Google Scholar] [CrossRef]
- Constantin, A.; Ellerbrock, A.; Fernandez, F.; Rueß, J. Co-Simulation of Power Electronic Dominated Networks. IEEE Power Energy Mag. 2020, 18, 84–89. [Google Scholar] [CrossRef]
- Nguyen, V.; Besanger, Y.; Tran, Q.; Nguyen, T. On Conceptual Structuration and Coupling Methods of Co-Simulation Frameworks in Cyber-Physical Energy System Validation. Energies 2017, 10, 1977. [Google Scholar] [CrossRef]
- Armendariz, M.; Chenine, M.; Nordström, L.; Al-Hammouri, A. A co-simulation platform for medium/low voltage monitoring and control applications. In Proceedings of the ISGT 2014, Kuala Lumpur, Malaysia, 20–23 May 2014; pp. 1–5. [Google Scholar]
- Garau, M.; Celli, G.; Ghiani, E.; Pilo, F.; Corti, S. Evaluation of Smart Grid Communication Technologies with a Co-Simulation Platform. IEEE Wirel. Commun. 2017, 24, 42–49. [Google Scholar] [CrossRef]
- Shum, C.; Lau, W.; Mao, T.; Chung, H.S.; Tsang, K.; Tse, N.C.; Lai, L.L. Co-Simulation of Distributed Smart Grid Software Using Direct-Execution Simulation. IEEE Access 2018, 6, 20531–20544. [Google Scholar] [CrossRef]
- Perkonigg, F.; Brujic, D.; Ristic, M. Platform for Multiagent Application Development Incorporating Accurate Communications Modeling. IEEE Trans. Ind. Inform. 2015, 11, 728–736. [Google Scholar] [CrossRef]
- Çakmak, H.; V.Hagenmeyer, A.M.U. A new distributed co-simulation architecture for multi-physics based energy systems integration. Automatisierungstechnik 2019, 67, 972–983. [Google Scholar] [CrossRef]
- Georg, H.; Müller, S.C.; Rehtanz, C.; Wietfeld, C. Analyzing Cyber-Physical Energy Systems:The INSPIRE Cosimulation of Power and ICT Systems Using HLA. IEEE Trans. Ind. Inform. 2014, 10, 2364–2373. [Google Scholar] [CrossRef]
- Vogt, M.; Marten, F.; Braun, M. A survey and statistical analysis of smart grid co-simulations. Appl. Energy 2018, 222, 67–78. [Google Scholar] [CrossRef]
- Gomes, A.; Broman, D.; Vangheluwe, H.; Thule, C.; Larsen, P.G. Co-simulation: A Survey. ACM Comput. Surv. 2018, 51, 1–33. [Google Scholar] [CrossRef]
- Steinbrink, C.; Schlögl, F.; Babazadeh, D.; Lehnhoff, S.; Rohjans, S.; Narayan, A. Future perspectives of co-simulation in the smart grid domain. In Proceedings of the 2018 IEEE International Energy Conference (ENERGYCON), Limassol, Cyprus, 3–7 June 2018; pp. 1–6. [Google Scholar] [CrossRef]
- Blochwitz, T.; Martin, O.; Akesson, J. Functional Mockup Interface 2.0: The Standard for Tool independent Exchange of Simulation Models. In Proceedings of the 9th International MODELICA Conference, Munich, Germany, 3–5 September 2012. [Google Scholar]
- Modelica Association. Functional Mock-Up Interface for Model Exchange and Co-Simulation; Technical Report; Modelica Association: Cambridge, MA, USA, 2014. [Google Scholar]
- Broman, D.; Greenberg, L.; Lee, E.A.; Masin, M.; Tripakis, S.; Wetter, M. Requirements for hybrid cosimulation standards. In Proceedings of the 18th International Conference on Hybrid Systems: Computation and Control, Seattle, WA, USA, 14–16 April 2015; pp. 179–188. [Google Scholar] [CrossRef]
- Spiegel, M.; Widl, E.; Heinzl, B.; Kastner, E.; Akroud, N. Model-Based Virtual Components in Event-Based Controls: Linking the FMI and IEC 61499. Appl. Sci. 2020, 10, 1611. [Google Scholar] [CrossRef]
- Widl, E.; Müller, W.; Basciotti, D.; Henein, S.; Hauer, S.; Eder, K. Simulation of multi-domain energy systems based on the functional mock-up interface specification. In Proceedings of the 2015 International Symposium on Smart Electric Distribution Systems and Technologies (EDST), Vienna, Austria, 8–11 September 2015; pp. 510–515. [Google Scholar] [CrossRef]
- Reitinger, J.; Čech, M.; Königsmarková, J. Model-based control system design for steam turbine based on Functional Mock-up interface (FMI/FMU). In Proceedings of the 2018 19th International Carpathian Control Conference (ICCC), Szilvásvárad, Hungary, 28–30 May 2018; pp. 559–564. [Google Scholar] [CrossRef]
- Nylén, A.; Henningsson, M.; Cervin, A.; Tunestål, P. Control Design Based on FMI: A Diesel Engine Control Case Study. IFAC-PapersOnLine 2016, 49, 231–238. [Google Scholar] [CrossRef]
- Van der Meer, A.A.; Bhandia, R.; Widl, E.; Heussen, K.; Steinbrink, C.; Chodura, P.; Strasser, T.I.; Palensky, P. Towards Scalable FMI-based Co-simulation of Wind Energy Systems Using PowerFactory. In Proceedings of the 2019 IEEE PES Innovative Smart Grid Technologies Europe (ISGT-Europe), Bucharest, Romania, 29 September–2 October 2019; pp. 1–5. [Google Scholar] [CrossRef]
- Widl, E.; Judex, F.; Eder, K.; Palensky, P. FMI-based co-simulation of hybrid closed-loop control system models. In Proceedings of the 2015 International Conference on Complex Systems Engineering (ICCSE), Storrs, CT, USA, 9–11 November 2015; pp. 1–6. [Google Scholar] [CrossRef]
- Palmintier, B.; Krishnamurthy, D.; Top, P.; Smith, S.; Daily, J.; Fuller, J. Design of the HELICS high-performance transmission-distribution-communication-market co-simulation framework. In Proceedings of the 2017 Workshop on Modeling and Simulation of Cyber-Physical Energy Systems (MSCPES), Pittsburgh, PA, USA, 21 April 2017; pp. 1–6. [Google Scholar] [CrossRef]
- Gusain, D.; Cvetković, M.; Palensky, P. Energy Flexibility Analysis using FMUWorld. In Proceedings of the 2019 IEEE Milan PowerTech, Milan, Italy, 23–27 June 2019; pp. 1–6. [Google Scholar] [CrossRef]
- OFFIS—Institute for Information Technology. Available online: https://www.offis.de/ (accessed on 18 October 2020).
- Widl, E.; Spiegel, M.; Findrik, M.; Bajraktari, A.; Bhandia, R.; Steinbrink, C.; Heussen, K.; Jensen, T.; Panagiotis-Timolewn, M.; Dimeas, A.; et al. Smart Grid ICT Assessment Method; Technical Report; European Research Infrastructure Supporting Smart Grid Systems Technology Development, Validation and Roll Out, Austria: Vienna, Austria, 2018. [Google Scholar]
- Steinbrink, C.; van der Meer, A.A.; Cvetkovic, M.; Babazadeh, D.; Rohjans, S.; Palensky, P.; Lehnhoff, S. Smart grid co-simulation with MOSAIK and HLA: A comparison study. Comput. Sci. Res. Dev. 2018, 33, 135–143. [Google Scholar] [CrossRef]
- Schutte, S.; Scherfke, S.; Troschel, M. Mosaik: A framework for modular simulation of active components in Smart Grids. In Proceedings of the 2011 IEEE First International Workshop on Smart Grid Modeling and Simulation (SGMS), Brussels, Belgium, 17 October 2011; pp. 55–60. [Google Scholar]
- Schutte, S.; Scherfke, S.; Sonnenschein, M. MOSAIK smart grid simulation API. In Proceedings of the International Conference on Smart Grids and Green IT Systems, Porto, Portugal, 19–20 April 2012. [Google Scholar]
- Steinbrink, C.; Blank-Babazadeh, M.; El-Ama, A.; Holly, S.; Lüers, B.; Nebel-Wenner, M.; Ramírez Acosta, R.; Raub, T.; Schwarz, J.; Stark, S.; et al. CPES Testing with mosaik: Co-Simulation Planning, Execution and Analysis. Appl. Sci. 2019, 9, 923. [Google Scholar] [CrossRef]
- Wang, K.; Siebers, P.O.; Robinson, D. Towards Generalized Co-simulation of Urban Energy Systems. Procedia Eng. 2017, 198, 366–374. [Google Scholar] [CrossRef]
- Chromik, J.; Remke, A.; Haverkort, B. An integrated testbed for locally monitoring SCADA systems in smart grids. Energy Inform. 2018, 1, 56. [Google Scholar] [CrossRef]
- Mirz, M.; Razik, L.; Dinkelbach, J.; Tokel, H.A.; Alirezaei, G.; Monti, R.A. A Cosimulation Architecture for Power System, Communication, and Market in the Smart Grid. Complexity 2018, 2018, 7154031. [Google Scholar] [CrossRef]
- Wu, Y.; Fu, L.; Ma, F.; Hao, X. Cyber-Physical Co-Simulation of Shipboard Integrated Power System Based on Optimized Event-Driven Synchronization. Electronics 2020, 9, 540. [Google Scholar] [CrossRef]
- Lin, H.; Veda, S.; Shukla, S.; Mili, L.; Thorp, J. GECO: Global Event-Driven Co-Simulation Framework for Interconnected Power System and Communication Network. IEEE Trans. Smart Grid 2012, 3, 1444–1456. [Google Scholar] [CrossRef]
- Li, W.; Ferdowsi, M.; Stevic, M.; Monti, A.; Ponci, F. Cosimulation for Smart Grid Communications. IEEE Trans. Ind. Inform. 2014, 10, 2374–2384. [Google Scholar] [CrossRef]
- Manbachi, M.; Sadu, A.; Farhangi, H.; Monti, A.; Palizban, A.; Ponci, F.; Arzanpour, S. Real-Time Co-Simulation Platform for Smart Grid Volt-VAR Optimization Using IEC 61850. IEEE Trans. Ind. Inform. 2016, 12, 1392–1402. [Google Scholar] [CrossRef]
- Hendriks, R.L.; van der Meer, A.A.; Kling, W.L. Impact on System Stability of Different Voltage Control Schemes of Wind Power Plants Connected Through AC and VSC-HVDC Transmission. In Proceedings of the 5th Nordic Wind Power Conference, Rønne, Denmark, 10–11 September 2009. [Google Scholar]
- Erlich, I.; Shewarega, F.; Engelhardt, S.; Kretschmann, J.; Fortmann, J.; Koch, F. Effect of wind turbine output current during faults on grid voltage and the transient stability of wind parks. In Proceedings of the 2009 IEEE Power Energy Society General Meeting, Calgary, AB, Canada, 26–30 July 2009; pp. 1–8. [Google Scholar] [CrossRef]
- Klöckl, B.; Deiml, G.; Petino, C.; Winter, W. Designing hybrid AC/DC transmission structures for large electricity systems. Elektrotechnik Und Informationstechnik 2020, 137, 387–393. [Google Scholar] [CrossRef]
- Widl, E.; Müller, W.; Elsheikh, A.; Hörtenhuber, M.; Palensky, P. The FMI++ library: A high-level utility package for FMI for model exchange. In Proceedings of the 2013 Workshop on Modeling and Simulation of Cyber-Physical Energy Systems (MSCPES), Berkeley CA, USA, 20 May 2013; pp. 1–6. [Google Scholar] [CrossRef]
- FMI++ PowerFactory FMU Export Utility. Available online: https://sourceforge.net/projects/powerfactory-fmu/ (accessed on 18 October 2020).
- FMI Tools for Simulink—FMI Kit. Available online: http://github.com/CATIA-Systems/FMIKit-Simulink (accessed on 18 October 2020).
- Tielens, P. Operation and Control of Power Systems with Low Synchronous Inertia. Ph.D. Thesis, KU Leuven, Leuven, Belgium, 2017. [Google Scholar]
- Rosso, R.; Wang, X.; Liserre, M.; Lu, X.; Engelken, S. Grid-forming converters: an overview of control approaches and future trends. In Proceedings of the 2020 IEEE Energy Conversion Congress and Exposition (ECCE), Detroit, MI, USA, 11–15 October 2020; pp. 4292–4299. [Google Scholar] [CrossRef]
- Visioli, A. Modified anti-windup scheme for PID controllers. IEEE Proc. Control Theory Appl. 2003, 150, 49–54. [Google Scholar] [CrossRef]
- Larsen, E.V.; Swann, D.A. Applying Power System Stabilizers Part I: General Concepts. IEEE Trans. Power Appar. Syst. 1981, 100, 3017–3024. [Google Scholar] [CrossRef]
- Tsourakis, G.; Nomikos, B.M.; Vournas, C.D. Contribution of Doubly Fed Wind Generators to Oscillation Damping. IEEE Trans. Energy Convers. 2009, 24, 783–791. [Google Scholar] [CrossRef]
- Erlich, I.; Korai, A.; Neumann, T.; Koochack Zadeh, M.; Vogt, S.; Buchhagen, C.; Rauscher, C.; Menze, A.; Jung, J. New Control of Wind Turbines Ensuring Stable and Secure Operation Following Islanding of Wind Farms. IEEE Trans. Energy Convers. 2017, 32, 1263–1271. [Google Scholar] [CrossRef]
- Saadat, H. Power System Analysis, 2nd ed.; McGraw-Hill Press: New York, NY, USA, 2002. [Google Scholar]
- Goksu, O. Control of Wind Turbines During Symmetrical and Asymmetrical Grid Faults. Ph.D. Thesis, Aalborg University, Aalborg, Denmark, 2012. [Google Scholar]
- IEEE. IEEE Guide for Planning DC Links Terminating at AC Locations Having Low Short-Circuit Capacities; Technical Report; IEEE Std 1204–1997(R2003); IEEE: New York, NY, USA, 2003. [Google Scholar]






















| Case Study | mosaik Co-Simulation | FMI-Based Co-Simulation |
|---|---|---|
| 5.1 Step in the voltage set-point | 0.2368 | 0.2416 |
| 5.2 Controller parameter modification (for = 0.02) | 0.2851 | 0.2880 |
| 5.3 Response during faults (for FCT = 150 ms) | 3.2738 | 3.2751 |
| 5.4 Weak-grids | 4.5903 (with PSS), 4.9599 (without PSS) | 4.6589 (with PSS), 4.9668 (without PSS) |
| 5.5 Islanded operation | 4.6979 (with PSS), 9.4237 (without PSS) | 4.7705 (with PSS), 9.4863 (without PSS) |
| Case Study | mosaik Co-Simulation | FMI-Based Co-Simulation | Monolithic Simulation |
|---|---|---|---|
| 5.1 Step in the voltage set-point | 225.4 | 246.6 | 1.5440 |
| 5.2 Controller parameter modification (for = 0.02) | 231.1 | 237.2 | 1.5744 |
| 5.3 Response during faults (for FCT = 150 ms) | 246.4 | 252.8 | 1.6788 |
| 5.4 Weak-grids (with PSS) | 240.3 | 244.7 | 1.5126 |
| 5.5 Islanded pperation (with PSS) | 226.2 | 232.6 | 1.4769 |
Publisher’s Note: MDPI stays neutral with regard to jurisdictional claims in published maps and institutional affiliations. |
© 2021 by the authors. Licensee MDPI, Basel, Switzerland. This article is an open access article distributed under the terms and conditions of the Creative Commons Attribution (CC BY) license (http://creativecommons.org/licenses/by/4.0/).
Share and Cite
Farrokhseresht, N.; van der Meer, A.A.; Rueda Torres, J.; van der Meijden, M.A.M.M. MOSAIK and FMI-Based Co-Simulation Applied to Transient Stability Analysis of Grid-Forming Converter Modulated Wind Power Plants. Appl. Sci. 2021, 11, 2410. https://doi.org/10.3390/app11052410
Farrokhseresht N, van der Meer AA, Rueda Torres J, van der Meijden MAMM. MOSAIK and FMI-Based Co-Simulation Applied to Transient Stability Analysis of Grid-Forming Converter Modulated Wind Power Plants. Applied Sciences. 2021; 11(5):2410. https://doi.org/10.3390/app11052410
Chicago/Turabian StyleFarrokhseresht, Nakisa, Arjen A. van der Meer, José Rueda Torres, and Mart A. M. M. van der Meijden. 2021. "MOSAIK and FMI-Based Co-Simulation Applied to Transient Stability Analysis of Grid-Forming Converter Modulated Wind Power Plants" Applied Sciences 11, no. 5: 2410. https://doi.org/10.3390/app11052410
APA StyleFarrokhseresht, N., van der Meer, A. A., Rueda Torres, J., & van der Meijden, M. A. M. M. (2021). MOSAIK and FMI-Based Co-Simulation Applied to Transient Stability Analysis of Grid-Forming Converter Modulated Wind Power Plants. Applied Sciences, 11(5), 2410. https://doi.org/10.3390/app11052410

