A Novel Ring Spring Vibration Isolator for Metro Superstructure
Abstract
:1. Introduction
2. Theoretical Derivation and Numerical Simulation of Ring Spring
2.1. Analytical Analysis
2.1.1. Stress
2.1.2. Stiffness
2.2. Numerical Calculation Model
3. Results
3.1. Simulation Results
3.1.1. Mises Stress
3.1.2. Load–Displacement Curve
3.1.3. Hysteresis Curve
3.2. Formula Verifications
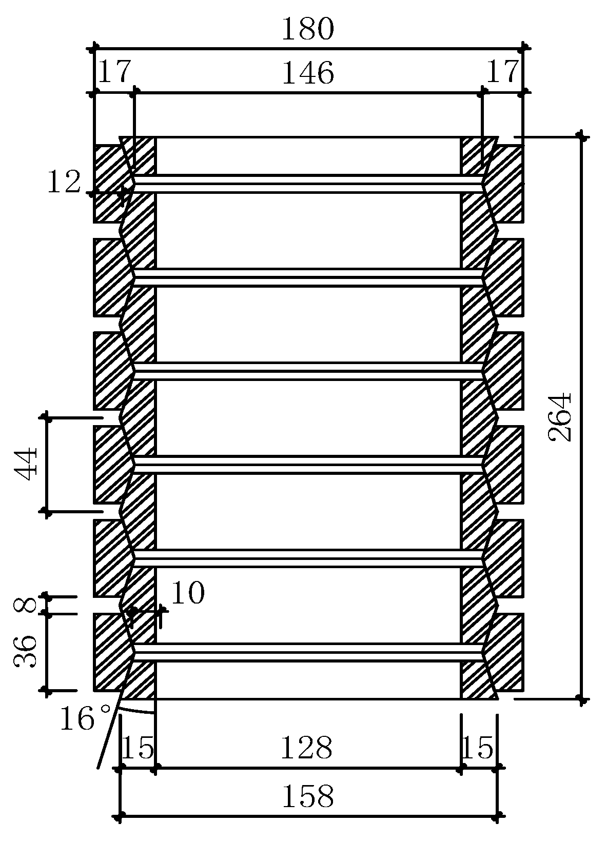
3.3. The Design of Vibration Isolator
4. Analysis of Vibration Isolation Structure
4.1. Model Parameters
4.2. Vibration Response
4.2.1. Modal Analysis
4.2.2. Comparison between Acceleration and Frequency
4.3. Vibration Isolation Ratio
4.4. Stiffness and Displacement
5. Conclusions
6. Patents
Author Contributions
Funding
Institutional Review Board Statement
Informed Consent Statement
Data Availability Statement
Acknowledgments
Conflicts of Interest
Appendix A

References
- Abate, G.; Corsico, S.; Grasso, S.; Massimino, M.R.; Pulejo, A. Analysis of the vibrations induced by a TBM to refine soil profile during tunneling: The Catania case history. In Proceedings of the 45th ITA-AITES General Assembly and World Tunnel Congress, Naples, Italy, 3–9 May 2019. [Google Scholar] [CrossRef]
- Chao, Z.; Wang, Y.; Moore, J.A.; Sanayei, M. Train-induced field vibration measurements of ground and over-track buildings. Sci. Total Environ. 2016, 575, 1339–1351. [Google Scholar] [CrossRef]
- Chao, Z.; Wang, Y.; Peng, W.; Guo, J. Measurement of ground and nearby building vibration and noise induced by trains in a metro depot. Sci. Total Environ. 2015, 536, 761–773. [Google Scholar] [CrossRef]
- Zou, C.; Moore, J.A.; Sanayei, M.; Wang, Y. Impedance model for estimating train-induced building vibrations. Eng. Struct. 2018, 172, 739–750. [Google Scholar] [CrossRef]
- Ohsaki, M.; Miyamura, T.; Kohiyama, M.; Yamashita, T.; Yamamoto, M.; Nakamura, N. Finite-element analysis of laminated rubber bearing of building frame under seismic excitation. Earthq. Eng. Struct. Dyn. 2015, 44, 1881–1898. [Google Scholar] [CrossRef]
- Pan, P.; Shen, S.; Shen, Z.; Gong, R. Experimental investigation on the effectiveness of laminated rubber bearings to isolate metro generated vibration. Measurement 2018, 122, 554–562. [Google Scholar] [CrossRef]
- Ozdemir, G. Lead core heating in lead rubber bearings subjected to bidirectional ground motion excitations in various soil types. Earthq. Eng. Struct. Dyn. 2014, 43, 267–285. [Google Scholar] [CrossRef]
- Zhang, Y.H.; Hang, L.H.; Wang, D.C. Spring Manual; Mechanical Industry Press: Beijing, China, 2017; ISBN 978-71-1155-625-1. [Google Scholar]
- Law, M.; Wabner, M.; Kolouch, M.; Noack, S.; Colditz, A. Active vibration isolation of machine tools using an electro-hydraulic actuator. CIRP J. Manuf. Sci. Technol. 2015, 10, 36–48. [Google Scholar] [CrossRef]
- Sun, W.; Thompson, D.; Zhou, J. A mechanism for overcoming the effects of the internal resonances of coil springs on vibration transmissibility. J. Sound Vib. 2019, 471, 115145. [Google Scholar] [CrossRef]
- Sigaeva, T.; Kolesnikov, A.; Sudak, L. Deformation of a closed hyperelastic helical spring. Int. J. Non-Linear Mech. 2019, 110, 1–8. [Google Scholar] [CrossRef]
- Spaggiari, A.; Mammano, G.S.; Dragoni, E. Analytical design of superelastic ring springs for high energy dissipation. Mater. Sci. Forum 2018, 941, 1457–1462. [Google Scholar] [CrossRef] [Green Version]
- Fang, C.; Wang, W.; James, R.; Yang, X.; Zhong, Q.; Richard, S.; Chen, Y. Application of an innovative SMA Ring Spring System for self-centering steel frames subject to seismic conditions. J. Struct. Eng. 2018, 144, 04018114. [Google Scholar] [CrossRef]
- Issa, A.S.; Alam, M.S. Seismic performance of a novel single and double spring-based piston bracing. J. Struct. Eng. 2019, 145, 04018261. [Google Scholar] [CrossRef]
- Golzar, F.G.; Rodgers, G.W.; Chase, J.G. Nonlinear spectral design analysis of a structure for hybrid self-centring device enabled structures. Struct. Eng. Mech. 2017, 61, 701–709. [Google Scholar] [CrossRef]
- Wang, C.; Yang, L.; Wang, S. Simulation analysis of friction and wear of new TiAl based alloy joint bearings. In Proceedings of the 3rd International Conference on Mechatronics Engineering and Information Technology (ICMEIT 2019), Dalian, China, 29–30 March 2019. [Google Scholar] [CrossRef] [Green Version]
- Chen, B.; Shen, L.; Zhang, H. Gaussian process regression-based material model for stochastic structural analysis. ASCE-ASME J. Risk Uncertain. Eng. Syst. Part A Civ. Eng. 2021, 7, 04021025. [Google Scholar] [CrossRef]
- Yang, Y.; Chen, B.; Su, Y.; Chen, Q.; Wang, H. Concrete mix design for completely recycled fine aggregate by modified packing density method. Materials 2020, 13, 3535. [Google Scholar] [CrossRef] [PubMed]
- Yang, Y.; Chen, B.; Zeng, W.; Li, Y.; Chen, Y. Utilization of completely recycled fine aggregate for preparation of lightweight concrete partition panels. Int. J. Concr. Struct. Mater. 2021, 15, 32. [Google Scholar] [CrossRef]
- Karr, U.; Sandaiji, Y.; Tanegashima, R.; Murakami, S.; Schnbauer, B.; Fitzka, M.; Mayer, H. Inclusion initiated fracture in spring steel under axial and torsion very high cycle fatigue loading at different load ratios. Int. J. Fatigue 2020, 134, 105525. [Google Scholar] [CrossRef]
- Wang, W.; Fang, C.; Zhao, Y.; Sause, R.; Hu, S.; Ricles, J. Self-centering friction spring dampers for seismic resilience. Earthq. Eng. Struct. Dyn. 2019, 48, 1045–1065. [Google Scholar] [CrossRef]
- Ling, Y.H.; Wu, S.; Gu, J.X.; Zheng, Z. A comparative study on vibration isolation methods of metro superstructure. J. South China Univ. Technol. Nat. Sci. Ed. 2021, 49, 1–8. [Google Scholar] [CrossRef]
- Ling, Y.; Gu, J.; Yang, T.Y.; Liu, R.; Huang, Y. Serviceability assessment of subway induced vibration of a frame structure using FEM. Struct. Eng. Mech. 2019, 71, 131–138. [Google Scholar] [CrossRef]
- Mohammed, H.J.; Zain, M.F.M. Experimental application of EPS concrete in the new prototype design of the concrete barrier. Constr. Build. Mater. 2016, 124, 312–342. [Google Scholar] [CrossRef]
- Inaudi, J.A. Modulated homogeneous friction: A semi-active damping strategy. Earthq. Eng. Struct. Dyn. 1997, 26, 361–376. [Google Scholar] [CrossRef]
- Weber, F.; Distl, J.; Meier, L.; Braun, C. Curved surface sliders with friction damping, linear viscous damping, bow tie friction damping, and semiactively controlled properties. Struct. Control Health Monit. 2018, 25, e2257. [Google Scholar] [CrossRef]
- Ling, Y.; Zhou, L.; Gu, J.; Ling, H. A Ring Spring Isolator for Vibration Isolation. China Patent CN 212613051 U, 26 February 2021. [Google Scholar]


















| Mechanical Parameters | Normal Capacity Limit f = 36 mm | Normal Lapacity Limit f = 48 mm | ||||
|---|---|---|---|---|---|---|
| Bearing Capacity F (kN) | Stiffness K (kN/mm) | Bearing Capacity F (kN) | Stiffness K (kN/mm) | |||
| Loading | Uninstall | Loading | Uninstall | |||
| Numerical simulation | 658.268 | 18.284 | 8.117 | — | 18.284 | 8.105 |
| Theoretical calculation | 665.227 | 18.479 | 8.226 | 886.969 | 18.479 | 8.226 |
| Aberration | 1% | 1% | 1.3% | — | 1% | 1.5% |
| Type | Group | Outer Ring | ||
|---|---|---|---|---|
| Thickness | Diameter | Thickness/Diameter | ||
| Thin-walled | 1 | 6 | 180 | 1/30 |
| 2 | 7 | 180 | 1/25.7 | |
| 3 | 8 | 180 | 1/22.5 | |
| 4 | 9 | 180 | 1/20 | |
| Thick-walled | 5 | 10 | 180 | 1/18 |
| 6 | 12 | 180 | 1/15 | |
| 7 | 15 | 180 | 1/12 | |
| 8 | 17 | 180 | 1/10.6 | |
| Type | Group | The Maximum Tensile Stress of Outer Ring (Mpa) | ||||
|---|---|---|---|---|---|---|
| Theoretical Value | Correction Value | Simulation Value | Theoretical Value Aberration | Correction Value Aberration | ||
| Thin-walled | 1 | 1125 | 995 | 1263 | −10.9% | −21.2% |
| 2 | 1035 | 885 | 1045 | −1.0% | −15.3% | |
| 3 | 961 | 794 | 905 | 6.2% | −12.3% | |
| 4 | 1063 | 851 | 923 | 15.2% | −7.8% | |
| Thick-walled | 5 | 1156 | 896 | 966 | 19.7% | −7.2% |
| 6 | 1328 | 967 | 1035 | 28.3% | −6.6% | |
| 7 | 1584 | 1054 | 1119 | 41.6% | −5.8% | |
| 8 | 1766 | 1109 | 1174 | 50.4% | −5.5% | |
| Bearing Capacity | Preload Displacement | Ultimate Deformation | Loading Stiffness K1 | Unloading Stiffness K0 | Unloading Stiffness K2 |
|---|---|---|---|---|---|
| 3330 kN | −16 mm | 16 mm | 90 kN/mm | 725 kN/mm | 40 kN/mm |
| Frequency Direction | Conventional Structure | Vibration Isolation Structure |
|---|---|---|
| First vertical | 13.86 | 9.76 |
| Second vertical | 15.39 | 14.42 |
| First horizontal | 1.30 | 1.23 |
| Second horizontal | 1.39 | 1.25 |
| Number of Floors | φ | ||
|---|---|---|---|
| 1 | 24.53 | 11.64 | 52.54% |
| 2 | 31.42 | 12.40 | 60.53% |
| 3 | 27.45 | 14.25 | 48.09% |
| 4 | 15.79 | 15.19 | 3.80% |
| 5 | 17.35 | 15.26 | 11.44% |
| 6 | 32.86 | 16.46 | 49.89% |
Publisher’s Note: MDPI stays neutral with regard to jurisdictional claims in published maps and institutional affiliations. |
© 2021 by the authors. Licensee MDPI, Basel, Switzerland. This article is an open access article distributed under the terms and conditions of the Creative Commons Attribution (CC BY) license (https://creativecommons.org/licenses/by/4.0/).
Share and Cite
Ling, Y.; Wu, S.; Gu, J.; Lai, H. A Novel Ring Spring Vibration Isolator for Metro Superstructure. Appl. Sci. 2021, 11, 8422. https://doi.org/10.3390/app11188422
Ling Y, Wu S, Gu J, Lai H. A Novel Ring Spring Vibration Isolator for Metro Superstructure. Applied Sciences. 2021; 11(18):8422. https://doi.org/10.3390/app11188422
Chicago/Turabian StyleLing, Yuhong, Shan Wu, Jingxin Gu, and Hongtao Lai. 2021. "A Novel Ring Spring Vibration Isolator for Metro Superstructure" Applied Sciences 11, no. 18: 8422. https://doi.org/10.3390/app11188422
APA StyleLing, Y., Wu, S., Gu, J., & Lai, H. (2021). A Novel Ring Spring Vibration Isolator for Metro Superstructure. Applied Sciences, 11(18), 8422. https://doi.org/10.3390/app11188422
