Analysis of the Loading on an Articulated Flat Wagon of Circular Pipes Loaded with Tank Containers
Abstract
1. Introduction
- -
- To build a design diagram of a flat wagon for determination of the longitudinal loads on the carrying structure;
- -
- To simulate the dynamic loads on the carrying structure of a flat wagon with a standard automatic coupler;
- -
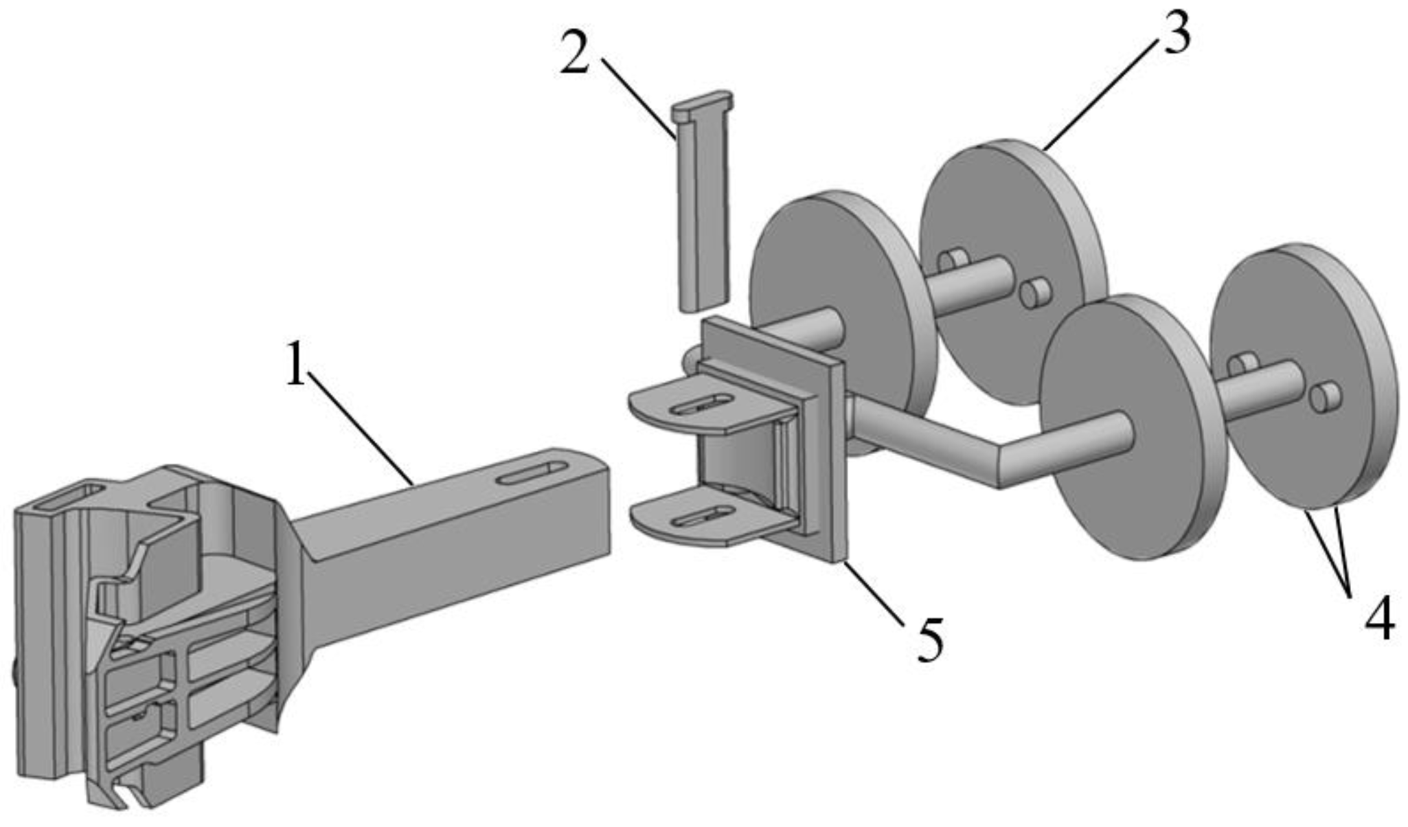
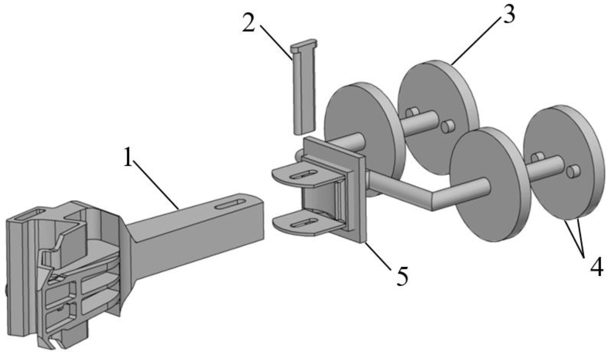
- To simulate the dynamic loads on the carrying structure of a flat wagon with a draft gear construct;
- -
- To determine the basic strength characteristics of the carrying structure of a flat wagon.
2. Presentation of the Basic Material of the Article
3. Discussion of the Results Obtained
4. Conclusions
- This study addressed the building of a design diagram of a flat wagon for the determination of longitudinal loads on a carrying structure loaded with four 1CC tank containers. The research was performed in the plane coordinates. The loading of the supporting structure during the “jerk” was taken into account.
- The calculation included a force of 2.5 MN to the front stops of an automatic coupler.
- 2.
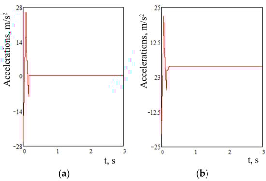
- The authors simulated the dynamic loads on the carrying structure of a flat wagon with a standard automatic coupler. The research included the fact that 95% of the tank was filled with liquid freight. The differential equations were solved in MathCad software. The results of the research showed that accelerations to the first section of the flat wagon from force application were 27.7 m/s², and they were 24.4 m/s2 to the second section.
- 3.
- The study investigated the modeling of the dynamic loads on the carrying structure of a flat wagon with a draft gear construct. It was found that acceleration to the first section of the flat wagon from force application was 25.0 m/s² and about 22.0 m/s2 to the second section.
- The solution proposed can decrease the dynamic loads on the carrying structure of a flat wagon by 10% in comparison to those generated by the use of a standard automatic coupler.
- 4.
- The authors determined the basic strength characteristics of the carrying structure of a flat wagon with the finite element method. It was found that the maximum equivalent stresses were in the interaction area between the center sill and body bolster, and they amounted to about 290 MPa. The maximum displacements were in the middle parts of the main longitudinal beams of a section, and they amounted to 8.8 mm.
- It was found that the use of the draft gear construct decreased the maximum equivalent stresses by 12% in the carrying structure of a flat wagon, and by 12.6% in the displacements in comparison to those generated by the use of a standard automatic coupler.
Author Contributions
Funding
Institutional Review Board Statement
Informed Consent Statement
Data Availability Statement
Conflicts of Interest
References
- Shatunov, O.V.; Shvets, A.O. Study of dynamic indicators of flat wagon with load centre shift. Science and Transport Progress. Bull. Dnipropetr. Natl. Univ. Railw. Transp. 2019, 2, 127–143. [Google Scholar] [CrossRef]
- WBN. Waggonbau Niesky GmbH: Developing a flexible platform of freight wagons. Internet Ed. 2016, 1, 46. [Google Scholar]
- Nandan, S.; Trivedi, R.; Kant, S.; Ahmad, J.; Maniraj, M. Design, analysis and prototype development of railway wagons on different loading conditions. Int. J. Eng. Appl. Sci. Technol. 2020, 20, 122–129. [Google Scholar] [CrossRef]
- Šťastniak, P.; Kurčík, P.; Pavlík, A. Design of a new railway wagon for intermodal transport with the adaptable loading platform. MATEC Web Conf. 2018, 235, 00030. [Google Scholar] [CrossRef][Green Version]
- Myamlin, S.; Leonas, P.L.; Dailydka, S.; Vaičiūnas, G.; Bogdevičius, M.; Bureika, G. Determination of the dynamic characteristics of freight wagons with various bogie. Transport 2015, 30, 88–92. [Google Scholar] [CrossRef]
- Neduzha, L.O.; Shvets, A.O. Theoretical and experimental research of strength properties of spine beam of freight cars. Science and Transport Progress. Bull. Dnipropetr. Natl. Univ. Railw. Transp. 2018, 1, 131–147. [Google Scholar] [CrossRef]
- Fomin, O.; Lovska, A. Improvements in passenger car body for higher stability of train ferry. Eng. Sci. Technol. Int. J. 2020, 23, 1455–1465. [Google Scholar] [CrossRef]
- Fomin, O.; Lovska, A.; Radkevych, V.; Horban, A.; Skliarenko, I.; Gurenkova, O. The dynamic loading analysis of containers placed on a flat wagon during shunting collisions. ARPN J. Eng. Appl. Sci. 2019, 14, 3747–3752. [Google Scholar]
- Zamecnik, J.; Jagelcak, J. Evaluation of wagon impact tests by various measuring equipment and influence of impacts on cargo stability. Communications 2015, 4, 21–27. [Google Scholar]
- Mrzyglod, M.; Kuczek, T. Uniform crashworthiness optimization of car body for high-speed trains. Struct. Multidiscip. Optim. 2014, 49, 327–336. [Google Scholar] [CrossRef]
- Ermolenko, I.Y.; Zheleznyak, V.N. Study on dynamics of rolling stock using an experimental laboratory car when driving on difficult sections of the road. Mod. Technol. Syst. Anal. Modeling 2016, 4, 199–203. [Google Scholar]
- Chepurnoy, A.D.; Litvinenko, A.V.; Sheychenko, R.I.; Graborov, R.V.; Chuban, M.A. Running strength and dynamic tests of a flat car. Bull. Natl. Tech. Univ. Ser. Eng. CAD 2015, 31, 111–128. [Google Scholar]
- Lovska, A.; Fomin, O.; Kučera, P.; Václav, P. Calculation of loads on carrying structures of articulated circular-tube wagons equipped with new draft gear concepts. Appl. Sci. 2020, 10, 7441. [Google Scholar] [CrossRef]
- Fomin, O.V.; Lovska, A.O. Strength determination of load-bearing structure of articulated flatcar of round pipes. Sci. Transp. Prog. Bull. Dnipropetr. Natl. Univ. Railw. Transp. 2020, 2, 92–102. [Google Scholar]
- Bogomaz, G.I.; Mekhov, D.D.; Pilipchenko, O.P.; Chernomashenceva, Y.G. Loading of tank containers located on a railway platform when hitting an auto-coupling. In Dynamics and Motion Control of Mechanical Systems; Institute of Technical Mechanics under NAS: Kiev, Ukraine, 1992; pp. 87–95. [Google Scholar]
- DSTU 7598:2014. Freight Wagons. General Requirements for Calculations and Design of New and Modernized Wagons of 1520 mm Track (Non-Self-Propelled); UkrNDNTS: Kiev, Ukraine, 2015; 162p. [Google Scholar]
- GOST 33211-2014. Freight Wagons. Requirements for Strength and Dynamic Properties; FGUP “STANDARTINFORM”: Moskow, Russia, 2016; 54p. [Google Scholar]
- Krivovyazyuk, Y.P. Evaluation of the Equivalent Loading of Four-Axle Rail Tank Cars with a Liquid Cargo of Various Densities during Longitudinal Impacts. Ph.D. Thesis, Institute of Technical Mechanics NASU and SSAU, Dniepropetrovsk, Ukraine, 1986. [Google Scholar]
- Rules for the carriage of dangerous goods. In Towards an Agreement on International Rail Freight Traffic: Part 3—Organization for Cooperation between Railways; Transport: Moskow, Russia, 2011; p. 531.
- Dižo, J.; Steišunas, S.; Blatnický, M. Simulation analysis of the effects of a rail vehicle running with wheel flat. Manuf. Technol. 2016, 16, 889–896. [Google Scholar] [CrossRef]
- Vatulia, G.L.; Lobiak, O.V.; Deryzemlia, S.V.; Verevicheva, M.A.; Orel, Y.F. Rationalization of cross-sections of the composite reinforced concrete span structure of bridges with a monolithic reinforced concrete roadway slab. IOP Conf. Ser. Mater. Sci. Eng. 2019, 664, 012014. [Google Scholar] [CrossRef]
- Vatulia, G.; Komagorova, S.; Pavliuchenkov, M. Optimization of the truss beam. Verification of the calculation results. MATEC Web Conf. 2018, 230, 02037. [Google Scholar] [CrossRef]
- Kondratiev, A.V.; Gaidachuk, V.E.; Kharchenko, M.E. Relationships between the ultimate strengths of polymer composites in static bending, compression, and tension. Mech. Compos. Mater. 2019, 52, 259–266. [Google Scholar] [CrossRef]
- Plakhtii, O.; Nerubatskyi, V.; Mashura, A.; Hordiienko, D.; Khoruzhevskyi, H. Improving energy indicators of the charging station for electric vehicles based on a three-level active rectifier. East. Eur. J. Enterp. Technol. 2020, 3, 46–55. [Google Scholar] [CrossRef]
- Plakhtii, O.; Nerubatskyi, V.; Mashura, A.; Hordiienko, D. The analysis of mathematical models of charge-discharge characteristics in lithiumion batteries. In Proceedings of the 40th IEEE International Conference on Electronics and Nanotechnology, Kyiv, Ukraine, 22–24 April 2020; Institute of Electrical and Electronics Engineers Inc.: Kyiv, Ukraine, 2020; pp. 635–640. [Google Scholar]
- Fomin, O.; Lovska, A. Establishing patterns in determining the dynamics and strength of a covered freight car, which exhausted its resource. East. Eur. J. Enterp. Technol. 2020, 6, 21–29. [Google Scholar]
- Lovska, A. Simulation of loads on the carrying structure of an articulated flat car in combined transportation. Int. J. Eng. Technol. 2018, 7, 140–146. [Google Scholar] [CrossRef]
- Fomin, O. Improvement of upper bundling of side wall of gondola cars of 12-9745 model. Metall. Min. Ind. 2015, 1, 45–48. [Google Scholar]










Publisher’s Note: MDPI stays neutral with regard to jurisdictional claims in published maps and institutional affiliations. |
© 2021 by the authors. Licensee MDPI, Basel, Switzerland. This article is an open access article distributed under the terms and conditions of the Creative Commons Attribution (CC BY) license (https://creativecommons.org/licenses/by/4.0/).
Share and Cite
Fomin, O.; Gerlici, J.; Lovska, A.; Kravchenko, K. Analysis of the Loading on an Articulated Flat Wagon of Circular Pipes Loaded with Tank Containers. Appl. Sci. 2021, 11, 5510. https://doi.org/10.3390/app11125510
Fomin O, Gerlici J, Lovska A, Kravchenko K. Analysis of the Loading on an Articulated Flat Wagon of Circular Pipes Loaded with Tank Containers. Applied Sciences. 2021; 11(12):5510. https://doi.org/10.3390/app11125510
Chicago/Turabian StyleFomin, Oleksij, Juraj Gerlici, Alyona Lovska, and Kateryna Kravchenko. 2021. "Analysis of the Loading on an Articulated Flat Wagon of Circular Pipes Loaded with Tank Containers" Applied Sciences 11, no. 12: 5510. https://doi.org/10.3390/app11125510
APA StyleFomin, O., Gerlici, J., Lovska, A., & Kravchenko, K. (2021). Analysis of the Loading on an Articulated Flat Wagon of Circular Pipes Loaded with Tank Containers. Applied Sciences, 11(12), 5510. https://doi.org/10.3390/app11125510

